EP0249839A2 - Seilförderanlage, insbesondere Seilschwebebahn - Google Patents

Seilförderanlage, insbesondere Seilschwebebahn Download PDF

Info

Publication number
EP0249839A2
EP0249839A2 EP87108227A EP87108227A EP0249839A2 EP 0249839 A2 EP0249839 A2 EP 0249839A2 EP 87108227 A EP87108227 A EP 87108227A EP 87108227 A EP87108227 A EP 87108227A EP 0249839 A2 EP0249839 A2 EP 0249839A2
Authority
EP
European Patent Office
Prior art keywords
friction
tire
cable
wheel
conveyor system
Prior art date
Legal status (The legal status is an assumption and is not a legal conclusion. Google has not performed a legal analysis and makes no representation as to the accuracy of the status listed.)
Granted
Application number
EP87108227A
Other languages
English (en)
French (fr)
Other versions
EP0249839A3 (en
EP0249839B1 (de
Inventor
Fritz Feuz
Ferdinand Hora
Current Assignee (The listed assignees may be inaccurate. Google has not performed a legal analysis and makes no representation or warranty as to the accuracy of the list.)
Kanadevia Inova AG
Original Assignee
Von Roll Habegger AG
Von Roll Umwelttechnik AG
Priority date (The priority date is an assumption and is not a legal conclusion. Google has not performed a legal analysis and makes no representation as to the accuracy of the date listed.)
Filing date
Publication date
Application filed by Von Roll Habegger AG, Von Roll Umwelttechnik AG filed Critical Von Roll Habegger AG
Priority to AT87108227T priority Critical patent/ATE59021T1/de
Publication of EP0249839A2 publication Critical patent/EP0249839A2/de
Publication of EP0249839A3 publication Critical patent/EP0249839A3/de
Application granted granted Critical
Publication of EP0249839B1 publication Critical patent/EP0249839B1/de
Anticipated expiration legal-status Critical
Expired - Lifetime legal-status Critical Current

Links

Images

Classifications

    • BPERFORMING OPERATIONS; TRANSPORTING
    • B61RAILWAYS
    • B61BRAILWAY SYSTEMS; EQUIPMENT THEREFOR NOT OTHERWISE PROVIDED FOR
    • B61B12/00Component parts, details or accessories not provided for in groups B61B7/00 - B61B11/00
    • B61B12/02Suspension of the load; Guiding means, e.g. wheels; Attaching traction cables
    • B61B12/022Vehicle receiving and dispatching devices

Definitions

  • the invention relates to a cable conveyor system, in particular a cable railway according to the preamble of claim 1.
  • Friction wheels designed as tire wheels result from the requirement that a vehicle, both in terms of its acceleration and deceleration, must always be controlled by at least one friction wheel, and consequently there must be reliable engagement between its friction plate and this friction wheel.
  • the object of the invention is to reduce the friction abrasion and the corresponding friction work while maintaining the simplicity of the drive of the friction wheels.
  • the friction wheel following in the direction of movement of the vehicle determines the speed of the friction wheel, while the friction wheel preceding in the direction of movement can temporarily take on the same speed thanks to the one-way clutch.
  • the rotation between the friction wheel and the drive member which is made possible by the one-way clutch, is preferably limited in scope, so that a torque can also be transmitted between the friction wheel and the drive member after passing through the free-wheeling region in the reverse direction of rotation.
  • the one-way clutch can be designed inexpensively by having drivers which engage in the friction wheel with circumferential play, spring means are provided, for example, in order to keep the drivers in a normal position relative to the friction wheel, or to return them to them after compression.
  • a cable railway is shown as a cable conveyor.
  • the cable conveyor system can also be used for example in foundries, for pallet conveying, etc.
  • a conveyor cable of the cable monorail is designated by l, which circulates continuously during operation and connects a valley station designated with A to a mountain station, not shown.
  • the cable railway also includes a large number of vehicles, one of which is shown at 2, the vehicles being coupled and suspended on the conveyor cable 1 for transport between the stations.
  • the vehicles 2 are supported by means of trolleys 7 of the same on a transfer rail 4 which leads from an entry area B via a 180 ° curved part C to an exit area D.
  • Tire wheel sets 5a and 5b are assigned to inlet area B and outlet area D, which have a plurality of tire wheels arranged one behind the other in the direction of movement.
  • each undercarriage 7 of each vehicle 2 in addition to castors 7a, which are supported on the transfer rail 4, has two terminals 3 arranged one behind the other, which enable coupling with the conveyor cable 1.
  • each undercarriage 7 is equipped with a friction plate 8 running in its longitudinal direction and rigidly connected to it, which extends parallel to the transfer rail.
  • the length of the friction plate 8 is somewhat greater than the distance between two adjacent tire wheels 5a and 5b, so that the friction plate is always in engagement with one of the tire wheels in the area of the wheel sets.
  • the tire wheels 5a In the inlet area B, the tire wheels 5a have the task of engaging the friction plate with the rope speed braking incoming vehicle, while the tire wheels 5b in the exit area D accelerate the vehicle to the cable speed.
  • the individual tire wheels 5a and 5b of each set are driven at different speeds in the manner described in more detail below.
  • the following tire wheels have decreasing speeds in the entry area B of the station in the direction of movement of the vehicles, while in the exit area D the following tire wheels have increasing speeds in the direction of the rope.
  • Each tire wheel 5a is connected to a drive member in the form of a V-belt drive 6.
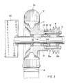
  • Each tire wheel 5a comprises a hub l0 with a recess l3, a rim ll and a tire l2.
  • Each tire wheel 5a is rotatably supported by means of two roller bearings l8 on an axis l5, which in addition also rotatably supports two pulleys 6a and 6b. All axes l5 of the set of tire wheels 5a are fastened in a common plane parallel to one another on a carrier 20 which in turn runs parallel to the transfer rail 4 in the inlet area B.
  • the different diameter pulleys 6a and 6b are connected to each other by two diametrically arranged screws l6 provided with nuts 9, which engage with their heads l6a in diametrically arranged pockets l3a of the recesses l3 in the hub l0.
  • a prestressed return spring l4 is also inserted in the recess l3 or one of the pockets l3a. 4 and 5, the return spring l4 forms two loops l4a, l4b, of which the smaller loop l4a loops around the head l6a of one of the two screws l6.
  • the larger loop l4b The return spring l4 loops around the axis l5 of the tire wheel 5a at a distance and is supported with its end l4c at l0a on the hub l0.
  • the drive members or V-belt transmission 6 are connected to their tire wheels 5a via a one-way clutch, which is formed by the pockets l3a and the screw heads l6a.
  • a one-way clutch which is formed by the pockets l3a and the screw heads l6a.
  • screws l6 acting as drivers engage with their heads l6a with play in the pockets l3a of the hub l0 and allow the tire wheels 5a to be rotated relative to the drive members by the angle ⁇ (FIG. 5 ) too.
  • Such a rotation from the normal position shown in FIG. 5 in the direction of the end position shown in FIG. 4 is only possible in one direction of rotation and only against the action of the prestressed spring 14.
  • the tire wheels 5a and 5b of the two wheel sets of station A are driven by a drive motor denoted by M, which also drives the conveying rope 1 via a rope pulley 1a wrapped around it.
  • the motor M is connected via a gearbox G and transmission shafts T to the sheave la and the tire wheels 5a ⁇ and 5b ⁇ , these being the first tire wheel 5a of the inlet area B and the last tire wheel of the outlet area D.
  • the transmission G these two tire wheels 5a ⁇ and 5b ⁇ get a peripheral speed which is the peripheral speed of the Pulley la and thus the speed of the conveyor cable l is the same.
  • each V-belt transmission comprises a V-belt 6c, which connects the smaller pulley 6a of a tire wheel 5a or 5b with the larger pulley 6b of the left-hand tire wheel 5a or 5b.
  • the speeds of the individual tire wheels 5a and 5b therefore decrease with increasing distance from the tire wheels 5a ⁇ and 5b ⁇ .
  • a vehicle 2 entering the station A is gradually decelerated by the action of the tire wheels 5a on the friction plate 8.
  • the tire wheels 5b gradually accelerate a vehicle 2 in the run-out area D until the latter has reached the rope speed through the last wheel and can then be coupled with the rope 1 without jolts by closing the clamps 3.
  • this tire wheel takes the undercarriage on the transfer rail 4 with it.
  • the friction plate 8 exerts a frictional force on the preceding tire wheel 5b driven by its V-belt transmission 6 at a lower peripheral speed. Thanks to the freewheel, the corresponding preceding tire wheel can now accelerate to the speed of movement of the friction plate 8 and thus advance its V-belt drive while rotating the parts against the action of the return spring 14 in the direction of the end position shown in FIG. 4. However, as soon as the friction plate 8 has come out of engagement with this preceding tire wheel, the return spring 14 rotates the same back into the position in which the parts of the clutch assume the normal position according to FIG. 5.
  • the one-way clutches have the same function on the tire wheels 5a of the inlet section B.
  • the one-way clutch is installed in such a way that the wheel following in the direction of movement - here the tire wheel driven at a lower peripheral speed - determines the speed of the preceding tire wheel which is engaged with the same friction plate.
  • the previous tire wheel in the direction of movement is also decelerated until it comes out of engagement with the friction plate.
  • the V-belt drive runs ahead of its tire.
  • the angle ⁇ is chosen as a function of the amount by which the engagement distance of the friction plate 8, given by length and design, is greater than the distance between two tire wheels or their axes. It has been shown that an angle ⁇ of somewhat 10 ° is sufficient to end the simultaneous engagement of two tire wheels before reaching the end position according to FIG. 4. The end position according to Fig. 4 is only reached if e.g. In the event of a fault, the tire wheels should be driven in the opposite direction of rotation in order to move vehicles backwards.
  • the friction plate 8 can be made of plastic and can be provided on the friction surface with elevations, e.g. be provided with transverse ribs.
  • part of the tire wheels 5a at the end of the inlet section B and at the beginning of the outlet section D is driven at the same speed. Accordingly, no one-way clutch is required between these tire wheels and their drive members.

Landscapes

  • Engineering & Computer Science (AREA)
  • Transportation (AREA)
  • Mechanical Engineering (AREA)
  • Detergent Compositions (AREA)
  • Acyclic And Carbocyclic Compounds In Medicinal Compositions (AREA)
  • Medicines Containing Material From Animals Or Micro-Organisms (AREA)
  • Tires In General (AREA)
  • Ropes Or Cables (AREA)
  • Details Of Indoor Wiring (AREA)
  • Lubricants (AREA)
  • Mechanical Operated Clutches (AREA)
  • Pulleys (AREA)
  • Devices For Conveying Motion By Means Of Endless Flexible Members (AREA)
  • Transmissions By Endless Flexible Members (AREA)
  • Braking Arrangements (AREA)

Abstract

In jeder Station der Seilförderanlage werden die vom Förderseil (l) abgeklemmten Fahrzeuge (2) mittels Pneuräder (5a, 5b) abgebremst oder beschleunigt. Zwischen dem Keilriemenantrieb (6) und der Nabe (l0) jedes Pneurades (5a, 5b) ist eine Freilaufkupplung l6, l3a angeordnet, die eine vorgespannte Rückstellfeder l4 umfasst. Die Freilaufkupplung überträgt in einer Richtung das Drehmoment vom Keilriemenantrieb (6) auf das Pneurad (5a, 5b) spielfrei. In der Gegenrichtung verdreht sie sich gegen das Rückstellmoment der Feder (l4). Somit wird das Rutschen und der damit bedingte Abrieb der Pneuräder (5a, 5b) auf der Reibungsplatte (8) während der Zeit, in welcher zwei benachbarte Pneuräder mit der Reibungsplatte (8) in Eingriff stehen, eliminiert.

Description

  • Die Erfindung geht aus von einer Seilförderanlage, insbesondere einer Seilschwebebahn nach dem Oberbegriff von Patentanspruch l.
  • Eine Sesselbahn oder Kabinenschwebebahn dieser Art ist in der US-PS 4 563 955 beschrieben.
  • Die Bedingung, wonach die Länge der Reibungsplatte länger sein muss, als der Abstand zwischen zwei z.B. als Pneuräder ausgestalteten Reibrädern ergibt sich aus der Forderung, dass ein Fahrzeug sowohl bei seiner Beschleunigung wie auch seiner Verzögerung immer durch mindestens ein Reibrad beherrscht und mithin ein zuverlässiger Eingriff zwischen dessen Reibungsplatte und diesem Reibrad vorhanden sein muss.
  • Aus der Tatsache, dass bei einer Seilbahnanlage dieser Art zwei benachbarte Reibräder auf der Beschleunigungsstrecke oder Verzögerungsstrecke zwangsweise voneinander abweichende Umfangsgeschwindigkeiten haben müssen, ergibt aber durch den sich wiederholenden gleichzeitigen Eingriff zweier Reibräder mit einer Reibungsplatte eine starke Abnützung und die unfreiwillig geleistete Reibungsarbeit ist auch mit einem entsprechenden Energieaufwand zu bezahlen.
  • Aus der FR-PS 2 340 848 ist zwar eine diese Nachteile vermeidende Seilförderanlage bekannt. Dabei weisen alle Reibräder eines Satzes jeweils die gleiche Geschwindig keit auf und diese Geschwindigkeit wird durch einen von einer Steuerung beherrschten variablen Antrieb zur Beschleunigung der Fahrzeuge erhöht bzw. zur Verzögerung derselben gesenkt. Diese Anlage ist allerdings aufwendig und da auch Fühler benötigt werden, die von den Fahrzeugen ausgelöst werden müssen, störungsanfällig.
  • Aufgabe der Erfindung ist es, unter Wahrung der Einfachheit des Antriebes der Reibräder den Reibungsabrieb und die entsprechende Reibungsarbeit zu vermindern.
  • Die Lösung dieser Aufgabe gelingt mit den Merkmalen des Kennzeichens von Anspruch l.
  • Kommen an einer Reibungsplatte jeweils zwei Pneuräder unterschiedlicher Umfangsgeschwindigkeit gleichzeitig zum Eingriff, so bestimmt das jeweils das in Bewegungsrichtung des Fahrzeuges nachfolgende Reibrad die Geschwindigkeit desselben, während das in Bewegungsrichtung vorangehende Reibrad dank der Freilaufkupplung kurzzeitig die gleiche Geschwindigkeit annehmen kann.
  • Vorzugsweise ist die durch die Freilaufkupplung ermöglichte Verdrehung zwischen Reibrad und Antriebsglied umfangsmässig begrenzt, so dass auch in der umgekehrten Drehrichtung nach Durchlaufen des Freilaufbereiches ein Drehmoment zwischen Reibrad und Antriebsglied übertragen werden kann.
  • Erfindungsgemäss kann die Freilaufkupplung dadurch kostengünstig ausgestaltet werden, dass sie Mitnehmer aufweist, die mit Umfangsspiel in das Reibrad eingreifen, wobei z.B. Federmittel vorgesehen sind, um die Mitnehmer relativ zum Reibrad in einer Normallage zu halten, bzw. in diese nach einer Verdichtung zurückzuführen.
  • Der Erfindungsgegenstand wird nachstehend anhand der Zeichnung beispielsweise näher erläutert. Es zeigen
    • Fig. l eine schematische Darstellung einer Seilförderanlage in einer Station,
    • Fig. 2 eine Ansicht im Schnitt eines Pneurades mit Keilriemenantrieb und Rückstellfeder, welches Pneurad in Eingriff mit eienr Reibungsplatte eines Fahrzeuges steht,
    • Fig. 3 eine Seitenansicht von mehreren Pneurädern, von welchen die zwei benachbarten in Eingriff mit der Reibungsplatte des Fahrzeuges stehen,
    • Fig 4 eine Ansicht im Schnitt der in der Nabenaussparung des Pneurades eingesetzten Rückstellfeder in einer winkelverdrehten Stellung,
    • Fig. 5 eine Ansicht im Schnitt der in einer Nabenaussparung des Pneurades eingesetzten Rückstellfeder in Normallage,
  • In den Figuren ist als Seilförderanlage eine Seilschwebebahn dargestellt. Die Seilförderanlage kann aber auch zum Beispie l in Giessereien, bei Palettenförderung usw. eingesetzt werden.
  • In Fig. l ist mit l ein Förderseil der Seilschwebebahn bezeichnet, das in Betrieb dauernd umläuft und eine mit A bezeichnete Talstation mit einer nicht dargestellten Bergstation verbindet. Die Seilschwebebahn umfasst weiter eine Vielzahl von Fahrzeugen, von denen eines bei 2 dargestellt ist, wobei die Fahrzeuge für den Transport zwischen den Stationen mit dem Förderseil l gekuppelt und an diesem aufgehängt sind.
  • In den Stationen sind die Fahrzeuge 2 mittels Fahrwerken 7 derselben an einer Ueberführungsschiene 4 abgestützt, welche von einem Einlaufbereich B über einen l80° Bogenteil C zu einem Auslaufbereich D führt. Dem Einlaufbereich B und dem Auslaufbereich D sind Pneuradsätze 5a bzw. 5b zugeordnet, die eine Vielzahl von in Bewegungsrichtung hintereinander angeordneten Pneurädern aufweisen.
  • Wie sich aus den Fig. l und 3 ergibt, weist das Fahrwerk 7 jedes Fahrzeuges 2 neben Fahrrollen 7a, die sich auf der Ueberführungsschiene 4 abstützen, zwei hintereinander angeordnete Klemmen 3 auf, die die Kupplung mit dem Förderseil l ermöglichen. Jedes Fahrwerk 7 ist schliesslich mit einer in dessen Längsrichtung verlaufenden und mit diesem starr verbundenen Reibungsplatte 8 ausgestattet, die sich parallel zur Ueberführungsschiene erstreckt. Die Länge der Reibungsplatte 8 ist etwas grösser als der Abstand zwischen zwei benachbarten Pneurädern 5a bzw. 5b, so dass die Reibungsplatte im Bereich der Radsätze stets mit einem der Pneuräder im Eingriff steht. Im Einlaufbereich B haben die Pneuräder 5a die Aufgabe, durch Eingriff mit der Reibungsplatte das mit Seilgeschwindigkeit ankommende Fahrzeug abzubremsen, während die Pneuräder 5b im Auslaufsbereich D das Fahrzeug auf die Seilgeschwindigkeit beschleunigen. Hierzu sind die einzelnen Pneuräder 5a bzw. 5b jedes Satzes mit voneinander abweichenden Drehzahlen in nachfolgend noch näherbeschriebener Weise angetrieben. Jedenfalls weisen im Einlaufbereich B der Station sich in Bewegungsrichtung der Fahrzeuge folgende Pneuräder abnehmende Drehzahlen auf, während im Auslaufsbereich D sich in Richtung auf das Seil folgende Pneuräder zunehmende Drehzahlen aufweisen.
  • Jedes Pneurad 5a steht mit einem Antriebsglied in Form eines Keilriemenantriebes 6 in Verbindung. Jedes Pneurad 5a umfasst eine Nabe l0 mit einer Aussparung l3, eine Felge ll und einen Pneu l2. Jedes Pneurad 5a ist mittels zwei Wälzlagern l8 auf einer Achse l5 drehbar gelagert, die daneben zwei Riemenscheiben 6a und 6b ebenfalls drehbar abstützt. Alle Achsen l5 des Satzes von Pneurädern 5a sind in einer gemeinsamen Ebene parallel zueinander an einem Träger 20 befestigt, welcher seinerseits parallel zur Ueberführungsschiene 4 im Einlaufbereich B verläuft. Die unterschiedliche Durchmesser aufweisenden Riemenscheiben 6a und 6b sind untereinander durch zwei mit Muttern 9 versehene, diametral angeordnete Schrauben l6 verbunden, die mit ihren Köpfen l6a in diametral angeordnete Taschen l3a der Aussparungen l3 in der Nabe l0 eingreifen. In der Aussparung l3 bzw. einer der Taschen l3a ist weiter eine vorgespannte Rückstellfeder l4 eingesetzt. Wie sich deutlich aus den Fig. 4 und 5 ergibt, bildet die Rückstellfeder l4 zwei Schleifen l4a, l4b, von denen die kleinere Schleife l4a den Kopf l6a einer der beiden Schrauben l6 umschlingt. Die grössere Schleife l4b der Rückstellfeder l4 umschlingt mit Abstand die Achse l5 des Pneurades 5a und stützt sich mit ihrem Ende l4c bei l0a an der Nabe l0 ab.
  • Erfindungsgemäss sind die Antriebsglieder bzw. Keilriemengetriebe 6 mit ihren Pneurädern 5a über je eine Freilaufkupplung verbunden, die durch die Taschen l3a und die Schraubenköpfe l6a gebildet ist. Wie aus den Fig. 4 und 5 ersichtlich ist, greifen als Mitnehmer wirkende Schrauben l6 mit deren Köpfe l6a mit Spiel in die Taschen l3a der Nabe l0 ein und lassen eine Verdrehung der Pneuräder 5a relativ zu den Antriebsgliedern um den Winkel α(Fig. 5) zu. Eine solche Verdrehung aus der i n Fig. 5 dargestellten Normallage in Richtung der in Fig. 4 gezeigte Endlage ist allerdings nur in einer Drehrichtung und nur entgegen der Wirkung der vorgespannten Feder l4 möglich.
  • Die vorstehend beschriebene Anordnung für die Pneuräder 5a des Einlaufbereiches B gilt gleichfalls für die Pneuräder 5b im Auslaufbereich D der Station.
  • Der Antrieb der Pneuräder 5a und 5b der beiden Radsätze der Station A erfolgt von einem mit M bezeichneten Antriebsmotor aus, der auch das Förderseil l über eine von diesem umschlungene Seilscheibe la antreibt. Hierzu ist der Motor M über ein Getriebe G sowie Transmissionswellen T mit der Seilscheibe la und den Pneurädern 5aʹ und 5bʹ verbunden, wobei es sich bei diesen um das erste Pneurad 5a des Einlaufbereiches B und das letzte Pneurad des Auslaufbereiches D handelt. Durch das Getriebe G erhalten diese beiden Pneuräder 5aʹ und 5bʹ eine Umfangsgeschwindigkeit, welche der Umfangsgeschwindigkeit der Seilscheibe la und damit der Geschwindigkeit des Förderseiles l gleich ist.
  • Wie aus Fig. 3 weiter ersichtlich ist, umfasst jedes Keilriemengetriebe einen Keilriemen 6c, der die im Durchmesser kleinere Riemenscheibe 6a eines Pneurades 5a oder 5b mit der im Durchmesser grösseren Riemenscheibe 6b des nach links folgenden Pneurades 5a bzw. 5b verbindet. Mithin nehmen die Drehzahlen der einzelnen Pneuräder 5a und 5b mit zunehmendem Abstand von den Pneurädern 5aʹ bzw. 5bʹ ab.
  • Dementsprechend wird ein in die Station A einlaufendes Fahrzeug 2 durch die Einwirkung der Pneuräder 5a auf die Reibungsplatte 8 allmählich verzögert. Andererseits beschleunigen die Pneuräder 5b ein Fahrzeug 2 im Auslaufbereich D allmählich, bis dieses durch das letzte Rad die Seilgeschwindigkeit erreicht hat und anschliessend stossfrei durch das Schliessen der Klemmen 3 mit dem Seil l gekuppelt werden kann.
  • Anhand der Fig. 3, 4 und 5 wird nachfolgend die Wirkungsweise der Freilaufkupplung am Beispiel des Auslaufbereiches D, d.h. beim Beschleunigen eines Fahrzeuges 2 durch die an dessen Reibungsplatte 8 angreifenden Pneuräder 5b erläutert.
  • Aus einem Wegabschnitt des Auslaufbereiches D, auf welchem lediglich eines der Pneuräder 5b auf die Reibungsplatte 8 eines Fahrzeuges 2 einwirkt und dieses auf die dessen Umfangsgeschwindigkeit entsprechende Fahrgeschwindigkeit beschleunigt, wird das Fahrzeug in Richtung des Pfeiles 20ʹgefördert und gelangt dabei in die in Fig. 3 gezeigte Stellung. Dabei ist die Reibungsplatte 8 mit ihrer Reibfläche 8a mit einem in Bewegungsrichtung nachfolgenden zweiten Pneurad 5b in Eingriff gelangt, das mit einer gegenüber dem vorangehenden Pneurad mit höherer Umfangsgeschwindigkeit angetrieben ist. An diesem letzteren Pneurad weisen die Teile der Freilaufkupplung die in Fig. 5 dargestellte Normallage auf und damit wird das zweite Pneurad bei der Drehung im Gegenuhrzeigersinn des Keilriemengetriebes 6 bzw. der Schraubenköpfe l6a starr mitgenommen. Dieses Pneurad nimmt durch Reibungsschluss mit der Reibfläche 8a mit der diesem eigenen höheren Umfangsgeschwindigkeit das Fahrwerk auf der Ueberführungsschiene 4 mit. Gleichzeitig wird an dem von seinem Keilriemengetriebe 6 mit niedrigerer Umfangsgeschwindigkeit angetriebenen vorangehenden Pneurad 5b von der Reibungsplatte 8 eine Reibungskraft ausgeübt. Dank dem Freilauf kann nun das entsprechende vorangehende Pneurad sich auf die Bewegungsgeschwindigkeit der Reibungsplatte 8 beschleunigen und damit seinem Keilriemenantrieb unter Verdrehung der Teile entgegen der Wirkung der Rückstellfeder l4 in Richtung der in Fig. 4 dargestellten Endlage vorauseilen. Sobald jedoch die Reibungsplatte 8 ausser Eingriff mit diesem vorangehenden Pneurad gelangt ist, dreht die Rückstellfeder l4 dasselbe in die Lage zurück, in welchem die Teile der Kupplung die Normallage nach Fig. 5 einnehmen.
  • Dank der Freilaufkupplung wird somit der Reibungsverschleiss durch gleichzeitige Einwirkung von zwei mit unterschiedlicher Drehzahl angetriebenen Pneurädern auf die gleiche Reibungsplatte wesentlich vermindert, da sich der beschriebene Vorgang bei allen Pneurädern 5b der Auslaufstrecke wiederholt.
  • An den Pneurädern 5a der Einlaufstrecke B haben die Freilaufkupplungen die gleiche Funktion. Wiederum ist die Freilaufkupplung so eingebaut, dass das in Bewegungsrichtung nachfolgende Rad - hier das mit niedrigerer Umfangsgeschwindigkeit angetriebene Pneurad - die Geschwindigkeit des mit der gleichen Reibungsplatte im Eingriff stehenden vorausgehenden Pneurades bestimmt. Bei der Verzögerung durch das nachfolgende Pneurad wird hier das in Bewegungsrichtung vorangehende Pneurad ebenfalls so lange verzögert, bis dieses ausser Eingriff mit der Reibungsplatte gelangt. Während dieser Zeit eilt der Keilriemenantrieb seinem Pneurad voraus.
  • Der Winkel α ist in Abhängigkeit von dem Mass gewählt, um welches die durch Länge und Ausgestaltung gegebene Eingriffsstrecke der Reibungsplatte 8 grösser ist als der Abstand zwischen zwei Pneurädern bzw. deren Achsen. Es hat sich gezeigt, dass ein Winkel α von etwas l0° ausreicht, um den gleichzeitigen Eingriff von zwei Pneurädern vor Erreichen der Endlage gemäss Fig. 4 zu beenden. Die Endlage nach Fig. 4 wird nur dann erreicht, wenn z.B. im Falle einer Störung die Pneuräder mit umgekehrter Drehrichtung angetrieben werden sollen, um Fahrzeuge rückwärts zu bewegen. Die Reibungsplatte 8 kann aus Kunststoff bestehen und an der Reibfläche mit Erhebungen, z.B. quer verlaufenden Rippen versehen sein.
  • In der Regel ist ein Teil der Pneuräder 5a am Ende der Einlaufstrecke B sowie am Anfang des Auslaufbereiches D mit unter sich gleicher Geschwindigkeit angetrieben. Dementsprechend bedarf es zwischen diesen Pneurädern und ihren Antriebsgliedern keiner Freilaufkupplung.

Claims (6)

1. Seilförderanlage, insbesondere Seilschwebebahn, mit einem zwischen zwei Stationen umlaufenden Förderseil, und von diesem in den Stationen abgekuppelten Fahrzeugen einer in jeder Station vorgesehenen, einen Einlaufbereich und einen Auslaufbereich bildenden Ueberführungsschiene, im Einlauf- und Auslaufbereich entlang der Ueberführungsschiene angeordneten mit Antriebsgliedern gekuppelten Reibrädern, die mit Reibungsplatten von auf der Ueberführungsschiene abgestützten Fahrzeugen zusammenwirken, wobei mindestens ein Teil der Reibräder im Einlauf- und Auslaufbereich gegenüber unmittelbar benachbarten Reibrädern unterschiedliche Umfangsgeschwindigkeiten aufweisen, um einlaufende Fahrzeuge schrittweise zu verzögern und auslaufende Fahrzeuge schrittweise zu beschleunigen, und wobei die Reibungsplatten eine Länge aufwiesen, die grösser ist als der Abstand zwischen benachbarten Reibrädern unterschiedlicher Umfangsgeschwindigkeit, dadurch gekennzeichnet, dass die Reibräder (5a, 5b) unterschiedlicher Umfangsgeschwindigkeit über Freilaufkupplungen (l3a, l6a) mit deren Antriebsgliedern (6) verbunden sind, welche Freilaufkupplungen im Einlaufbereich (B) einen Nachlauf und im Auslaufbereich (D) einen Vorlauf der Reibräder relativ zu deren Antriebsgliedern gestattend, eingebaut sind.
2. Seilförderanlage nach Anspruch l, dadurch gekennzeichnet, dass die Freilaufkupplung Mittel umfasst, um die Verdrehung des Reibrades (5a, 5b) relativ zum Antriebs glied (6) zu begrenzen, sowie weitere Mittel (l4), um Reibrad und Antriebsglied in eine vorbestimmte Lage zurückzuführen.
3. Seilförderanlage nach Anspruch l, dadurch gekennzeichnet, dass die weiteren Mittel eine Rückstellfeder (l4) aufweisen.
4. Seilförderanlage nach Anspruch 3, dadurch gekennzeichnet, dass an dem Keilriemenscheiben (6a, 6b) aufweisenden Antriebsglied Mitnehmer (l6a) vorgesehen sind, die mit Spiel in Taschen (l3a) einer Nabe (l0) des Pneurades (5a, 5b) eingreifen und dass die Rückstellfeder (l4) zwischen der Nabe und den Keilriemenscheiben eingespannt ist.
5. Seilförderanlage nach Anspruch 4, dadurch gekennzeichnet, dass das Pneurad (5a, 5b) übe r dessen Nabe (l0) und die Keilriemenscheiben (6a, 6b) auf einer gemeinsamen Achse (l5) drehbar gelagert ist und dass die in einer Aussparung (l3) der Nabe (l0) angeordnete Rückstellfeder (l4) zwei Schleifen (l4a, l4b) bildet, von denen eine grössere (l4b) die Achse (l5) und eine kleinere (l4a) eine an den Keilriemenscheiben (6a, 6b) als Mitnehmer angebrachte Schraube (l6) umschlingt.
6. Seilförderanlage nach Anspruch 5, dadurch gekennzeichnet, dass die Schraube (l6) die beiden Keilriemenscheiben (6a, 6b) drehstarr miteinander verbindet und einen von der kleineren Schleife (l4a) umschlungenen Schraubenkopf (l6a) aufweist.
EP87108227A 1986-06-17 1987-06-06 Seilförderanlage, insbesondere Seilschwebebahn Expired - Lifetime EP0249839B1 (de)

Priority Applications (1)

Application Number Priority Date Filing Date Title
AT87108227T ATE59021T1 (de) 1986-06-17 1987-06-06 Seilfoerderanlage, insbesondere seilschwebebahn.

Applications Claiming Priority (2)

Application Number Priority Date Filing Date Title
CH2468/86 1986-06-17
CH2468/86A CH671552A5 (de) 1986-06-17 1986-06-17

Publications (3)

Publication Number Publication Date
EP0249839A2 true EP0249839A2 (de) 1987-12-23
EP0249839A3 EP0249839A3 (en) 1988-03-23
EP0249839B1 EP0249839B1 (de) 1990-12-12

Family

ID=4234495

Family Applications (1)

Application Number Title Priority Date Filing Date
EP87108227A Expired - Lifetime EP0249839B1 (de) 1986-06-17 1987-06-06 Seilförderanlage, insbesondere Seilschwebebahn

Country Status (9)

Country Link
US (1) US4794864A (de)
EP (1) EP0249839B1 (de)
JP (1) JPS632765A (de)
AT (1) ATE59021T1 (de)
CA (1) CA1278545C (de)
CH (1) CH671552A5 (de)
DE (1) DE3766657D1 (de)
HK (1) HK98191A (de)
NO (1) NO166773C (de)

Cited By (5)

* Cited by examiner, † Cited by third party
Publication number Priority date Publication date Assignee Title
EP0433703A1 (de) * 1989-12-21 1991-06-26 Von Roll Seilbahnen AG Seilförderanlage
EP0507699A1 (de) * 1991-04-02 1992-10-07 Pomagalski S.A. Vorrichtung zum Antrieb von Fahrzeugen mittels Reibrädern
CH681507A5 (en) * 1989-12-21 1993-04-15 Lasag Ag Lens contacting eye for medical treatment
US5402730A (en) * 1993-08-11 1995-04-04 The Walt Disney Company Platen drive unit
EP1987998A1 (de) * 2007-04-24 2008-11-05 Innova Patent GmbH Antriebsanordnung für Seilbahnen sowie Brems- und Kupplunseinheit hierfür

Families Citing this family (14)

* Cited by examiner, † Cited by third party
Publication number Priority date Publication date Assignee Title
JP2530466Y2 (ja) * 1990-04-13 1997-03-26 日本ケーブル株式会社 自動循環式索道の加速及び減速移送装置
FR2661147B1 (fr) * 1990-04-24 1992-07-24 Pomagalski Sa Station d'extremite de tension d'un teleporteur.
FR2669286B1 (fr) * 1990-11-15 1993-02-19 Pomagalski Sa Teleporteur a vehicules entraines par friction dans les zones de contournement.
US5158020A (en) * 1991-05-10 1992-10-27 Zygmunt Alexander Kunczynski Drive shoe assembly with resiliently flexible traction members and method
FR2740417B1 (fr) * 1995-10-25 1998-01-02 Pomagalski Sa Teleporteur debrayable a module de prise de mouvement
AT405270B (de) * 1995-11-14 1999-06-25 Doppelmayr & Sohn Seilbahnanlage
AT409256B (de) * 1999-01-27 2002-07-25 High Technology Invest Bv Einrichtung zur notbremsung von transportmitteln
US7300237B2 (en) * 2004-11-22 2007-11-27 Inventio Ag Self-locking bolted fastener
US20070034105A1 (en) * 2005-08-09 2007-02-15 Jean-Francois Mugnier Aerial ropeway transport methods
AT503502A3 (de) * 2006-03-23 2010-07-15 Innova Patent Gmbh Verfahren zum betrieb einer seilbahnanlage und seilbahnanlage
FR2899191B1 (fr) * 2006-04-04 2008-05-30 Denis Creissels Consultant Sar Installation de telecabines automatiques
FR2899549B1 (fr) * 2006-04-10 2008-06-27 Pomagalski Sa Installation de transport a cable aerien vehiculant des sieges et des cabines
EP2213543A1 (de) * 2009-01-29 2010-08-04 Innova Patent GmbH Riemenscheibe für eine Seilbahnanlage und Bausatz zu deren Herstellung
IT201700036544A1 (it) * 2017-04-03 2018-10-03 Leitner Spa Stazione per un impianto di trasporto a fune, impianto di trasporto a fune comprendente tale stazione e metodo di funzionamento di tale impianto di trasporto a fune

Family Cites Families (14)

* Cited by examiner, † Cited by third party
Publication number Priority date Publication date Assignee Title
FR1401291A (fr) * 1964-04-15 1965-06-04 Neyrpic Ets Dispositif de réception en gare des véhicules de téléphériques
US3429279A (en) * 1966-12-20 1969-02-25 Jean Pomagalski Device for supporting and guiding the cable of an aerial cableway
FR2094270A5 (de) * 1970-06-15 1972-02-04 Merlin Gerin
DE2162127A1 (de) * 1971-11-29 1973-06-20 Merlin Gerin Grenoble Synchronisationsvorrichtung fuer eine befoerderungsanlage
US4003314A (en) * 1975-04-25 1977-01-18 Pearson William F Ski lift monitoring
US4050385A (en) * 1975-09-29 1977-09-27 Walt Disney Productions High capacity passenger transport apparatus
IT1055250B (it) * 1976-02-12 1981-12-21 Agudio Off Mec Gruppo di lancio e di rallentamento di veicoli di trasporto a fune
US4187784A (en) * 1977-03-07 1980-02-12 Fernandez Arthur A Self propelled cable car
FR2450187A1 (fr) * 1979-02-27 1980-09-26 Ogoque Cie Miniere Comilog Dispositif de stabilisation de vitesse pour installation de transport a cable aerien
FR2539369B1 (fr) * 1983-01-17 1986-03-07 Pomagalski Sa Dispositif cadenceur pour telecabine ou telesiege debrayable
FR2548613B1 (fr) * 1983-07-06 1985-11-15 Pomagalski Sa Dispositif de degagement d'une traverse d'entrainement par friction d'une pince de telesiege
FR2571675B1 (fr) * 1984-10-15 1988-03-18 Pomagalski Sa Installation de transport a cable aerien a plusieurs sections
FR2571674B1 (fr) * 1984-10-15 1988-05-06 Pomagalski Sa Telecabine ou telesiege debrayable a transmission electrique
EP0187552B1 (de) * 1985-01-04 1990-01-03 Pomagalski S.A. Seilschwebebahn

Cited By (7)

* Cited by examiner, † Cited by third party
Publication number Priority date Publication date Assignee Title
EP0433703A1 (de) * 1989-12-21 1991-06-26 Von Roll Seilbahnen AG Seilförderanlage
US5121695A (en) * 1989-12-21 1992-06-16 Von Roll Transportsysteme Ag Overhead cableway
CH681507A5 (en) * 1989-12-21 1993-04-15 Lasag Ag Lens contacting eye for medical treatment
EP0507699A1 (de) * 1991-04-02 1992-10-07 Pomagalski S.A. Vorrichtung zum Antrieb von Fahrzeugen mittels Reibrädern
FR2674807A1 (fr) * 1991-04-02 1992-10-09 Pomagalski Sa Dispositif d'entrainement de vehicules par des roues de friction.
US5402730A (en) * 1993-08-11 1995-04-04 The Walt Disney Company Platen drive unit
EP1987998A1 (de) * 2007-04-24 2008-11-05 Innova Patent GmbH Antriebsanordnung für Seilbahnen sowie Brems- und Kupplunseinheit hierfür

Also Published As

Publication number Publication date
JPS632765A (ja) 1988-01-07
NO166773B (no) 1991-05-27
NO872511D0 (no) 1987-06-16
US4794864A (en) 1989-01-03
EP0249839A3 (en) 1988-03-23
CA1278545C (en) 1991-01-02
DE3766657D1 (de) 1991-01-24
NO166773C (no) 1991-09-04
NO872511L (no) 1987-12-18
CH671552A5 (de) 1989-09-15
ATE59021T1 (de) 1990-12-15
EP0249839B1 (de) 1990-12-12
HK98191A (en) 1991-12-13

Similar Documents

Publication Publication Date Title
EP0249839B1 (de) Seilförderanlage, insbesondere Seilschwebebahn
EP0930248B1 (de) Vorrichtung zum Sortieren von Stückgütern
DE102007040859B4 (de) Querbandsorter zum Transportieren und Sortieren von Stückgut und Verfahren zum Antrieb eines Querbandsorters zum Transportieren und Sortieren von Stückgut
DE2411686B2 (de) Rad-schienenanordnung fuer schienenfahrzeuge mit spurkranzlosen tragraedern
EP0151965B1 (de) Elektrohängebahn
EP0275403A1 (de) Seilförderanlage
EP0355084A1 (de) Seilbahnanlage mit in der Talstation und in der Bergstation befindlichen Umlenkscheiben
CH672765A5 (de)
DE4025313A1 (de) Transportsystem angetrieben durch einen linearmotor
DE2356876A1 (de) Mit veraenderlicher geschwindigkeit antreibbares fahrzeug fuer ein transportsystem
DE10333938B3 (de) Fördereinrichtung, insbesondere Hängefördereinrichtung
DE3124898C2 (de) Vorrichtung zum Überführen und Umlenken von Paletten
EP1029815A1 (de) Kraftübertragungs- oder Transportvorrichtung
EP3142914B1 (de) Transportvorrichtung zum transport von gütern
DE1074068B (de) Umlaufseilbahn mit vom Zugseil abkuppelbaren Wagen
DE950174C (de) Endloser Zwischenantrieb fuer Foerderbaender
DE69502424T2 (de) Übertragungssystem zur Überführung von Fördereinheiten von einem Flurförderer auf einen anderen und Verfahren zum Holen einer Fördereinheit von einer Haupt- auf eine Nebenkettenstrasse
DE2802401C3 (de) Hängebahnanlage
CH284669A (de) Umlaufseilbahn.
DE4131973C2 (de) Vorrichtung zum Spannen eines endlosen Zugseils
EP0296466B1 (de) Seilrolle
CH372976A (de) Fördervorrichtung an einer Verarbeitungsmaschine
DE706487C (de) Einrichtung zur Beherrschung der Bewegung von Foerderwagen, vormehmlich im Untertagebetrieb
DE69612932T2 (de) Antrieb eines Seilförderers für freifliessende, lose Materialien
DE2223729C3 (de) Seilablenkvorrichtung für Einseilbahnen

Legal Events

Date Code Title Description
PUAI Public reference made under article 153(3) epc to a published international application that has entered the european phase

Free format text: ORIGINAL CODE: 0009012

AK Designated contracting states

Kind code of ref document: A2

Designated state(s): AT DE FR GB IT SE

PUAL Search report despatched

Free format text: ORIGINAL CODE: 0009013

AK Designated contracting states

Kind code of ref document: A3

Designated state(s): AT DE FR GB IT SE

17P Request for examination filed

Effective date: 19880827

17Q First examination report despatched

Effective date: 19890914

RAP1 Party data changed (applicant data changed or rights of an application transferred)

Owner name: VON ROLL TRANSPORTSYSTEME AG

GRAA (expected) grant

Free format text: ORIGINAL CODE: 0009210

AK Designated contracting states

Kind code of ref document: B1

Designated state(s): AT DE FR GB IT SE

REF Corresponds to:

Ref document number: 59021

Country of ref document: AT

Date of ref document: 19901215

Kind code of ref document: T

ET Fr: translation filed
REF Corresponds to:

Ref document number: 3766657

Country of ref document: DE

Date of ref document: 19910124

ITF It: translation for a ep patent filed
GBT Gb: translation of ep patent filed (gb section 77(6)(a)/1977)
PLBE No opposition filed within time limit

Free format text: ORIGINAL CODE: 0009261

STAA Information on the status of an ep patent application or granted ep patent

Free format text: STATUS: NO OPPOSITION FILED WITHIN TIME LIMIT

26N No opposition filed
ITTA It: last paid annual fee
PGFP Annual fee paid to national office [announced via postgrant information from national office to epo]

Ref country code: GB

Payment date: 19940516

Year of fee payment: 8

PGFP Annual fee paid to national office [announced via postgrant information from national office to epo]

Ref country code: SE

Payment date: 19940524

Year of fee payment: 8

EAL Se: european patent in force in sweden

Ref document number: 87108227.7

PGFP Annual fee paid to national office [announced via postgrant information from national office to epo]

Ref country code: DE

Payment date: 19950518

Year of fee payment: 9

PG25 Lapsed in a contracting state [announced via postgrant information from national office to epo]

Ref country code: GB

Effective date: 19950606

PG25 Lapsed in a contracting state [announced via postgrant information from national office to epo]

Ref country code: SE

Effective date: 19950607

GBPC Gb: european patent ceased through non-payment of renewal fee

Effective date: 19950606

EUG Se: european patent has lapsed

Ref document number: 87108227.7

PGFP Annual fee paid to national office [announced via postgrant information from national office to epo]

Ref country code: FR

Payment date: 19960521

Year of fee payment: 10

PGFP Annual fee paid to national office [announced via postgrant information from national office to epo]

Ref country code: AT

Payment date: 19960523

Year of fee payment: 10

PG25 Lapsed in a contracting state [announced via postgrant information from national office to epo]

Ref country code: DE

Effective date: 19970301

PG25 Lapsed in a contracting state [announced via postgrant information from national office to epo]

Ref country code: AT

Effective date: 19970606

PG25 Lapsed in a contracting state [announced via postgrant information from national office to epo]

Ref country code: FR

Free format text: LAPSE BECAUSE OF NON-PAYMENT OF DUE FEES

Effective date: 19980227

REG Reference to a national code

Ref country code: FR

Ref legal event code: ST

REG Reference to a national code

Ref country code: FR

Ref legal event code: ST

PG25 Lapsed in a contracting state [announced via postgrant information from national office to epo]

Ref country code: IT

Free format text: LAPSE BECAUSE OF NON-PAYMENT OF DUE FEES;WARNING: LAPSES OF ITALIAN PATENTS WITH EFFECTIVE DATE BEFORE 2007 MAY HAVE OCCURRED AT ANY TIME BEFORE 2007. THE CORRECT EFFECTIVE DATE MAY BE DIFFERENT FROM THE ONE RECORDED.

Effective date: 20050606