EP0158062B1 - Werkzeug zum Crimpen Schneiden, Pressen o. dgl. - Google Patents
Werkzeug zum Crimpen Schneiden, Pressen o. dgl. Download PDFInfo
- Publication number
- EP0158062B1 EP0158062B1 EP85101818A EP85101818A EP0158062B1 EP 0158062 B1 EP0158062 B1 EP 0158062B1 EP 85101818 A EP85101818 A EP 85101818A EP 85101818 A EP85101818 A EP 85101818A EP 0158062 B1 EP0158062 B1 EP 0158062B1
- Authority
- EP
- European Patent Office
- Prior art keywords
- tool
- pressing
- toothed segment
- pawl
- crimping
- Prior art date
- Legal status (The legal status is an assumption and is not a legal conclusion. Google has not performed a legal analysis and makes no representation as to the accuracy of the status listed.)
- Expired
Links
- 238000002788 crimping Methods 0.000 title claims abstract description 6
- 239000002184 metal Substances 0.000 description 1
Images
Classifications
-
- B—PERFORMING OPERATIONS; TRANSPORTING
- B25—HAND TOOLS; PORTABLE POWER-DRIVEN TOOLS; MANIPULATORS
- B25B—TOOLS OR BENCH DEVICES NOT OTHERWISE PROVIDED FOR, FOR FASTENING, CONNECTING, DISENGAGING OR HOLDING
- B25B7/00—Pliers; Other hand-held gripping tools with jaws on pivoted limbs; Details applicable generally to pivoted-limb hand tools
- B25B7/14—Locking means
Definitions
- the invention relates to a tool for crimping, cutting, pressing or the like.
- a tool head and handle levers arranged thereon for actuating the tool and an adjustable positive lock switched on between the handle levers, consisting of an inwardly directed toothed segment and a latching pawl which engages in it.
- an adjustable positive lock switched on between the handle levers, consisting of an inwardly directed toothed segment and a latching pawl which engages in it.
- the tooth segment is mounted in the pliers joint here, which on the one hand causes additional costs and on the other hand limits the possibilities of movement of the handle levers.
- a certain amount of play is inevitable due to the bearing of the toothed segments. Since the latch must also be arranged so that it can move and thus necessarily has a certain amount of play, a precisely reproducible setting of the triggering or pressure point is not possible with such a tool. A precise adjustment to different workpieces is also excluded.
- the object of the invention is to remedy these shortcomings and to provide a general-purpose tool which can be precisely adapted to a wide variety of workpieces or to the final pressure required in each case.
- toothed segment is rigidly connected to the one handle lever and the latch is mounted in a fork which is adjustable in the other handle lever by means of a threaded pin and an adjusting nut for adjusting the pressure point in the direction of the toothed segment Locking pawl acted upon by a spring pulling it back into the locking position.
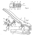
- the two operating handles 1 and 2 are shown, which are articulated to one another and can be opened and closed for the purpose of operating the tool.
- the two handle levers are usually pressed from sheet metal. As shown in FIG. 1, they have a U-shaped cross section that is open towards the other handle lever.
- the handle lever 1 has at a certain distance from the pivot pin an inwardly directed tooth segment 3, which carries the toothing 4 on its outside.
- an inwardly projecting bearing 5 is provided, in which the pawl 6 is mounted, which cooperates with the toothing 4 on the toothed segment 3.
- the pawl 6 is provided on one side (Fig. 2) with a projecting nose 7 and a lever 8. It is freely rotatable with a bore 9 on a pivot pin 10 which is inserted into the openings 12 of a fork 11, but also extends into the elongated bearing openings 13 of the bearing 5 and serves as a guide here.
- a tension spring 14 By means of a tension spring 14, the latch 6 is always retracted into its latched position.
- the forced lock according to the invention can be used with all types of tools which are actuated by pivotable handle levers, for example pliers of all types and tools for crimping, cutting, eating or the like.
- pivotable handle levers for example pliers of all types and tools for crimping, cutting, eating or the like.
Landscapes
- Engineering & Computer Science (AREA)
- Mechanical Engineering (AREA)
- Gripping Jigs, Holding Jigs, And Positioning Jigs (AREA)
- Hand Tools For Fitting Together And Separating, Or Other Hand Tools (AREA)
- Press Drives And Press Lines (AREA)
- Scissors And Nippers (AREA)
- Manufacturing Of Electrical Connectors (AREA)
Priority Applications (1)
| Application Number | Priority Date | Filing Date | Title |
|---|---|---|---|
| AT85101818T ATE36823T1 (de) | 1984-03-28 | 1985-02-20 | Werkzeug zum crimpen schneiden, pressen o. dgl. |
Applications Claiming Priority (2)
| Application Number | Priority Date | Filing Date | Title |
|---|---|---|---|
| DE3411459 | 1984-03-28 | ||
| DE19843411459 DE3411459A1 (de) | 1984-03-28 | 1984-03-28 | Werkzeug zum crimpen, schneiden, pressen o.dgl. |
Publications (2)
| Publication Number | Publication Date |
|---|---|
| EP0158062A1 EP0158062A1 (de) | 1985-10-16 |
| EP0158062B1 true EP0158062B1 (de) | 1988-08-31 |
Family
ID=6231901
Family Applications (1)
| Application Number | Title | Priority Date | Filing Date |
|---|---|---|---|
| EP85101818A Expired EP0158062B1 (de) | 1984-03-28 | 1985-02-20 | Werkzeug zum Crimpen Schneiden, Pressen o. dgl. |
Country Status (5)
| Country | Link |
|---|---|
| US (1) | US4608888A (enExample) |
| EP (1) | EP0158062B1 (enExample) |
| JP (1) | JPS60217068A (enExample) |
| AT (1) | ATE36823T1 (enExample) |
| DE (1) | DE3411459A1 (enExample) |
Families Citing this family (7)
| Publication number | Priority date | Publication date | Assignee | Title |
|---|---|---|---|---|
| US5012666A (en) * | 1989-07-24 | 1991-05-07 | Chen Ching Wen | Crimp tool with adjustable jaw |
| USD351548S (en) | 1992-04-03 | 1994-10-18 | Pressmaster Tool Ab | Pair of handles for a crimping tool |
| US6840078B1 (en) * | 2000-08-22 | 2005-01-11 | Hj. Martin & Son, Inc. | Tool for shaping a workpiece |
| US9003859B2 (en) * | 2011-04-01 | 2015-04-14 | University of Alaska Anchorage | Bending instrument and methods of using same |
| US20150158151A1 (en) * | 2013-11-01 | 2015-06-11 | Curtis Brown | Ratchet adjustable locking pliers |
| US9421596B2 (en) | 2014-04-16 | 2016-08-23 | University of Alaska Anchorage | Bending instrument and methods of using same |
| CN104490461A (zh) * | 2014-11-28 | 2015-04-08 | 江苏双羊医疗器械有限公司 | 压接钳 |
Family Cites Families (10)
| Publication number | Priority date | Publication date | Assignee | Title |
|---|---|---|---|---|
| BE527460A (enExample) * | 1948-01-14 | |||
| AT187165B (de) * | 1948-01-14 | 1956-10-25 | Aircraft Marine Prod Inc | Kerbwerkzeug zur Herstellung von Leitungsverbindungen |
| US2842996A (en) * | 1956-03-12 | 1958-07-15 | Plomb Tool Company | Compound leverage toggle locking pliers |
| DE1089834B (de) * | 1958-07-25 | 1960-09-29 | Wieland Elek Sche Ind G M B H | Quetschzange fuer elektrische Verbindungen |
| US3157075A (en) * | 1962-01-17 | 1964-11-17 | Sargent & Co | Plier type tool with motion-compelling mechanism |
| CH414497A (de) * | 1964-10-23 | 1966-05-31 | Kasper Otto | Kniehebel-Klemmzange |
| US3277751A (en) * | 1965-05-06 | 1966-10-11 | Sargent & Co | Motion-compelling mechanism for a hand tool |
| DE7402999U (de) * | 1973-02-12 | 1974-07-11 | Pressmaster Ag | Werkzeug, vorzugsweise Zange, zum Kerben bzw. Vorpressen von Hülsen wie Kabelschuhen u. dgl |
| JPS5228240U (enExample) * | 1975-08-20 | 1977-02-26 | ||
| US4158302A (en) * | 1977-12-23 | 1979-06-19 | Thomas & Betts Corporation | Tool with full-stroke compelling mechanism |
-
1984
- 1984-03-28 DE DE19843411459 patent/DE3411459A1/de active Granted
-
1985
- 1985-02-20 EP EP85101818A patent/EP0158062B1/de not_active Expired
- 1985-02-20 AT AT85101818T patent/ATE36823T1/de not_active IP Right Cessation
- 1985-03-27 US US06/716,483 patent/US4608888A/en not_active Expired - Lifetime
- 1985-03-28 JP JP60062221A patent/JPS60217068A/ja active Granted
Also Published As
| Publication number | Publication date |
|---|---|
| ATE36823T1 (de) | 1988-09-15 |
| JPS60217068A (ja) | 1985-10-30 |
| US4608888A (en) | 1986-09-02 |
| DE3411459C2 (enExample) | 1987-06-19 |
| JPH0448587B2 (enExample) | 1992-08-07 |
| DE3411459A1 (de) | 1985-10-10 |
| EP0158062A1 (de) | 1985-10-16 |
Similar Documents
| Publication | Publication Date | Title |
|---|---|---|
| DE3411397C2 (enExample) | ||
| EP0421107A2 (de) | Schlüsselzange | |
| WO2007068019A1 (de) | Möbel mit wenigstens einem ersten und einem zweiten möbelteil | |
| EP0682589A1 (de) | Wechselhandgriff für schiebehölzer. | |
| DE19809354A1 (de) | Hand-Blindnietzange | |
| EP0158062B1 (de) | Werkzeug zum Crimpen Schneiden, Pressen o. dgl. | |
| EP0103912A1 (de) | Zangengerät | |
| EP1319456B1 (de) | Kabelschneider | |
| DE7512925U (de) | Abisolierzange | |
| EP3107774A1 (de) | Betätigungsvorrichtung für eine feststellbremse | |
| DE2559656A1 (de) | Anordnung mit einem einstellbaren kniehebelmechanismus, insbesondere bei zangen u.dgl. | |
| DE7402999U (de) | Werkzeug, vorzugsweise Zange, zum Kerben bzw. Vorpressen von Hülsen wie Kabelschuhen u. dgl | |
| DE4424493C2 (de) | Zangenartiges Werkzeug zum formschlüssigen Verbinden von Blechteilen | |
| DE2423226A1 (de) | Vorrichtung zur herstellung von nocken in aufeinanderliegenden blechlagen | |
| DE3009888A1 (de) | Kabelmantelschneider zum laengsschlitzen von kunststoffkabelmaenteln | |
| DE2530776B2 (de) | Spannvorrichtung | |
| DE2816716C2 (de) | Spreizwerkzeug mit Keilwirkung, insbesondere zum Fällen von Baumstämmen | |
| DE10353552B4 (de) | Chirurgisches Instrument | |
| DE3909603C2 (enExample) | ||
| DE2521378B2 (de) | Zange zum verpressen von kabelverbindern (crimp-werkzeug) | |
| DE102020007819B3 (de) | Schlüsselzange | |
| DE20020980U1 (de) | Wasserpumpenzange | |
| DE19612755C2 (de) | Selbstklemmender Spannschlüssel | |
| EP3701836B1 (de) | Vorrichtung zur verbindung eines frontelements mit einem seitenteil eines bewegbaren möbelteils | |
| DE10044874A1 (de) | Schlüsselzange |
Legal Events
| Date | Code | Title | Description |
|---|---|---|---|
| PUAI | Public reference made under article 153(3) epc to a published international application that has entered the european phase |
Free format text: ORIGINAL CODE: 0009012 |
|
| AK | Designated contracting states |
Designated state(s): AT BE CH FR GB IT LI NL SE |
|
| 17P | Request for examination filed |
Effective date: 19851030 |
|
| 17Q | First examination report despatched |
Effective date: 19861027 |
|
| D17Q | First examination report despatched (deleted) | ||
| GRAA | (expected) grant |
Free format text: ORIGINAL CODE: 0009210 |
|
| AK | Designated contracting states |
Kind code of ref document: B1 Designated state(s): AT BE CH FR GB IT LI NL SE |
|
| REF | Corresponds to: |
Ref document number: 36823 Country of ref document: AT Date of ref document: 19880915 Kind code of ref document: T |
|
| ITF | It: translation for a ep patent filed | ||
| GBT | Gb: translation of ep patent filed (gb section 77(6)(a)/1977) | ||
| ET | Fr: translation filed | ||
| REG | Reference to a national code |
Ref country code: CH Ref legal event code: PUE Owner name: CHRISTINE POHLE-ROMMEL |
|
| NLS | Nl: assignments of ep-patents |
Owner name: CHRISTINE POHLE GEB. ROMMEL TE SCHWEINFURT, BONDSR |
|
| REG | Reference to a national code |
Ref country code: GB Ref legal event code: 732 |
|
| REG | Reference to a national code |
Ref country code: GB Ref legal event code: 732 |
|
| PLBE | No opposition filed within time limit |
Free format text: ORIGINAL CODE: 0009261 |
|
| STAA | Information on the status of an ep patent application or granted ep patent |
Free format text: STATUS: NO OPPOSITION FILED WITHIN TIME LIMIT |
|
| 26N | No opposition filed | ||
| BECA | Be: change of holder's address |
Free format text: 880831 *POHLE-ROMMEL CHRISTINE;*ROMMEL DE GINER SUSANNE:HOFRAT-GRAETZ-STRASSE 20 1/2, D-8720 SCHWEINFURT;MOLDAUSTRASSE 18, D-3570 STADT ALLENDORF |
|
| BECH | Be: change of holder |
Free format text: 880831 *POHLE-ROMMEL CHRISTINE;*ROMMEL DE GINER SUSANNE |
|
| ITTA | It: last paid annual fee | ||
| EAL | Se: european patent in force in sweden |
Ref document number: 85101818.4 |
|
| PGFP | Annual fee paid to national office [announced via postgrant information from national office to epo] |
Ref country code: FR Payment date: 19981230 Year of fee payment: 15 |
|
| PGFP | Annual fee paid to national office [announced via postgrant information from national office to epo] |
Ref country code: SE Payment date: 19990111 Year of fee payment: 15 |
|
| PGFP | Annual fee paid to national office [announced via postgrant information from national office to epo] |
Ref country code: GB Payment date: 19990118 Year of fee payment: 15 |
|
| PGFP | Annual fee paid to national office [announced via postgrant information from national office to epo] |
Ref country code: BE Payment date: 19990219 Year of fee payment: 15 |
|
| PGFP | Annual fee paid to national office [announced via postgrant information from national office to epo] |
Ref country code: AT Payment date: 19990224 Year of fee payment: 15 |
|
| PGFP | Annual fee paid to national office [announced via postgrant information from national office to epo] |
Ref country code: NL Payment date: 19990228 Year of fee payment: 15 |
|
| PGFP | Annual fee paid to national office [announced via postgrant information from national office to epo] |
Ref country code: CH Payment date: 19990323 Year of fee payment: 15 |
|
| PG25 | Lapsed in a contracting state [announced via postgrant information from national office to epo] |
Ref country code: GB Free format text: LAPSE BECAUSE OF NON-PAYMENT OF DUE FEES Effective date: 20000220 Ref country code: AT Free format text: LAPSE BECAUSE OF NON-PAYMENT OF DUE FEES Effective date: 20000220 |
|
| PG25 | Lapsed in a contracting state [announced via postgrant information from national office to epo] |
Ref country code: SE Free format text: LAPSE BECAUSE OF NON-PAYMENT OF DUE FEES Effective date: 20000221 |
|
| PG25 | Lapsed in a contracting state [announced via postgrant information from national office to epo] |
Ref country code: BE Free format text: LAPSE BECAUSE OF NON-PAYMENT OF DUE FEES Effective date: 20000228 |
|
| PG25 | Lapsed in a contracting state [announced via postgrant information from national office to epo] |
Ref country code: LI Free format text: LAPSE BECAUSE OF NON-PAYMENT OF DUE FEES Effective date: 20000229 Ref country code: CH Free format text: LAPSE BECAUSE OF NON-PAYMENT OF DUE FEES Effective date: 20000229 |
|
| BERE | Be: lapsed |
Owner name: POHLE-ROMMEL CHRISTINE Effective date: 20000228 Owner name: ROMMEL DE GINER SUSANNE Effective date: 20000228 |
|
| PG25 | Lapsed in a contracting state [announced via postgrant information from national office to epo] |
Ref country code: NL Free format text: LAPSE BECAUSE OF NON-PAYMENT OF DUE FEES Effective date: 20000901 |
|
| EUG | Se: european patent has lapsed |
Ref document number: 85101818.4 |
|
| GBPC | Gb: european patent ceased through non-payment of renewal fee |
Effective date: 20000220 |
|
| REG | Reference to a national code |
Ref country code: CH Ref legal event code: PL |
|
| PG25 | Lapsed in a contracting state [announced via postgrant information from national office to epo] |
Ref country code: FR Free format text: LAPSE BECAUSE OF NON-PAYMENT OF DUE FEES Effective date: 20001031 |
|
| NLV4 | Nl: lapsed or anulled due to non-payment of the annual fee |
Effective date: 20000901 |
|
| REG | Reference to a national code |
Ref country code: FR Ref legal event code: ST |