EP0103352B1 - Magnetischer Sensor, insbesondere Wiedergabekopf für magnetisches Aufzeichnungsmedium - Google Patents

Magnetischer Sensor, insbesondere Wiedergabekopf für magnetisches Aufzeichnungsmedium Download PDF

Info

Publication number
EP0103352B1
EP0103352B1 EP83303179A EP83303179A EP0103352B1 EP 0103352 B1 EP0103352 B1 EP 0103352B1 EP 83303179 A EP83303179 A EP 83303179A EP 83303179 A EP83303179 A EP 83303179A EP 0103352 B1 EP0103352 B1 EP 0103352B1
Authority
EP
European Patent Office
Prior art keywords
stratum
magnetostrictive
piezoresistive
thin film
magnetic
Prior art date
Legal status (The legal status is an assumption and is not a legal conclusion. Google has not performed a legal analysis and makes no representation as to the accuracy of the status listed.)
Expired
Application number
EP83303179A
Other languages
English (en)
French (fr)
Other versions
EP0103352A2 (de
EP0103352A3 (en
Inventor
Chester C/O Minnesota Mining And Piotrowski
Neil W. C/O Minnesota Mining And Loeding
Current Assignee (The listed assignees may be inaccurate. Google has not performed a legal analysis and makes no representation or warranty as to the accuracy of the list.)
3M Co
Original Assignee
Minnesota Mining and Manufacturing Co
Priority date (The priority date is an assumption and is not a legal conclusion. Google has not performed a legal analysis and makes no representation as to the accuracy of the date listed.)
Filing date
Publication date
Application filed by Minnesota Mining and Manufacturing Co filed Critical Minnesota Mining and Manufacturing Co
Priority to AT83303179T priority Critical patent/ATE42413T1/de
Publication of EP0103352A2 publication Critical patent/EP0103352A2/de
Publication of EP0103352A3 publication Critical patent/EP0103352A3/en
Application granted granted Critical
Publication of EP0103352B1 publication Critical patent/EP0103352B1/de
Expired legal-status Critical Current

Links

Images

Classifications

    • GPHYSICS
    • G01MEASURING; TESTING
    • G01RMEASURING ELECTRIC VARIABLES; MEASURING MAGNETIC VARIABLES
    • G01R33/00Arrangements or instruments for measuring magnetic variables
    • G01R33/02Measuring direction or magnitude of magnetic fields or magnetic flux
    • G01R33/06Measuring direction or magnitude of magnetic fields or magnetic flux using galvano-magnetic devices
    • GPHYSICS
    • G11INFORMATION STORAGE
    • G11BINFORMATION STORAGE BASED ON RELATIVE MOVEMENT BETWEEN RECORD CARRIER AND TRANSDUCER
    • G11B5/00Recording by magnetisation or demagnetisation of a record carrier; Reproducing by magnetic means; Record carriers therefor
    • G11B5/127Structure or manufacture of heads, e.g. inductive
    • G11B5/1278Structure or manufacture of heads, e.g. inductive specially adapted for magnetisations perpendicular to the surface of the record carrier
    • GPHYSICS
    • G11INFORMATION STORAGE
    • G11BINFORMATION STORAGE BASED ON RELATIVE MOVEMENT BETWEEN RECORD CARRIER AND TRANSDUCER
    • G11B5/00Recording by magnetisation or demagnetisation of a record carrier; Reproducing by magnetic means; Record carriers therefor
    • G11B5/127Structure or manufacture of heads, e.g. inductive
    • G11B5/33Structure or manufacture of flux-sensitive heads, i.e. for reproduction only; Combination of such heads with means for recording or erasing only
    • G11B5/332Structure or manufacture of flux-sensitive heads, i.e. for reproduction only; Combination of such heads with means for recording or erasing only using thin films
    • GPHYSICS
    • G11INFORMATION STORAGE
    • G11BINFORMATION STORAGE BASED ON RELATIVE MOVEMENT BETWEEN RECORD CARRIER AND TRANSDUCER
    • G11B5/00Recording by magnetisation or demagnetisation of a record carrier; Reproducing by magnetic means; Record carriers therefor
    • G11B5/48Disposition or mounting of heads or head supports relative to record carriers ; arrangements of heads, e.g. for scanning the record carrier to increase the relative speed
    • G11B5/58Disposition or mounting of heads or head supports relative to record carriers ; arrangements of heads, e.g. for scanning the record carrier to increase the relative speed with provision for moving the head for the purpose of maintaining alignment of the head relative to the record carrier during transducing operation, e.g. to compensate for surface irregularities of the latter or for track following
    • HELECTRICITY
    • H10SEMICONDUCTOR DEVICES; ELECTRIC SOLID-STATE DEVICES NOT OTHERWISE PROVIDED FOR
    • H10NELECTRIC SOLID-STATE DEVICES NOT OTHERWISE PROVIDED FOR
    • H10N35/00Magnetostrictive devices
    • H10N35/101Magnetostrictive devices with mechanical input and electrical output, e.g. generators, sensors

Definitions

  • This invention relates to magnetic recording playbacks heads, particularly to such heads wherein non-inductive means are utilized for sensing localized magnetic field patterns of a magnetic recording medium.
  • Such thin film heads were perhaps first disclosed in U.S. Patent US-A-3,344,237 assigned to Minnesota Mining and Manufacturing Company, the assignee of the present invention. Since the initial development, many types of thin film heads have been developed in various attempts to improve the reliability and signal-to-noise ratio while reducing manufacturing costs, complexity, and the like. Relevant to the present invention are non-inductive thin film playback heads, such as those utilizing magneto-resistive films.
  • U.S. Patent US-A-3,987,485 (Sugaya et al) is exemplary of prior art disclosing such heads.
  • the device there disclosed includes a semiconductive substrate on which may be deposited, along with the magnetoresistive film, or films for multitrack heads, integrated circuits such as switching circuits and amplifiers which are connected to the magnetic heads.
  • a semiconductive substrate on which may be deposited, along with the magnetoresistive film, or films for multitrack heads, integrated circuits such as switching circuits and amplifiers which are connected to the magnetic heads.
  • U.S. Patent US-A-3,908,194 depicts a thin film magnetoresistive read head integrated with a thin film inductive write head.
  • magnetoresistive thin film heads it is also known to utilize heads including thin films having magnetostrictive properties.
  • heads including thin films having magnetostrictive properties For example, Brunsch et al, IBM Tech. Disclosure Bulletin, Vol. 21, No. 2, July 1978, pp. 667-668, depicts a thin film head, with both read and write capabilities, in which magnetostrictive films having permanent anisotropy surround a single turn inductive winding, forming a working gap therebetween, and are in turn mechanically coupled to a piezoelectric substrate.
  • read or write signals appear to be coupled from or to the conductor and hence inductively from or to the gap, while DC or AC voltages are applied to the piezoelectric substrate, causing stress in the magnetostrictive films, which, in turn, rotates the anisotropy to allow the signals to be more readily coupled through the gap.
  • Such a head is thus actually an inductive type device in which magnetostriction is utilized in a secondary manner.
  • US-A-3 800 193 discloses a magnetic sensing head in which the magnetic flux sensitive device is formed as a film on a semiconductor substrate but there is no suggestion in this reference of the use of a strain sensitive element as required by the present invention.
  • IBM Technical Disclosure Bulletin, Vol. 17, No. 11, April 1975, pages 3478-3480 disclose a magnetoresistive head but there is no disclosure of a magnetores- trictive material.
  • a device in which mechanically coupled magnetostrictive and piezoelectric films are used to directly sense localized fields is depicted in U.S. Patent US-A-3,909,809 (Kinsner et al).
  • the device there set forth is adapted for sensing magnetic bubble domains such as may be present in magnetic bubble memories in which the bubble memory and sensing device are both stationary, i.e. one does not move relative to the other, as is otherwise the case in a magnetic recording medium and associated record or playback head.
  • the device disclosed therein does not incorporate amplifiers or other electronic circuits as an integral part thereof.
  • IBM Technical Disclosure Bulletin, Vol. 16, No. 8, January 1974, pages 2491-2492 discloses a piezoresistive stratum mechanically coupled to a magnetostrictive material for enabling a strain produced in the magnetostrictive material to produce a corresponding change in the electrical resistivity of the piezoresistive stratum.
  • This reference makes no use of magnetostrictive and piezoresistive properties to detect a field of, for example, a magnetic tape and neither does this reference suggest an integrated solid state amplifier.
  • This reference forms the pre-characterising basis of the present claim 1.
  • a magnetic sensor comprising a magnetostrictive stratum, a first piezoresistive stratum coupled to the magnetostrictive stratum enabling strain magnetically induced in the magnetostrictive stratum to produce in said piezoresistive stratum a corresponding change in the electrical resistivity thereof, and characterized by a solid state amplifier formed as a single integrated structure together with said first piezoresistive stratum, said amplifier including a piezoresistively responsive region of the said first piezoresistive stratum mechanically coupled to said magnetostrictive stratum for sensing said change in resistivity and for supplying an electrical output signal in response thereto which is representative of the intensity of magnetic fields impressed upon said magnetostrictive stratum.
  • Localized magnetic field patterns such as may be present in a record track in a magnetic recording medium positioned adjacent the magnetostrictive stratum may thereby be sensed independently of speed, or changes in the speed, of the head relative to the medium.
  • a piezoresistive substrate having a magnetostrictive thin film thereon is fabricated together with a carrier member adapted to be mounted with the plane of the thin film substantially normal to the surface of a magnetic recording medium, thereby enabling localized magnetic patterns in the medium and oriented normal to the surface thereof to be impressed upon the length of the magnetostrictive thin film, thus producing a lengthwise strain which is coupled to the piezoresistive substrate.
  • the mechanically coupled magnetostrictive and piezoresistive strata may be positioned proximate to high permeability thin film pole pieces configured to optimize detection of either vertically or longitudinally oriented magnetic media such that magnetic fields coupled to the pole-pieces induce in the magnetostrictive stratum a mechanical strain which is coupled to the piezoresistive stratum as described hereinabove.
  • a further embodiment of the present invention includes an additional stratum of a non-strain sensitive material which has substantially the same area as that of the magnetostrictive stratum and which extends over a different portion of the piezoresistive stratum.
  • a change in the resistance in the piezoresistive stratum proximate the non-strain- sensitive stratum is compared with the change in resistance in another section of the piezoresistive stratum proximate the magnetostrictive stratum so that undesired non-magnetic stimuli, both time varying and steady state, applied to both portions of the piezoresistive stratum may be suppressed while allowing stimuli present only in one portion, such as that magnetically induced in the magnetostrictive stratum, to be readily detected.
  • the senor of the present invention When the sensor of the present invention is adapted for use as a magnetic recording playback head, it satisfies an existing need for a device for reading high density magnetic information stored in advanced memory systems.
  • the device of the present invention may be constructed in a variety of configurations including embodiments wherein the magnetostrictive and piezoresistive strata are applied on separate substrates from that of an associated amplifier, as well as embodiments wherein the elements are directly coupled together.
  • Figure 1 sets forth a preferred embodiment of the latter wherein a magnetostrictive film is deposited over a piezoresistively responsive region associated with the gate area of a MOSFET transistor.
  • the device 10 includes a substrate 12 of P-type silicon in which two zones have been heavily doped to provide N-type regions 14 and 16, respectively.
  • insulating Si0 2 regions 18, 20, and 22, respectively On top of the substrate and adjoining the N-type regions 14 and 16 are formed insulating Si0 2 regions 18, 20, and 22, respectively, and on top of the regions 18 and 22 are deposited metallic contact regions 24 and 26 respectively.
  • a metallic magnetostrictive film 28 is then deposited, thus completing a modified MOSFET transistor.
  • the Si substrate, particularly in channel area 31 is appropriately strain sensitive, i.e.
  • Appropriate bias potentials such as provided by sources 30 and 32 may be applied to the device via conductors 34, 36, and 38 secured to the contacts 24, 26, and 28, respectively, and an output signal developed across resistor 40.
  • a device such as that set forth in Figure 1 was constructed in the following manner.
  • a P-channel enhancement mode MOSFET transistor was fabricated from an N-type silicon substrate utilizing conventional MOSFET technology, wherein the gate electrode was prepared having dimensions of approximately 25 by 1,000 micrometers.
  • a magnetostrictive thin film approximately 500 nanometers thick was ion beam sputtered onto the gate electrode from a 98%+ pure nickel foil target.
  • other magnetostrictive thin films may also be deposited, such as an alloy of approximately Fe, o Si 3o .
  • Equivalent devices to that shown in Figure 1 may be made using either N-channel or P-channel silicon substrates, operating in either an enhancement or depletion mode. Also, analogous devices may be constructed using bipolar transistors.
  • an alternative device may utilize a totally passive substrate, such as formed of a planar sheet of glass or the like, onto which is then adhered a conventional MOSFET transistor having the respective doped regions, insulating layers, and metallic contacts, as described hereinabove with respect to the MOSFET of the device 10 and set forth in Figure 1.
  • a second portion of the device consisting of a substrate and a magnetically activated piezoresistor, formed by first depositing a piezoresistive film. Suitable electrical contacts are applied to two sides of the film.
  • an insulating thin film such as Si0 2
  • a thin film of a magnetostrictive material such as Ni.
  • Appropriate electrical contacts are then provided to couple the piezoresistor and bias potentials to the MOSFET transistor.
  • a device functionally equivalent to that described in conjunction with Figure 1 hereinabove may be constructed by adding suitable high permeability pole pieces to enable remote sensing of localized magnetic fields such as may be present in magnetic recording media.
  • One such device is set forth in plane view in Figure 2A, and associatedly, in cross-section view in Figure 2B.
  • the device 90 includes a silicon substrate 92 having a region 94 having appreciable piezoresistive characteristics. At opposite ends of the region 94 are deposited electrodes 96 and 98. Overlying the piezoresistive region 94 is a thin film insulator 100 and overlying the insulating thin film 100 is a thin film of a magnetostrictive material 102.
  • the pole piece 106 is desirably made sufficiently extensive in area to result in a flux density sufficiently low to avoid magnetically affecting recorded data passing adjacent that pole piece.
  • the flux thus induced in the magnetostrictive film 102 will produce an associated electrical output from the piezoresistive region.
  • a conventional bipolar transistor 116 is separately fabricated and bonded to the silicon substrate 92 as there shown.
  • the electrodes 96 and 98 may then be coupled between a source of potential 120 and the base 122 of the transistor. 116.
  • the collector and emitter 124 and 126, respectively, can be coupled via leads 128 and 130 to an appropriate bias circuit.
  • such a device includes the substrate 92 having a piezoresistive region 94.
  • the metal electrodes 96 and 98 On top of the region 94 are the metal electrodes 96 and 98, the insulating film 100 and the magnetostrictive film 102, respectively.
  • the high permeability thin film pole pieces 104 and 106 are similarly shown deposited over the magnetostrictive film, leaving the gap region therebetween.
  • An alternative construction may provide the capability to read both longitudinally and perpendicularly recorded data.
  • Such a device utilizes symmetric, thin film pole pieces deposited over a magnetostrictive-piezoresistive transducer substantially the same as that shown in Fig. 2A.
  • One pole piece would thus terminate with an underlying pole tip substantially covered by a second pole tip, the two pole tips being separated by an insulative thin film, thus forming the working gap of the resultant head.
  • the construction of such thin film heads is well known to those skilled in thin film recording and playback head technology.
  • the present invention may also be utilized with external pole pieces to provide both a read and write capability.
  • a device may include a silicon substrate on which are deposited successive thin films so as to form a single turn inductive winding around the appropriate pole pieces together with a magnetostrictive-piezoresistive transducer assembly as described above.
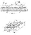
  • Figure 3 sets forth in perspective view a further preferred embodiment of the present invention wherein a plurality of magnetostrictive-piezoresistive sensing elements are provided, thus enabling simultaneous playback of parallel tracks.
  • a device may also be used to maintain the head positioned over a single track via a dynamic servoing system.
  • a head 182 may include a silicon substrate 184 into which is diffused a plurality of piezoresistively responsive regions 186, 188 and 190, into the ends of which are formed highly conductive regions 192 and 194, 196 and 198, and 200 and 202, respectively.
  • FIG. 4 sets forth a preferred embodiment of the present invention wherein additional components are provided for suppressing unwanted effects of stimuli other than the main magnetic signals of interest.
  • a pair of sensing elements as nearly geometrically identical as possible are provided, with only one of the sensing elements receiving the stimuli of interest, but with both the sensing elements equally receiving all background stimuli.
  • the device set forth in Figure 4 incorporates a common mode noise rejection feature.
  • the device 232 includes a common substrate 234 within which are fabricated two separate MOSFET transistors each shown generally extending over two separate regions 236 and 238, respectively, of the substrate.
  • MOSFET transistors are conventional in nature so far as having the requisite doped regions, metal oxide layers and source, gate, and drain electrodes, but further modified to have piezoresistively responsive channels.
  • the common mode noise rejection capability is provided by depositing over the respective gate regions 240 and 242 a magnetostrictive film 244 and a similarly configured non-magnetostrictive film 246, such as may be provided by a thin film of aluminum, or the like.
  • each of the respective films 244 and 246 may be provided to allow applications of appropriate bias potentials.
  • Appropriate sources of potential and biasing resistors, 248 and 250, and 252 and 254, respectively, will also be provided for energization of the two separate MOSFET sections.
  • the output from the two respective MOSFET sections will then typically be coupled to a differential amplifier 256 to provide an appropriate differential output signal.
  • common mode noise rejection may be obtained even though both the films 244 and 246 are magnetostrictive in nature.
  • only one of the films would be exposed to the desired magnetic field, with appropriate shielding provided if desired to minimize cross-talk.
  • the difference between the outputs of the two would represent a magnetically induced signal with common mode noise rejected.
  • common mode noise rejection may similarly be achieved using a single MOSFET device.
  • a single MOSFET device can be fabricated using a single silicon substrate, upon a first portion of which is fabricated a conventional MOSFET transistor.
  • a single piezoresistive zone is then formed, having separated, highly conductive regions of equal resistance. Overlying one half of the piezoresistive zone would then be provided an insulating layer, and on top of that layer would be provided a magnetostrictive layer. Analogously, overlying the other half of the piezoresistive zone would be another insulating layer and on top of that layer would be a non-magnetostrictive layer.
  • the two piezoresistors thus formed, in combination with a source of potential, constitute a biasing network for the MOSFET.
  • Application of an external magnetic field thus modulates the resistance of the zone underlying the magnetostrictive layer, and results in a change in the bias potential applied to the MOSFET.
  • one such device 304 includes a conventional ceramic chip carrier 306 which is arranged to have an internal recess and to be open at one end 308.
  • chip carriers typically have a plurality of bonding pads positioned about their periphery for enabling electrical connections to be made to the various portions of a semiconductor substrate positioned therein.
  • a silicon substrate 310 is mounted within the carrier 306 using an appropriate thermally conductive adhesive, with one end of the substrate terminating substantially coincident with the open end of the carrier 308.
  • a magnetostrictive film 314 and a non-magnetostrictive film 316 are deposited over an insulating film 318 covering separate piezoresistive zones 320 and 322.
  • the magnetostrictive film is a thin film of an iron-silicon alloy having the approximate composition Fe 7o SJ 3o with a thickness in the range of 20G-800 nanometers.
  • the non-magnetostrictive film 316 may be a sputtered film of aluminum having a thickness of approximately 300 to 500 nanometers, and of similar physical dimensions.
  • the differently fabricated piezoresistors may be coupled to the electrodes of integrated transistors 328 and 330, bonded to another portion of the substrate 310 via a suitable thermally conductive adhesive, or fabricated as an integral portion thereof.
  • the periphery of the chip carrier 306 will include bonding pads (not shown) so that connections to appropriate biasing potentials and input and/or output signals may be made to the transistors.
  • a chip carrier such as described in the foregoing, having the respective films terminating proximate the open end of the carrier, may be utilized to detect perpendicularly encoded localized magnetic field patterns within a magnetic recording medium.
  • a medium may include a layer of a vertically oriented magnetic recording material over a high permeability substrate, which thereby provides an efficient flux return path. As such a medium is moved past the carrier, localized bits will come proximate the magnetostrictive and metallic films, and differential strain will be induced within the magnetostrictive film 314 to provide an appropriate signal from the transistors.
  • the amplifier which desirably forms an integrated part of the device of the present invention may be a MOSFET, JFET or bipolar type transistor and thus provides the first stage of amplification as well as impedance matching, to the magnetostrictive-piezoresistive portion of the device.
  • the transistors desirably used in the present devices can be fabricated by standard IC processes.
  • the device of the present invention can be fabricated with MOSFET amplifiers employing either N-type or P-type channels, operating in either the enhancement or depletion mode.
  • magnetostrictive stratum such a layer is desirably deposited in intimate mechanical contact with the piezoresistive stratum.
  • magnetostrictive elements include various compositions of FeSi, FeB, Ni, FeSiTb, FeNi, etc.
  • Optimum thicknesses and application techniques will depend upon the particular material selected. There are a variety of techniques available to provide for coupling between the magnetostrictive and piezoresistive strata.
  • the magnetostrictive material may be sputtered, evaporated, plated, or even adhered with, for example, a thin epoxy layer over the piezoresistive material.
  • the mechanical and electrical characteristics of the device will depend on the particular deposition or application method employed.
  • magnetostrictive film that actually couples to a magnetic field. Consequently, it properties are perhaps the most critical to device performance.
  • the basic material characteristics required are relatively low coercivity, so that the film magnetization can be easily switched, and a relatively high magnetostriction coefficient.
  • the particular properties of the magnetostrictive layer can be tailored somewhat to match the properties of the piezoresistive stratum and amplifier being used. However, in general it is desirable to have the highest possible induced strain per unit applied field, consistent with achieving magnetic saturation in digital applications at an acceptably low field intensity.
  • the physical dimensions of the film determine the spatial field resolution and bandwidth of the sensor. Thin film, photolithographically patterned elements can achieve maximum bandwidth and resolution.

Landscapes

  • Engineering & Computer Science (AREA)
  • Manufacturing & Machinery (AREA)
  • Physics & Mathematics (AREA)
  • Condensed Matter Physics & Semiconductors (AREA)
  • General Physics & Mathematics (AREA)
  • Magnetic Heads (AREA)
  • Measuring Magnetic Variables (AREA)
  • Hall/Mr Elements (AREA)

Claims (11)

1. Magnetischer Sensor, umfassend
eine Magnetostriktionsschicht (28, 244) und
eine erste Piezowiderstandsschicht (12, 236), die mit der Magnetostriktionsschicht derart gekuppelt ist, daß in der Magnetostriktionsschicht magnetisch induzierte Verformungen in der Piezowiderstandsschicht eine entsprechende Veränderung des spezifischen elektrischen Widerstandes derselben bewirken, gekennzeichnet durch:
einen Festkörperverstärker, der zusammen mit der ersten Piezowiderstandsschicht eine einzige integrierte Struktur bildet und der einen Piezowiderstandseigenschaften besitzenden Bereich der ersten Piezowiderstandsschicht aufweist, der zum Erfassen der Veränderung des spezifischen Widerstandes mit der Magnetostriktionsschicht gekuppelt ist und dazu dient, auf Grund dieser Veränderung ein elektrisches Ausgangssignal abzugeben, das die Stärke von der Magnetostriktionsschicht aufgeprägten Magnetfeldern darstellt.
2. Sensor nach Anspruch 1, dadurch gekennzeichnet, daß die erste Piezowiderstandsschicht in einem Substrat angeordnet ist und die Magnetostriktionsschicht (28) über dem Substrat liegt.
3. Magnetischer Sensor nach Anspruch 1, dadurch gekennzeichnet, daß der Festkörperverstärker einen MOSFET-Verstärker umfaßt, in dem Piezowiderstandseigenschaften besitzende Bereich ein Kanalbereich (31) ist, mit dem die Magnetostriktionsschicht (28) mechanisch gekuppelt ist.
4. Magnetischer Sensor nach Anspruch 1, gekennzeichnet durch eine mit der Magnetostriktionsschicht (246) im wesentlichen flächengleiche, weitere Schicht (244), die derart mit einer zweiten Piezowiderstandsschicht (238) gekuppelt ist, daß auf den Bereich der genannten weiteren Schicht einwirkende Reize auf die zweite Piezowiderstandsschicht übertragen werden und in dieser eine entsprechende Veränderung des spezifischen elektrischen Widerstandes bewirken, und
daß der Verstärker Mittel (252, 254 und 256) aufweist, die dazu dienen, Veränderungen des spezifischen elektrischen Widerstandes der zweiten Piezowiderstandsschicht (238) zu erfassen und auf Grund derselben ein zweites Ausgangssignal abzugeben, das auf den Bereich der genannten anderen Schicht winwirkenden Reizen entspricht.
5. Sensor nach Anspruch 4, dadurch gekennzeichnet, daß die genannte andere Schicht (246) wenigstens teilweise aus einem Material besteht, das im wesentlichen keine Magnetostriktionseigenschaften hat, so daß auf die erste und die zweite Piezowiderstandsschicht einwirkende, zeitlich veränderliche und stationäre Reize unterdrückt werden können, während nut auf die ersten Piezowiderstandsschicht (236) einwirkende magnetische Reize ohne weiteres erfaßt werden.
6. Sensor nach Anspruch 1, der für die Verwendung als Wiedergabekopf für magnetische Aufzeichnungsmedien geeignet ist, dadurch gekennzeichnet, daß die Magnetostriktionsschicht (28) eine dünne Schicht aus einem magnetostriktiven Material umfaßt, das auf ein Halbleitersubstrat aufgetragen ist, das die erste Piezowiderstandsschicht (12, 236) enthält, und daß Mittel (104) vorgesehen sind, die dazu dienen, einen von einem magnetischen Aufzeichnungsmedium abgeleiteten magnetischen Kraftfluß auf die Magnetostriktionsschicht zu übertragen.
7. Sensor nach Anspruch 6, dadurch gekennzeichnet, daß der Sensor ferner eine Trägeranordnung (306) aufweist, die zum Abstützen des genannten Substrats, das beträchtliche Piezowiderstandseigenschaften hat, sowie der darauf vorhandenen dünnen Schicht aus Magnetostriktionsmaterial dient, daß die Trägeranordnung am einen Ende offen ist, daß das Substrat und die dünne Magnetostriktionsschicht im wesentlichen in einer Ebene mit dem offenen Ende enden, und daß die Trägeranordnung und die darin abgestützten Elemente derart montierbar sind, daß die Ebene der dünnen Schicht zu der Oberfläche des magnetischen Aufzeichnungsmediums im wesentlichen normal ist, so daß in dem genannten Medium vorhandene, normal zu dessen Oberfläche orientierte magnetische Muster der dünnen Magnetostriktionsschicht über deren sich von der Oberfläche des Aufzeichnungsmediums weg erstreckende Länge aufprägbar sind, um ihr eine Längsverformung zu erteilen, die auf das Piezowiderstandssubstrat übertragen wird.
8. Sensor nach Anspruch 7, dadurch gekennzeichnet, daß die Kraftflußübertragungsmittel (104) mindestens einen Polschuh aufweisen, der eine erste aus einem Material hoher Permeabilität bestehende dünne Schicht besitzt, die auf der Trägeranordnung abgestützt ist und im wesentlichen in einer Ebene mit dem genannten offenen Ende endet, so daß die Ebene des Polschuhs im wesentlichen normal zu der Ebene des magnetischen Aufzeichnungsmediums montierbar ist und Magnetfelder, die lokalen magnetischen Mustern in dem genannten Medium zugeordnet sind, an den Polschuh angekoppelt werden können, und daß die dünne Magnetostriktionsschicht in der Trägeranordnung angeordnet und mit dem Polschuh magnetisch gekoppelt ist, so daß sie die angekoppelten Magnetfelder der dünnen Magnetostriktionsschicht aufprägt.
9. Sensor nach Anspruch 8, dadurch gekennzeichnet, daß der Polschuh (104) in der Trägeranordnung derart endet, daß er eine Begrenzung eines Scherungsspaltes bildet, daß die Trägeranordnung eine beträchtlich flächengrößere, zweite dünne Schicht (106) aus einem Material hoher Permeabilität trägt, von der ein Teil in der Trägeranordnung endet und eine weitere Begrenzung des hinteren Spalts bildet, während ein verbreiterter zweiter Teil derselben im wesentlichen in einer Ebene mit dem offenen Ende endet, um die angekoppelten Magnetfelder auf das genannte Medium zurückzukoppeln, und daß die dünne Magnetostriktionsschicht in der Trägeranordnung angeordnet ist und sich im wesentlichen quer über den von den Polschuhen begrenzten Scherungsspalt erstreckt, so daß die übertragenen Magnetfelder der dünnen Magnetostriktionsschicht aufgeprägt werden.
10. Sensor nach Anspruch 6, dadurch gekennzeichnet, daß das Halbleitersubstrat einen Einkristall von Typ n oder p umfaßt, daß die Piezowiderstandsschicht mindestens einen Bereich mit Piezowiderstandseigenschaften besitzt, der vom entgegengesetzten Leitfähigkeitstyp ist und über den die dünne Schicht aus Magnetostriktionsmaterial aufgetragen ist, so daß ein an den genannten Bereich angelegtes elektrisches Potential einen Stromfluß bewirkt, der auf den von der dünnen Magnetostriktionsschicht bedeckten Bereich lokalisiert ist.
11. Sensor nach Anspruch 10, dadurch gekennzeichnet, daß das Halbleitersubstrat in der Piezowiderstandsschicht mindestens zwei elektrisch isolierte Piezowiderstandsbereiche enthält, die von dem genannten, entgegengesetzten Leitfähigkeitstyp sind, daß die dünne Magnetostriktionsschicht über einem der genannten Bereiche liegt, und daß der Verstärker Mittel zum differentiellen Erfassen von Veränderungen des elektrischen Widerstandes in den beiden Bereichen der Piezowiderstandsschicht aufweist, so daß auf beide Bereiche der Piezowiderstandsschicht einwirkende, zeitlich veränderliche und stationäre, unerwünschte Reize unterdrückbar sind, während nur in einem Teil derselben vorhandene Reize ohne weiteres erfaßbar sind.
EP83303179A 1982-07-14 1983-06-02 Magnetischer Sensor, insbesondere Wiedergabekopf für magnetisches Aufzeichnungsmedium Expired EP0103352B1 (de)

Priority Applications (1)

Application Number Priority Date Filing Date Title
AT83303179T ATE42413T1 (de) 1982-07-14 1983-06-02 Magnetischer sensor, insbesondere wiedergabekopf fuer magnetisches aufzeichnungsmedium.

Applications Claiming Priority (2)

Application Number Priority Date Filing Date Title
US06/398,419 US4499515A (en) 1982-07-14 1982-07-14 Integrated magnetostrictive-piezoresistive magnetic recording playback head
US398419 1982-07-14

Publications (3)

Publication Number Publication Date
EP0103352A2 EP0103352A2 (de) 1984-03-21
EP0103352A3 EP0103352A3 (en) 1985-10-23
EP0103352B1 true EP0103352B1 (de) 1989-04-19

Family

ID=23575311

Family Applications (1)

Application Number Title Priority Date Filing Date
EP83303179A Expired EP0103352B1 (de) 1982-07-14 1983-06-02 Magnetischer Sensor, insbesondere Wiedergabekopf für magnetisches Aufzeichnungsmedium

Country Status (9)

Country Link
US (1) US4499515A (de)
EP (1) EP0103352B1 (de)
JP (1) JPS5924426A (de)
KR (1) KR940004988B1 (de)
AT (1) ATE42413T1 (de)
CA (1) CA1196093A (de)
DE (1) DE3379678D1 (de)
HK (1) HK89889A (de)
SG (1) SG59489G (de)

Families Citing this family (22)

* Cited by examiner, † Cited by third party
Publication number Priority date Publication date Assignee Title
CH659896A5 (de) * 1982-11-22 1987-02-27 Landis & Gyr Ag Magnetfeldsensor.
US4604669A (en) * 1984-09-04 1986-08-05 Honeywell Inc. Magnetostrictive record head
WO1989006733A1 (en) * 1988-01-20 1989-07-27 Widén Innovation Ab Cylinder lock and locking tumbler
US4918655A (en) * 1988-02-29 1990-04-17 Honeywell Inc. Magnetic device integrated circuit interconnection system
US5262666A (en) * 1989-05-15 1993-11-16 Nippondenso Co., Ltd. Semiconductor device with a nickel alloy protective resistor
US5229621A (en) * 1989-11-15 1993-07-20 Hitachi, Ltd. Magnetic semiconductor element and a magneto-optical read out head
US5992601A (en) * 1996-02-15 1999-11-30 Cummins-Allison Corp. Method and apparatus for document identification and authentication
DE69117634T2 (de) * 1990-09-28 1996-10-24 Sony Corp Magnetkopf mit dem Effekt der Widerstandsänderung im Magnetfeld
US5633092A (en) * 1991-12-10 1997-05-27 British Technology Group Ltd. Magnetostrictive material
GB9126207D0 (en) * 1991-12-10 1992-02-12 Nat Res Dev Magnetostrictive material
US5476691A (en) * 1994-01-21 1995-12-19 International Business Machines, Inc. Surface treatment of magnetic recording heads
AU1563995A (en) * 1994-01-21 1995-08-08 Regents Of The University Of California, The Surface treatment of ceramic articles
US5680280A (en) * 1995-09-11 1997-10-21 Texas Instruments Incorporated Magnetic field sensor using heterojunction bipolar transistors
KR0176237B1 (ko) * 1995-12-08 1999-03-20 양승택 박막 트랜지스터 및 그의 제조방법
US6809515B1 (en) 1998-07-31 2004-10-26 Spinix Corporation Passive solid-state magnetic field sensors and applications therefor
WO2000060369A1 (en) * 1999-04-05 2000-10-12 Spinix Corporation Passive solid-state magnetic field sensors and applications therefor
US6580271B2 (en) * 1999-07-20 2003-06-17 Spinix Corporation Magnetic field sensors
US7059201B2 (en) * 2000-12-20 2006-06-13 Fidelica Microsystems, Inc. Use of multi-layer thin films as stress sensors
KR100773556B1 (ko) * 2006-08-02 2007-11-07 삼성전자주식회사 전계 재생/기록 헤드와 그의 제조방법 및 전계 재생/기록헤드를 포함한 정보 재생/기록 장치
US7948713B2 (en) * 2007-01-12 2011-05-24 Tdk Corporation Magnetic head slider using giant magnetostrictive material
WO2010006284A1 (en) * 2008-07-11 2010-01-14 Brain Basket, LLC Magnetostrictive auditory system
WO2013052846A1 (en) 2011-10-06 2013-04-11 Brain Basket, LLC Auditory comprehension and audibility device

Family Cites Families (9)

* Cited by examiner, † Cited by third party
Publication number Priority date Publication date Assignee Title
US3344237A (en) * 1967-09-26 Desposited film transducing apparatus and method op producing the apparatus
FR1054802A (de) * 1951-01-24 1954-02-15
JPS5332690B2 (de) * 1972-06-13 1978-09-09
US3800193A (en) * 1972-09-05 1974-03-26 Ibm Magnetic sensing device
US3987485A (en) * 1973-02-20 1976-10-19 Matsushita Electric Industrial Co., Ltd. Magnetic head with thin film components
US3909809A (en) * 1973-12-17 1975-09-30 Canadian Patents Dev Magnetic bubble domain sensing device
US3908194A (en) * 1974-08-19 1975-09-23 Ibm Integrated magnetoresistive read, inductive write, batch fabricated magnetic head
US4129880A (en) * 1977-07-01 1978-12-12 International Business Machines Incorporated Channel depletion boundary modulation magnetic field sensor
US4520413A (en) * 1982-04-13 1985-05-28 Minnesota Mining And Manufacturing Company Integrated magnetostrictive-piezoelectric-metal oxide semiconductor magnetic playback head

Also Published As

Publication number Publication date
EP0103352A2 (de) 1984-03-21
JPS5924426A (ja) 1984-02-08
DE3379678D1 (en) 1989-05-24
KR940004988B1 (ko) 1994-06-09
KR840005584A (ko) 1984-11-14
SG59489G (en) 1989-12-29
US4499515A (en) 1985-02-12
CA1196093A (en) 1985-10-29
ATE42413T1 (de) 1989-05-15
EP0103352A3 (en) 1985-10-23
HK89889A (en) 1989-11-17

Similar Documents

Publication Publication Date Title
EP0103352B1 (de) Magnetischer Sensor, insbesondere Wiedergabekopf für magnetisches Aufzeichnungsmedium
US4520413A (en) Integrated magnetostrictive-piezoelectric-metal oxide semiconductor magnetic playback head
US5255141A (en) Read-write magnetic head with flux sensing read element
US3860965A (en) Magnetoresistive read head assembly having matched elements for common mode rejection
US5218497A (en) Magnetic recording-reproducing apparatus and magnetoresistive head having two or more magnetoresistive films for use therewith
EP0484474B1 (de) Hochdichte signalverstärkung zeigender magnetoresistiver wiedergabekopf mit kurzgeschlossenem doppelelement
KR100260804B1 (ko) 박막 자기 헤드
JPS63117309A (ja) 磁気抵抗性読取変換器
JPS63255809A (ja) 狭いトラックに対する読取磁気ヘッド及びその製造方法
JPH0473201B2 (de)
EP0675486A2 (de) Magnetoresistiver Wandler mit integriertem Joch und magnetischem Nebenschluss
US4432028A (en) Shielded magnetoresistance transducer high data density applications
JP2002100009A (ja) 磁気抵抗効果型磁気ヘッド
US5905610A (en) Combined read/write magnetic head having MRE positioned between broken flux guide and non-magnetic substrate
JPS61120318A (ja) 一体化薄膜磁気ヘツド
US6028749A (en) Magnetic head having a multilayer structure and method of manufacturing the magnetic head
JP3285094B2 (ja) 薄膜磁気ヘッドの研磨方法
JPH0115927B2 (de)
JPS58224430A (ja) 混成薄膜集積ヘツド
JPH028468B2 (de)
JPS61248213A (ja) 薄膜磁気ヘツド
JPS62197909A (ja) 磁気ヘツドおよびその製造方法
JPS61908A (ja) 磁気抵抗効果型再生ヘツド
JPH07262528A (ja) 薄膜水平型読出し磁気ヘッド
JPH1083518A (ja) 磁気抵抗効果型磁気ヘッド

Legal Events

Date Code Title Description
PUAI Public reference made under article 153(3) epc to a published international application that has entered the european phase

Free format text: ORIGINAL CODE: 0009012

AK Designated contracting states

Designated state(s): AT DE FR GB IT NL

PUAL Search report despatched

Free format text: ORIGINAL CODE: 0009013

AK Designated contracting states

Designated state(s): AT DE FR GB IT NL

17P Request for examination filed

Effective date: 19860325

17Q First examination report despatched

Effective date: 19870723

ITF It: translation for a ep patent filed
GRAA (expected) grant

Free format text: ORIGINAL CODE: 0009210

AK Designated contracting states

Kind code of ref document: B1

Designated state(s): AT DE FR GB IT NL

REF Corresponds to:

Ref document number: 42413

Country of ref document: AT

Date of ref document: 19890515

Kind code of ref document: T

REF Corresponds to:

Ref document number: 3379678

Country of ref document: DE

Date of ref document: 19890524

ET Fr: translation filed
PLBE No opposition filed within time limit

Free format text: ORIGINAL CODE: 0009261

STAA Information on the status of an ep patent application or granted ep patent

Free format text: STATUS: NO OPPOSITION FILED WITHIN TIME LIMIT

26N No opposition filed
ITTA It: last paid annual fee
PGFP Annual fee paid to national office [announced via postgrant information from national office to epo]

Ref country code: NL

Payment date: 19970331

Year of fee payment: 15

PGFP Annual fee paid to national office [announced via postgrant information from national office to epo]

Ref country code: GB

Payment date: 19970506

Year of fee payment: 15

PGFP Annual fee paid to national office [announced via postgrant information from national office to epo]

Ref country code: AT

Payment date: 19970523

Year of fee payment: 15

PGFP Annual fee paid to national office [announced via postgrant information from national office to epo]

Ref country code: FR

Payment date: 19970610

Year of fee payment: 15

PGFP Annual fee paid to national office [announced via postgrant information from national office to epo]

Ref country code: DE

Payment date: 19970627

Year of fee payment: 15

PG25 Lapsed in a contracting state [announced via postgrant information from national office to epo]

Ref country code: GB

Free format text: LAPSE BECAUSE OF NON-PAYMENT OF DUE FEES

Effective date: 19980602

Ref country code: AT

Free format text: LAPSE BECAUSE OF NON-PAYMENT OF DUE FEES

Effective date: 19980602

PG25 Lapsed in a contracting state [announced via postgrant information from national office to epo]

Ref country code: NL

Free format text: LAPSE BECAUSE OF NON-PAYMENT OF DUE FEES

Effective date: 19990101

GBPC Gb: european patent ceased through non-payment of renewal fee

Effective date: 19980602

PG25 Lapsed in a contracting state [announced via postgrant information from national office to epo]

Ref country code: FR

Free format text: LAPSE BECAUSE OF NON-PAYMENT OF DUE FEES

Effective date: 19990226

NLV4 Nl: lapsed or anulled due to non-payment of the annual fee

Effective date: 19990101

PG25 Lapsed in a contracting state [announced via postgrant information from national office to epo]

Ref country code: DE

Free format text: LAPSE BECAUSE OF NON-PAYMENT OF DUE FEES

Effective date: 19990401

REG Reference to a national code

Ref country code: FR

Ref legal event code: ST