DE102019212552B4 - Vorrichtung zum Freigeben, teilweise Freigeben und Verschließen einer Durchströmungsöffnung, Kühleinrichtung - Google Patents

Vorrichtung zum Freigeben, teilweise Freigeben und Verschließen einer Durchströmungsöffnung, Kühleinrichtung Download PDF

Info

Publication number
DE102019212552B4
DE102019212552B4 DE102019212552.2A DE102019212552A DE102019212552B4 DE 102019212552 B4 DE102019212552 B4 DE 102019212552B4 DE 102019212552 A DE102019212552 A DE 102019212552A DE 102019212552 B4 DE102019212552 B4 DE 102019212552B4
Authority
DE
Germany
Prior art keywords
cable
winch
drive shaft
cable winch
component
Prior art date
Legal status (The legal status is an assumption and is not a legal conclusion. Google has not performed a legal analysis and makes no representation as to the accuracy of the status listed.)
Active
Application number
DE102019212552.2A
Other languages
English (en)
Other versions
DE102019212552A1 (de
Inventor
Falk Mrusek
Johannes Schwarz
Matthias Wagner
Matthias Tichter
Current Assignee (The listed assignees may be inaccurate. Google has not performed a legal analysis and makes no representation or warranty as to the accuracy of the list.)
Volkswagen AG
Original Assignee
Volkswagen AG
Priority date (The priority date is an assumption and is not a legal conclusion. Google has not performed a legal analysis and makes no representation as to the accuracy of the date listed.)
Filing date
Publication date
Application filed by Volkswagen AG filed Critical Volkswagen AG
Priority to DE102019212552.2A priority Critical patent/DE102019212552B4/de
Publication of DE102019212552A1 publication Critical patent/DE102019212552A1/de
Application granted granted Critical
Publication of DE102019212552B4 publication Critical patent/DE102019212552B4/de
Active legal-status Critical Current
Anticipated expiration legal-status Critical

Links

Images

Classifications

    • BPERFORMING OPERATIONS; TRANSPORTING
    • B60VEHICLES IN GENERAL
    • B60KARRANGEMENT OR MOUNTING OF PROPULSION UNITS OR OF TRANSMISSIONS IN VEHICLES; ARRANGEMENT OR MOUNTING OF PLURAL DIVERSE PRIME-MOVERS IN VEHICLES; AUXILIARY DRIVES FOR VEHICLES; INSTRUMENTATION OR DASHBOARDS FOR VEHICLES; ARRANGEMENTS IN CONNECTION WITH COOLING, AIR INTAKE, GAS EXHAUST OR FUEL SUPPLY OF PROPULSION UNITS IN VEHICLES
    • B60K11/00Arrangement in connection with cooling of propulsion units
    • B60K11/08Air inlets for cooling; Shutters or blinds therefor
    • B60K11/085Air inlets for cooling; Shutters or blinds therefor with adjustable shutters or blinds
    • YGENERAL TAGGING OF NEW TECHNOLOGICAL DEVELOPMENTS; GENERAL TAGGING OF CROSS-SECTIONAL TECHNOLOGIES SPANNING OVER SEVERAL SECTIONS OF THE IPC; TECHNICAL SUBJECTS COVERED BY FORMER USPC CROSS-REFERENCE ART COLLECTIONS [XRACs] AND DIGESTS
    • Y02TECHNOLOGIES OR APPLICATIONS FOR MITIGATION OR ADAPTATION AGAINST CLIMATE CHANGE
    • Y02TCLIMATE CHANGE MITIGATION TECHNOLOGIES RELATED TO TRANSPORTATION
    • Y02T10/00Road transport of goods or passengers
    • Y02T10/80Technologies aiming to reduce greenhouse gasses emissions common to all road transportation technologies
    • Y02T10/88Optimized components or subsystems, e.g. lighting, actively controlled glasses

Landscapes

  • Engineering & Computer Science (AREA)
  • Chemical & Material Sciences (AREA)
  • Combustion & Propulsion (AREA)
  • Transportation (AREA)
  • Mechanical Engineering (AREA)
  • Power-Operated Mechanisms For Wings (AREA)

Abstract

Die Erfindung betrifft eine Vorrichtung (7) zum Freigeben, teilweise Freigeben und Verschließen einer Durchströmungsöffnung (9), mit einem Trägerrahmen, der die Durchströmungsöffnung (9) aufweist, und mit zumindest einem verlagerbaren Bauteil, mit einer dem Bauteil zu dessen Verlagerung zugeordneten Aktuatoreinrichtung (15), die eine drehbar gelagerte Antriebswelle (12), eine auf der Antriebswelle (12) drehfest angeordnete Seilwinde (19) und ein an der Seilwinde (19) einendig befestigtes Zugseil (18) aufweist, das anderendig an dem Bauteil befestigt ist und durch zumindest eine Umlenkrolle (21) zu dem Bauteil geführt ist. Es ist vorgesehen, dass das Bauteil ein Rollo (10) ist, das einendig an der Antriebswelle (12) zum Auf- und Abrollen und anderendig an dem Zugseil (18) befestigt ist, wobei die Seilwinde (19) kegelförmig ausgebildet ist.

Description

  • Die Erfindung betrifft eine Vorrichtung zum Freigeben, teilweise Freigeben und Verschließen einer Durchströmungsöffnung, mit einem Trägerrahmen, der die Durchströmungsöffnung aufweist, mit zumindest einem an dem Trägerrahmen verlagerbaren Bauteil, mit einer dem Bauteil zu dessen Verlagerung zugeordneten Aktuatoreinrichtung, die eine drehbar gelagerte Antriebswelle, eine auf der Antriebswelle drehfest angeordnete Seilwinde und ein an der Seilwinde einendig befestigtes Zugseil aufweist, das anderendig an dem Bauteil befestigt ist und durch zumindest eine Umlenkrolle zu dem Bauteil geführt ist.
  • Weiterhin betrifft die Erfindung eine Kühleinrichtung für ein Frontend eines Kraftfahrzeugs, mit zumindest einem Wärmetauscher, der eine Vielzahl von luftumströmbaren Kühlmittelkanälen aufweist, und mit einer dem Wärmetauscher vorgeschalteten Vorrichtung zum Freigeben, teilweise Freigeben und Verschließen einer Durchströmungsöffnung zu dem Wärmetauscher, die einen Trägerrahmen mit der Durchströmungsöffnung und zumindest ein an dem Trägerrahmen beweglich gelagertes Bauteil zum Freigeben, teilweise Freigeben und Verschließen der Durchströmungsöffnung aufweist. Die Vorrichtung ist dabei wie vorstehend beschrieben ausgebildet.
  • Vorrichtungen der eingangs genannten Art sind aus dem Stand der Technik bekannt. So beschreibt beispielsweise die Offenlegungsschrift DE 10 2006 118 555 A1 einen Linearaktuator zur Erzeugung einer Verstellbewegung einer zu verstellenden Komponente eines Kraftfahrzeugs mit einem Basisbauteil zum Befestigen des Linearaktuators im Kraftfahrzeug und mit einem Betätigungsbauteil, welches relativ zum Basisbauteil entlang einer Verschieberichtung linear verschiebbar und mit der zu verstellenden Komponente des Kraftfahrzeugs gekoppelt ist. Der Linearaktuator weist einen Elektromotor als Krafterzeuger auf, der mit dem Betätigungsbauteil durch ein Zugseil verbunden ist, wobei das Zugseil über einen Flaschenzug auf einer Seilwinde durch den Elektromotor aufrollbar ist. Das Zugseil ist also einendig mit der Seilwinde und anderendig mit dem zu verlagernden Bauteil verbunden. Der Flaschenzug weist mehrere Umlenkrollen auf, die eine Kraftübersetzung derart bewirken, dass mit geringem Kraftaufwand ein auch schweres Bauteil einfach mittels des Zugseils angehoben werden kann. Der Linearaktuator wird dabei zur Verstellung von Luftleitklappen verwendet, die die Strömung durch einen Motorraum des Kraftfahrzeugs oder einer Kühleinrichtung beeinflussen. Durch eine integrierte Messung des Verschiebewegs des verlagerbaren Bauteils ergibt sich die Möglichkeit, eine Rückmeldung an eine Steuereinheit zu Diagnose- oder Regelungszwecken, insbesondere in Kombination mit einer Positionsregelung des Bauteils zu geben. Dadurch ist eine Überwachung des ordnungsgemäßen beziehungsweise fehlerfreien Betriebs der Vorrichtung möglich.
  • Der Erfindung liegt die Aufgabe zugrunde, eine verbesserte Vorrichtung zu schaffen, welche ein einfaches und sicheres Betätigen des Bauteils mittels des Zugseils erlaubt und insbesondere eine Zwangsführung für das Bauteil durch das Zugseil bietet, sodass sich das Bauteil nicht unabhängig von dem Zugseil bewegen kann.
  • Erfindungsgemäß ist hierzu vorgesehen, dass das Bauteil ein Rollo ist, das einendig an der Antriebswelle zum Auf- und Abrollen, auf beziehungsweise von der Antriebswelle, und anderendig an dem Zugseil befestigt ist, wobei die Seilwinde im Längsschnitt kegelförmig ausgebildet ist. Das Bauteil ist also ein auf- und abrollbares Rollo. Dadurch, dass das Bauteil beziehungsweise das Rollo anderendig mit dem Zugseil verbunden ist, ergibt sich, dass das Rollo einendig fest mit der Antriebswelle und anderendig fest mit der auf der Antriebswelle angeordneten Seilwinde verbunden ist, wodurch bei einer Bewegung der Antriebswelle beide Enden des Rollos mit der Seilwinde beziehungsweise dem Zugseil gekoppelt sind, sodass abhängig von der Stellung des Zugseils oder der Drehstellung der Antriebswelle in jeder Stellung die Position des Bauteils bestimmbar ist. Ein Bewegen des Rollos unabhängig von einer Bewegung des Zugseils ist nicht möglich. Wird nunmehr die Aktuatoreinrichtung für einen funktionsfreien Betrieb überwacht, so ist schnell feststellbar, ob ein Seilriss vorliegt oder nicht, weil in beide Betätigungsrichtungen bei fehlerfreiem Zugseil eine Reaktion an dem Rollo festzustellen ist. Durch die konische beziehungsweise kegelförmige Ausbildung der Seilwinde wird erreicht, dass das Zugseil auf einen sich verändernden Radius aufgerollt wird. Dadurch wird beispielsweise sichergestellt oder zumindest ermöglicht, dass das Zugseil stets eine Zugkraft auf das Rollo ausübt und nicht erschlaffen kann, wenn beispielsweise das Rollo schneller abgerollt als das Zugseil aufgerollt wird, wie es bei einer zylinderförmigen Seilwinde der Fall wäre. Damit ist durch die konische Form gewährleistet, dass das Zugseil unabhängig von der Stellung des Rollos stets auf Zug gespannt ist.
  • Gemäß einer bevorzugten Weiterbildung der Erfindung ist ein Kegelwinkel der Seilwinde abhängig von einem Wickelradius und einer Wickelhöhe des Rollos auf der Antriebswelle derart gewählt, dass das Zugseil stets auf Zug gespannt, insbesondere zumindest im Wesentlichen stets gleich gespannt ist. Wird der Wickelradius und die Wickelhöhe des Rollos berücksichtigt bei der Bestimmung des Kegelwickels ist es damit möglich, den oben genannten Effekt einfach zu gewährleisten. Die Wickelhöhe des Rollos ergibt sich dabei aus der Wandstärke des Rollos und der Wickelradius aus der Anzahl der auf der Antriebswelle bereits befindlichen Wicklungen des Rollos. Dabei wird der Kegelwinkel insbesondere auch in Abhängigkeit von einem Durchmesser des Zugseils gewählt, um bei einem Aufrollen des Rollos ein vorteilhaftes Abrollen des Zugseils zum Gleichhalten der Zugkraft beziehungsweise -spannung zu ermöglichen.
  • Besonders bevorzugt ist die Umlenkrolle federvorgespannt beweglich gelagert, sodass sie als Spannrolle für das Zugseil wirkt. Dadurch werden höhere Toleranzen für den Kegelwinkel ermöglicht, da Abweichungen durch ein federkraftbedingtes Verlagern der Umlenkrolle einfach ausgeglichen werden. Durch die Federvorspannung wird gewährleistet, dass das Zugseil zwischen dem Bauteil und der Seilwinde stets auf Zug gespannt ist.
  • Gemäß einer bevorzugten Weiterbildung der Erfindung ist der Seilwinde ein Gehäuse zugeordnet, wobei das Gehäuse zumindest im Querschnitt wenigstens einen Abschnitt aufweist, der sich in Längserstreckung der Seilwinde parallel zu der Seilwinde erstreckt. Das Gehäuse deckt somit die Seilwinde derart ab, dass es zumindest abschnittsweise der Kegelform der Seilwinde folgt, sodass der Abstand zwischen Gehäuse und Seilwinde über die Längserstreckung des Gehäuses gesehen konstant ist. Hierdurch ergibt sich der Vorteil, dass das Zugseil an der Seilwinde durch das Gehäuse vorteilhaft geführt ist, und insbesondere ein Überschlagen von benachbarten Zugseilabschnitten verhindert wird, wenn beispielsweise der Abstand zwischen Gehäuse und Seilwinde kleiner als der Durchmesser des Zugseils gewählt ist. Das Zugseil ist außerdem in dem Gehäuse sicher vor äußeren Einflüssen geschützt, sodass beispielsweise auch eine unberechtigte Manipulation der Vorrichtung verhindert wird.
  • Besonders bevorzugt weist die Seilwinde eine nutförmige Vertiefung zur Aufnahme eines Seilabschnitts des Zugseils auf, die sich gewindeförmig entlang des Außenumfangs der Seilwinde erstreckt, sodass das Zugseil entlang der Vertiefung auf der Seilwinde aufrollbar ist. Durch die nutförmige Vertiefung wird das Zugseil beim Aufrollen gezielt entlang der Seilwinde geführt, wodurch das Zugseil im aufgerollten Zustand stets den gleichen Verlauf an der Seilwinde aufweist, wodurch sichergestellt wird, dass die Position des Bauteils mit der Drehstellung und Anzahl der Umdrehungen der Antriebswelle beziehungsweise Seilwinde erwartungsgemäß korrespondiert. Durch die nutförmige Vertiefung wird außerdem ein Überschlagen benachbarter Zugseilabschnitte zumindest weitestgehend verhindert.
  • Vorzugsweise ist ein radialer Abstand zwischen der Seilwinde und dem Gehäuse im Bereich der Vertiefung größer als ein Durchmesser des Zugseils und ein Abstand zwischen dem Außenumfang der Seilwinde, also axial beabstandet zu der Vertiefung, und dem Gehäuse kleiner als der Durchmesser des Zugseils. Dadurch ist gewährleistet, dass das Zugseil sicher in der nutförmigen Vertiefung geführt ist und nicht beispielsweise einen Gewindegang überspringen kann. Alternativ weist die Seilwinde eine durchgehende Außenumfangsfläche auf, und das Gehäuse weist einen radialen Abstand zu dem Außenumfang auf, der nur geringfügig größer als der Durchmesser des Zugseils ist, sodass auch hier ein Überschlagen benachbarter Zugseilabschnitte unmöglich ist. In beiden Fällen wird gewährleistet, dass dann, wenn beispielsweise aufgrund eines Zugspannungsverlusts ein ungeordnetes Aufrollen des Zugseils erfolgt, bei welchem ein Zugseilabschnitt einen benachbarten Zugseilabschnitt oder eine zwischen zwei nutförmigen Vertiefungen liegende Erhebung überschlägt, das Zugseil zwischen Gehäuse und Seilwinde verklemmt und dadurch die Seilwinde blockiert. Ein Überschlagen des Zugseils kann nur dann auftreten, wenn die üblicherweise vorhandene Zugseilspannung wegfällt. Dies ist beispielsweise dann der Fall, wenn das Zugseil reißen und damit die Verbindung zwischen Seilwinde und dem freien Rolloende lösen sollte. Durch die fehlende Zugspannung kann das Zugseil ungeordnet auf die Seilwinde aufgerollt werden, wobei dann aufgrund eines Überschlags ein Blockieren der Aktuatoreinrichtung durch das vorteilhafte Gehäuse herbeigeführt wird. Diese Blockade ist durch eine einfache Funktionsüberwachung der Aktuatoreinrichtung, insbesondere eines Elektromotors der Aktuatoreinrichtung feststellbar, sodass zeitnah insbesondere eine Beschädigung des Zugseils feststellbar ist.
  • Weiterhin ist bevorzugt vorgesehen, dass die Aktuatoreinrichtung den oben bereits erwähnten Elektromotor aufweist, der zum Antreiben der Antriebswelle mit der Antriebswelle gekoppelt ist. Durch Überwachen von Stromfluss und/oder Spannungsverlauf des Elektromotors ist ein Blockieren des Elektromotors aufgrund eines Zugseil-Überschlags, wie obenstehend beschrieben, einfach und zeitnah feststellbar. Der Elektromotor ist dabei entweder direkt oder durch ein Getriebe, insbesondere Übersetzungsgetriebe, mit der Antriebswelle gekoppelt.
  • Weiterhin ist dem Elektromotor bevorzugt eine Sensoreinrichtung zum Überwachen des Elektromotors auf zumindest eine Fehlfunktion zugeordnet. Insbesondere weist die Sensoreinrichtung wenigstens ein Stromsensor und/oder wenigstens einen Spannungssensor auf, um den Betriebsstrom und/oder die Betriebsspannung des Elektromotors zu erfassen und zu überwachen. Nimmt beispielsweise der erfasste Betriebsstrom unerwartet zu, so wird festgestellt, dass der Elektromotor beziehungsweise die Aktuatoreinrichtung blockiert ist und ein Seilriss vorliegen muss.
  • Bevorzugt ist daher die Sensoreinrichtung dazu ausgebildet, ein Blockieren der Antriebswelle als Fehlfunktion zu erfassen. Dadurch ist auf vorteilhafte Weise ein Seilriss erkennbar, wie obenstehend beschrieben
  • Die erfindungsgemäße Kühleinrichtung mit den Merkmalen des Anspruchs 10 zeichnet sich durch die erfindungsgemäße Ausbildung der Vorrichtung aus. Es ergeben sich hierdurch die bereits genannten Vorteile.
  • Weitere Vorteile und bevorzugte Merkmale und Merkmalskombinationen ergeben sich insbesondere aus dem zuvor Beschriebenen sowie aus den Ansprüchen. Im Folgenden soll die Erfindung anhand der Zeichnungen näher erläutert werden. Dazu zeigen
    • 1 eine Kühleinrichtung für ein Frontend des Kraftfahrzeugs in einer vereinfachten Seitenansicht,
    • 2 eine vorteilhafte Vorrichtung zum Freigeben, teilweise Freigeben und Verschließen einer Durchströmungsöffnung der Kühleinrichtung in einer Draufsicht,
    • 3 eine vergrößerte Teildarstellung der Vorrichtung in einer Draufsicht und
    • 4 eine vereinfachte Schnittdarstellung der Vorrichtung.
  • 1 zeigt in einer vereinfachten Seitendarstellung eine vorteilhafte Kühleinrichtung 1 für ein Kraftfahrzeug, die eine Lufteinlassöffnung 2 eines Frontends des hier nicht angedeuteten Kraftfahrzeugs 3 zugeordnet ist. Die Kühleinrichtung 1 erstreckt sich über die Lufteinlassöffnung 2, sodass Fahrtwind, der durch Pfeile 4 in 1 angedeutet ist, die Kühleinrichtung 1 durchströmt, bevor er beispielsweise in den Motorraum des Kraftfahrzeugs 3 gelangt.
  • Die Kühleinrichtung 1 weist gemäß dem vorliegenden Ausführungsbeispiel einen Wasserkühler 5 mit einer Vielzahl von mit Kühlwasser durchströmbaren Kühlwasserkanälen auf, einen Klimakondensator 6, der eine Vielzahl von Kühlmittelkanälen aufweist, durch welche ein Kühlmittel führbar ist, sowie eine Vorrichtung 7, die in Strömungsrichtung zwischen dem Wasserkühler 5 und dem Klimakondensator 6 angeordnet ist, und die dazu dient, den Luftstrom durch die Kühleinrichtung 1 zu beeinflussen. Optional weist die Kühleinrichtung 1 weiterhin einen ansteuerbaren Lüfter auf, der in Strömungsrichtung des Luftstroms durch die Kühleinrichtung bevorzugt hinter dem Klimakondensator 6 liegt und zumindest ein antreibbares Lüfterrad zum Erzeugen eines Luftstroms aufweist, für den Fall, dass Fahrtwind ausbleibt.
  • 2 zeigt eine Draufsicht auf die vorteilhaft ausgebildete Vorrichtung 7. Die Vorrichtung 7 weist einen Trägerrahmen 8 auf, der eine Durchströmungsöffnung 9, durch welche der Luftstrom zu dem Klimakondensator 6 führbar ist, aufweist. Der Trägerrahmen 8 trägt außerdem ein Rollo 10, das auf einer an einer Oberseite 11 des Trägerrahmens 8 drehbar gelagerte Antriebswelle 12 aufrollbar und von dieser derart abrollbar ist, dass sich das Rollo 10 im vollständig abgerollten Zustand entlang des Trägerrahmens 8 die Durchströmungsöffnung 9 überdeckend erstreckt, wie durch einen Pfeil 13 und gestrichelte Linien gezeigt. In diesem ersten Betriebszustand ist die Durchströmungsöffnung 9 somit durch das Rollo 10 verschlossen. Vorzugsweise ist das Rollo 10 an dem Trägerrahmen 8 geführt, sodass es sich stets entlang des Trägerrahmens 8 erstreckt und sich beispielsweise nicht aufgrund von Fahrtwind von dem Trägerrahmen 8 lösen kann. Die Führung wird dabei beispielsweise durch eine Schienenführung, insbesondere in Form von Führungsnuten 14 gewährleistet, die in den Längsseiten des Trägerrahmens 8 ausgebildet sind und, in welchen das Rollo 10 randseitig verschiebbar gelagert gehalten ist. Das Rollo 10 ist aus einem flexiblen, insbesondere biegeschlaffen Material gefertigt, beispielsweise aus einem Textilwerkstoff, sodass es die Durchströmungsöffnung 9 sicher und insbesondere dicht verschließen kann. Dabei liegen die Führungsnuten 14 stromaufwärts einer Gitterstützstruktur 27, sodass das Rollo 10 in die Durchströmungsöffnung 9 verschließenden Zustand durch den Fahrtwind gegen die Gitterstützstruktur 27 gedrückt wird. Durch die Gitterstützstruktur 27 ist gewährleistet, dass das Rollo 10 nicht durch die Durchströmungsöffnung 9 hindurch gedrückt wird und sicher in der gewünschten Position gehalten ist. Der Trägerrahmen 8 ist bevorzugt aus Kunststoff gefertigt, wobei zumindest einige der Streben der Gitterstützstruktur 27 ebenfalls aus Kunststoff gefertigt und einstückig mit dem Trägerrahmen 8 ausgebildet sind. Optional sind zumindest einige der Streben aus einem Metall, insbesondere aus Stahl gefertigt, um die Stabilität des Trägerrahmens 8 zu erhöhen.
  • Zum Betätigen des Rollos 10, also zum Verschieben des Rollos 10 von der in 2 gezeigten Offenstellung in die durch gestrichelte Linien gezeigte Schließstellung ist der Antriebswelle 12 ein Aktuator 15, der vorliegend einen Elektromotor aufweist, zugeordnet. Um sicherzustellen, dass das Rollo 10 stets gespannt ist und sich entsprechend der Drehung der Antriebswelle über die Durchströmungsöffnung 9 verschiebt, ist dem von der Antriebswelle 12 abgewandten freien Ende 16 des Rollos eine Seilzugeinrichtung 17 zugeordnet. Vorliegend ist jeder Längsseite des Trägerrahmens 8, parallel zu der jeweiligen Führungsnut 14 eine Seilzugeinrichtung 17 vorgesehen, wobei die Seilzugeinrichtungen 17 gleich aufgebaut sind, sodass Aufbau und Funktion dieser an dem in 3 gezeigten Ausführungsbeispiel erläutert werden sollen.
  • 3 zeigt in einer vergrößerten Detailansicht der Vorrichtung 7 die Seilzugeinrichtung 17 auf der in 2 rechts dargestellten Längsseite des Trägerrahmens 8. Die Seilzugeinrichtung 17 weist ein Zugseil 18 auf, das einendig an einer Seilwinde 19 befestigt ist und anderendig an dem freien Ende 16 des Rollos 10. An der von der Oberseite 11 abgewandten Unterseite 20 des Trägerrahmens 8 ist dazu eine drehbar gelagerte Umlenkrolle 21 angeordnet, um welche das Zugseil 18 herum geführt ist. Damit das Zugseil 18 stets auf Zug gespannt ist, ist der Umlenkrolle 21 außerdem eine Spannfeder 22 zugeordnet und die Umlenkrolle 21 ist verschiebbar gelagert. Die Federkraft der Vorspannfeder 22 drückt oder zieht die Umlenkrolle 21 derart in eine Richtung, dass das Zugseil 18 zwischen der Seilwinde 19 und dem Rollo 10 stets auf Zug gespannt ist.
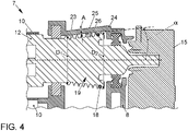
  • 4 zeigt in einer vergrößerten Schnittdarstellung die Vorrichtung 7 im Bereich der Seilwinde 19. Gemäß dem vorliegenden Ausführungsbeispiel ist die Seilwinde 19 einstückig mit der Antriebswelle 12 ausgebildet und zwischen dem das Rollo 10 aufnehmenden Abschnitt und dem mit dem Aktuator 15 verbundenen Abschnitt angeordnet. Auf der gegenüberliegenden Seite der Antriebswelle 12 ist die dort vorhandene Seilwinde 19 am freien Ende der Antriebswelle 12 angeordnet, da gemäß dem vorliegenden Ausführungsbeispiel auf dieser Seite kein weiterer Aktuator angeordnet ist.
  • Wie 4 entnehmbar ist, weist die Seilwinde 19 eine Kegelform auf. Dazu weist die Seilwinde 19 einen Durchmesser D auf, der an einem ersten Ende der Seilwinde 19 kleiner ist als an einem zweiten Ende der Seilwinde 19. Ein Anfangsdurchmesser D1 und eiim Vergleich dazu größerer Enddurchmesser D2 sind in 4 eingezeichnet. Die Seilwinde 19 weist an ihrem Außenumfang eine nutförmige Vertiefung 23 auf, die zur Aufnahme eines Seilabschnitts des Zugseils 18 ausgebildet ist. Dabei weist die Vertiefung 23 im vorliegenden Ausführungsbeispiel einen U-förmigen Querschnitt, also einen gekrümmten, insbesondere im Wesentlichen halbkreisförmigen Boden auf, dessen Radius an den Radius des Zugseils 18 zu dessen vorteilhaften Aufnahme angepasst ist. Die Vertiefung 23 erstreckt sich gewindeförmig entlang des Außenumfangs der Seilwinde mit einer vorgegebenen Steigung, sodass das Zugseil 18 entlang der Vertiefung auf der Seilwinde 19 aufrollbar ist.
  • Der Seilwinde 19 ist des Weiteren ein Gehäuse 24 zugeordnet, durch welches die Seilwinde zumindest abschnittsweise eingehaust ist. Das Gehäuse weise dabei einen Abschnitt 25 auf, der sich in Längserstreckung der Seilwinde 19 parallel zu der Seilwinde 19 erstreckt. Weil die Seilwinde 19 kegelförmig ausgebildet ist, erstreckt sich auch der Abschnitt 25 kegelförmig bezogen auf die Rotationsachse der Seilwinde 19. Dadurch ist gewährleistet, dass eine Innenseite 26 des Gehäuses 24 in dem Abschnitt 25 - in Längserstreckung der Seilwinde 19 gesehen - stets den gleichen radialen Abstand A zu dem Außenumfang der Seilwinde 19 aufweist. Der Radialabstand A ist dabei derart gewählt, dass er kleiner ist als der Durchmesser des Zugseils 18. Dadurch wird erreicht, dass das Zugseil 18 nicht zwischen der Seilwinde 19 und dem Gehäuse-Abschnitt 25 hindurchgezogen werden kann. Ein Aufrollen des Zugseils 18 ist somit nur in der Vertiefung 23 möglich.
  • Wenn im Betrieb der Vorrichtung 7 beziehungsweise der Kühleinrichtung 1 aufgrund einer Fehlfunktion das Zugseil 18 seine Zugspannung verliert, beispielsweise weil es gerissen ist, würde ein ungeordnetes Aufrollen auf der Seilwinde 19 die Folge sein. Weil jedoch der Abstand A wie zuvor beschrieben gewählt ist, würde durch ein ungeordnetes Aufrollen das Zugseil 18 zwischen dem Außenumfang der Seilwinde 19 und dem Gehäuse 25 verklemmen und dadurch ein Weiterdrehen der Antriebswelle 12 oder der Seilwinde 19 erschweren oder verhindern.
  • Die Steuerungselektronik für den Aktuator kann das Blockieren der Antriebswelle 12 mittels einer einfachen und insbesondere in den Elektromotor integrierten Sensoreinrichtung 28, beispielsweise durch das Erfassen einer plötzlich ansteigenden Betriebsspannung oder einer Drehzahl der Antriebswelle 12, erkennen.
  • Dadurch wird durch die vorteilhafte Ausbildung der Vorrichtung 7 erreicht, dass ein Fehlerzustand der Vorrichtung 7, insbesondere ein gerissenes oder beschädigtes Zugseil 18 einfach und sicher erkannt wird, ohne dass hierfür beispielsweise ein vollständiges Aufrollen und Abrollen des Rollos zur Wegerfassung notwendig ist.
  • Bezugszeichenliste
  • 1
    Kühleinrichtung
    2
    Lufteinlassöffnung
    3
    Kraftfahrzeug
    4
    Pfeil
    5
    Wasserkühler
    6
    Klimakondensator
    7
    Vorrichtung
    8
    Trägerrahmen
    9
    Durchströmungsöffnung
    10
    Rollo
    11
    Oberseite
    12
    Antriebswelle
    13
    Pfeil
    14
    Führungsnut
    15
    Aktuatoreinrichtung
    16
    Ende
    17
    Seilzugeinrichtung
    18
    Zugseil
    19
    Seilwinde
    20
    Unterseite
    21
    Umlenkrolle
    22
    Vorspannfeder
    23
    Vertiefung
    24
    Gehäuse
    25
    Abschnitt
    26
    Innenseite
    27
    Gitterstützstruktur
    28
    Sensoreinrichtung

Claims (10)

  1. Vorrichtung (7) zum Freigeben, teilweise Freigeben und Verschließen einer Durchströmungsöffnung (9), mit einem Trägerrahmen, der die Durchströmungsöffnung (9) aufweist, und mit zumindest einem verlagerbaren Bauteil, mit einer dem Bauteil zu dessen Verlagerung zugeordneten Aktuatoreinrichtung (15), die eine drehbar gelagerte Antriebswelle (12), eine auf der Antriebswelle (12) drehfest angeordnete Seilwinde (19) und ein an der Seilwinde (19) einendig befestigtes Zugseil (18) aufweist, das anderendig an dem Bauteil befestigt ist und durch zumindest eine Umlenkrolle (21) zu dem Bauteil geführt ist, dadurch gekennzeichnet, dass das Bauteil ein Rollo (10) ist, das einendig an der Antriebswelle (12) zum Auf- und Abrollen und anderendig an dem Zugseil (18) befestigt ist, wobei die Seilwinde (19) kegelförmig ausgebildet ist.
  2. Vorrichtung nach Anspruch 1, dadurch gekennzeichnet, dass ein Kegelwinkel (a) der Seilwinde (19) abhängig von einem Wickelradius und einer Wickelhöhe des Rollos (10) auf der Antriebswelle (12) derart gewählt ist, dass das Zugseil (18) stets gespannt, insbesondere zumindest im Wesentlichen stets gleich gespannt ist.
  3. Vorrichtung nach einem der vorhergehenden Ansprüche, dadurch gekennzeichnet, dass die Umlenkrolle (21) federvorgespannt beweglich gelagert ist, sodass sie als Spannrolle für das Zugseil (18) wirkt.
  4. Vorrichtung nach einem der vorhergehenden Ansprüche, dadurch gekennzeichnet, dass der Seilwinde (19) ein Gehäuse (24) zugeordnet ist, wobei das Gehäuse (24) zumindest einen Abschnitt (25) aufweist, der sich in Längserstreckung der Seilwinde (19) parallel zu der Seilwinde (19) entlang der Seilwinde (19) erstreckt.
  5. Vorrichtung nach einem der vorhergehenden Ansprüche, dadurch gekennzeichnet, dass die Seilwinde (19) eine nutförmige Vertiefung (23) zur Aufnahme eines Seilabschnitts des Zugseils (18) aufweist, die sich gewindeförmig entlang des Außenumfangs der Seilwinde (19) erstreckt, sodass das Zugseil (18) entlang der Vertiefung (23) auf der Seilwinde (19) aufrollbar ist.
  6. Vorrichtung nach dem vorhergehenden Anspruch 5, dadurch gekennzeichnet, dass ein radialer Abstand zwischen der Vertiefung (23) der Seilwinde (19) und dem Gehäuse (24) größer ist als ein Durchmesser des Zugseils (18) und ein Abstand (A) zwischen dem Außenumfang der Seilwinde (19) und dem Gehäuse (24) kleiner als der Durchmesser des Zugseils (18).
  7. Vorrichtung nach einem der vorhergehenden Ansprüche, dadurch gekennzeichnet, dass die Aktuatoreinrichtung (15) einen Elektromotor aufweist, der zum Antreiben der Antriebswelle (12) mit der Antriebswelle (12) gekoppelt ist.
  8. Vorrichtung nach einem der vorhergehenden Ansprüche, dadurch gekennzeichnet, dass der Aktuatoreinrichtung (15) zumindest eine Sensoreinrichtung (28) zum Überwachen der Aktuatoreinrichtung (15) und/oder des Rollos (10) auf das Auftreten einer Fehlfunktion zugeordnet ist.
  9. Vorrichtung nach dem vorhergehenden Anspruch 8, dadurch gekennzeichnet, dass die Sensoreinrichtung (28) dazu ausgebildet ist, ein Blockieren der Antriebswelle (12) als Fehlfunktion zu erfassen.
  10. Kühleinrichtung (1) für ein Frontend eines Kraftfahrzeugs, mit zumindest einem Wärmetauscher, der eine Vielzahl von luftumströmbaren Kühlmittelkanälen aufweist, und mit einer dem Wärmetauscher vorgeschalteten Vorrichtung (7) zum Freigeben und Verschließen einer Durchströmungsöffnung (9) zu dem Wärmetauscher, die einen Trägerrahmen (8) mit der Durchströmungsöffnung (9) und zumindest ein an dem Trägerrahmen (8) beweglich gelagertes Bauteil zum Freigeben, teilweise Freigeben und Verschließen der Durchströmungsöffnung (9) aufweist, dadurch gekennzeichnet, dass die Vorrichtung (7) gemäß einem der Ansprüche 1 bis 9 ausgebildet ist.
DE102019212552.2A 2019-08-22 2019-08-22 Vorrichtung zum Freigeben, teilweise Freigeben und Verschließen einer Durchströmungsöffnung, Kühleinrichtung Active DE102019212552B4 (de)

Priority Applications (1)

Application Number Priority Date Filing Date Title
DE102019212552.2A DE102019212552B4 (de) 2019-08-22 2019-08-22 Vorrichtung zum Freigeben, teilweise Freigeben und Verschließen einer Durchströmungsöffnung, Kühleinrichtung

Applications Claiming Priority (1)

Application Number Priority Date Filing Date Title
DE102019212552.2A DE102019212552B4 (de) 2019-08-22 2019-08-22 Vorrichtung zum Freigeben, teilweise Freigeben und Verschließen einer Durchströmungsöffnung, Kühleinrichtung

Publications (2)

Publication Number Publication Date
DE102019212552A1 DE102019212552A1 (de) 2021-02-25
DE102019212552B4 true DE102019212552B4 (de) 2022-08-11

Family

ID=74495348

Family Applications (1)

Application Number Title Priority Date Filing Date
DE102019212552.2A Active DE102019212552B4 (de) 2019-08-22 2019-08-22 Vorrichtung zum Freigeben, teilweise Freigeben und Verschließen einer Durchströmungsöffnung, Kühleinrichtung

Country Status (1)

Country Link
DE (1) DE102019212552B4 (de)

Families Citing this family (1)

* Cited by examiner, † Cited by third party
Publication number Priority date Publication date Assignee Title
DE102020107958B4 (de) * 2020-03-23 2026-03-12 Hbpo Gmbh Vorrichtung zum Regulieren einer Luftströmung

Citations (2)

* Cited by examiner, † Cited by third party
Publication number Priority date Publication date Assignee Title
EP3144182A1 (de) 2015-08-20 2017-03-22 SMP Deutschland GmbH Verkleidungsbauteil für ein fahrzeug
DE102016118555A1 (de) 2016-09-29 2018-03-29 Borgwarner Ludwigsburg Gmbh Linearaktuator zur Erzeugung einer Verstellbewegung in einem Kraftfahrzeug

Patent Citations (2)

* Cited by examiner, † Cited by third party
Publication number Priority date Publication date Assignee Title
EP3144182A1 (de) 2015-08-20 2017-03-22 SMP Deutschland GmbH Verkleidungsbauteil für ein fahrzeug
DE102016118555A1 (de) 2016-09-29 2018-03-29 Borgwarner Ludwigsburg Gmbh Linearaktuator zur Erzeugung einer Verstellbewegung in einem Kraftfahrzeug

Also Published As

Publication number Publication date
DE102019212552A1 (de) 2021-02-25

Similar Documents

Publication Publication Date Title
DE19618853C1 (de) Motorisch angetriebener Fensterheber mit elektronischem Einklemmschutz für ein Kraftfahrzeug
DE102017211577A1 (de) Kfz-Kühlmittel-Wärmetauscher mit wickelbarer Abdeckung mit veränderlicher Wicklungsgeschwindigkeit und daran angepasstem Zugmittel
EP4294701B1 (de) Lenksäule für ein kraftfahrzeug
WO2019063702A1 (de) Rollosystem für ein fahrzeugdach
EP2683453B1 (de) Antriebseinheit für mindestens ein zugmittel
DE10245458A1 (de) Betätigungseinrichtung
DE102009041699B3 (de) Vorhanganordnung für eine architektonische Öffnung
DE102016220532A1 (de) Lenksäule mit Energieabsorptionsvorrichtung für ein Kraftfahrzeug
DE102019212552B4 (de) Vorrichtung zum Freigeben, teilweise Freigeben und Verschließen einer Durchströmungsöffnung, Kühleinrichtung
EP4063312A1 (de) Auswerfer für eine forstseilwinde
DE3907888C2 (de) Fahrzeug-Sicherheitsgurt-Aufroller mit Spannvorrichtung
DE102005036318A1 (de) Fensterrollo mit glatten Schubgliedern
DE102019117120B4 (de) Vorrichtung zum Regulieren einer Luftströmung
EP2029382A1 (de) Fahrzeugdach mit windabweiser
DE102006035632B4 (de) Rolloanordnung für ein Fahrzeugdach
EP3010613B1 (de) Doppelmotor-antriebseinheit für zugmittel
EP1475282A1 (de) Sicherheitseinrichtung und Verfahren zur Gurtkraftbegrenzung mit einer solchen Einrichtung
EP1736628B1 (de) Führung für eine Schiebetüre
EP4074648A1 (de) Auswerfer für eine forstseilwinde
DE29901034U1 (de) Vorrichtung für eine Rolltorwelle
DE60212029T2 (de) Fensterheber mit Blockierung des Mitnehmers und Montageverfahren
DE3600416A1 (de) Passiv-sicherheitsgurt mit einer antriebsvorrichtung zur bewegung eines endbeschlages
DE102009017654B4 (de) Fensterrollo, Verfahren zum Einbau eines Fensterrollos und Verfahren zum Herstellen eines Fensterrollos
DE2661110C3 (de) Gurtaufroller für Fahrzeugsicherheitsgurte
DE102023122677A1 (de) Baugruppe für einen Sicherheitsgurtaufroller

Legal Events

Date Code Title Description
R163 Identified publications notified
R012 Request for examination validly filed
R018 Grant decision by examination section/examining division
R020 Patent grant now final