DE102017102403A1 - Bauteile von Hydraulikventilen - Google Patents

Bauteile von Hydraulikventilen Download PDF

Info

Publication number
DE102017102403A1
DE102017102403A1 DE102017102403.4A DE102017102403A DE102017102403A1 DE 102017102403 A1 DE102017102403 A1 DE 102017102403A1 DE 102017102403 A DE102017102403 A DE 102017102403A DE 102017102403 A1 DE102017102403 A1 DE 102017102403A1
Authority
DE
Germany
Prior art keywords
components
parts
hydraulic valves
control
valves
Prior art date
Legal status (The legal status is an assumption and is not a legal conclusion. Google has not performed a legal analysis and makes no representation as to the accuracy of the status listed.)
Withdrawn
Application number
DE102017102403.4A
Other languages
English (en)
Inventor
Jürgen Schulz
Current Assignee (The listed assignees may be inaccurate. Google has not performed a legal analysis and makes no representation or warranty as to the accuracy of the list.)
Schaeffler Technologies AG and Co KG
Original Assignee
Schaeffler Technologies AG and Co KG
Priority date (The priority date is an assumption and is not a legal conclusion. Google has not performed a legal analysis and makes no representation as to the accuracy of the date listed.)
Filing date
Publication date
Application filed by Schaeffler Technologies AG and Co KG filed Critical Schaeffler Technologies AG and Co KG
Priority to DE102017102403.4A priority Critical patent/DE102017102403A1/de
Publication of DE102017102403A1 publication Critical patent/DE102017102403A1/de
Withdrawn legal-status Critical Current

Links

Images

Classifications

    • FMECHANICAL ENGINEERING; LIGHTING; HEATING; WEAPONS; BLASTING
    • F16ENGINEERING ELEMENTS AND UNITS; GENERAL MEASURES FOR PRODUCING AND MAINTAINING EFFECTIVE FUNCTIONING OF MACHINES OR INSTALLATIONS; THERMAL INSULATION IN GENERAL
    • F16KVALVES; TAPS; COCKS; ACTUATING-FLOATS; DEVICES FOR VENTING OR AERATING
    • F16K11/00Multiple-way valves, e.g. mixing valves; Pipe fittings incorporating such valves
    • F16K11/02Multiple-way valves, e.g. mixing valves; Pipe fittings incorporating such valves with all movable sealing faces moving as one unit
    • F16K11/06Multiple-way valves, e.g. mixing valves; Pipe fittings incorporating such valves with all movable sealing faces moving as one unit comprising only sliding valves, i.e. sliding closure elements
    • F16K11/065Multiple-way valves, e.g. mixing valves; Pipe fittings incorporating such valves with all movable sealing faces moving as one unit comprising only sliding valves, i.e. sliding closure elements with linearly sliding closure members
    • F16K11/07Multiple-way valves, e.g. mixing valves; Pipe fittings incorporating such valves with all movable sealing faces moving as one unit comprising only sliding valves, i.e. sliding closure elements with linearly sliding closure members with cylindrical slides

Landscapes

  • Engineering & Computer Science (AREA)
  • General Engineering & Computer Science (AREA)
  • Mechanical Engineering (AREA)
  • Sealing Devices (AREA)

Abstract

Vorgeschlagen sind Bauteile von Hydraulikventilen, insbesondere Bauteile von Steuerventilen, wie Kolben, Steuerhülsen, Stützelemente und dergleichen, wobei die Bauteile als Hybridteile hergestellt sind, deren Grundkörper kostengünstige und/oder unbearbeitete Werkstoffteile aufweisen, die mit Präzisionsteilen in Wirkverbindung stehen.

Description

  • Die Erfindung bezieht sich Bauteile von Hydraulikventilen, insbesondere auf Bauteile von Steuerventilen, wie Kolben, Steuerhülsen, Stützelemente und dergleichen.
  • Üblicherweise werden Bauteile von Hydraulikventilen, insbesondere Steuerventile, als Präzisionsteile aus einem Werkstoff, vorzugsweise Stahl, ausgeführt. Danach erfolgt eine mechanische Bearbeitung, anschließend eine Wärmebehandlung und abschließend ein Schleifen der Komponenten. Dies führt zu präzisen Bauteilen, die allerdings teuer in der Herstellung sind.
  • Es ist bekannt, DE 10 2014 212 991 A1 , einen Steuerkolben aus einem Kunststoffwerkstoff herzustellen, der an seiner dem externen Aktor zugeordneten Stirnfläche eine metallische Kappe aufweist. Diese dient dazu, den Verschleiß zu verringern, der zwischen dem sich drehenden Steuerkolben und dem feststehenden Aktor entsteht. Dieser Vorschlag greift allerdings nicht in die zusätzlichen Bauteile von Steuerventilen ein, da die Steuerkanten des Steuerkolbens ebenfalls aus Kunststoff hergestellt sind.
  • Aufgabe der Erfindung ist es, Bauteile von Hydraulikventilen, insbesondere von Steuerventilen, die vollständig als Präzisionsteile hergestellt werden, zu verbilligen und darüber hinaus eine Kostenvergünstigung der Bauteile bei Beibehaltung der verschleißsichernden Präzisionsteile zu gewährleisten.
  • Erfindungsgemäß wird die Aufgabe dadurch gelöst, dass die Bauteile als Hybridteile hergestellt sind, deren Grundkörper kostengünstige und/oder unbearbeitete Werkstoffteile aufweisen, die mit Präzisionsteilen in Wirkverbindung stehen. Bei einem Steuerkolben, dessen Grundkörper aus Kunststoff hergestellt ist und dessen Deckel aus einem metallischen Werkstoff besteht, sollen auch die Dichtelemente und Befestigungselemente als Präzisionsteile aus Metall, vorzugsweise aus Stahl, hergestellt sein.
  • Die Erfindung ist in der Zeichnung beschrieben:
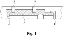
    • 1 zeigt einen hälftigen Längsschnitt durch einen Steuerkolben.
  • In 1 ist mit 1 ein Grundkörper eines Steuerkolbens bezeichnet, der aus Kunststoff hergestellt ist. Das einem nicht dargestellten Aktor zugewandte Ende des Grundkörpers 1 ist mit einem Deckel 2 versehen, der aus Metall hergestellt ist. Am Außenumfang des Grundkörpers sind Nuten eingearbeitet, in denen Dichtelemente 3 eingesetzt sind, die aus Metall, vorzugsweise aus Stahl, hergestellt sind, wobei der Außenmantel der Dichtelemente 3 als Präzisionsteil hergestellt ist. An dem dem Deckel 2 abgewandten Ende des Grundkörpers 1 ist eine Innennut eingearbeitet, in die ein Federring 4 eingesetzt ist, der aus Festigkeitsgründen ebenfalls aus Metall hergestellt ist.
  • Bezugszeichenliste
  • 1)
    Grundkörper
    2)
    Deckel
    3)
    Dichtelemente
    4)
    Federring
  • ZITATE ENTHALTEN IN DER BESCHREIBUNG
  • Diese Liste der vom Anmelder aufgeführten Dokumente wurde automatisiert erzeugt und ist ausschließlich zur besseren Information des Lesers aufgenommen. Die Liste ist nicht Bestandteil der deutschen Patent- bzw. Gebrauchsmusteranmeldung. Das DPMA übernimmt keinerlei Haftung für etwaige Fehler oder Auslassungen.
  • Zitierte Patentliteratur
    • DE 102014212991 A1 [0003]

Claims (2)

  1. Bauteile von Hydraulikventilen, insbesondere Bauteile von Steuerventilen, wie Kolben, Steuerhülsen, Stützelemente und dergleichen, dadurch gekennzeichnet, dass die Bauteile als Hybridteile hergestellt sind, deren Grundkörper kostengünstige und/oder unbearbeitete Werkstoffteile aufweisen, die mit Präzisionsteilen in Wirkverbindung stehen.
  2. Bauteile von Hydraulikventilen nach Anspruch 1, die als Steuerkolben ausgebildet sind, dessen Grundkörper (1) aus Kunststoff hergestellt ist und dessen Deckel (2) aus einem metallischen Werkstoff besteht, dadurch gekennzeichnet, dass die Dichtelemente (3) und Befestigungselemente (Federring 4) als Präzisionsteile aus Metall, vorzugsweise aus Stahl, hergestellt sind.
DE102017102403.4A 2017-02-08 2017-02-08 Bauteile von Hydraulikventilen Withdrawn DE102017102403A1 (de)

Priority Applications (1)

Application Number Priority Date Filing Date Title
DE102017102403.4A DE102017102403A1 (de) 2017-02-08 2017-02-08 Bauteile von Hydraulikventilen

Applications Claiming Priority (1)

Application Number Priority Date Filing Date Title
DE102017102403.4A DE102017102403A1 (de) 2017-02-08 2017-02-08 Bauteile von Hydraulikventilen

Publications (1)

Publication Number Publication Date
DE102017102403A1 true DE102017102403A1 (de) 2018-08-09

Family

ID=62909819

Family Applications (1)

Application Number Title Priority Date Filing Date
DE102017102403.4A Withdrawn DE102017102403A1 (de) 2017-02-08 2017-02-08 Bauteile von Hydraulikventilen

Country Status (1)

Country Link
DE (1) DE102017102403A1 (de)

Cited By (1)

* Cited by examiner, † Cited by third party
Publication number Priority date Publication date Assignee Title
DE102020124268A1 (de) 2020-09-17 2022-03-17 ECO Holding 1 GmbH Kolben eines Hydraulikventils und Hydraulikventil

Citations (1)

* Cited by examiner, † Cited by third party
Publication number Priority date Publication date Assignee Title
DE102014212991A1 (de) 2014-07-04 2016-01-07 Schaeffler Technologies AG & Co. KG Steuerventilkolben aus Kunststoff

Patent Citations (1)

* Cited by examiner, † Cited by third party
Publication number Priority date Publication date Assignee Title
DE102014212991A1 (de) 2014-07-04 2016-01-07 Schaeffler Technologies AG & Co. KG Steuerventilkolben aus Kunststoff

Cited By (1)

* Cited by examiner, † Cited by third party
Publication number Priority date Publication date Assignee Title
DE102020124268A1 (de) 2020-09-17 2022-03-17 ECO Holding 1 GmbH Kolben eines Hydraulikventils und Hydraulikventil

Similar Documents

Publication Publication Date Title
EP1766259B1 (de) Scheibenbremse für fahrzeuge mit einer zuspanneinrichtung mit einem nadellager
EP2831441B1 (de) Nehmerzylinder
DE102013214370A1 (de) Nehmerzylinder für eine hydraulische Ausrückanordnung zur Betätigung einer Kupplung
DE102013218286A1 (de) Käfig für ein Wälzlager und zugehöriges Wälzlager
DE102017121942A1 (de) Kugelgewindetrieb
DE102014019112A1 (de) Scheibenbremse für ein Nutzfahrzeug
DE102017102403A1 (de) Bauteile von Hydraulikventilen
DE102016222771A1 (de) Kugelgewindetrieb
DE102011076091A1 (de) Gelenklager zur Aufnahme von Radial- und Axialkräften
DE102012018706B3 (de) Verfahren zur Herstellung eines Kolbenrings
DE102013221845A1 (de) Kolben-Zylinder-Einheit
DE102013008495A1 (de) Baugruppe, insbesondere Getriebebaugruppe, mit einem Außenteil und einem darin angeordneten Innenteil, die relativ zueinander drehbar sind
DE102013205301A1 (de) Nehmerzylinder und Verfahren zu dessen Herstellung
DE102010027169A1 (de) Aggregatelager
DE102012207520A1 (de) Nockenfolger für den Ventiltrieb einer Brennkraftmaschine
DE102010033483A1 (de) Kolbenmaschine mit wenigstens einem Kunststoffkolben
DE102016204184A1 (de) Ausrücklager in Form eines Schrägschulter-Kugellagers
EP3234401A1 (de) Scheibenbremse für ein nutzfahrzeug
DE102015201663A1 (de) Kupplungsausrücklager
DE102013114899B4 (de) Scheibenbremse für ein Nutzfahrzeug
DE102007025644B4 (de) Lageranordnung
DE102009034402A1 (de) Hydraulikzylinder
DE102018220122A1 (de) Dämpferkolben für einen Kraftfahrzeugschwingungsdämpfer
DE102011075673A1 (de) Kolben
DE758652C (de) Mehrteilige Abdichtung fuer Achslager, insbesondere von Schienenfahrzeugen

Legal Events

Date Code Title Description
R119 Application deemed withdrawn, or ip right lapsed, due to non-payment of renewal fee