CN218008737U - 一种信息咨询用咨询台 - Google Patents

一种信息咨询用咨询台 Download PDF

Info

Publication number
CN218008737U
CN218008737U CN202222157200.0U CN202222157200U CN218008737U CN 218008737 U CN218008737 U CN 218008737U CN 202222157200 U CN202222157200 U CN 202222157200U CN 218008737 U CN218008737 U CN 218008737U
Authority
CN
China
Prior art keywords
fixedly connected
counseling
bevel gear
information
wall
Prior art date
Legal status (The legal status is an assumption and is not a legal conclusion. Google has not performed a legal analysis and makes no representation as to the accuracy of the status listed.)
Expired - Fee Related
Application number
CN202222157200.0U
Other languages
English (en)
Inventor
陶立新
Current Assignee (The listed assignees may be inaccurate. Google has not performed a legal analysis and makes no representation or warranty as to the accuracy of the list.)
Taizhou Junpeng Internet Technology Co ltd
Original Assignee
Taizhou Xinkai Information Consulting Co ltd
Priority date (The priority date is an assumption and is not a legal conclusion. Google has not performed a legal analysis and makes no representation as to the accuracy of the date listed.)
Filing date
Publication date
Application filed by Taizhou Xinkai Information Consulting Co ltd filed Critical Taizhou Xinkai Information Consulting Co ltd
Priority to CN202222157200.0U priority Critical patent/CN218008737U/zh
Application granted granted Critical
Publication of CN218008737U publication Critical patent/CN218008737U/zh
Expired - Fee Related legal-status Critical Current
Anticipated expiration legal-status Critical

Links

Images

Landscapes

  • Special Chairs (AREA)

Abstract

本实用新型涉及咨询台技术领域,公开了一种信息咨询用咨询台,包括咨询台本体,所述咨询台本体内壁设置有腔体,所述腔体左端内壁的后侧固定连接有驱动电机,所述腔体驱动端固定连接有驱动轴,所述驱动轴前端固定连接有第一锥齿轮,所述第一锥齿轮前端右侧啮合连接有第二锥齿轮,所述第二锥齿轮通孔处固定连接有螺杆,所述螺杆外径螺纹连接有滑块,所述滑块顶端固定连接有电动推杆。本实用新型中,通过驱动电机、螺杆和电动推杆等结构,实现了显示屏左右移动的同时,还可以调节显示屏的方向角度,进一步实现了显示屏在咨询台本体上可以灵活来供咨询人观看,从而便于咨询人更加深入地了解信息,提高了咨询台本体实用性。

Description

一种信息咨询用咨询台
技术领域
本实用新型涉及咨询台技术领域,尤其涉及一种信息咨询用咨询台。
背景技术
咨询是通过某些人头脑中所储备的知识经验和通过对各种信息资料的综合加工而进行的综合性研究开发,而信息咨询,指的是工作人员针对咨询者进行相关信息的答复,咨询台就是工作人员在自身的岗位处针对相关信息给予咨询者相应的答复。
咨询台,在现有技术中,咨询台的凳子一般都是不装配的,当工作人员提供咨询者相关信息的时间过长时,且咨询者长时间站立接受信息,从而导致其体验过差,电脑显示屏在咨询台上无法灵活来供咨询人观看,从而不便于咨询人更加深入地了解信息,咨询台的实用性大大降低。
实用新型内容
本实用新型的目的是为了解决现有技术中存在的缺点,而提出的一种信息咨询用咨询台。
为了实现上述目的,本实用新型采用了如下技术方案:一种信息咨询用咨询台,包括咨询台本体,所述咨询台本体内壁设置有腔体,所述腔体左端内壁的后侧固定连接有驱动电机,所述腔体驱动端固定连接有驱动轴,所述驱动轴前端固定连接有第一锥齿轮,所述第一锥齿轮前端右侧啮合连接有第二锥齿轮,所述第二锥齿轮通孔处固定连接有螺杆,所述螺杆外径螺纹连接有滑块,所述滑块顶端固定连接有电动推杆,所述电动推杆顶端转动连接有显示屏,所述显示屏底端的前后两侧均滑动连接在腔体的两端内壁上。
作为上述技术方案的进一步描述:
所述咨询台本体前端左右两侧分别设置有两个第二滑槽,所述第二滑槽内壁均滑动连接有滑动板,所述滑动板后端内壁均固定连接有拉簧,所述拉簧远离滑板的一端均固定连接有滑板,所述滑板前端均固定连接有圆椅,所述圆椅后端左右两侧分别转动连接有限位杆。
作为上述技术方案的进一步描述:
所述螺杆左端转动连接在腔体左端内壁的前侧。
作为上述技术方案的进一步描述:
所述螺杆右端转动连接在第一滑槽的右端内壁。
作为上述技术方案的进一步描述:
所述滑块底端滑动连接在第一滑槽的底端内壁上。
作为上述技术方案的进一步描述:
所述咨询台本体前端左右两侧相对于第二滑槽的两端分别设置有两个限位槽,所述限位槽内壁滑动连接有限位杆。
作为上述技术方案的进一步描述:
所述腔体顶端前侧滑动连接有挡板。
作为上述技术方案的进一步描述:
所述圆椅底端均固定连接有拉杆。
本实用新型具有如下有益效果:
1、本实用新型中,通过驱动电机带动驱动轴,且通过驱动轴带动第一锥齿轮,且第一锥齿轮带动第二锥齿轮,且第二锥齿轮带动螺杆转动,使得螺杆带动滑块在其外径处左右滑动,通过电动推杆带动显示屏向上移动,且滑块带动显示屏左右移动,因电动推杆与显示屏连接关系为转动,从而可以使得显示屏左右移动的同时,还可以调节显示屏的方向角度,实现了显示屏在咨询台本体上可以灵活来供咨询人观看,从而便于咨询人更加深入地了解信息,提高了咨询台本体实用性。
2、本实用新型中,通过拉杆向外拉,通过拉杆带动圆椅,且圆椅带动滑板和限位杆,且滑板带动拉簧,且拉簧带动滑动板,然后将滑动板两边撑开,且松开拉杆使得滑动板卡合在限位槽内,间接地使得圆椅移动出来,从而可以提供了咨询者休息的空间,同时给予了工作人员更好地叙述相关信息的效果。
附图说明
图1为本实用新型提出的一种信息咨询用咨询台的立体图;
图2为本实用新型提出的一种信息咨询用咨询台中腔体的内部结构示意图;
图3为本实用新型提出的一种信息咨询用咨询台的俯视图;
图4为本实用新型提出的一种信息咨询用咨询台中咨询台本体的正视图;
图5为本实用新型提出的一种信息咨询用咨询台中滑动板的剖面图。
图例说明:
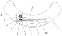
1、咨询台本体;2、腔体;3、驱动电机;4、驱动轴;5、第一锥齿轮;6、螺杆;7、第二锥齿轮;8、第一滑槽;9、滑块;10、电动推杆;11、显示屏;12、挡板;13、滑动板;14、滑板;15、圆椅;16、拉杆;17、限位杆;18、限位槽;19、第二滑槽;20、拉簧。
具体实施方式
下面将结合本实用新型实施例中的附图,对本实用新型实施例中的技术方案进行清楚、完整地描述,显然,所描述的实施例仅仅是本实用新型一部分实施例,而不是全部的实施例。基于本实用新型中的实施例,本领域普通技术人员在没有做出创造性劳动前提下所获得的所有其他实施例,都属于本实用新型保护的范围。
在本实用新型的描述中,需要说明的是,术语“中心”、“上”、“下”、“左”、“右”、“竖直”、“水平”、“内”、“外”等指示的方位或位置关系为基于附图所示的方位或位置关系,仅是为了便于描述本实用新型和简化描述,而不是指示或暗示所指的装置或元件必须具有特定的方位、以特定的方位构造和操作,因此不能理解为对本实用新型的限制;术语“第一”、“第二”、“第三”仅用于描述目的,而不能理解为指示或暗示相对重要性,此外,除非另有明确的规定和限定,术语“安装”、“相连”、“连接”应做广义理解,例如,可以是固定连接,也可以是可拆卸连接,或一体地连接;可以是机械连接,也可以是电连接;可以是直接相连,也可以通过中间媒介间接相连,可以是两个元件内部的连通。对于本领域的普通技术人员而言,可以具体情况理解上述术语在本实用新型中的具体含义。
参照图1-5,本实用新型提供的一种实施例:一种信息咨询用咨询台,包括咨询台本体1,咨询台本体1内壁设置有腔体2,腔体2左端内壁的后侧固定连接有驱动电机3,腔体2驱动端固定连接有驱动轴4,驱动轴4前端固定连接有第一锥齿轮5,第一锥齿轮5前端右侧啮合连接有第二锥齿轮7,第二锥齿轮7通孔处固定连接有螺杆6,螺杆6外径螺纹连接有滑块9,滑块9顶端固定连接有电动推杆10,电动推杆10顶端转动连接有显示屏11,显示屏11底端的前后两侧均滑动连接在腔体2的两端内壁上,通过驱动电机3带动驱动轴4,且通过驱动轴4带动第一锥齿轮5,且第一锥齿轮5带动第二锥齿轮7,且第二锥齿轮7带动螺杆6转动,使得螺杆6带动滑块9在其外径处左右滑动,通过电动推杆10带动显示屏11向上移动,且滑块9带动显示屏11左右移动,因电动推杆10与显示屏11连接关系为转动,从而可以使得显示屏11左右移动的同时,还可以调节显示屏11的方向角度,实现了显示屏11在咨询台本体1上可以灵活来供咨询人观看,从而便于咨询人更加深入地了解信息,提高了咨询台本体1实用性。
另外,咨询台本体1前端左右两侧分别设置有两个第二滑槽19,第二滑槽19内壁均滑动连接有滑动板13,滑动板13后端内壁均固定连接有拉簧20,拉簧20远离滑板14的一端均固定连接有滑板14,滑板14前端均固定连接有圆椅15,圆椅15后端左右两侧分别转动连接有限位杆17,且圆椅15带动滑板14和限位杆17,且滑板14带动拉簧20,且拉簧20带动滑动板13,然后将滑动板13两边撑开,且松开拉杆16使得滑动板13卡合在限位槽18内,间接地使得圆椅15移动出来,从而可以提供了咨询者休息的空间,同时给予了工作人员更好地叙述相关信息的效果。
此外,螺杆6左端转动连接在腔体2左端内壁的前侧,且螺杆6右端转动连接在第一滑槽8的右端内壁,滑块9底端滑动连接在第一滑槽8的底端内壁上,通过螺杆6分别转动连接在两者的内壁的一端,从而使得螺杆6转动,带动滑块9左右移动,咨询台本体1前端左右两侧相对于第二滑槽19的两端分别设置有两个限位槽18,限位槽18内壁滑动连接有限位杆17,通过限位杆17卡合在限位槽18内,间接地使得圆椅15可以移动到咨询台本体1的外侧,从而供人们坐下听工作人员讲述相关信息,腔体2顶端前侧滑动连接有挡板12,当电动推杆10将显示屏11收入腔体2内部后,通过推杆带动挡板12向后移动,并卡入相应的卡槽内,从而起到了收纳显示屏11的效果,圆椅15底端均固定连接有拉杆16,通过拉杆16带动圆椅15,然后通过圆椅15带动整体结构,进而使得圆椅15移动出来,提供了咨询者相对休息的空间。
工作原理:通过驱动电机3带动驱动轴4,且通过驱动轴4带动第一锥齿轮5,且第一锥齿轮5带动第二锥齿轮7,且第二锥齿轮7带动螺杆6转动,使得螺杆6带动滑块9在其外径处左右滑动,通过电动推杆10带动显示屏11向上移动,且滑块9带动显示屏11左右移动,因电动推杆10与显示屏11连接关系为转动,从而可以使得显示屏11左右移动的同时,还可以调节显示屏11的方向角度,当电动推杆10将显示屏11收入腔体2内部后,通过推杆带动挡板12向后移动,并卡入相应的卡槽内,从而起到了收纳显示屏11的目的,而且通过拉杆16向外拉,通过拉杆16带动圆椅15,且圆椅15带动滑板14和限位杆17,且滑板14带动拉簧20,且拉簧20带动滑动板13,然后将滑动板13两边撑开,且松开拉杆16使得滑动板13卡合在限位槽18内,间接地使得圆椅15移动出来,从而可以提供了咨询者休息的空间。
最后应说明的是:以上所述仅为本实用新型的优选实施例而已,并不用于限制本实用新型,尽管参照前述实施例对本实用新型进行了详细的说明,对于本领域的技术人员来说,其依然可以对前述各实施例所记载的技术方案进行修改,或者对其中部分技术特征进行等同替换,凡在本实用新型的精神和原则之内,所作的任何修改、等同替换、改进等,均应包含在本实用新型的保护范围之内。

Claims (8)

1.一种信息咨询用咨询台,包括咨询台本体(1),其特征在于:所述咨询台本体(1)内壁设置有腔体(2),所述腔体(2)左端内壁的后侧固定连接有驱动电机(3),所述腔体(2)驱动端固定连接有驱动轴(4),所述驱动轴(4)前端固定连接有第一锥齿轮(5),所述第一锥齿轮(5)前端右侧啮合连接有第二锥齿轮(7),所述第二锥齿轮(7)通孔处固定连接有螺杆(6),所述螺杆(6)外径螺纹连接有滑块(9),所述滑块(9)顶端固定连接有电动推杆(10),所述电动推杆(10)顶端转动连接有显示屏(11),所述显示屏(11)底端的前后两侧均滑动连接在腔体(2)的两端内壁上。
2.根据权利要求1所述的一种信息咨询用咨询台,其特征在于:所述咨询台本体(1)前端左右两侧分别设置有两个第二滑槽(19),所述第二滑槽(19)内壁均滑动连接有滑动板(13),所述滑动板(13)后端内壁均固定连接有拉簧(20),所述拉簧(20)远离滑板(14)的一端均固定连接有滑板(14),所述滑板(14)前端均固定连接有圆椅(15),所述圆椅(15)后端左右两侧分别转动连接有限位杆(17)。
3.根据权利要求1所述的一种信息咨询用咨询台,其特征在于:所述螺杆(6)左端转动连接在腔体(2)左端内壁的前侧。
4.根据权利要求1所述的一种信息咨询用咨询台,其特征在于:所述螺杆(6)右端转动连接在第一滑槽(8)的右端内壁。
5.根据权利要求1所述的一种信息咨询用咨询台,其特征在于:所述滑块(9)底端滑动连接在第一滑槽(8)的底端内壁上。
6.根据权利要求1所述的一种信息咨询用咨询台,其特征在于:所述咨询台本体(1)前端左右两侧相对于第二滑槽(19)的两端分别设置有两个限位槽(18),所述限位槽(18)内壁滑动连接有限位杆(17)。
7.根据权利要求1所述的一种信息咨询用咨询台,其特征在于:所述腔体(2)顶端前侧滑动连接有挡板(12)。
8.根据权利要求2所述的一种信息咨询用咨询台,其特征在于:所述圆椅(15)底端均固定连接有拉杆(16)。
CN202222157200.0U 2022-08-17 2022-08-17 一种信息咨询用咨询台 Expired - Fee Related CN218008737U (zh)

Priority Applications (1)

Application Number Priority Date Filing Date Title
CN202222157200.0U CN218008737U (zh) 2022-08-17 2022-08-17 一种信息咨询用咨询台

Applications Claiming Priority (1)

Application Number Priority Date Filing Date Title
CN202222157200.0U CN218008737U (zh) 2022-08-17 2022-08-17 一种信息咨询用咨询台

Publications (1)

Publication Number Publication Date
CN218008737U true CN218008737U (zh) 2022-12-13

Family

ID=84346687

Family Applications (1)

Application Number Title Priority Date Filing Date
CN202222157200.0U Expired - Fee Related CN218008737U (zh) 2022-08-17 2022-08-17 一种信息咨询用咨询台

Country Status (1)

Country Link
CN (1) CN218008737U (zh)

Similar Documents

Publication Publication Date Title
CN218008737U (zh) 一种信息咨询用咨询台
CN213405289U (zh) 一种具备vr功能的英语教学设备
CN112419841A (zh) 一种经济管理模拟教学用分析装置
CN213649603U (zh) 用于多功能餐车的储物装置
CN214587373U (zh) 一种适用性强的会计教学数据分析装置
CN215258823U (zh) Vdr技术状态检测仪
CN212161026U (zh) 一种音乐教学使用的展示装置
CN211021875U (zh) 一种市场营销教学展柜
CN209492318U (zh) 一种线性代数教学用行列式辅助书写设备
CN214541247U (zh) 一种中职数学立体模型教学展示装置
CN213920511U (zh) 一种美术教育用工具箱
CN217194570U (zh) 一种家具铰链生产用打磨装置
CN213788552U (zh) 一种方便诊疗的诊疗台
CN215526240U (zh) 一种影像科诊断移动式阅片装置
CN214759955U (zh) 一种大学生心理健康教育需要阅读的书籍存储装置
CN218181592U (zh) 一种电力营销自助式服务设备
CN212484672U (zh) 一种教学管理用信息展示架
CN210223200U (zh) 一种高校数学教学用演示装置
CN216119095U (zh) 一种多媒体教学一体机
CN216416420U (zh) 一种建筑电气教学用绘图装置
CN218497675U (zh) 一种可便捷调节安装的辅助展示装置
CN213211347U (zh) 一种政治课程多页展示装置
CN210713977U (zh) 一种科技教育用多功能讲台
CN216053630U (zh) 一种体检中心用体检流程展示装置
CN215577173U (zh) 一种心理健康教育教具

Legal Events

Date Code Title Description
GR01 Patent grant
GR01 Patent grant
TR01 Transfer of patent right
TR01 Transfer of patent right

Effective date of registration: 20230831

Address after: 318058, 2nd Floor, No. 115 Junan Street, South Street, Jinqing Town, Luqiao District, Taizhou City, Zhejiang Province (for office use only)

Patentee after: Taizhou Junpeng Internet Technology Co.,Ltd.

Address before: 318050 Room 707, No. 553, East Luqiao Avenue, Lubei Street, Luqiao District, Taizhou City, Zhejiang Province (self declaration)

Patentee before: Taizhou Xinkai Information Consulting Co.,Ltd.

CF01 Termination of patent right due to non-payment of annual fee
CF01 Termination of patent right due to non-payment of annual fee

Granted publication date: 20221213