CN216461979U - 一种便于更换钻头的内冷扩孔钻 - Google Patents
一种便于更换钻头的内冷扩孔钻 Download PDFInfo
- Publication number
- CN216461979U CN216461979U CN202122385020.3U CN202122385020U CN216461979U CN 216461979 U CN216461979 U CN 216461979U CN 202122385020 U CN202122385020 U CN 202122385020U CN 216461979 U CN216461979 U CN 216461979U
- Authority
- CN
- China
- Prior art keywords
- drill bit
- drill
- rod
- reamer
- utility
- Prior art date
- Legal status (The legal status is an assumption and is not a legal conclusion. Google has not performed a legal analysis and makes no representation as to the accuracy of the status listed.)
- Active
Links
- 238000001816 cooling Methods 0.000 title claims abstract description 28
- 238000005553 drilling Methods 0.000 claims abstract description 26
- 238000003825 pressing Methods 0.000 claims abstract description 17
- XLYOFNOQVPJJNP-UHFFFAOYSA-N water Substances O XLYOFNOQVPJJNP-UHFFFAOYSA-N 0.000 claims abstract description 13
- 238000004804 winding Methods 0.000 claims description 3
- 238000003780 insertion Methods 0.000 claims description 2
- 230000037431 insertion Effects 0.000 claims description 2
- 238000000034 method Methods 0.000 abstract description 5
- 239000000110 cooling liquid Substances 0.000 abstract description 3
- 238000003801 milling Methods 0.000 abstract description 3
- 230000009286 beneficial effect Effects 0.000 abstract description 2
- 238000009434 installation Methods 0.000 description 3
- 230000008878 coupling Effects 0.000 description 2
- 238000010168 coupling process Methods 0.000 description 2
- 238000005859 coupling reaction Methods 0.000 description 2
- 238000005299 abrasion Methods 0.000 description 1
- 239000003795 chemical substances by application Substances 0.000 description 1
- 238000010586 diagram Methods 0.000 description 1
- 230000000694 effects Effects 0.000 description 1
- 230000002035 prolonged effect Effects 0.000 description 1
- 239000002699 waste material Substances 0.000 description 1
Images
Landscapes
- Earth Drilling (AREA)
Abstract
本实用新型公开了一种便于更换钻头的内冷扩孔钻,包括固定座、钻杆和钻头。本实用新型的有益效果是:本实用新型通过设置螺纹杆、螺纹槽、弹簧、抵压块、紧固螺母、紧固螺杆和抵压垫片,能够通过弹簧的弹力作用,使得钻头与钻杆之间的连接更加紧固,同时方便后期更换钻头,而且通过抵压垫片实现对钻头的二次固定,避免在钻孔过程中,钻头脱落;本实用新型通过设置进水口、出水孔和内冷孔,在铣削时,内冷液通过内冷孔流经到出水孔,继而喷洒在钻头上,可以实现对钻头的快速降温,避免高温对钻头造成破坏,影响钻孔效率,而且在钻头的下端固定安装定心,方便在钻孔时,对工件进行定位,避免钻孔过程中,钻头位置发生偏移。
Description
技术领域
本实用新型涉及一种扩孔钻,具体为一种便于更换钻头的内冷扩孔钻,属于钻头技术领域。
背景技术
扩孔钻:钻头和扩孔钻是一样的东西,不过是发挥的作用不同罢了,都是利用切削刃进行钻削;钻头钻底孔,扩孔钻把钻头钻的底孔加以扩大。
但是现有的扩孔钻在进行使用时存在一些问题:
1)现有的扩孔钻在使用过程中,由于钻头转速较快,频繁与工件接触会导致钻头本身受到磨损,当磨损达到一定程度时,钻头就失去作用,此时就需要对钻头进行更换,而现有的扩孔钻大多是一体的,无法对钻头进行拆卸,造成资源浪费;
2)现有的扩孔钻在使用时,由于钻头处于高速转动进行钻孔,钻头本身会产生高温,容易对钻头造成破坏,影响钻孔效率,而且钻头在钻孔过程中,易发生位置的偏移,导致钻孔精度下降。
实用新型内容
本实用新型的目的就在于为了解决上述问题而提供一种便于更换钻头的内冷扩孔钻。
本实用新型通过以下技术方案来实现上述目的:包括
固定座,其上表面固定连接有安装头,且安装头的上侧设置有插接槽,通过设置安装头,方便实现该扩孔钻与机床的快速连接;
钻杆,其上端固定连接在所述固定座的下侧;
钻头,其通过设置在所述钻杆内部的固定机构与钻杆之间呈可拆卸连接。
作为本实用新型再进一步的方案:所述钻杆的表面缠绕社设置有若干条排屑槽。
作为本实用新型再进一步的方案:所述钻头的下端固定安装有定心。
作为本实用新型再进一步的方案:所述钻杆的内部贯穿设置有内冷孔,且内冷孔的上端与设置在所述钻杆上的进水口相连通,所述内冷孔的下端与设置在所述钻头上的出水孔相连通。
作为本实用新型再进一步的方案:所述钻头的上表面中心位置固接有螺纹杆,且钻杆的下侧内部设置有螺纹槽,所述螺纹槽的内顶壁设置有弹簧,且弹簧的下端固接有抵压块。
作为本实用新型再进一步的方案:所述固定机构由设置在所述钻杆内的固定框和抵压垫片构成,所述固定框与钻杆之间嵌接有紧固螺母,所述紧固螺母的内部螺纹设置有紧固螺杆,所述紧固螺杆的一端延伸至钻杆的外侧,且其另一端转动连接有抵压垫片。
本实用新型的有益效果是:
1)本实用新型通过设置螺纹杆、螺纹槽、弹簧、抵压块、紧固螺母、紧固螺杆和抵压垫片,能够通过弹簧的弹力作用,使得钻头与钻杆之间的连接更加紧固,同时方便后期更换钻头,而且通过抵压垫片实现对钻头的二次固定,避免在钻孔过程中,钻头脱落;
2)本实用新型通过设置进水口、出水孔和内冷孔,在铣削时,内冷液通过内冷孔流经到出水孔,继而喷洒在钻头上,可以实现对钻头的快速降温,避免高温对钻头造成破坏,影响钻孔效率,而且在钻头的下端固定安装定心,方便在钻孔时,对工件进行定位,避免钻孔过程中,钻头位置发生偏移。
附图说明
图1为本实用新型内冷扩孔钻主视结构示意图;
图2为本实用新型内冷扩孔钻内冷孔位置结构示意图;
图3为本实用新型内冷扩孔钻钻头安装结构示意图;
图4为图3中A处放大示意图。
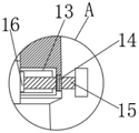
图中:1、固定座,2、安装头,3、钻杆,4、定心,5、钻头,6、排屑槽,7、固定机构,8、内冷孔,9、螺纹槽,10、弹簧,11、抵压块,12、螺纹杆,13、固定框,14、紧固螺母,15、紧固螺杆,16、抵压垫片和17、进水口。
具体实施方式
下面将结合本实用新型实施例中的附图,对本实用新型实施例中的技术方案进行清楚、完整地描述,显然,所描述的实施例仅仅是本实用新型一部分实施例,而不是全部的实施例。基于本实用新型中的实施例,本领域普通技术人员在没有做出创造性劳动前提下所获得的所有其他实施例,都属于本实用新型保护的范围。
实施例一
请参阅图1~4,一种便于更换钻头的内冷扩孔钻,包括
固定座1,其上表面固定连接有安装头2,且安装头2的上侧设置有插接槽,通过设置安装头2,方便实现该扩孔钻与机床的快速连接;
钻杆3,其上端固定连接在所述固定座1的下侧;
钻头5,其通过设置在所述钻杆3内部的固定机构7与钻杆3之间呈可拆卸连接。
在本实用新型实施例中,所述钻杆3的表面缠绕社设置有若干条排屑槽6,便于对钻孔时产生的废屑进行清理,避免废屑附着在钻头5表面影响钻孔精确度。
在本实用新型实施例中,所述钻头5的下端固定安装有定心4,便于在钻孔时,对工件进行定位,避免钻孔过程中,钻头5位置发生偏移。
在本实用新型实施例中,所述钻杆3的内部贯穿设置有内冷孔8,且内冷孔8的上端与设置在所述钻杆3上的进水口17相连通,所述内冷孔8的下端与设置在所述钻头5上的出水孔相连通,便于在钻孔时,对钻头5和钻杆3进行散热,避免高温对该扩孔钻造成破坏,影响其实用性。
实施例二
请参阅图1~4,一种便于更换钻头的内冷扩孔钻,包括
固定座1,其上表面固定连接有安装头2,且安装头2的上侧设置有插接槽,通过设置安装头2,方便实现该扩孔钻与机床的快速连接;
钻杆3,其上端固定连接在所述固定座1的下侧;
钻头5,其通过设置在所述钻杆3内部的固定机构7与钻杆3之间呈可拆卸连接。
在本实用新型实施例中,所述钻头5的上表面中心位置固接有螺纹杆12,且钻杆3的下侧内部设置有螺纹槽9,所述螺纹槽9的内顶壁设置有弹簧10,且弹簧10的下端固接有抵压块11,便于通过弹簧10的弹力作用,使得钻头5与钻杆3之间的连接更加紧固,同时方便后期更换钻头5。
在本实用新型实施例中,所述固定机构7由设置在所述钻杆3内的固定框13和抵压垫片16构成,所述固定框13与钻杆3之间嵌接有紧固螺母14,所述紧固螺母14的内部螺纹设置有紧固螺杆15,所述紧固螺杆15的一端延伸至钻杆3的外侧,且其另一端转动连接有抵压垫片16,便于通过抵压垫片16实现对钻头5的二次固定,避免在钻孔过程中,钻头5脱落。
工作原理:在使用该内冷扩孔钻时,首先通过固定座1上设置的安装头2将该内冷扩孔钻稳定的固定在机床上,然后即可进行铣削工作,通过排屑槽6,能够对钻孔时产生的废屑进行清理,避免废屑附着在钻头5表面影响钻孔精确度,在钻头5的下端固定安装定心4,可以在钻孔时,对工件进行定位,避免钻孔过程中,钻头5位置发生偏移,在钻孔过程中,钻头5表面产生的大量热量通过内冷孔8内的冷却液进行降温,有助于提高钻头5的使用寿命,当钻头5磨损严重时,旋松紧固螺杆15,使得抵压垫片16与钻头5分离,然后转动钻头5,使得其通过螺纹杆12与螺纹槽9之间的螺纹作用进行拆卸,然后换上新的钻头,更换比较方便,有助于提高安装效率,节约使用成本。
对于本领域技术人员而言,显然本实用新型不限于上述示范性实施例的细节,而且在不背离本实用新型的精神或基本特征的情况下,能够以其他的具体形式实现本实用新型。因此,无论从哪一点来看,均应将实施例看作是示范性的,而且是非限制性的,本实用新型的范围由所附权利要求而不是上述说明限定,因此旨在将落在权利要求的等同要件的含义和范围内的所有变化囊括在本实用新型内。不应将权利要求中的任何附图标记视为限制所涉及的权利要求。
此外,应当理解,虽然本说明书按照实施方式加以描述,但并非每个实施方式仅包含一个独立的技术方案,说明书的这种叙述方式仅仅是为清楚起见,本领域技术人员应当将说明书作为一个整体,各实施例中的技术方案也可以经适当组合,形成本领域技术人员可以理解的其他实施方式。
Claims (6)
1.一种便于更换钻头的内冷扩孔钻,其特征在于,包括
固定座(1),其上表面固定连接有安装头(2),且安装头(2)的上侧设置有插接槽,通过设置安装头(2),方便实现该扩孔钻与机床的快速连接;
钻杆(3),其上端固定连接在所述固定座(1)的下侧;
钻头(5),其通过设置在所述钻杆(3)内部的固定机构(7)与钻杆(3)之间呈可拆卸连接。
2.根据权利要求1所述的一种便于更换钻头的内冷扩孔钻,其特征在于:所述钻杆(3)的表面缠绕社设置有若干条排屑槽(6)。
3.根据权利要求1所述的一种便于更换钻头的内冷扩孔钻,其特征在于:所述钻头(5)的下端固定安装有定心(4)。
4.根据权利要求1所述的一种便于更换钻头的内冷扩孔钻,其特征在于:所述钻杆(3)的内部贯穿设置有内冷孔(8),且内冷孔(8)的上端与设置在所述钻杆(3)上的进水口(17)相连通,所述内冷孔(8)的下端与设置在所述钻头(5)上的出水孔相连通。
5.根据权利要求1所述的一种便于更换钻头的内冷扩孔钻,其特征在于:所述钻头(5)的上表面中心位置固接有螺纹杆(12),且钻杆(3)的下侧内部设置有螺纹槽(9),所述螺纹槽(9)的内顶壁设置有弹簧(10),且弹簧(10)的下端固接有抵压块(11)。
6.根据权利要求1所述的一种便于更换钻头的内冷扩孔钻,其特征在于:所述固定机构(7)由设置在所述钻杆(3)内的固定框(13)和抵压垫片(16)构成,所述固定框(13)与钻杆(3)之间嵌接有紧固螺母(14),所述紧固螺母(14)的内部螺纹设置有紧固螺杆(15),所述紧固螺杆(15)的一端延伸至钻杆(3)的外侧,且其另一端转动连接有抵压垫片(16)。
Priority Applications (1)
| Application Number | Priority Date | Filing Date | Title |
|---|---|---|---|
| CN202122385020.3U CN216461979U (zh) | 2021-09-30 | 2021-09-30 | 一种便于更换钻头的内冷扩孔钻 |
Applications Claiming Priority (1)
| Application Number | Priority Date | Filing Date | Title |
|---|---|---|---|
| CN202122385020.3U CN216461979U (zh) | 2021-09-30 | 2021-09-30 | 一种便于更换钻头的内冷扩孔钻 |
Publications (1)
| Publication Number | Publication Date |
|---|---|
| CN216461979U true CN216461979U (zh) | 2022-05-10 |
Family
ID=81439194
Family Applications (1)
| Application Number | Title | Priority Date | Filing Date |
|---|---|---|---|
| CN202122385020.3U Active CN216461979U (zh) | 2021-09-30 | 2021-09-30 | 一种便于更换钻头的内冷扩孔钻 |
Country Status (1)
| Country | Link |
|---|---|
| CN (1) | CN216461979U (zh) |
-
2021
- 2021-09-30 CN CN202122385020.3U patent/CN216461979U/zh active Active
Similar Documents
| Publication | Publication Date | Title |
|---|---|---|
| CN110681930A (zh) | 一种带有连续曲线刃的螺纹铣刀 | |
| CN216461979U (zh) | 一种便于更换钻头的内冷扩孔钻 | |
| CN211387254U (zh) | 一种带有连续曲线刃的螺纹铣刀 | |
| CN214518021U (zh) | 一种用于航空发动机加工的单刃梯形螺纹铣刀 | |
| CN2850780Y (zh) | 阶梯扩孔钻 | |
| CN218903719U (zh) | 一种快换头式u钻 | |
| CN220145410U (zh) | 一种具有冷却剂供应的金属切削刀具 | |
| CN211413785U (zh) | 一种阶梯钻 | |
| CN216680379U (zh) | 一种方便更换内冷液的合金内冷阶梯钻 | |
| CN213496721U (zh) | 一种提高深孔加工效率的刀片钻头 | |
| CN222944566U (zh) | 一种便于连接刀体固定的钨钢涂层钻头 | |
| CN218396087U (zh) | 一种多功能扩孔钻 | |
| CN211162095U (zh) | 一种石墨金刚石涂层高效铣刀 | |
| CN209780761U (zh) | 一种自动提高内冷效率的合金深孔内冷钻头 | |
| CN221516206U (zh) | 一种带有辅助刀槽的阶梯钻头 | |
| CN222608119U (zh) | 一种用于手机壳体加工的阶梯式铣刀 | |
| CN221603391U (zh) | 一种圆弧式排屑槽的反向铰刀结构 | |
| CN217252890U (zh) | 一种多尺寸组合式切削镗刀 | |
| CN216881875U (zh) | 一种可调节钻孔深度的钻头 | |
| CN221817427U (zh) | 一种快速拆装式合金钻头 | |
| CN216176914U (zh) | 一种具有挡屑功能的合金内冷阶梯钻 | |
| CN221695360U (zh) | 一种具有双头结构的钻头 | |
| CN219986323U (zh) | 一种硬质合金阶梯钻结构 | |
| CN216461982U (zh) | 一种带有固定卡盘的合金深孔钻 | |
| CN223506265U (zh) | 一种快换式钻孔刀具 |
Legal Events
| Date | Code | Title | Description |
|---|---|---|---|
| GR01 | Patent grant | ||
| GR01 | Patent grant |