CN215611872U - 一种废弃转瓦制造中砂的破碎装置 - Google Patents

一种废弃转瓦制造中砂的破碎装置 Download PDF

Info

Publication number
CN215611872U
CN215611872U CN202120162772.0U CN202120162772U CN215611872U CN 215611872 U CN215611872 U CN 215611872U CN 202120162772 U CN202120162772 U CN 202120162772U CN 215611872 U CN215611872 U CN 215611872U
Authority
CN
China
Prior art keywords
crushing
dust
dust collection
cavity
sand
Prior art date
Legal status (The legal status is an assumption and is not a legal conclusion. Google has not performed a legal analysis and makes no representation as to the accuracy of the status listed.)
Active
Application number
CN202120162772.0U
Other languages
English (en)
Inventor
彭勃
彭艳玲
Current Assignee (The listed assignees may be inaccurate. Google has not performed a legal analysis and makes no representation or warranty as to the accuracy of the list.)
Beijing Huidi Intelligent Technology Research Institute Co ltd
Huaxia Jianyu (Beijing) Ecological Environment Co.,Ltd.
Original Assignee
Beijing Huidi Intelligent Technology Research Institute Co ltd
Priority date (The priority date is an assumption and is not a legal conclusion. Google has not performed a legal analysis and makes no representation as to the accuracy of the date listed.)
Filing date
Publication date
Application filed by Beijing Huidi Intelligent Technology Research Institute Co ltd filed Critical Beijing Huidi Intelligent Technology Research Institute Co ltd
Priority to CN202120162772.0U priority Critical patent/CN215611872U/zh
Application granted granted Critical
Publication of CN215611872U publication Critical patent/CN215611872U/zh
Active legal-status Critical Current
Anticipated expiration legal-status Critical

Links

Images

Landscapes

  • Disintegrating Or Milling (AREA)

Abstract

本实用新型属于建筑工程技术领域,具体地说,涉及一种废弃转瓦制造中砂的破碎装置。所述的废弃转瓦制造中砂的破碎装置包括破碎箱、进料口、进料皮带、破碎辊、齿轮、破碎电机、V带、施压机构、第一振动筛、第二振动筛、粗料导送皮带、中砂料导送皮带和除尘机构。本实用新型通过斜齿式对辊破碎的方式对废弃砖瓦进行破碎,破碎效率高,而且能够筛分出用于中砂生产的中砂料,剔除粗料、细料,减少中砂生产的工序,此外,在破碎过程中还能对扬尘较大的点位进行除尘,避免破碎过程中粉尘过大而危害工人身体。

Description

一种废弃转瓦制造中砂的破碎装置
技术领域
本实用新型属于建筑工程技术领域,具体地说,涉及一种废弃转瓦制造中砂的破碎装置。
背景技术
目前,在进行建筑施工时常常会产生较多废弃砖瓦,目前一般将废弃砖头堆积在一起,如此占地空间较大、从而会缩小施工人员的活动范围、不利于施工,废弃砖瓦资源再利用的办法主要是将碎砖瓦破碎处理成为“再生骨料”,可用于中砂的制作,实现废弃砖瓦再利用,而现在没有此类专用的破碎设备,传统的破碎设备虽能够对废弃砖头进行破碎、能够减小废弃砖头的占地面积、能够增大施工人员的活动范围,但是破碎效果不佳,破碎出来的碎料无法直接用于中砂生产,并且在破碎过程中会产生很多粉尘,影响工人身体健康。
发明内容
本实用新型的目的在于提供一种废弃转瓦制造中砂的破碎装置,不仅能够对废弃砖瓦进行快速破碎,而且能够筛分出用于中砂生产的物料,并剔除细料,此外,在破碎过程中还能对扬尘较大的点位进行除尘,避免破碎过程中粉尘过大而危害工人身体。
为实现上述目的,本实用新型采用如下技术方案:
一种废弃转瓦制造中砂的破碎装置,包括破碎箱、进料口、进料皮带、破碎辊、齿轮、破碎电机、V带、施压机构、第一振动筛、第二振动筛、粗料导送皮带、中砂料导送皮带和除尘机构,所述的破碎箱内腔分隔为破碎腔和筛分腔,破碎腔一侧设置有进料口,进料口处安装有进料皮带,破碎腔内通过转轴安装有两个相互咬合的破碎辊,两个破碎辊的转轴之间用过齿轮传动同步转动,其中一个破碎辊的转轴与安装在破碎箱外壳上的破碎电机通过V带传动连接,两个破碎辊咬合点正上方安装有受压可上下移动的施压机构,所述的筛分腔与破碎腔之间通过排料口连通,筛分腔内由上至下依次安装有第一振动筛和第二振动筛,第一振动筛筛面出口处安装有粗料导送皮带,第二振动筛筛面处口安装有中砂料导送皮带,筛分腔一侧开设有粗中料出口,粗料导送皮带和砂料导送皮带均通过粗中料出口延伸至破碎箱外,筛分腔底部开设有细料出口,细料出口周向设置有防扬尘档条,所述的破碎箱一侧安装有用于对进料口、破碎腔和粗中料出口进行粉尘回收的除尘机构。
进一步,所述的施压机构包括安装支架、外筒、滑动板、连杆和施压板,所述的安装支架固定在破碎腔内并与破碎箱内壁固定连接,外筒固定在安装支架上,外筒内腔滑动设置有滑动板,滑动板底部通过连杆连接有施压板,施压板位于两个破碎辊咬合点正上方。
进一步,所述的外筒内腔设置有滑道,滑动板边缘设置有与滑道配合的滑块,滑块嵌装在滑道内。
进一步,所述的滑动板顶部与外筒内腔顶部、滑动板底部和外筒内腔底部之间均安装有施压弹簧。
进一步,所述的进料口与施压板之间还设置有挡块。
进一步,所述的施压板底部设置有若干突击的三角钉齿。
进一步,所述的除尘机构包括负压吸尘组件、吸尘罩和吸尘管,所述的负压吸尘组件安装在破碎箱一侧,破碎箱的进料口、破碎腔和粗中砂出口各安装有一个吸尘罩,吸尘罩通过吸尘管与负压吸尘组件连接。
进一步,所述的负压吸尘组件包括吸尘箱、空压供给箱、除尘布袋滤芯、连接管、电磁脉冲阀、负压管、负压风机、电磁截止阀、排尘口、星型卸料阀和控制器,所述的吸尘箱内由上至下依次分隔为设备腔、集尘腔,设备腔内安装有空压供给箱,集尘腔内通过支撑架竖直安装有若干除尘布袋滤芯,除尘布袋滤芯内腔通过连接管与空压供给箱连通,连接管上安装有电磁脉冲阀,每根连接管上还连接有负压管,负压管与负压风机连接,负压管上安装有电磁截止阀,吸尘箱的集尘腔底部设置有排尘口,排尘口处设置有星型卸料阀。
进一步,所述的负压吸尘组件还包括气流传感器和控制器,所述的气流传感器安装在负压风机气流入口处,气流传感器与控制器信号输入接口电连接,电磁脉冲阀、电磁截止阀、星型卸料阀的电机与控制器信号输出接口电连接。
进一步,所述的除尘布袋滤芯为褶皱式除尘布袋。
本实用新型的有益效果:
1.本实用新型通过斜齿式对辊破碎的方式对废弃砖瓦进行破碎,破碎效率高,而且能够筛分出用于中砂生产的中砂料,剔除粗料、细料,减少中砂生产的工序,此外,在破碎过程中还能对扬尘较大的点位进行除尘,避免破碎过程中粉尘过大而危害工人身体。
2.两个破碎辊顶部设置施压机构,施压板通过弹簧提供的弹力对位于两破碎辊上方的废弃砖瓦进行施压,使其更容易进入两破碎辊之间,提高破碎效率,同时,在施压过程中,施压板能够根据物料的高度自行调整合适的施压高度,而弹簧使得滑动板与外筒之间实现软连接,不仅能够适应施压高度的调整,而且能够确保施压板始终能够压住物料。
3.本实用新型通过负压吸附的方式对破碎箱的进料口、破碎腔和粗中砂出口处的扬尘进行收集,并通过脉冲及高压反吹的方式对附着在除尘布袋滤芯的灰尘进行清理,不仅能够有效的减少破碎过程中的扬尘,而且还可对扬尘进行回收处理,大大减少了扬尘对工人的危害。此外,通过控制器对扬尘清理过程进行自动化控制,通过气流传感器对除尘布袋滤芯的封堵状况进行智能检测,并通过控制器控制相应的电磁阀动作,自动化完成对除尘布袋滤芯的清理工作和排尘工作,减小人力投入,同时可减小除尘布袋滤芯的损坏,延长其使用寿命。
附图说明
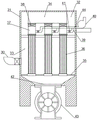
图1为本实用新型的整体结构示意图;
图2为本实用新型的破碎箱右视图;
图3为本实用新型的破碎箱后视图;
图4为本实用新型的施压机构结构示意图;
图5为本实用新型的外筒内部结构示意图;
图6为本实用新型的负压吸尘组件结构示意图;
图7为本实用新型的吸尘腔内部俯视图;
图8为本实用新型的负压吸尘组件控制框图;
图9为本实用新型的负压吸尘组件控制电路图。
图中:1-破碎箱、2-破碎腔、3-筛分腔、4-进料口、5-进料皮带、6-破碎辊、7-齿轮、8-破碎电机、9-V带、10-施压机构、11-排料口、12-第一振动筛、13-第二振动筛、14-粗料导送皮带、15-中砂料导送皮带、16-粗中料出口、17-细料出口、18-安装支架、19-外筒、20-滑动板、21-连杆、22-施压板、23-滑道、24-滑块、25-施压弹簧、26-挡块、27-三角钉齿、28-负压吸尘组件、29-吸尘罩、30-吸尘管、31-吸尘箱、32-设备腔、33-集尘腔、34-空压供给箱、35-支撑架、36-除尘布袋滤芯、37-连接管、38-电磁脉冲阀、39-负压管、40-负压风机、41-电磁截止阀、42-排尘口、43-星型卸料阀、44-气流传感器、45-控制器、46-防扬尘档条。
具体实施方式
下面将结合本实用新型实施例中的附图,对本实用新型实施例中的技术方案进行清楚、完整地描述,显然,所描述的实施例仅仅是本实用新型一部分实施例,而不是全部的实施例。基于本实用新型中的实施例,本领域普通技术人员在没有做出创造性劳动前提下所获得的所有其他实施例,都属于本实用新型保护的范围。
请参阅图1-9,一种废弃转瓦制造中砂的破碎装置,包括破碎箱1、进料口4、进料皮带5、破碎辊6、齿轮7、破碎电机8、V带9、施压机构10、第一振动筛12、第二振动筛13、粗料导送皮带14、中砂料导送皮带15和除尘机构,所述的破碎箱1内腔分隔为破碎腔2和筛分腔3,整一个破碎过程在破碎腔2内进行,破碎完成后在筛分腔3内进行筛分。破碎腔2一侧设置有进料口4,进料口4处安装有进料皮带5,采用皮带进料的方式,可大大减小废弃砖瓦搬运入料的劳力投入,无需工人像传统破碎设备一样用铲子等工具投料,大大提高了投料的效率。破碎腔2内通过转轴安装有两个相互咬合的破碎辊6,两个破碎辊6的转轴之间用过齿轮7传动同步转动,其中一个破碎辊6的转轴与安装在破碎箱1外壳上的破碎电机8通过V带9传动连接,作为优选,破碎辊6采用斜齿式对辊,两个破碎辊6咬合时能够将物料不断带入咬合点,破碎效率高。两个破碎辊6咬合点正上方安装有受压可上下移动的施压机构10,施压机构10能够在破碎过程中压住物料,避免物料在破碎辊6咬合点上方不停跳动,同时,其对物料进行施压,能够使得物料更好的进入料破碎辊6之间,提高破碎效率。所述的筛分腔3与破碎腔2之间通过排料口11连通,筛分腔3内由上至下依次安装有第一振动筛12和第二振动筛13,第一振动筛12和第二振动筛13均倾斜安装,筛面出口端低于筛面另一端,确保物料能够靠自重沿筛面滑落,根据中砂的粒径要求,优选第一振动筛12的筛孔直径为0.5mm,第二振动筛13的筛孔直径为0.25mm,第一振动筛12筛面出口处安装有粗料导送皮带14,第二振动筛13筛面处口安装有中砂料导送皮带15,筛分腔3一侧开设有粗中料出口16,粗料导送皮带14和砂料导送皮带均通过粗中料出口16延伸至破碎箱1外,筛分腔3底部开设有细料出口17,细料出口17周向设置有防扬尘档条46,减少细料出口17处的扬尘外扩。在破碎完成后,物料由排料口11排出,然后自重下落至第一振动筛12,由第一振动筛12进行筛分,筛选出粗料,并将粗料由第一振动筛12筛面出口处的粗料导送皮带14导送出去,透过第一振动筛12的物料下落至第二振动筛13,由第二振动筛13进行筛分,分离出用于制作中砂的中砂料,并将中砂料由第二振动筛13筛面处口的中砂料导送皮带15导送出去,筛分出的细料则从细料出口17排出。所述的破碎箱1一侧安装有除尘机构,用于在破碎机筛分过程中对进料口4、破碎腔2和粗中料出口16进行粉尘回收。本实用新型通过斜齿式对辊破碎的方式对废弃砖瓦进行破碎,破碎效率高,而且能够筛分出用于中砂生产的中砂料,剔除粗料、细料,减少中砂生产的工序,此外,在破碎过程中还能对扬尘较大的点位进行除尘,避免破碎过程中粉尘过大而危害工人身体。
所述的施压机构10包括安装支架18、外筒19、滑动板20、连杆21和施压板22,所述的安装支架18固定在破碎腔2内并与破碎箱1内壁固定连接,外筒19固定在安装支架18上,外筒19内腔滑动设置有滑动板20,所述的滑动板20顶部与外筒19内腔顶部、滑动板20底部和外筒19内腔底部之间均安装有施压弹簧25,所述的外筒19内腔设置有滑道23,滑动板20边缘设置有与滑道23配合的滑块24,滑块24嵌装在滑道23内,滑道23可对滑动板20起到导向作用,确保滑动板20在滑动过程中更加稳定。滑动板20底部通过连杆21连接有施压板22,施压板22位于两个破碎辊6咬合点正上方。在破碎过程中,施压板22通过弹簧提供的弹力对位于两破碎辊6上方的物料进行施压,使其更容易进入两破碎辊6之间,提高破碎效率,同时,在施压过程中,施压板22能够根据物料的高度自行调整合适的施压高度,当物料较多时,滑动板20上移,上部弹簧收缩,下部弹簧拉伸,弹簧使得滑动板20与外筒19之间实现软连接,不仅能够适应施压高度的调整,而且能够确保施压板22始终能够压住物料。
所述的负压吸尘组件28、吸尘罩29和吸尘管30,所述的负压吸尘组件28安装在破碎箱1一侧,破碎箱1的进料口4、破碎腔2和粗中砂出口各安装有一个吸尘罩29,吸尘罩29通过吸尘管30与负压吸尘组件28连接。所述的负压吸尘组件28包括吸尘箱31、空压供给箱34、除尘布袋滤芯36、连接管37、电磁脉冲阀38、负压管39、负压风机40、电磁截止阀41、排尘口42、星型卸料阀43和控制器45,所述的吸尘箱31内由上至下依次分隔为设备腔32、集尘腔33,设备腔32内安装有空压供给箱34,集尘腔33内通过支撑架35竖直安装有若干除尘布袋滤芯36,作为优选,除尘布袋滤芯36采用褶皱式除尘布袋。除尘布袋滤芯36内腔通过连接管37与空压供给箱34连通,连接管37上安装有电磁脉冲阀38,每根连接管37上还连接有负压管39,负压管39与负压风机40连接,负压管39上安装有电磁截止阀41,吸尘箱31的集尘腔33底部设置有排尘口42,排尘口42处设置有星型卸料阀43。破碎过程中,电磁脉冲阀38关闭,电磁截止阀41开启,负压风机40工作,集尘腔33内的空气透过除尘布袋滤芯36排出,使得集尘腔33内形成负压环境,破碎箱1的进料口4、破碎腔2和粗中砂出口处的扬尘便能通过吸尘罩29进入到吸尘管30内,然后进入吸尘箱31内,并吸附到除尘布袋滤芯36外表面,当除尘完成后,关闭电磁截止阀41和负压风机40,开启电磁脉冲阀38,空压供给箱34内的高压空气瞬间进入除尘布袋滤芯36内部,将除尘布袋滤芯36鼓起并产生振动,将粘附在其外表面的粉尘抖落,自重下落至集尘腔33底部,汇集在集尘箱底部的排尘口42,并由星型卸料阀43向下排出。作为优选,所述的吸尘管30上也设置有电磁截止阀41,避免在空压供给箱34抖灰时气流返回吸尘罩29内而造成吸尘罩29处扬尘。本实用新型通过负压吸附的方式对破碎箱1的进料口4、破碎腔2和粗中砂出口处的扬尘进行收集,并通过脉冲及高压反吹的方式对附着在除尘布袋滤芯36的灰尘进行清理,不仅能够有效的减少破碎过程中的扬尘,而且还可对扬尘进行回收处理,大大减少了扬尘对工人的危害。
所述的负压吸尘组件28还包括气流传感器44和控制器45,所述的气流传感器44安装在负压风机40气流入口处,气流传感器44与控制器45信号输入接口电连接,电磁脉冲阀38、负压管39和吸尘管30上的电磁截止阀41、星型卸料阀43的电机均与控制器45信号输出接口电连接,当气流传感器44感应到进行负压管39的气流小于设定气流强度时,将信号反馈给控制器45,控制器45控制负压管39和吸尘管30上的电磁截止阀41关闭,并同时控制脉冲电磁阀开启,空压供给箱34顺时给除尘布袋滤芯36内部冲入高压空气,将除尘布袋滤芯36鼓起并产生振动,将粘附在其外表面的粉尘抖落,然后控制器45再控制相应的电磁截止阀41打开,继续除尘。在抖尘进行3-4次后,控制器45定周期启动星型卸料阀43的电机,排出聚集在排尘口42处的粉尘。通过控制器45对扬尘清理过程进行自动化控制,通过气流传感器44对除尘布袋滤芯36的封堵状况进行智能检测,并通过控制器45控制相应的电磁阀动作,自动化完成对除尘布袋滤芯36的清理工作和排尘工作,减小人力投入,同时可减小除尘布袋滤芯36的损坏,延长其使用寿命。
本实用新型的使用过程:
破碎时,启动破碎电机8,由进料皮带5进料,物料进入两个破碎辊6之间,通过两个破碎辊6咬合对废弃砖瓦块进行破碎,在破碎过程中,施压机构10对物料进行施压,能够使得物料更好的进入料破碎辊6之间,破碎完成后,破碎后的物料通过排料口11进入筛分腔3,自重下落至第一振动筛12,由第一振动筛12进行筛分,筛选出粗料,并将粗料由第一振动筛12筛面出口处的粗料导送皮带14导送出去,透过第一振动筛12的物料下落至第二振动筛13,由第二振动筛13进行筛分,分离出用于制作中砂的中砂料,并将中砂料由第二振动筛13筛面处口的中砂料导送皮带15导送出去,筛分出的细料则从细料出口17排出。
破碎过程中,电磁脉冲阀38关闭,电磁截止阀41开启,负压风机40工作,集尘腔33内的空气透过除尘布袋滤芯36排出,使得集尘腔33内形成负压环境,破碎箱1的进料口4、破碎腔2和粗中砂出口处的扬尘便能通过吸尘罩29进入到吸尘管30内,然后进入吸尘箱31内,并吸附到除尘布袋滤芯36外表面,当气流传感器44感应到进行负压管39的气流小于设定气流强度时,将信号反馈给控制器45,控制器45控制负压管39和吸尘管30上的电磁截止阀41关闭,并同时控制脉冲电磁阀开启,空压供给箱34顺时给除尘布袋滤芯36内部冲入高压空气,将除尘布袋滤芯36鼓起并产生振动,将粘附在其外表面的粉尘抖落,然后控制器45再控制相应的电磁截止阀41打开,继续除尘。在抖尘进行3-4次后,控制器45定周期启动星型卸料阀43的电机,排出聚集在排尘口42处的粉尘。
在本实用新型的描述中,需要说明的是,除非另有明确的规定和限定,术语“安装”、“相连”、“连接”应做广义理解,例如,可以是固定连接,也可以是可拆卸连接,或一体地连接;可以是机械连接,也可以是电连接;可以是直接相连,也可以通过中间媒介间接相连,可以是两个元件内部的连通。对于本领域的普通技术人员而言,可以通过具体情况理解上述术语在本实用新型中的具体含义。
上面对本专利的较佳实施方式作了详细说明,但是本专利并不限于上述实施方式,在本领域的普通技术人员所具备的知识范围内,还可以在不脱离本专利宗旨的前提下作出各种变化。

Claims (10)

1.一种废弃转瓦制造中砂的破碎装置,其特征在于:所述的废弃转瓦制造中砂的破碎装置包括破碎箱、进料口、进料皮带、破碎辊、齿轮、破碎电机、V带、施压机构、第一振动筛、第二振动筛、粗料导送皮带、中砂料导送皮带和除尘机构,所述的破碎箱内腔分隔为破碎腔和筛分腔,破碎腔一侧设置有进料口,进料口处安装有进料皮带,破碎腔内通过转轴安装有两个相互咬合的破碎辊,两个破碎辊的转轴之间用过齿轮传动同步转动,其中一个破碎辊的转轴与安装在破碎箱外壳上的破碎电机通过V带传动连接,两个破碎辊咬合点正上方安装有受压可上下移动的施压机构,所述的筛分腔与破碎腔之间通过排料口连通,筛分腔内由上至下依次安装有第一振动筛和第二振动筛,第一振动筛筛面出口处安装有粗料导送皮带,第二振动筛筛面处口安装有中砂料导送皮带,筛分腔一侧开设有粗中料出口,粗料导送皮带和砂料导送皮带均通过粗中料出口延伸至破碎箱外,筛分腔底部开设有细料出口,细料出口周向设置有防扬尘档条,所述的破碎箱一侧安装有用于对进料口、破碎腔和粗中料出口进行粉尘回收的除尘机构。
2.根据权利要求1所述的废弃转瓦制造中砂的破碎装置,其特征在于:所述的施压机构包括安装支架、外筒、滑动板、连杆和施压板,所述的安装支架固定在破碎腔内并与破碎箱内壁固定连接,外筒固定在安装支架上,外筒内腔滑动设置有滑动板,滑动板底部通过连杆连接有施压板,施压板位于两个破碎辊咬合点正上方。
3.根据权利要求2所述的废弃转瓦制造中砂的破碎装置,其特征在于:所述的外筒内腔设置有滑道,滑动板边缘设置有与滑道配合的滑块,滑块嵌装在滑道内。
4.根据权利要求2或3所述的废弃转瓦制造中砂的破碎装置,其特征在于:所述的滑动板顶部与外筒内腔顶部、滑动板底部和外筒内腔底部之间均安装有施压弹簧。
5.根据权利要求4所述的废弃转瓦制造中砂的破碎装置,其特征在于:所述的进料口与施压板之间还设置有挡块。
6.根据权利要求2、3或5所述的废弃转瓦制造中砂的破碎装置,其特征在于:所述的施压板底部设置有若干突击的三角钉齿。
7.根据权利要求1所述的废弃转瓦制造中砂的破碎装置,其特征在于:所述的除尘机构包括负压吸尘组件、吸尘罩和吸尘管,所述的负压吸尘组件安装在破碎箱一侧,破碎箱的进料口、破碎腔和粗中砂出口各安装有一个吸尘罩,吸尘罩通过吸尘管与负压吸尘组件连接。
8.根据权利要求7所述的废弃转瓦制造中砂的破碎装置,其特征在于:所述的负压吸尘组件包括吸尘箱、空压供给箱、除尘布袋滤芯、连接管、电磁脉冲阀、负压管、负压风机、电磁截止阀、排尘口、星型卸料阀和控制器,所述的吸尘箱内由上至下依次分隔为设备腔、集尘腔,设备腔内安装有空压供给箱,集尘腔内通过支撑架竖直安装有若干除尘布袋滤芯,除尘布袋滤芯内腔通过连接管与空压供给箱连通,连接管上安装有电磁脉冲阀,每根连接管上还连接有负压管,负压管与负压风机连接,负压管上安装有电磁截止阀,吸尘箱的集尘腔底部设置有排尘口,排尘口处设置有星型卸料阀。
9.根据权利要求8所述的废弃转瓦制造中砂的破碎装置,其特征在于:所述的负压吸尘组件还包括气流传感器和控制器,所述的气流传感器安装在负压风机气流入口处,气流传感器与控制器信号输入接口电连接,电磁脉冲阀、电磁截止阀、星型卸料阀的电机与控制器信号输出接口电连接。
10.根据权利要求8所述的废弃转瓦制造中砂的破碎装置,其特征在于:所述的除尘布袋滤芯为褶皱式除尘布袋。
CN202120162772.0U 2021-01-21 2021-01-21 一种废弃转瓦制造中砂的破碎装置 Active CN215611872U (zh)

Priority Applications (1)

Application Number Priority Date Filing Date Title
CN202120162772.0U CN215611872U (zh) 2021-01-21 2021-01-21 一种废弃转瓦制造中砂的破碎装置

Applications Claiming Priority (1)

Application Number Priority Date Filing Date Title
CN202120162772.0U CN215611872U (zh) 2021-01-21 2021-01-21 一种废弃转瓦制造中砂的破碎装置

Publications (1)

Publication Number Publication Date
CN215611872U true CN215611872U (zh) 2022-01-25

Family

ID=79888923

Family Applications (1)

Application Number Title Priority Date Filing Date
CN202120162772.0U Active CN215611872U (zh) 2021-01-21 2021-01-21 一种废弃转瓦制造中砂的破碎装置

Country Status (1)

Country Link
CN (1) CN215611872U (zh)

Cited By (3)

* Cited by examiner, † Cited by third party
Publication number Priority date Publication date Assignee Title
CN112916112A (zh) * 2021-01-21 2021-06-08 北京惠地智能技术研究院有限公司 一种废弃转瓦制造中砂的破碎装置
CN114733432A (zh) * 2022-06-08 2022-07-12 福建省德化县皛垚陶瓷厂 一种陶瓷加工用黏土原料混合装置
CN115041285A (zh) * 2022-06-15 2022-09-13 登封中联登电水泥有限公司 一种用于加工水泥的铸造废渣破碎设备

Cited By (4)

* Cited by examiner, † Cited by third party
Publication number Priority date Publication date Assignee Title
CN112916112A (zh) * 2021-01-21 2021-06-08 北京惠地智能技术研究院有限公司 一种废弃转瓦制造中砂的破碎装置
CN114733432A (zh) * 2022-06-08 2022-07-12 福建省德化县皛垚陶瓷厂 一种陶瓷加工用黏土原料混合装置
CN115041285A (zh) * 2022-06-15 2022-09-13 登封中联登电水泥有限公司 一种用于加工水泥的铸造废渣破碎设备
CN115041285B (zh) * 2022-06-15 2024-04-02 登封中联登电水泥有限公司 一种用于加工水泥的铸造废渣破碎设备

Similar Documents

Publication Publication Date Title
CN112916112A (zh) 一种废弃转瓦制造中砂的破碎装置
CN215611872U (zh) 一种废弃转瓦制造中砂的破碎装置
CN112138822B (zh) 一种垃圾处理装置
CN110653155A (zh) 一种具有除尘功能的大米生产用砂石过滤装置
CN211865828U (zh) 一种去除杂质的装置
CN209835119U (zh) 一种原煤破碎站除尘抑尘系统
CN211070220U (zh) 一种高效磨粉机
CN219024570U (zh) 建筑废料自动化破碎处理装置
CN214209931U (zh) 一种颗粒式催化剂清灰筛分装置
CN210972688U (zh) 一种水泥生产用输料皮带清灰装置
CN112756094A (zh) 一种废弃砖瓦超细砂生产装置
CN211297725U (zh) 一种稻草打捆机的除杂装置
CN218689777U (zh) 一种制超细复合建筑胶凝材料的专用磨机
CN220126808U (zh) 建筑废弃物再生机制砂筛分装置
CN108786999B (zh) 一种秸秆破碎机构
CN218502842U (zh) 一种陶瓷产品清灰装置
CN216539575U (zh) 一种粮食加工用比重去石机
CN215656424U (zh) 一种大米加工用除糠装置
CN213225756U (zh) 一种喷砂回收装置
CN210635434U (zh) 一种直拉单晶硅复投筒用自动装料装置
CN113262846A (zh) 秸秆破碎除尘一体化设备
JPH0881912A (ja) 篩分け装置における局所排気装置
CN120586552B (zh) 一种用于履带移动式破碎筛分站的集中除尘系统
CN221832759U (zh) 一种砂石分离装置
CN221208952U (zh) 一种建筑行业用筛沙装置

Legal Events

Date Code Title Description
GR01 Patent grant
GR01 Patent grant
TR01 Transfer of patent right
TR01 Transfer of patent right

Effective date of registration: 20220224

Address after: 100190 unit 303, unit 2, 3 / F, building L1, courtyard a 69, Fushi Road, Haidian District, Beijing

Patentee after: Beijing Huidi Intelligent Technology Research Institute Co.,Ltd.

Patentee after: Beijing Lianlu ecological environment Co.,Ltd.

Address before: 100190 unit 303, unit 2, 3 / F, building L1, courtyard a 69, Fushi Road, Haidian District, Beijing

Patentee before: Beijing Huidi Intelligent Technology Research Institute Co.,Ltd.

CP03 Change of name, title or address
CP03 Change of name, title or address

Address after: 100190 unit 303, unit 2, 3 / F, building L1, courtyard a 69, Fushi Road, Haidian District, Beijing

Patentee after: Beijing Huidi Intelligent Technology Research Institute Co.,Ltd.

Country or region after: China

Patentee after: Huaxia Jianyu (Beijing) Ecological Environment Co.,Ltd.

Address before: 100190 unit 303, unit 2, 3 / F, building L1, courtyard a 69, Fushi Road, Haidian District, Beijing

Patentee before: Beijing Huidi Intelligent Technology Research Institute Co.,Ltd.

Country or region before: China

Patentee before: Beijing Lianlu ecological environment Co.,Ltd.