CN213788726U - A kind of leg massage device for nursing - Google Patents

A kind of leg massage device for nursing Download PDF

Info

Publication number
CN213788726U
CN213788726U CN202022243053.XU CN202022243053U CN213788726U CN 213788726 U CN213788726 U CN 213788726U CN 202022243053 U CN202022243053 U CN 202022243053U CN 213788726 U CN213788726 U CN 213788726U
Authority
CN
China
Prior art keywords
bolted
bottom plate
bearing
nursing
slider
Prior art date
Legal status (The legal status is an assumption and is not a legal conclusion. Google has not performed a legal analysis and makes no representation as to the accuracy of the status listed.)
Expired - Fee Related
Application number
CN202022243053.XU
Other languages
Chinese (zh)
Inventor
黄应美
杨阳
苏晓萍
Current Assignee (The listed assignees may be inaccurate. Google has not performed a legal analysis and makes no representation or warranty as to the accuracy of the list.)
Individual
Original Assignee
Individual
Priority date (The priority date is an assumption and is not a legal conclusion. Google has not performed a legal analysis and makes no representation as to the accuracy of the date listed.)
Filing date
Publication date
Application filed by Individual filed Critical Individual
Priority to CN202022243053.XU priority Critical patent/CN213788726U/en
Application granted granted Critical
Publication of CN213788726U publication Critical patent/CN213788726U/en
Expired - Fee Related legal-status Critical Current
Anticipated expiration legal-status Critical

Links

Images

Landscapes

  • Massaging Devices (AREA)

Abstract

本实用新型涉及医疗设备技术领域,且公开了一种护理用腿部按摩装置,包括底板,所述底板顶部的两侧均栓接有立杆,所述底板的顶部设置有圆环,所述圆环的表面转动连接有若干个按摩球,所述圆环的两侧均栓接有连接杆,所述连接杆的另一端套接有第一轴承,所述第一轴承的另一侧栓接有滑块,所述立杆的内部开设有与滑块相适配的滑槽,所述滑槽的内部与滑块滑动连接;本实用新型通过拉动按摩球,使按摩球带动滑块在滑槽的内部进行滑动,随后拧动限位螺栓,使限位螺栓对滑块进行限位固定,且完成了高度调节,从而适用于不同身高的人群,解决了现有的腿部按摩装置不能够有效根据使用需求进行高度调节的问题。

Figure 202022243053

The utility model relates to the technical field of medical equipment, and discloses a leg massage device for nursing. The surface of the ring is rotatably connected with several massage balls, both sides of the ring are bolted with connecting rods, the other end of the connecting rod is sleeved with a first bearing, and the other side of the first bearing is bolted A sliding block is connected, the inside of the vertical rod is provided with a sliding groove that is adapted to the sliding block, and the interior of the sliding groove is slidably connected with the sliding block; the utility model pulls the massage ball, so that the massage ball drives the sliding block in the sliding position. The inside of the chute slides, and then the limit bolts are screwed, so that the limit bolts limit and fix the slider, and the height adjustment is completed, which is suitable for people of different heights, and solves the problem of the existing leg massage device. The problem of being able to effectively adjust the height according to the needs of use.

Figure 202022243053

Description

Leg massage device for nursing
Technical Field
The utility model relates to the technical field of medical equipment, specifically a shank massage device is used in nursing.
Background
Neurological diseases often cause many other symptoms, wherein numbness and weakness of lower limbs are one of the most common complications, and paralysis can be caused if the condition is serious, so that in the nursing process after the treatment of the neurological diseases, the lower limb exercise nursing is extremely important, and the existing nursing mode mainly adopts hands to massage the legs of a patient to promote blood circulation.
Through massive retrieval, the Chinese utility model patent: application No.: 201920892686.8, publication No.: CN210472575U, the utility model discloses a shank massage device that medical care used relates to medical care technical field. The motor-driven gear box comprises a housing, three drive groove has been seted up to the inside of shell, there is the motor drive groove's inside, the top fixedly connected with movable rod of motor output shaft, the fixed cover in surface of movable rod has connect first gear. This shank massage device that medical care used, through setting up the motor, massage wheel and buffer, the motor makes first gear drive two second gear wheels and rotates, make two massage wheels together move, thereby carry out the rolling friction that lasts to patient's calf, the cooperation pneumatic cylinder drives buffer and carries out the slight striking of high-frequency to the both sides of shank, carry out the massage through calf and the both sides face to patient's shank, thereby the process of adopting manual operation has been avoided, the massage effect has been improved, make patient's pain obtain alleviating.
To sum up, current shank massage device can not effectively carry out altitude mixture control according to the user demand, still is not convenient for carry out three hundred sixty degrees massages to the shank simultaneously to reduce the device's practicality, for solving above-mentioned problem, we provide an outer tube baoding device for blood purifies.
SUMMERY OF THE UTILITY MODEL
An object of the utility model is to provide a shank massage device is used in nursing possesses the advantage that can carry out three hundred sixty degrees massage and can carry out altitude mixture control to the shank, has solved current shank massage device and can not effectively carry out altitude mixture control according to the user demand, still is not convenient for carry out the problem of three hundred sixty degrees massage to the shank simultaneously.
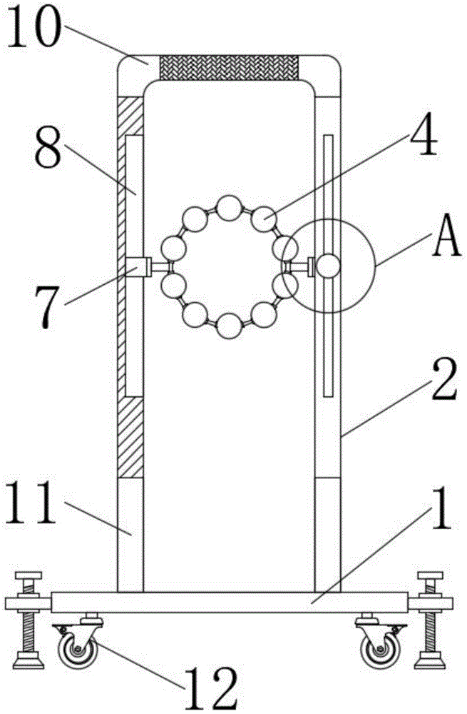
In order to achieve the above object, the utility model provides a following technical scheme: the utility model provides a shank massage device is used in nursing, includes the bottom plate, the equal bolt in both sides at bottom plate top has the pole setting, the top of bottom plate is provided with the ring, the surface of ring is rotated and is connected with a plurality of massage ball, the equal bolt in both sides of ring has the connecting rod, first bearing has been cup jointed to the other end of connecting rod, the opposite side bolt of first bearing has the slider, the spout with slider looks adaptation is seted up to the inside of pole setting, the inside and the slider sliding connection of spout, the positive threaded connection of slider has spacing bolt.
Preferably, the front surface of the upright rod is provided with a through groove matched with the limiting bolt, and the front surface of the sliding block is provided with a threaded hole matched with the limiting bolt.
Preferably, the top of the vertical rod is bolted with a handle, and the surface of the handle is sleeved with an anti-slip sleeve.
Preferably, the front and the back of the upright are bolted with reinforcing rods, and the other ends of the reinforcing rods are bolted with the bottom plate.
Preferably, universal wheels are bolted to two sides of the bottom plate, and the universal wheels are provided with locking devices.
Preferably, the two sides of the bottom plate are both bolted with fixing rods, the inner parts of the fixing rods are bolted with threaded sleeves, the inner threads of the threaded sleeves are connected with screw rods, and the tops of the screw rods are bolted with knobs.
Preferably, the bottom of the screw rod is sleeved with a second bearing, the bottom of the second bearing is bolted with a base, and the bottom of the base is bonded with an anti-skid pad.
Compared with the prior art, the beneficial effects of the utility model are as follows:
the utility model can drive the slide block to slide in the chute by pulling the massage ball, and then screw the limit bolt to limit and fix the slide block and complete the height adjustment, thereby being suitable for people with different heights and solving the problem that the existing leg massage device can not effectively adjust the height according to the use requirement;
the utility model discloses an insert the inside of ring with the shank, then use the shank to take out in the inside of ring and insert to can carry out the massage of three hundred sixty degrees to the shank through the cooperation of massage ball, solve current shank massage device and be not convenient for carry out the problem of three hundred sixty degrees massage to the shank.
Drawings
FIG. 1 is a front view of the present invention;
FIG. 2 is a partial front view of the present invention;
FIG. 3 is a side view of the present invention;
fig. 4 is a partially enlarged view of a portion a in fig. 1 according to the present invention.
In the figure: 1. a base plate; 2. erecting a rod; 3. a circular ring; 4. a massage ball; 5. a connecting rod; 6. a first bearing; 7. a slider; 8. a chute; 9. a limit bolt; 10. a handle; 11. a reinforcing rod; 12. a universal wheel; 13. fixing the rod; 14. a threaded sleeve; 15. a screw; 16. a knob; 17. a second bearing; 18. a base; 19. a non-slip mat.
Detailed Description
The technical solutions in the embodiments of the present invention will be described clearly and completely with reference to the accompanying drawings in the embodiments of the present invention, and it is obvious that the described embodiments are only some embodiments of the present invention, not all embodiments. Based on the embodiments in the present invention, all other embodiments obtained by a person skilled in the art without creative work belong to the protection scope of the present invention.
Referring to fig. 1, fig. 2, fig. 3 and fig. 4, the present invention provides an embodiment: a shank massage device is used in nursing, includes bottom plate 1, and the equal bolt in both sides at bottom plate 1 top has pole setting 2, and the top of bottom plate 1 is provided with ring 3, and ring 3's surperficial rotation is connected with a plurality of massage ball 4, and the equal bolt in both sides of ring 3 has connecting rod 5, and first bearing 6 has been cup jointed to the other end of connecting rod 5.
Further, the front and the back of pole setting 2 all are bolted with stiffener 11, and the other end and the 1 bolt of bottom plate of stiffener 11 are through setting up stiffener 11, can effectively strengthen the stability of pole setting 2.
Furthermore, universal wheels 12 are bolted to two sides of the bottom plate 1, locking devices are mounted on the universal wheels 12, and the device can be conveniently moved by a user through the arrangement of the universal wheels 12.
Further, both sides of the bottom plate 1 are bolted with fixing rods 13, the inner portion of each fixing rod 13 is bolted with a threaded sleeve 14, the inner threads of the threaded sleeves 14 are connected with screw rods 15, the top of each screw rod 15 is bolted with a knob 16, and the screw rods 15 can be effectively rotated by arranging the knobs 16.
Further, the bottom of screw rod 15 has cup jointed second bearing 17, and the bottom of second bearing 17 has bolted connection base 18, and the bottom of base 18 bonds has slipmat 19, through setting up base 18, can effectively support the device.
Referring to fig. 1, fig. 2, fig. 3 and fig. 4, the present invention provides an embodiment: the other side of the first bearing 6 is bolted with a sliding block 7, a sliding groove 8 matched with the sliding block 7 is formed in the upright rod 2, the sliding groove 8 is connected with the sliding block 7 in a sliding mode, and the front face of the sliding block 7 is in threaded connection with a limiting bolt 9.
Further, the front of the upright rod 2 is provided with a through groove matched with the limit bolt 9, the front of the sliding block 7 is provided with a threaded hole matched with the limit bolt 9, and the sliding block can be effectively matched with the limit bolt 9 to move through the through groove.
Further, the top of the upright rod 2 is bolted with a handle 10, the surface of the handle 10 is sleeved with an anti-slip sleeve, and the device can be conveniently pulled by a user through the handle 10.
The working principle is as follows: the user can stimulate massage ball 4 as required, makes massage ball 4 drive slider 7 and slides in the inside of spout 8, twists afterwards and moves limit bolt 9, makes limit bolt 9 carry out spacing fixed to slider 7 to accomplished altitude mixture control, the user can insert the inside of ring 3 with the shank afterwards, then uses the shank to take out in the inside of ring 3 and inserts, thereby can carry out three hundred sixty degrees massage to the shank through massage ball 4's cooperation.
It is noted that, herein, relational terms such as first and second, and the like may be used solely to distinguish one entity or action from another entity or action without necessarily requiring or implying any actual such relationship or order between such entities or actions. Also, the terms "comprises," "comprising," or any other variation thereof, are intended to cover a non-exclusive inclusion, such that a process, method, article, or apparatus that comprises a list of elements does not include only those elements but may include other elements not expressly listed or inherent to such process, method, article, or apparatus. Without further limitation, an element defined by the phrase "comprising an … …" does not exclude the presence of other identical elements in a process, method, article, or apparatus that comprises the element.
Although embodiments of the present invention have been shown and described, it will be appreciated by those skilled in the art that changes, modifications, substitutions and alterations can be made in these embodiments without departing from the principles and spirit of the invention, the scope of which is defined in the appended claims and their equivalents.

Claims (7)

1. The utility model provides a shank massage device is used in nursing, includes bottom plate (1), its characterized in that: the both sides at bottom plate (1) top all are bolted and have pole setting (2), the top of bottom plate (1) is provided with ring (3), the surface of ring (3) is rotated and is connected with a plurality of massage ball (4), the both sides of ring (3) all are bolted and have connecting rod (5), first bearing (6) have been cup jointed to the other end of connecting rod (5), the opposite side of first bearing (6) has been bolted and has been connected slider (7), spout (8) with slider (7) looks adaptation are seted up to the inside of pole setting (2), the inside and the slider (7) sliding connection of spout (8), the front threaded connection of slider (7) has stop bolt (9).
2. A leg massaging device for nursing according to claim 1, characterized in that: the front of the upright rod (2) is provided with a through groove matched with the limiting bolt (9), and the front of the sliding block (7) is provided with a threaded hole matched with the limiting bolt (9).
3. A leg massaging device for nursing according to claim 1, characterized in that: the top of the upright rod (2) is bolted with a handle (10), and the surface of the handle (10) is sleeved with an anti-slip sleeve.
4. A leg massaging device for nursing according to claim 1, characterized in that: the front and the back of the upright rod (2) are bolted with reinforcing rods (11), and the other ends of the reinforcing rods (11) are bolted with the bottom plate (1).
5. A leg massaging device for nursing according to claim 1, characterized in that: the universal wheels (12) are bolted to two sides of the bottom plate (1), and the universal wheels (12) are provided with locking devices.
6. A leg massaging device for nursing according to claim 1, characterized in that: the novel multifunctional floor is characterized in that fixing rods (13) are bolted to two sides of the bottom plate (1), threaded sleeves (14) are bolted to the inner portions of the fixing rods (13), threaded rods (15) are connected to the inner threads of the threaded sleeves (14), and knobs (16) are bolted to the tops of the threaded rods (15).
7. A leg massaging device for nursing according to claim 6, characterized in that: the bottom of the screw rod (15) is sleeved with a second bearing (17), the bottom of the second bearing (17) is bolted with a base (18), and the bottom of the base (18) is bonded with an anti-skid pad (19).
CN202022243053.XU 2020-10-10 2020-10-10 A kind of leg massage device for nursing Expired - Fee Related CN213788726U (en)

Priority Applications (1)

Application Number Priority Date Filing Date Title
CN202022243053.XU CN213788726U (en) 2020-10-10 2020-10-10 A kind of leg massage device for nursing

Applications Claiming Priority (1)

Application Number Priority Date Filing Date Title
CN202022243053.XU CN213788726U (en) 2020-10-10 2020-10-10 A kind of leg massage device for nursing

Publications (1)

Publication Number Publication Date
CN213788726U true CN213788726U (en) 2021-07-27

Family

ID=76957259

Family Applications (1)

Application Number Title Priority Date Filing Date
CN202022243053.XU Expired - Fee Related CN213788726U (en) 2020-10-10 2020-10-10 A kind of leg massage device for nursing

Country Status (1)

Country Link
CN (1) CN213788726U (en)

Cited By (1)

* Cited by examiner, † Cited by third party
Publication number Priority date Publication date Assignee Title
CN113712795A (en) * 2021-08-11 2021-11-30 浙江豪中豪健康产品有限公司 Multifunctional massage body-building device

Cited By (2)

* Cited by examiner, † Cited by third party
Publication number Priority date Publication date Assignee Title
CN113712795A (en) * 2021-08-11 2021-11-30 浙江豪中豪健康产品有限公司 Multifunctional massage body-building device
CN113712795B (en) * 2021-08-11 2023-12-01 浙江豪中豪健康产品有限公司 Multifunctional massage body-building apparatus

Similar Documents

Publication Publication Date Title
CN211023785U (en) Lower limb rehabilitation training bed
CN107802393A (en) Orthopedic rehabilitation nursing traction bracket
CN213788726U (en) A kind of leg massage device for nursing
CN112274382A (en) Exercise equipment for postoperative limb coordination rehabilitation of patient
CN113995650B (en) Neurosurgery is with auxiliary treatment equipment
CN112998975A (en) Medical bed convenient for rehabilitation training of bedridden patient
CN211301002U (en) Shank muscle rehabilitation and nursing device
TWM447771U (en) Manually operable exercise massager
CN115487006B (en) Orthopedics draw gear
CN214633645U (en) A bed resting exercise rehabilitation device for patients after cardiac surgery
CN207654394U (en) A kind of medical rehabilitation instrument
CN214714071U (en) A kind of neurology rehabilitation training device
CN213157456U (en) A surgical clinical auxiliary tool
CN110711126B (en) Calf muscle rehabilitation and nursing device
CN209430350U (en) Steplessly variable rigidity elastic energy storage element for exoskeleton
CN221617788U (en) Rotatable traditional Chinese medicine bone fracture recovery crutch
CN223311386U (en) Orthopedic lower limb rehabilitation nursing device
CN208770309U (en) A kind of medical obstetrics' postnatal care exercising apparatus
TWM550628U (en) Lower limb rehabilitation activator
CN221013805U (en) Medical physiotherapy couch capable of working in telescopic mode
CN110496015A (en) A lumbar intervertebral disc rehabilitation auxiliary correction device
CN221332472U (en) An adjustable infrared therapeutic device
CN113975101B (en) Upper limb orthopedics rehabilitation training chair
CN213698708U (en) Convenient-to-use exercise device for orthopedic rehabilitation
CN219050240U (en) Leg rehabilitation exercise device

Legal Events

Date Code Title Description
GR01 Patent grant
GR01 Patent grant
CF01 Termination of patent right due to non-payment of annual fee
CF01 Termination of patent right due to non-payment of annual fee

Granted publication date: 20210727