CN213505353U - 一种用于纺织纱线的缠绕机 - Google Patents
一种用于纺织纱线的缠绕机 Download PDFInfo
- Publication number
- CN213505353U CN213505353U CN202022573147.3U CN202022573147U CN213505353U CN 213505353 U CN213505353 U CN 213505353U CN 202022573147 U CN202022573147 U CN 202022573147U CN 213505353 U CN213505353 U CN 213505353U
- Authority
- CN
- China
- Prior art keywords
- fixedly connected
- fixed
- rod
- block
- mounting
- Prior art date
- Legal status (The legal status is an assumption and is not a legal conclusion. Google has not performed a legal analysis and makes no representation as to the accuracy of the status listed.)
- Expired - Fee Related
Links
- 238000004804 winding Methods 0.000 title claims abstract description 29
- 238000009987 spinning Methods 0.000 title description 6
- 238000005096 rolling process Methods 0.000 claims abstract description 6
- 230000003068 static effect Effects 0.000 claims description 21
- 230000005611 electricity Effects 0.000 claims description 14
- 238000009434 installation Methods 0.000 claims description 11
- 239000004753 textile Substances 0.000 claims description 8
- 230000000694 effects Effects 0.000 abstract description 9
- 238000009941 weaving Methods 0.000 abstract description 4
- 230000008030 elimination Effects 0.000 description 6
- 238000003379 elimination reaction Methods 0.000 description 6
- 238000000034 method Methods 0.000 description 5
- 238000010586 diagram Methods 0.000 description 2
- 238000012423 maintenance Methods 0.000 description 2
- 238000012986 modification Methods 0.000 description 2
- 230000004048 modification Effects 0.000 description 2
- 210000002268 wool Anatomy 0.000 description 2
- 230000009286 beneficial effect Effects 0.000 description 1
- 238000004891 communication Methods 0.000 description 1
- 238000010276 construction Methods 0.000 description 1
- 238000005034 decoration Methods 0.000 description 1
- 239000000428 dust Substances 0.000 description 1
- 239000000835 fiber Substances 0.000 description 1
- 238000009940 knitting Methods 0.000 description 1
- 238000004321 preservation Methods 0.000 description 1
- 238000012545 processing Methods 0.000 description 1
Images
Landscapes
- Yarns And Mechanical Finishing Of Yarns Or Ropes (AREA)
Abstract
本申请公开了一种用于纺织纱线的缠绕机,包括固定底座、支撑架、转动杆、收卷滚筒、张紧结构和除静电结构,所述固定底座的上表面处固定连接有两个支撑架,两个所述支撑架的顶端之间转动连接有转动杆,所述转动杆的弧形壁处固定连接有收卷滚筒,所述转动杆的一端处固定连接有第一转动轮,所述固定底座的上表面处固定安装有张紧结构,所述张紧结构包括安装板、导向杆、固定块、连接杆、固定台、固定杆、导向轮、伺服电机和螺纹杆。本装置结构合理,使用方便,通过张紧结构可以对进行收卷缠绕的纱线进行张紧,张紧效果方便调整,避免缠绕打结,使得缠绕收卷效果更好。
Description
技术领域
本申请涉及一种缠绕机,具体是一种用于纺织纱线的缠绕机。
背景技术
纱线是一种纺织品,用各种纺织纤维加工成一定细度的产品,用于织布、制绳、制线、针织和刺绣等,分为短纤维纱,连续长丝等;纱线的细度有多种表示方法,例如号数、公制支数、英制支数、旦尼尔等(见支数)。纱线的捻度用每米或每英寸的捻回数表示;毛纱及毛线一般用于纺织羊毛衫、毛裤、毛背心、围巾、帽子及手套和编织各种春秋季节服饰用品,除保暖外还有装饰作用。
纱线在进行缠绕收卷时,纱线可能因张紧度不足导致出现打结现象,影响加工,同时纱线通过摩擦容易出现静电,导致吸附灰尘。因此,针对上述问题提出一种用于纺织纱线的缠绕机。
发明内容
一种用于纺织纱线的缠绕机,包括固定底座、支撑架、转动杆、收卷滚筒、张紧结构和除静电结构;
所述固定底座的上表面处固定连接有两个支撑架,两个所述支撑架的顶端之间转动连接有转动杆,所述转动杆的弧形壁处固定连接有收卷滚筒,所述转动杆的一端处固定连接有第一转动轮,所述固定底座的上表面处固定安装有张紧结构,所述张紧结构包括安装板、导向杆、固定块、连接杆、固定台、固定杆、导向轮、伺服电机和螺纹杆,所述固定底座的上表面处固定连接有安装板,所述固定台的上表面处固定连接有固定杆的一端,所述固定杆的另一端处转动连接有导向轮,所述固定台的下表面两侧处均固定连接有连接杆的一端,两个所述连接杆的另一端处均固定连接有固定块,所述安装板的上表面一侧处固定连接有导向杆的一端,所述导向杆的另一端贯穿其中一个固定块且与固定块之间滑动连接,所述安装板的上表面另一侧处固定安装有伺服电机,所述伺服电机的输出轴末端处固定连接有螺纹杆的一端,所述螺纹杆的另一端贯穿另一个固定块且与固定块之间螺纹连接;
所述固定底座的上表面处固定安装有除静电结构,所述除静电结构包括第二支撑架、连接板、滑块、安装块、静电消除棒、气缸和L形固定杆,所述固定底座的上表面处固定连接有第二支撑架的一端,所述第二支撑架的另一端处固定连接有连接板,所述连接板的下表面处开设有滑槽,所述连接板的下表面滑槽内滑动连接有滑块,所述滑块的下表面处固定连接有安装块,所述安装块的下表面处固定安装有静电消除棒,所述连接板的上表面处固定安装有气缸,所述气缸的一端处固定连接有L形固定杆。
进一步地,所述支撑架的侧壁处固定安装有固定架,所述固定架上固定安装有驱动电机,所述驱动电机的输出轴末端处固定连接有第二转动轮,所述第二转动轮与第一转动轮之间套接有皮带。
进一步地,所述张紧结构共有三组,三组所述张紧结构等距安装在固定底座的上表面处。
进一步地,所述滑块的横截面为T形。
进一步地,所述安装块的一侧侧壁处开设有限位槽,所述L形固定杆的一端延伸至安装块的限位槽内。
本申请的有益效果是:本申请提供了一种具有除静电效果的用于纺织纱线的缠绕机。
附图说明
为了更清楚地说明本申请实施例或现有技术中的技术方案,下面将对实施例或现有技术描述中所需要使用的附图作简单地介绍,显而易见地,下面描述中的附图仅仅是本申请的一些实施例,对于本领域普通技术人员来讲,在不付出创造性劳动性的前提下,还可以根据这些附图获得其它的附图。
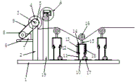
图1为本申请一种实施例的内部结构示意图;
图2为本申请一种实施例的图1中A处局部放大结构示意图;
图3为本申请一种实施例的导向轮的横截面结构示意图。
图中:1、固定底座,2、支撑架,3、转动杆,4、收卷滚筒,5、第一转动轮,6、固定架,7、驱动电机,8、第二转动轮,9、皮带,10、安装板,11、导向杆,12、固定块,13、连接杆,14、固定台,15、固定杆,16、导向轮,17、伺服电机,18、螺纹杆,19、第二支撑架,20、连接板,21、滑块,22、安装块,23、静电消除棒,24、气缸,25、L形固定杆。
具体实施方式
为了使本技术领域的人员更好地理解本申请方案,下面将结合本申请实施例中的附图,对本申请实施例中的技术方案进行清楚、完整地描述,显然,所描述的实施例仅仅是本申请一部分的实施例,而不是全部的实施例。基于本申请中的实施例,本领域普通技术人员在没有做出创造性劳动前提下所获得的所有其他实施例,都应当属于本申请保护的范围。
需要说明的是,本申请的说明书和权利要求书及上述附图中的术语“第一”、“第二”等是用于区别类似的对象,而不必用于描述特定的顺序或先后次序。应该理解这样使用的数据在适当情况下可以互换,以便这里描述的本申请的实施例。此外,术语“包括”和“具有”以及他们的任何变形,意图在于覆盖不排他的包含,例如,包含了一系列步骤或单元的过程、方法、系统、产品或设备不必限于清楚地列出的那些步骤或单元,而是可包括没有清楚地列出的或对于这些过程、方法、产品或设备固有的其它步骤或单元。
在本申请中,术语“上”、“下”、“左”、“右”、“前”、“后”、“顶”、“底”、“内”、“外”、“中”、“竖直”、“水平”、“横向”、“纵向”等指示的方位或位置关系为基于附图所示的方位或位置关系。这些术语主要是为了更好地描述本申请及其实施例,并非用于限定所指示的装置、元件或组成部分必须具有特定方位,或以特定方位进行构造和操作。
并且,上述部分术语除了可以用于表示方位或位置关系以外,还可能用于表示其他含义,例如术语“上”在某些情况下也可能用于表示某种依附关系或连接关系。对于本领域普通技术人员而言,可以根据具体情况理解这些术语在本申请中的具体含义。
此外,术语“安装”、“设置”、“设有”、“连接”、“相连”、“套接”应做广义理解。例如,可以是固定连接,可拆卸连接,或整体式构造;可以是机械连接,或电连接;可以是直接相连,或者是通过中间媒介间接相连,又或者是两个装置、元件或组成部分之间内部的连通。对于本领域普通技术人员而言,可以根据具体情况理解上述术语在本申请中的具体含义。
需要说明的是,在不冲突的情况下,本申请中的实施例及实施例中的特征可以相互组合。下面将参考附图并结合实施例来详细说明本申请。
请参阅图1-3所示,一种用于纺织纱线的缠绕机,包括固定底座1、支撑架2、转动杆3、收卷滚筒4、张紧结构和除静电结构;
所述固定底座1的上表面处固定连接有两个支撑架2,两个所述支撑架2的顶端之间转动连接有转动杆3,所述转动杆3的弧形壁处固定连接有收卷滚筒4,所述转动杆3的一端处固定连接有第一转动轮5,所述固定底座1的上表面处固定安装有张紧结构,所述张紧结构包括安装板10、导向杆11、固定块12、连接杆13、固定台14、固定杆15、导向轮16、伺服电机17和螺纹杆18,所述固定底座1的上表面处固定连接有安装板10,所述固定台14的上表面处固定连接有固定杆15的一端,所述固定杆15的另一端处转动连接有导向轮16,所述固定台14的下表面两侧处均固定连接有连接杆13的一端,两个所述连接杆13的另一端处均固定连接有固定块12,所述安装板10的上表面一侧处固定连接有导向杆11的一端,所述导向杆11的另一端贯穿其中一个固定块12且与固定块12之间滑动连接,所述安装板10的上表面另一侧处固定安装有伺服电机17,所述伺服电机17的输出轴末端处固定连接有螺纹杆18的一端,所述螺纹杆18的另一端贯穿另一个固定块12且与固定块12之间螺纹连接;
所述固定底座1的上表面处固定安装有除静电结构,所述除静电结构包括第二支撑架19、连接板20、滑块21、安装块22、静电消除棒23、气缸24和L形固定杆25,所述固定底座1的上表面处固定连接有第二支撑架19的一端,所述第二支撑架19的另一端处固定连接有连接板20,所述连接板20的下表面处开设有滑槽,所述连接板20的下表面滑槽内滑动连接有滑块21,所述滑块21的下表面处固定连接有安装块22,所述安装块22的下表面处固定安装有静电消除棒23,所述连接板20的上表面处固定安装有气缸24,所述气缸24的一端处固定连接有L形固定杆25。
所述支撑架2的侧壁处固定安装有固定架6,所述固定架6上固定安装有驱动电机7,所述驱动电机7的输出轴末端处固定连接有第二转动轮8,所述第二转动轮8与第一转动轮5之间套接有皮带9;所述张紧结构共有三组,三组所述张紧结构等距安装在固定底座1的上表面处;所述滑块21的横截面为T形;所述安装块22的一侧侧壁处开设有限位槽,所述L形固定杆25的一端延伸至安装块22的限位槽内。
本申请在使用时,首先,将纱线的一端依次绕过三个导向轮16,最后收卷在收卷滚筒4上,通过驱动电机7的工作带动第二转动轮8进行转动,进而带动皮带9移动,进而带动第一转动轮5转动,进而带动收卷滚筒4转动,对纱线进行缠绕收卷,纱线在收卷时,通过伺服电机17的工作带动螺纹杆18进行转动,进而使得固定块12进行移动,进而带动固定台14移动,进而调整导向轮16的高度,进而使得导向轮16与导向轮16之间形成高度差,进而对纱线进行张紧,通过调整导向轮16与导向轮16之间的高度差,可以对张紧的效果进行调整,避免纱线打结,纱线进行牵引移动时,通过静电消除棒23对纱线起到消除静电的效果,当静电消除棒23出现故障需要卸下时,通过气缸24的伸长带动L形固定杆25进行移动,进而带动L形固定杆25与安装块22分离,然后移动安装块22,使得安装块22带动滑块21与连接板20分离,即可将静电消除棒23从本装置上卸下,便于维修更换工作进行。
本申请的有益之处在于:
1.本装置结构合理,使用方便,通过张紧结构可以对进行收卷缠绕的纱线进行张紧,张紧效果方便调整,避免缠绕打结,使得缠绕收卷效果更好;
2.本装置具有除静电结构,通过除静电结构可以有效的对纱线上的静电去除,避免断头、飞花,纱线缠绕,同时静电消除棒可以较为方便的从本装置上卸下,便于维修工作进行。
以上所述仅为本申请的优选实施例而已,并不用于限制本申请,对于本领域的技术人员来说,本申请可以有各种更改和变化。凡在本申请的精神和原则之内,所作的任何修改、等同替换、改进等,均应包含在本申请的保护范围之内。
Claims (5)
1.一种用于纺织纱线的缠绕机,其特征在于:包括固定底座(1)、支撑架(2)、转动杆(3)、收卷滚筒(4)、张紧结构和除静电结构;
所述固定底座(1)的上表面处固定连接有两个支撑架(2),两个所述支撑架(2)的顶端之间转动连接有转动杆(3),所述转动杆(3)的弧形壁处固定连接有收卷滚筒(4),所述转动杆(3)的一端处固定连接有第一转动轮(5),所述固定底座(1)的上表面处固定安装有张紧结构,所述张紧结构包括安装板(10)、导向杆(11)、固定块(12)、连接杆(13)、固定台(14)、固定杆(15)、导向轮(16)、伺服电机(17)和螺纹杆(18),所述固定底座(1)的上表面处固定连接有安装板(10),所述固定台(14)的上表面处固定连接有固定杆(15)的一端,所述固定杆(15)的另一端处转动连接有导向轮(16),所述固定台(14)的下表面两侧处均固定连接有连接杆(13)的一端,两个所述连接杆(13)的另一端处均固定连接有固定块(12),所述安装板(10)的上表面一侧处固定连接有导向杆(11)的一端,所述导向杆(11)的另一端贯穿其中一个固定块(12)且与固定块(12)之间滑动连接,所述安装板(10)的上表面另一侧处固定安装有伺服电机(17),所述伺服电机(17)的输出轴末端处固定连接有螺纹杆(18)的一端,所述螺纹杆(18)的另一端贯穿另一个固定块(12)且与固定块(12)之间螺纹连接;
所述固定底座(1)的上表面处固定安装有除静电结构,所述除静电结构包括第二支撑架(19)、连接板(20)、滑块(21)、安装块(22)、静电消除棒(23)、气缸(24)和L形固定杆(25),所述固定底座(1)的上表面处固定连接有第二支撑架(19)的一端,所述第二支撑架(19)的另一端处固定连接有连接板(20),所述连接板(20)的下表面处开设有滑槽,所述连接板(20)的下表面滑槽内滑动连接有滑块(21),所述滑块(21)的下表面处固定连接有安装块(22),所述安装块(22)的下表面处固定安装有静电消除棒(23),所述连接板(20)的上表面处固定安装有气缸(24),所述气缸(24)的一端处固定连接有L形固定杆(25)。
2.根据权利要求1所述的一种用于纺织纱线的缠绕机,其特征在于:所述支撑架(2)的侧壁处固定安装有固定架(6),所述固定架(6)上固定安装有驱动电机(7),所述驱动电机(7)的输出轴末端处固定连接有第二转动轮(8),所述第二转动轮(8)与第一转动轮(5)之间套接有皮带(9)。
3.根据权利要求1所述的一种用于纺织纱线的缠绕机,其特征在于:所述张紧结构共有三组,三组所述张紧结构等距安装在固定底座(1)的上表面处。
4.根据权利要求1所述的一种用于纺织纱线的缠绕机,其特征在于:所述滑块(21)的横截面为T形。
5.根据权利要求1所述的一种用于纺织纱线的缠绕机,其特征在于:所述安装块(22)的一侧侧壁处开设有限位槽,所述L形固定杆(25)的一端延伸至安装块(22)的限位槽内。
Priority Applications (1)
| Application Number | Priority Date | Filing Date | Title |
|---|---|---|---|
| CN202022573147.3U CN213505353U (zh) | 2020-11-10 | 2020-11-10 | 一种用于纺织纱线的缠绕机 |
Applications Claiming Priority (1)
| Application Number | Priority Date | Filing Date | Title |
|---|---|---|---|
| CN202022573147.3U CN213505353U (zh) | 2020-11-10 | 2020-11-10 | 一种用于纺织纱线的缠绕机 |
Publications (1)
| Publication Number | Publication Date |
|---|---|
| CN213505353U true CN213505353U (zh) | 2021-06-22 |
Family
ID=76422314
Family Applications (1)
| Application Number | Title | Priority Date | Filing Date |
|---|---|---|---|
| CN202022573147.3U Expired - Fee Related CN213505353U (zh) | 2020-11-10 | 2020-11-10 | 一种用于纺织纱线的缠绕机 |
Country Status (1)
| Country | Link |
|---|---|
| CN (1) | CN213505353U (zh) |
Cited By (2)
| Publication number | Priority date | Publication date | Assignee | Title |
|---|---|---|---|---|
| CN115140610A (zh) * | 2022-07-15 | 2022-10-04 | 淮安市盛通特种电缆有限公司 | 一种适用于室内电缆收卷切割装置及其操作方法 |
| CN118745618A (zh) * | 2024-06-25 | 2024-10-08 | 临沂市奥博纺织制线有限公司 | 一种耐拉力纺织纱线的制备方法及设备 |
-
2020
- 2020-11-10 CN CN202022573147.3U patent/CN213505353U/zh not_active Expired - Fee Related
Cited By (4)
| Publication number | Priority date | Publication date | Assignee | Title |
|---|---|---|---|---|
| CN115140610A (zh) * | 2022-07-15 | 2022-10-04 | 淮安市盛通特种电缆有限公司 | 一种适用于室内电缆收卷切割装置及其操作方法 |
| CN115140610B (zh) * | 2022-07-15 | 2024-05-28 | 淮安市盛通特种电缆有限公司 | 一种适用于室内电缆收卷切割装置及其操作方法 |
| CN118745618A (zh) * | 2024-06-25 | 2024-10-08 | 临沂市奥博纺织制线有限公司 | 一种耐拉力纺织纱线的制备方法及设备 |
| CN118745618B (zh) * | 2024-06-25 | 2025-04-22 | 临沂市奥博纺织制线有限公司 | 一种耐拉力纺织纱线的制备方法及设备 |
Similar Documents
| Publication | Publication Date | Title |
|---|---|---|
| CN208994867U (zh) | 一种精密络筒设备 | |
| CN213505353U (zh) | 一种用于纺织纱线的缠绕机 | |
| CN114044403B (zh) | 一种用于纺织加工的纺织纱线缠线收卷机构 | |
| CN221318705U (zh) | 一种纱线防止拉扯断线的均匀收卷装置 | |
| CN109943929B (zh) | 纺织棉线加工、捻线结构装置 | |
| CN110172766A (zh) | 一种用于纺织的整经装置 | |
| CN206545073U (zh) | 一种纱线加捻卷绕装置 | |
| CN210287672U (zh) | 一种纱线用的高速起毛机 | |
| CN208308094U (zh) | 一种用于针织纱线的收线装置 | |
| CN109097874A (zh) | 一种段彩纱加工装置 | |
| CN105129507A (zh) | 一种改进后的并线机 | |
| CN208869082U (zh) | 一种纱线生产用卷线装置 | |
| CN208135543U (zh) | 一种毛条放卷机构 | |
| CN100415963C (zh) | 包芯纱纺纱装置 | |
| CN216836563U (zh) | 用于加工纺织手套的引线装置 | |
| CN216998740U (zh) | 一种用于纺织纱线的牵伸装置 | |
| CN2903107Y (zh) | 包芯纱纺纱装置 | |
| CN210916442U (zh) | 一种用于纺织的整经装置 | |
| CN213294274U (zh) | 一种纺织用纱线卷取张紧装置 | |
| CN204980598U (zh) | 一种改进后的并线机 | |
| CN206721416U (zh) | 一种色纺纱加工用进纱装置 | |
| CN219218266U (zh) | 一种包芯纱线生产用并条装置 | |
| CN102704075B (zh) | 长丝分束二轴系展丝器及应用 | |
| CN207079345U (zh) | 一种织带机 | |
| CN216445532U (zh) | 一种纱线生产装置 |
Legal Events
| Date | Code | Title | Description |
|---|---|---|---|
| GR01 | Patent grant | ||
| GR01 | Patent grant | ||
| CF01 | Termination of patent right due to non-payment of annual fee | ||
| CF01 | Termination of patent right due to non-payment of annual fee |
Granted publication date: 20210622 Termination date: 20211110 |