CN213032716U - A carbon residue crushing device - Google Patents

A carbon residue crushing device Download PDF

Info

Publication number
CN213032716U
CN213032716U CN202021741211.8U CN202021741211U CN213032716U CN 213032716 U CN213032716 U CN 213032716U CN 202021741211 U CN202021741211 U CN 202021741211U CN 213032716 U CN213032716 U CN 213032716U
Authority
CN
China
Prior art keywords
crushing
impact
crusher
frame body
crushing chamber
Prior art date
Legal status (The legal status is an assumption and is not a legal conclusion. Google has not performed a legal analysis and makes no representation as to the accuracy of the status listed.)
Expired - Fee Related
Application number
CN202021741211.8U
Other languages
Chinese (zh)
Inventor
王凯
张利
王召贤
姚元林
张世顺
Current Assignee (The listed assignees may be inaccurate. Google has not performed a legal analysis and makes no representation or warranty as to the accuracy of the list.)
Jiangsu Jianglong New Material Technology Co ltd
Original Assignee
Jiangsu Jianglong New Material Technology Co ltd
Priority date (The priority date is an assumption and is not a legal conclusion. Google has not performed a legal analysis and makes no representation as to the accuracy of the date listed.)
Filing date
Publication date
Application filed by Jiangsu Jianglong New Material Technology Co ltd filed Critical Jiangsu Jianglong New Material Technology Co ltd
Priority to CN202021741211.8U priority Critical patent/CN213032716U/en
Application granted granted Critical
Publication of CN213032716U publication Critical patent/CN213032716U/en
Expired - Fee Related legal-status Critical Current
Anticipated expiration legal-status Critical

Links

Images

Landscapes

  • Crushing And Grinding (AREA)

Abstract

本实用新型涉及一种炭素残极破碎装置,包括架体;架体内设有进料口、第一破碎室、第二破碎室;第一破碎室内设有第一破碎器、第一仓壁;第一破碎器包括冲击头、驱动冲击头往复运动的冲击油缸;第二破碎室内设有第二破碎器、第二仓壁;第二破碎器包括碾台、连接在架体上驱动碾台转动的驱动电机;第二仓壁上设有与碾台相匹配的凹凸面;驱动电机的输出轴从下往上依次连接有碾台、差速器;架体侧壁底部设有供输送破碎物的启闭门。本实用新型结构设计合理,通过对残极的坚硬外壳进行多级冲击破裂并对破碎料进行碾压研磨,有效的提高了残极炭素和硬壳的分离效率,并通过同轴心的多级锥台作为冲击头有效的提高了物料的冲击破碎效率。

Figure 202021741211

The utility model relates to a carbon residue crushing device, which comprises a frame body; the frame body is provided with a feeding port, a first crushing chamber and a second crushing chamber; the first crushing chamber is provided with a first crusher and a first warehouse wall; The first crusher includes an impact head and an impact oil cylinder that drives the impact head to reciprocate; the second crushing chamber is provided with a second crusher and a second warehouse wall; the second crusher includes a grinding table, which is connected to the frame to drive the rolling table to rotate The second silo wall is provided with a concave and convex surface that matches the grinding table; the output shaft of the driving motor is connected with the grinding table and the differential in order from bottom to top; the bottom of the side wall of the frame is provided with a conveyor for crushing objects opening and closing door. The utility model has a reasonable structure design. By performing multi-stage impact rupture on the hard shell of the residual pole and rolling and grinding the crushed material, the separation efficiency of the residual pole carbon and the hard shell is effectively improved. As the impact head, the cone frustum effectively improves the impact crushing efficiency of the material.

Figure 202021741211

Description

Carbon anode scrap crushing device
Technical Field
The utility model belongs to the technical field of the plain processing equipment of charcoal and specifically relates to a plain anode scrap breaker of charcoal.
Background
During the service life of the anode carbon block, when the anode carbon block is used for a certain time, the carbon block becomes very thin, and in order to prevent the anode steel claw from being melted by electrolyte, a new anode carbon block group is needed to be replaced. These residual carbon blocks are taken out and called anode scrap. The anode scrap is in contact with the electrolyte for a long time, contains a high electrolyte component, and is often accompanied by a crust formed by the electrolyte. Chinese patent document No. CN101347754B discloses a residual anode extrusion crusher. The structure is as follows: feed mechanism and hydro-cylinder device install on the organism, and feed mechanism's inboard is equipped with fixed tooth plate, and fixed tooth plate installs on the organism, and hydro-cylinder device's inboard is connected with the adjustable tooth plate, and the check sieve is installed on the organism, and the check sieve setting is between fixed tooth plate and adjustable tooth plate, fixed tooth plate and adjustable tooth plate phase-match. The invention has simple structure, safe and convenient use, sensitive response and easy realization, improves the crushing efficiency, improves the production environment and reduces the labor intensity of workers. However, most of the existing crushing devices only adopt impact crushing as crushing equipment, but the crushing efficiency is low, the failure rate is high, and the crushing is small.
SUMMERY OF THE UTILITY MODEL
An object of the utility model is to provide a carbon residual anode breaker for solve the problem that current breaker crushing efficiency is low, breakage ratio is little.
In order to solve the problems, the utility model provides a carbon anode scrap crushing device, which comprises a frame body; a feed inlet for feeding materials, a first crushing chamber for primarily crushing the materials and a second crushing chamber for further finely crushing the materials are sequentially arranged in the frame body from top to bottom; a first crusher for primarily crushing materials and a first bin wall which is matched with the first crusher and guides the materials to gather and fall are arranged in the first crushing chamber; the first crusher comprises an impact head for impacting and crushing materials and an impact oil cylinder which is fixed on the frame body and drives the impact head to reciprocate; a second crusher and a second bin wall matched with the second crusher for crushing materials are arranged in the second crushing chamber; the second crusher comprises a grinding table for rotatably grinding crushed materials and a driving motor connected to the frame body and driving the grinding table to rotate; the wall of the second bin is provided with a concave-convex surface matched with the grinding table; an output shaft of the driving motor is sequentially connected with the grinding table and the differential mechanism from bottom to top; the bottom of the side wall of the frame body is provided with an opening and closing door for conveying the crushed objects.
The utility model provides a carbon residual anode breaker still has following technical characteristic:
furthermore, an openable cover plate is hinged to the feed inlet.
Furthermore, the impact head is provided with a first frustum which is close to the direction of the impact oil cylinder and is reduced in sequence, and a coaxial multi-stage frustum which is reduced in sequence and reduces the gap between the impact oil cylinder and the first bin wall in sequence and is far away from the direction of the impact oil cylinder.
Furthermore, the bottom of the first crushing chamber is provided with a grid plate for bearing and stopping the primarily broken materials from impacting the grinding table.
Further, the differential mechanism is arranged at the bottom of the grating plate and is connected with a cleaning plate which penetrates through the grating plate and is arranged in the first crushing chamber.
Furthermore, a guide rod which guides the impact head to reciprocate and is fixed on the frame body is arranged in the first crushing chamber; and a blind road matched with the guide rod is arranged at the bottom of the impact head.
Furthermore, a conical shunting table for guiding shunted materials is arranged on the grinding table.
The utility model discloses following beneficial effect has: the utility model has the advantages of reasonable design, simple structure, through assaulting crushing equipment and rolling crushing equipment and combining, carry out multistage impact to the hard shell of residual anode and break and roll the grinding to broken material, the effectual separation efficiency who improves residual anode carbon and crust to through the effectual impact crushing efficiency who improves the material of impact head with the multistage frustum of axle center, and very big improvement the broken ratio of residual anode, the later stage of being convenient for is to the collection processing of material.
Drawings
Fig. 1 is a schematic structural diagram of an embodiment of the present invention;
fig. 2 is a schematic structural section view of an embodiment of the present invention;
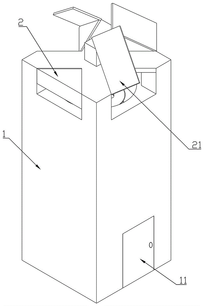
in the figure: 1-frame body, 11-opening and closing door, 2-feeding hole, 21-cover plate, 3-first crushing chamber, 31-first bin wall, 32-grid plate, 33-guide rod, 4-second crushing chamber, 41-second bin wall, 42-concave-convex surface, 5-first crusher, 51-impact head, 511-first cone, 52-impact oil cylinder, 53-blind road, 6-second crusher, 61-driving motor, 62-grinding table, 621-conical flow dividing table, 63-differential mechanism and 64-cleaning plate.
Detailed Description
The present invention will be described in detail below with reference to the accompanying drawings in conjunction with embodiments. It should be noted that, in the present invention, the embodiments and features of the embodiments may be combined with each other without conflict.
Fig. 1 and 2 show an embodiment of a carbon anode scrap crushing device according to the present invention, which comprises a frame body 1; a feed inlet 2 for materials to enter, a first crushing chamber 3 for primarily crushing the materials and a second crushing chamber 4 for further finely crushing the materials are sequentially arranged in the frame body 1 from top to bottom; a first crusher 5 for primarily crushing materials and a first bin wall 31 which is matched with the first crusher 5 and guides the materials to gather and fall are arranged in the first crushing chamber 3; the first crusher 5 comprises an impact head 51 for impacting and crushing materials and an impact oil cylinder 52 which is fixed on the frame body 1 and drives the impact head 51 to reciprocate; a second crusher 6 and a second bin wall 41 matched with the second crusher 6 for crushing materials are arranged in the second crushing chamber 4; the second crusher 6 comprises a grinding table 62 for rotatably grinding and crushing materials and a driving motor 61 connected to the frame body 1 for driving the grinding table 62 to rotate; the second bin wall 41 is provided with a concave-convex surface 42 matched with the grinding table 62; an output shaft of the driving motor 61 is sequentially connected with a grinding table 62 and a differential 63 from bottom to top; the bottom of the side wall of the frame body 1 is provided with an opening and closing door 11 for conveying broken objects. Impact breaker through designing vertical direction material rolls the breakage with rotatory platform of rolling, carries out the stage crush to the material, directly strikes broken back with the outside hard shell of anode scrap material, adopts rotatory platform of rolling to further separate the crust in the tiny piece of inside with inside carbon, further improves the broken ratio and the crushing efficiency of anode scrap, guarantees the abundant breakage of material.
Specifically, an openable/closable cover plate 21 is hinged to the feed port 2. Through the openable cover plate, the feeding of the frame body is ensured to be smooth, and meanwhile, the dust pollution caused by the scattering of chips in the crushing process is also avoided.
Specifically, the impact head 51 is provided with a first frustum 511 which is tapered toward the impact cylinder 52 in the direction away from the impact cylinder 52, and a coaxial multistage frustum which is tapered toward the impact cylinder 52 in the direction away from the impact cylinder 52 and has a gap with the first bulkhead 31 in the order of decreasing. Through shunting the first frustum to the material and guiding to first bulkhead to through designing into the design of multistage frustum impact head that piles up, form obvious ladder nature interval with first bulkhead, realized the multistage stage breakage to the material, carry out fracturing breakage effectual realization to the separation processing of carbon with the crust of anode scrap, be convenient for to the collection processing of anode scrap.
Specifically, the bottom of the first crushing chamber 3 is provided with a grating 32 for receiving and blocking the impact of the primarily fractured material on the grinding table 62. The material that breaks away from first bulkhead is blocked through designing the check board, and the effectual direct impact who reduces the material heap and grind the platform reduces the loss of equipment.
Specifically, the differential 63 is provided at the bottom of the grating 32, and a cleaning plate 64 provided in the first crushing chamber 3 through the grating 32 is connected thereto. The cleaning plate is effectively cleaned by the differential mechanism connection control, so that the sufficient flowing of materials is guaranteed, and the sufficient crushing of the materials is guaranteed.
Specifically, a guide rod 33 which guides the impact head 51 to reciprocate and is fixed on the frame body 1 is arranged in the first crushing chamber 3; the bottom of the impact head 51 is provided with a blind passage 53 matched with the guide rod 33. The guide rod is designed to guide the impact head, so that the moving direction of the impact head in the impact process is effectively ensured, the smooth impact and crushing of materials are ensured, and the impact equipment is prevented from deviating.
Specifically, a conical diversion table 621 for guiding the diverted material is arranged on the grinding table 62.
The working principle is as follows: an operator opens the cover plate 21 to open the feeding hole 2, after the impact oil cylinder 52 is started, anode scrap materials are released through the feeding hole 2 to enter the first crushing chamber 3, are gathered on the first bin wall 31 under the guide of the first frustum 511, form fine fragments with the particle diameter smaller than the aperture of the grating 32 to move downwards under the impact crushing of the impact head 51 combined by the multistage frustums, weaken the impact damage of the small crushed materials on the second crusher 6 under the cleaning action of the primary blocking and cleaning plate 64 of the grating 32, shunt and gather on the second bin wall 41 through the tapered shunt table 621 after the materials fall through the grating 32, further crush and grind the materials in gaps gradually reduced from top to bottom through the second bin wall 41 of the shunt table 62 under the action of the rolling table 62 driven by the driving motor 61, collect and clean the materials through the opening and closing door 11 after further crush and grind the materials, further improve the crushing efficiency of material, the effectual crushing ratio that improves the material to the separation of carbon and crust has effectively been realized.
Finally, it should be noted that: the above embodiments are only used to illustrate the technical solution of the present invention, and not to limit it; although the present invention has been described in detail with reference to the foregoing embodiments, it should be understood by those skilled in the art that: the technical solutions described in the foregoing embodiments may still be modified, or some technical features may be equivalently replaced; such modifications and substitutions do not depart from the spirit and scope of the present invention in its corresponding aspects.

Claims (7)

1.一种炭素残极破碎装置,其特征在于:包括架体(1);所述架体(1)内从上向下依次设有供物料进入的进料口(2)、对物料进行初步破碎的第一破碎室(3)、对物料进行进一步精细破碎的第二破碎室(4);所述第一破碎室(3)内设有初步破碎物料的第一破碎器(5)、与所述第一破碎器(5)相匹配且引导物料向其聚集并下落的第一仓壁(31);所述第一破碎器(5)包括冲击破碎物料的冲击头(51)、固定在所述架体(1)上驱动所述冲击头(51)往复运动的冲击油缸(52);所述第二破碎室(4)内设有第二破碎器(6)、与所述第二破碎器(6)相匹配破碎物料的第二仓壁(41);所述第二破碎器(6)包括旋转碾压破碎物料的碾台(62)、连接在所述架体(1)上驱动所述碾台(62)转动的驱动电机(61);所述第二仓壁(41)上设有与所述碾台(62)相匹配的凹凸面(42);所述驱动电机(61)的输出轴从下往上依次连接有所述碾台(62)、差速器(63);所述架体(1)侧壁底部设有供输送破碎物的启闭门(11)。1. A carbon residue crushing device, characterized in that: it comprises a frame body (1); the frame body (1) is sequentially provided with a feed port (2) for the material to enter from top to bottom in the frame body (1), and the material is A first crushing chamber (3) for preliminary crushing, and a second crushing chamber (4) for further fine crushing of materials; the first crushing chamber (3) is provided with a first crusher (5) for preliminary crushing of materials, A first warehouse wall (31) matched with the first crusher (5) and guiding the material to gather and fall; the first crusher (5) includes an impact head (51) for impacting the crushed material, a fixed An impact cylinder (52) that drives the impact head (51) to reciprocate on the frame body (1); The second crusher (6) is matched with the second silo wall (41) of the crushed material; the second crusher (6) comprises a rolling table (62) that rotates and crushes the crushed material, and is connected to the frame body (1) a driving motor (61) for driving the rolling table (62) to rotate; the second warehouse wall (41) is provided with a concave-convex surface (42) matching the rolling table (62); the driving motor The output shaft of (61) is sequentially connected with the grinding table (62) and the differential (63) from bottom to top; the bottom of the side wall of the frame body (1) is provided with an opening and closing door (11) for conveying crushed objects ). 2.根据权利要求1所述的炭素残极破碎装置,其特征在于:所述进料口(2)上铰接有可开闭的盖板(21)。2 . The carbon residue crushing device according to claim 1 , wherein an openable and closable cover plate ( 21 ) is hingedly connected to the feed port ( 2 ). 3 . 3.根据权利要求1所述的炭素残极破碎装置,其特征在于:所述冲击头(51)沿远离所述冲击油缸(52)的方向依次设有向靠近所述冲击油缸(52)方向缩小的第一锥台(511)、向远离所述冲击油缸(52)方向依次缩小且与所述第一仓壁(31)的间隙依次减少的同轴心多级锥台。3. The carbon residual electrode crushing device according to claim 1, characterized in that: the impact head (51) is sequentially provided in a direction away from the impact cylinder (52) in a direction close to the impact cylinder (52). The first conical frustum (511) which is reduced, and the concentric multi-stage frustum which are successively reduced in the direction away from the impact oil cylinder (52) and the gap with the first bin wall (31) is successively reduced. 4.根据权利要求1所述的炭素残极破碎装置,其特征在于:所述第一破碎室(3)底部设有承接阻拦初步破裂物料冲击所述碾台(62)的格板(32)。4. The carbon residual electrode crushing device according to claim 1, characterized in that: the bottom of the first crushing chamber (3) is provided with a grid plate (32) for receiving and blocking the initially broken material from impacting the grinding table (62). . 5.根据权利要求4所述的炭素残极破碎装置,其特征在于:所述差速器(63)设置在所述格板(32)底部并连接有贯穿所述格板(32)设置在所述第一破碎室(3)内的清扫板(64)。5 . The carbon residue crushing device according to claim 4 , wherein the differential device ( 63 ) is arranged at the bottom of the grid plate ( 32 ) and is connected with a through-the-grid plate ( 32 ) arranged at the bottom of the grid plate ( 32 ). 6 . The cleaning plate (64) in the first crushing chamber (3). 6.根据权利要求1所述的炭素残极破碎装置,其特征在于:所述第一破碎室(3)内设有引导所述冲击头(51)往复运动且固定在所述架体(1)上的导杆(33);所述冲击头(51)底部设有与所述导杆(33)相匹配的盲道(53)。6 . The carbon residual electrode crushing device according to claim 1 , wherein the first crushing chamber ( 3 ) is provided with a guide for reciprocating movement of the impact head ( 51 ) and is fixed on the frame body ( 1 ). 7 . ) on the guide rod (33); the bottom of the impact head (51) is provided with a blind channel (53) matching the guide rod (33). 7.根据权利要求1所述的炭素残极破碎装置,其特征在于:所述碾台(62)上设有引导分流物料的锥形分流台(621)。7. The device for crushing carbon residues according to claim 1, characterized in that: the grinding table (62) is provided with a conical distribution table (621) for guiding the material to be distributed.
CN202021741211.8U 2020-08-19 2020-08-19 A carbon residue crushing device Expired - Fee Related CN213032716U (en)

Priority Applications (1)

Application Number Priority Date Filing Date Title
CN202021741211.8U CN213032716U (en) 2020-08-19 2020-08-19 A carbon residue crushing device

Applications Claiming Priority (1)

Application Number Priority Date Filing Date Title
CN202021741211.8U CN213032716U (en) 2020-08-19 2020-08-19 A carbon residue crushing device

Publications (1)

Publication Number Publication Date
CN213032716U true CN213032716U (en) 2021-04-23

Family

ID=75532089

Family Applications (1)

Application Number Title Priority Date Filing Date
CN202021741211.8U Expired - Fee Related CN213032716U (en) 2020-08-19 2020-08-19 A carbon residue crushing device

Country Status (1)

Country Link
CN (1) CN213032716U (en)

Cited By (1)

* Cited by examiner, † Cited by third party
Publication number Priority date Publication date Assignee Title
CN114145369A (en) * 2021-11-17 2022-03-08 许冉 Tea active ingredient physical primary extraction system

Cited By (1)

* Cited by examiner, † Cited by third party
Publication number Priority date Publication date Assignee Title
CN114145369A (en) * 2021-11-17 2022-03-08 许冉 Tea active ingredient physical primary extraction system

Similar Documents

Publication Publication Date Title
CN211706891U (en) Reducing mechanism for building rubbish
CN115921031B (en) Petroleum coke grinding powder processing and forming device
CN213669506U (en) Ore is breaker many times
CN213032716U (en) A carbon residue crushing device
CN210846497U (en) Crusher for recycling dust
CN209663404U (en) A kind of crushing high molecular material equipment with dust reduction capability
CN209985544U (en) Novel ore crushing device
CN215784017U (en) Gyratory crusher
CN217120389U (en) Even reducing mechanism of solid material
CN215703232U (en) Waste rubber crusher
CN117244664A (en) An anti-splash drum type coal gangue crusher
CN211526453U (en) Boiler waste residue pretreatment equipment
CN211989118U (en) Feeding device of superfine vertical flour mill
CN211160016U (en) Metal material's reducing mechanism
CN214346840U (en) Recycling device for adobe leftover materials
CN207825279U (en) A kind of plastic breaker
CN211755632U (en) Dust-proof coal gangue crushing device
CN206152879U (en) Negative pressure coal sample reduction device
CN117983379B (en) Broken recovery unit of steel scrap
CN221536819U (en) Alkali-activated concrete processing pulverizer
CN219111872U (en) Stone crushing system
CN220277132U (en) Hammer crusher with dust raising prevention function
CN222197157U (en) A hammer crushing device for ultrafine powder production
CN221514673U (en) High-efficiency stone crusher
CN222219806U (en) A steel bar shredder with combined cutter disc

Legal Events

Date Code Title Description
GR01 Patent grant
GR01 Patent grant
CF01 Termination of patent right due to non-payment of annual fee

Granted publication date: 20210423

CF01 Termination of patent right due to non-payment of annual fee