CN212759887U - 一种彩色涂膜玻璃用双面清洗装置 - Google Patents
一种彩色涂膜玻璃用双面清洗装置 Download PDFInfo
- Publication number
- CN212759887U CN212759887U CN202021723296.7U CN202021723296U CN212759887U CN 212759887 U CN212759887 U CN 212759887U CN 202021723296 U CN202021723296 U CN 202021723296U CN 212759887 U CN212759887 U CN 212759887U
- Authority
- CN
- China
- Prior art keywords
- spray tube
- curb plate
- roller bearing
- glass
- cleaning device
- Prior art date
- Legal status (The legal status is an assumption and is not a legal conclusion. Google has not performed a legal analysis and makes no representation as to the accuracy of the status listed.)
- Expired - Fee Related
Links
- 239000011521 glass Substances 0.000 title claims abstract description 52
- 238000004140 cleaning Methods 0.000 title claims abstract description 25
- 239000007921 spray Substances 0.000 claims abstract description 51
- 238000009826 distribution Methods 0.000 claims abstract description 8
- 238000005201 scrubbing Methods 0.000 claims description 24
- 238000004519 manufacturing process Methods 0.000 abstract description 8
- 239000011248 coating agent Substances 0.000 description 5
- 238000000576 coating method Methods 0.000 description 5
- 230000001681 protective effect Effects 0.000 description 5
- XLYOFNOQVPJJNP-UHFFFAOYSA-N water Substances O XLYOFNOQVPJJNP-UHFFFAOYSA-N 0.000 description 5
- 238000000034 method Methods 0.000 description 3
- 239000005357 flat glass Substances 0.000 description 2
- 238000009434 installation Methods 0.000 description 2
- 239000007788 liquid Substances 0.000 description 2
- 238000012423 maintenance Methods 0.000 description 2
- 239000002904 solvent Substances 0.000 description 2
- 238000011144 upstream manufacturing Methods 0.000 description 2
- 238000005406 washing Methods 0.000 description 2
- 239000012459 cleaning agent Substances 0.000 description 1
- 230000003749 cleanliness Effects 0.000 description 1
- 239000003086 colorant Substances 0.000 description 1
- 238000005034 decoration Methods 0.000 description 1
- 239000000428 dust Substances 0.000 description 1
- 239000000835 fiber Substances 0.000 description 1
- 239000006260 foam Substances 0.000 description 1
- 239000000463 material Substances 0.000 description 1
- 230000003287 optical effect Effects 0.000 description 1
- 238000005507 spraying Methods 0.000 description 1
Images
Landscapes
- Cleaning By Liquid Or Steam (AREA)
Abstract
本实用新型公开了一种彩色涂膜玻璃用双面清洗装置,涉及玻璃清洗装置领域,针对现有的玻璃涂膜生产线在线玻璃清洗作业的需求问题,现提出如下方案,其包括侧板,所述侧板的顶端沿其长度方向固定连接有横梁,且所述横梁关于侧板的高度方向呈对称分布,所述横梁沿其长度方向依次安装有第一喷管、防护罩、第二喷管和鼓风机,且所述侧板位于靠近防护罩的一侧铰接有从动滚轴、擦洗轮和主动滚轴,所述从动滚轴、擦洗轮和主动滚轴位于第一喷管和第二喷管之间。本实用新型结构新颖,且该装置结构简单、调试维护方便且安全可靠,有效的解决了玻璃涂膜生产线在线玻璃清洗作业的需求问题。
Description
技术领域
本实用新型涉及玻璃清洗装置领域,尤其涉及一种彩色涂膜玻璃用双面清洗装置。
背景技术
玻璃产品应用及其广泛,尤其是建筑领域,对平板玻璃的需求量极大,根据不同的应用需求,普通的平板玻璃又衍生出夹角玻璃、浮雕玻璃和涂膜玻璃等等,其中涂膜玻璃根据其表面不同涂膜材料和颜色,常用于写字楼遮光和建筑外墙装饰等领域,市场前景较好,需求量也较高,是玻璃厂家的重点发展项目之一。
彩色涂膜玻璃因其表面的涂膜具备了普通玻璃所不具备的优异光学性能,但同时也正因为需要对玻璃表面进行涂膜,因此对玻璃表面的洁净度也提高了要求,在涂膜前需要对玻璃进行清洗操作,为了满足玻璃涂膜生产线在线玻璃清洗的作业需求,我们提出了一种彩色涂膜玻璃用双面清洗装置。
实用新型内容
本实用新型提出的一种彩色涂膜玻璃用双面清洗装置,解决了现有的玻璃涂膜生产线在线玻璃清洗作业的需求问题。
为了实现上述目的,本实用新型采用了如下技术方案:
一种彩色涂膜玻璃用双面清洗装置,包括侧板,所述侧板的顶端沿其长度方向固定连接有横梁,且所述横梁关于侧板的高度方向呈对称分布,所述横梁沿其长度方向依次安装有第一喷管、防护罩、第二喷管和鼓风机,且所述侧板位于靠近防护罩的一侧铰接有从动滚轴、擦洗轮和主动滚轴,所述从动滚轴、擦洗轮和主动滚轴位于第一喷管和第二喷管之间,且所述第一喷管、防护罩、第二喷管、鼓风机、从动滚轴、擦洗轮和主动滚轴均与侧板的侧面呈垂直状,所述第一喷管、防护罩、第二喷管、鼓风机、从动滚轴、擦洗轮和主动滚轴均关于侧板的高度方向呈对称分布,所述横梁和侧板均关于从动滚轴的两端呈对称分布,所述擦洗轮与防护罩呈套接,且所述第一喷管和第二喷管的底端均匹配安装有喷头,所述喷头关于第一喷管的轴向呈均匀分布。
优选的,所述从动滚轴和主动滚轴关于侧板的长度方向呈对称分布,所述主动滚轴位于侧板同一侧的转轴末端均匹配安装有皮带轮,两组所述皮带轮之间均绕接有皮带,且所述皮带呈水平状。
优选的,所述主动滚轴远离皮带轮的一端匹配安装有滚轴齿轮和滚轴电机,且两组所述滚轴齿轮呈竖直方向分布,两组所述滚轴齿轮互相啮合。
优选的,两组所述擦洗轮靠近滚轴齿轮的一端均匹配安装有擦洗齿轮,且所述擦洗齿轮互相啮合,所述擦洗轮远离擦洗齿轮的一端匹配安装有擦洗电机。
优选的,所述侧板之间位于横梁的两端均安装有连杆,且所述连杆与侧板呈互相垂直状,所述连杆与横梁呈固定连接。
优选的,位于所述侧板底端的横梁的两端均固定连接有支架,且所述支架均呈竖直向下状。
本实用新型的有益效果为:
1、该装置通过设置擦洗轮,并在擦洗轮的上游和下游分别设置第一喷管和第二喷管,使得该装置在移动过程中完成上下两面的清洁剂喷涂、除垢和冲洗操作,该装置结构简单便于调试和维护。
2、该装置的主动滚轴在运送玻璃板的同时,对残留水进行挤压除水,配合鼓风机风干,使得清洗后的玻璃板能够快速风干并投入到下一工序。
3、该装置的侧板即是主体框架一部分,同时也能够防止玻璃板的位置跑偏,且该装置位于两组擦洗轮处均安装了防护罩,以防止液体飞溅。
综上所述,该装置结构简单、调试维护方便且安全可靠,有效的解决了玻璃涂膜生产线在线玻璃清洗作业的需求问题。
附图说明
图1为本实用新型的俯视图。
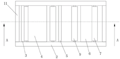
图2为本实用新型的图1中A-A的剖视图。
图3为本实用新型的正视图。
图4为本实用新型的背面视图。
图中标号:1、侧板;2、横梁;3、第一喷管;4、防护罩;5、第二喷管;6、鼓风机;7、从动滚轴;8、擦洗轮;9、主动滚轴;10、喷头;11、连杆;12、支架;13、皮带轮;14、皮带;15、滚轴齿轮;16、滚轴电机;17、擦洗齿轮;18、擦洗电机。
具体实施方式
下面将结合本实用新型实施例中的附图,对本实用新型实施例中的技术方案进行清楚、完整地描述,显然,所描述的实施例仅仅是本实用新型一部分实施例,而不是全部的实施例。
参照图1-4,一种彩色涂膜玻璃用双面清洗装置,包括侧板1,所述侧板1的顶端沿其长度方向固定连接有横梁2,且所述横梁2关于侧板1的高度方向呈对称分布,所述横梁2沿其长度方向依次安装有第一喷管3、防护罩4、第二喷管5和鼓风机6,且所述侧板1位于靠近防护罩4的一侧铰接有从动滚轴7、擦洗轮8和主动滚轴9,所述从动滚轴7、擦洗轮8和主动滚轴9位于第一喷管3和第二喷管5之间,且所述第一喷管3、防护罩4、第二喷管5、鼓风机6、从动滚轴7、擦洗轮8和主动滚轴9均与侧板1的侧面呈垂直状,所述第一喷管3、防护罩4、第二喷管5、鼓风机6、从动滚轴7、擦洗轮8和主动滚轴9均关于侧板1的高度方向呈对称分布,所述横梁2和侧板1均关于从动滚轴7的两端呈对称分布,所述擦洗轮8与防护罩4呈套接,且所述第一喷管3和第二喷管5的底端均匹配安装有喷头10,所述喷头10关于第一喷管3的轴向呈均匀分布,所述从动滚轴7和主动滚轴9关于侧板1的长度方向呈对称分布,所述主动滚轴9位于侧板1同一侧的转轴末端均匹配安装有皮带轮13,两组所述皮带轮13之间均绕接有皮带14,且所述皮带14呈水平状,所述主动滚轴9远离皮带轮13的一端匹配安装有滚轴齿轮15和滚轴电机16,且两组所述滚轴齿轮15呈竖直方向分布,两组所述滚轴齿轮15互相啮合,两组所述擦洗轮8靠近滚轴齿轮15的一端均匹配安装有擦洗齿轮17,且所述擦洗齿轮17互相啮合,所述擦洗轮8远离擦洗齿轮17的一端匹配安装有擦洗电机18,所述侧板1之间位于横梁2的两端均安装有连杆11,且所述连杆11与侧板1呈互相垂直状,所述连杆11与横梁2呈固定连接,位于所述侧板1底端的横梁2的两端均固定连接有支架12,且所述支架12均呈竖直向下状。
工作原理:将该装置的第一喷管3接入清洁溶剂喷泵,将该装置的第二喷管5接入工厂清洁水源,将该装置装有鼓风机6的一端连接生产线下游,另一端连接生产线上游,该装置的工作流程为,通过滚轴电机16带动一根主动滚轴9转动,转动的主动滚轴9通过皮带轮13、皮带14和滚轴齿轮15,使得四组主动滚轴9同步转动,且处于上方的两组主动滚轴9与下方的两组主动滚轴9旋向相反,该装置通过擦洗电机18驱动一组擦洗轮8旋转,并通过擦洗齿轮17使得上下两组擦洗轮8同步反向旋转,当玻璃板由上游进入到该装置入口处的从动滚轴7之间,此时玻璃板一半处于上游设备被继续推送,而进入该装置的另一半则由从动滚轴7保持水平姿态稳定,并通过侧板1防止玻璃板跑偏,此时通过第一喷管3和喷头10向玻璃板上表面和下表面均匀喷涂清洁溶剂,以溶解玻璃板表面污垢和灰尘,通过旋转的擦洗轮8上的多纤维结构,将玻璃板表面的污垢扫除,随着玻璃板进入到主动滚轴9之间,由主动滚轴9驱使玻璃板向后移动,并通过第二喷管5和喷头10喷出洁净的清水,将残留的清洁剂和泡沫冲淋干净,随后通过后两组主动滚轴9将多余的喷淋水挤除,初步除水后玻璃板通过两组鼓风机6之间,将残留的水膜迅速风干,随后玻璃板送出该装置进入下游生产线,该装置位于两组擦洗轮8处均安装了防护罩4,以防止液体飞溅。
以上所述,仅为本实用新型较佳的具体实施方式,但本实用新型的保护范围并不局限于此,任何熟悉本技术领域的技术人员在本实用新型揭露的技术范围内,根据本实用新型的技术方案及其实用新型构思加以等同替换或改变,都应涵盖在本实用新型的保护范围之内。
Claims (6)
1.一种彩色涂膜玻璃用双面清洗装置,包括侧板(1),其特征在于,所述侧板(1)的顶端沿其长度方向固定连接有横梁(2),且所述横梁(2)关于侧板(1)的高度方向呈对称分布,所述横梁(2)沿其长度方向依次安装有第一喷管(3)、防护罩(4)、第二喷管(5)和鼓风机(6),且所述侧板(1)位于靠近防护罩(4)的一侧铰接有从动滚轴(7)、擦洗轮(8)和主动滚轴(9),所述从动滚轴(7)、擦洗轮(8)和主动滚轴(9)位于第一喷管(3)和第二喷管(5)之间,且所述第一喷管(3)、防护罩(4)、第二喷管(5)、鼓风机(6)、从动滚轴(7)、擦洗轮(8)和主动滚轴(9)均与侧板(1)的侧面呈垂直状,所述第一喷管(3)、防护罩(4)、第二喷管(5)、鼓风机(6)、从动滚轴(7)、擦洗轮(8)和主动滚轴(9)均关于侧板(1)的高度方向呈对称分布,所述横梁(2)和侧板(1)均关于从动滚轴(7)的两端呈对称分布,所述擦洗轮(8)与防护罩(4)呈套接,且所述第一喷管(3)和第二喷管(5)的底端均匹配安装有喷头(10),所述喷头(10)关于第一喷管(3)的轴向呈均匀分布。
2.根据权利要求1所述的一种彩色涂膜玻璃用双面清洗装置,其特征在于,所述从动滚轴(7)和主动滚轴(9)关于侧板(1)的长度方向呈对称分布,所述主动滚轴(9)位于侧板(1)同一侧的转轴末端均匹配安装有皮带轮(13),两组所述皮带轮(13)之间均绕接有皮带(14),且所述皮带(14)呈水平状。
3.根据权利要求2所述的一种彩色涂膜玻璃用双面清洗装置,其特征在于,所述主动滚轴(9)远离皮带轮(13)的一端匹配安装有滚轴齿轮(15)和滚轴电机(16),且两组所述滚轴齿轮(15)呈竖直方向分布,两组所述滚轴齿轮(15)互相啮合。
4.根据权利要求2所述的一种彩色涂膜玻璃用双面清洗装置,其特征在于,两组所述擦洗轮(8)靠近滚轴齿轮(15)的一端均匹配安装有擦洗齿轮(17),且所述擦洗齿轮(17)互相啮合,所述擦洗轮(8)远离擦洗齿轮(17)的一端匹配安装有擦洗电机(18)。
5.根据权利要求1所述的一种彩色涂膜玻璃用双面清洗装置,其特征在于,所述侧板(1)之间位于横梁(2)的两端均安装有连杆(11),且所述连杆(11)与侧板(1)呈互相垂直状,所述连杆(11)与横梁(2)呈固定连接。
6.根据权利要求1所述的一种彩色涂膜玻璃用双面清洗装置,其特征在于,位于所述侧板(1)底端的横梁(2)的两端均固定连接有支架(12),且所述支架(12)均呈竖直向下状。
Priority Applications (1)
| Application Number | Priority Date | Filing Date | Title |
|---|---|---|---|
| CN202021723296.7U CN212759887U (zh) | 2020-08-18 | 2020-08-18 | 一种彩色涂膜玻璃用双面清洗装置 |
Applications Claiming Priority (1)
| Application Number | Priority Date | Filing Date | Title |
|---|---|---|---|
| CN202021723296.7U CN212759887U (zh) | 2020-08-18 | 2020-08-18 | 一种彩色涂膜玻璃用双面清洗装置 |
Publications (1)
| Publication Number | Publication Date |
|---|---|
| CN212759887U true CN212759887U (zh) | 2021-03-23 |
Family
ID=75053030
Family Applications (1)
| Application Number | Title | Priority Date | Filing Date |
|---|---|---|---|
| CN202021723296.7U Expired - Fee Related CN212759887U (zh) | 2020-08-18 | 2020-08-18 | 一种彩色涂膜玻璃用双面清洗装置 |
Country Status (1)
| Country | Link |
|---|---|
| CN (1) | CN212759887U (zh) |
Cited By (1)
| Publication number | Priority date | Publication date | Assignee | Title |
|---|---|---|---|---|
| CN113751428A (zh) * | 2021-10-11 | 2021-12-07 | 信丰汇和电路有限公司 | 一种线路板加工用多级除尘装置 |
-
2020
- 2020-08-18 CN CN202021723296.7U patent/CN212759887U/zh not_active Expired - Fee Related
Cited By (1)
| Publication number | Priority date | Publication date | Assignee | Title |
|---|---|---|---|---|
| CN113751428A (zh) * | 2021-10-11 | 2021-12-07 | 信丰汇和电路有限公司 | 一种线路板加工用多级除尘装置 |
Similar Documents
| Publication | Publication Date | Title |
|---|---|---|
| CN211464043U (zh) | 一种带水循环的玻璃清洗干燥装置 | |
| CN212759887U (zh) | 一种彩色涂膜玻璃用双面清洗装置 | |
| CN209379510U (zh) | 一种节能型板材清洗装置 | |
| CN215089217U (zh) | 一种pmma板生产用清洗装置 | |
| CN215965117U (zh) | 一种绿色印刷清洗装置 | |
| CN113857114A (zh) | 一种自清洗型太阳能光伏板 | |
| CN218750707U (zh) | 一种装配式洗车装置 | |
| CN213316352U (zh) | 一种线缆转磨清洁装置 | |
| CN209968975U (zh) | 一种高效玻璃清洗机 | |
| CN214719201U (zh) | 一种玻璃清洗装置 | |
| CN213555072U (zh) | 一种消防水带清洗装置 | |
| CN216891518U (zh) | 一种高效率无尘纱布加工用清洗设备 | |
| CN215498870U (zh) | 一种光伏板生产用循环表面清洁装置 | |
| CN214271841U (zh) | 一种清洁用道路路面清洗装置 | |
| CN211587146U (zh) | 一种可对涂料进行过滤的彩钢板用喷涂装置 | |
| CN211707533U (zh) | 一种玻璃生产用洗片机 | |
| CN215314185U (zh) | 一种环保设备的内部清理装置 | |
| CN211384278U (zh) | 一种化工pvc生产间粉尘净化装置 | |
| CN115566992A (zh) | 一种基于麦克纳姆轮的多功能自动清扫机器人 | |
| CN108309136A (zh) | 一种自动擦窗装置 | |
| CN219356621U (zh) | 一种建筑工程装修用板材喷漆装置 | |
| CN217616312U (zh) | 一种橡胶制品生产用清洗装置 | |
| CN223584129U (zh) | 一种光伏板清扫器及手持式光伏板清扫设备 | |
| CN222040429U (zh) | 一种环保自动洗车机 | |
| CN223888533U (zh) | 一种清洗效果好的石材清洗机构 |
Legal Events
| Date | Code | Title | Description |
|---|---|---|---|
| GR01 | Patent grant | ||
| GR01 | Patent grant | ||
| CF01 | Termination of patent right due to non-payment of annual fee |
Granted publication date: 20210323 |
|
| CF01 | Termination of patent right due to non-payment of annual fee |