CN211940284U - 一种曲面打磨设备 - Google Patents
一种曲面打磨设备 Download PDFInfo
- Publication number
- CN211940284U CN211940284U CN202020509617.7U CN202020509617U CN211940284U CN 211940284 U CN211940284 U CN 211940284U CN 202020509617 U CN202020509617 U CN 202020509617U CN 211940284 U CN211940284 U CN 211940284U
- Authority
- CN
- China
- Prior art keywords
- curved surface
- rod
- polishing
- bottom plate
- motor
- Prior art date
- Legal status (The legal status is an assumption and is not a legal conclusion. Google has not performed a legal analysis and makes no representation as to the accuracy of the status listed.)
- Expired - Fee Related
Links
- 238000005498 polishing Methods 0.000 title claims abstract description 41
- 230000001105 regulatory effect Effects 0.000 claims description 9
- 230000000694 effects Effects 0.000 claims description 6
- 238000005457 optimization Methods 0.000 description 5
- 238000009434 installation Methods 0.000 description 4
- 238000004519 manufacturing process Methods 0.000 description 2
- 239000000203 mixture Substances 0.000 description 1
- 230000004048 modification Effects 0.000 description 1
- 238000012986 modification Methods 0.000 description 1
Images
Landscapes
- Grinding Of Cylindrical And Plane Surfaces (AREA)
Abstract
本实用新型具体涉及一种曲面打磨设备,包括底板、支撑柱、横杆,所述底板上端面开设有安装槽,所述安装槽内部左侧壁固定安装有异步电机,所述螺纹滑套上端位于所述底板上端所设的底座上固定安装有转动电机,所述正反电机所设的转动轴一端贯穿所设横杆延伸至横杆底端固定连接有第一转盘,所述第一转盘下端面一侧固定安装有第一固定轴,所述第二转盘底面一端固定连接有第二固定轴,所述第一固定轴与所述第二固定轴上转动连接有活动支杆,本实用新型时有时通过使打磨组件与曲面模具打磨放置台根据打磨加工件的曲面型状自动伸缩调节进行打磨,以适应不同曲率半径的曲面模具,实现对曲面模具的连续自动化抛光打磨,能够提高曲面打磨的效率。
Description
技术领域
本实用新型属于零件打磨技术领域,具体涉及一种曲面打磨设备。
背景技术
模具是在制造业当中不可或缺的特殊基础装备,主要被用于高效率大批量生产零件。为了使制成品表面更加光洁,需要对模具进行打磨。目标模具外形简单且相对平整的情况下,用数控机床、数控磨床或现有的打磨设备可以完成相应的打磨工作。但是当模具外形的曲率较大时,现有设备不能满足需要,必须由操作人员手工完成,对操作人员的熟练程度也有较高的要求,并且无论如何也不能达到自动化生产的相近效率,同时对不同的模具曲面打磨需要更换相对应的工具进打磨,而且成本也更加高昂。
发明内容
本实用新型的目的在于提供一种曲面打磨设备,以解决上述背景技术中提出的问题。
为实现上述目的,本实用新型提供如下技术方案:一种曲面打磨设备,包括底板、支撑柱、横杆,所述底板上端面开设有安装槽,所述安装槽内部左侧壁固定安装有异步电机,所述异步电机的输出端转动连接有螺纹滑杆,且螺纹滑杆的另一端固定于所述安装槽内部右侧壁上,所述螺纹滑杆上滑动连接有螺纹滑套,所述螺纹滑套上端位于所述底板上端所设的底座上固定安装有转动电机,所述转动电机的输出轴顶端固定安装有支撑底板,所述支撑底板底面两侧固定连接有支撑杆,且支撑杆与所述底板表面贴面连接,所述支撑底板上端四边角固定安装有电动推杆,所述电动推杆所设的延伸杆顶端固定连接有升降板,所述支撑柱上端一侧与所述横杆固定连接,所述横杆上端面安装有正反电机,所述正反电机所设的转动轴一端贯穿所设横杆延伸至横杆底端固定连接有第一转盘,所述第一转盘下端面一侧固定安装有第一固定轴,所述第一转盘远离横杆底面设有的凹槽内转动连接有转动杆,所述转动杆另一端转动连接有第二转盘,所述第二转盘底面一端固定连接有第二固定轴,所述第一固定轴与所述第二固定轴上转动连接有活动支杆。
作为本技术方案的进一步优化,所述升降板上端面均匀分布有调节柱若干,且调节柱贯穿升降板上下两端面,所述调节柱上端位于所设升降板表面一端套接有升降弹簧,所述调节柱上位于所设升降弹簧上端表面设有弹簧定位环,所述调节柱顶端中部固定设有调节球,所述调节球表面活动连接调节板,所述调节板连接有软性橡胶打磨台。
作为本技术方案的进一步优化,所述活动支杆右端底面固定安装有节能电机,所述节能电机的输出轴的一端固定连接有曲面打磨架,所述曲面打磨架 内部底端设有伸缩杆,且伸缩杆的另一端贯穿延伸至所设曲面打磨架底端活动连接有打磨锟,所述伸缩杆位于曲面打磨架内部一端表面设有伸缩弹簧。
作为本技术方案的进一步优化,所述活动支杆与第一转盘上所设的第一固定轴和所述第二转盘上设有的第二固定轴之间活动转动连接。
作为本技术方案的进一步优化,所述异步电机上所设的螺纹滑杆通过所述的螺纹滑套设有的转动电机带动支撑底板滑动设置。
作为本技术方案的进一步优化,所述支撑底板底部所设的支撑杆与所述底板表面支撑贴面连接。
本实用新型的技术效果和优点:该曲面打磨设备,通过正反电机的输出轴带动第一转盘与第二转盘转动,第一转盘、第二转盘通过第一固定轴与第二固定轴带动活动支杆左右移动,同时活动支杆上设置的节能电机带动曲面打磨架上设置的伸缩杆与打磨锟、伸缩弹簧组合成的打磨组件转动,通过异步电机启动带动螺纹滑杆转动,螺纹滑杆带动螺纹滑套左右移动,同时带动转动电机移动,使曲面模具进行全面无死角进行打磨,然后转动电机带动支撑板、电动推杆、升降板、、调节柱、弹簧定位环、升降弹簧、调节球、调节板、软性橡胶打磨台组合成的曲面模具打磨放置台转动,同时电动推杆使放置在软性橡胶打磨台向上调节移动,使曲面模具与打磨锟贴面,可以使打磨组件与曲面模具打磨放置台根据打磨加工件的曲面型状自动伸缩调节进行打磨,以适应不同曲率半径的曲面模具,实现对曲面模具的连续自动化抛光打磨,且本实用新型设计简单合理,能够提高曲面打磨的效率。
附图说明
图1为本实用新型的结构示意图;
图2为本实用新型的俯视结构示意图;
图3为本实用新型图1中A处放大结构示意图。
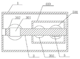
图中:1、底板;101、安装槽;102、异步电机;103、螺纹滑杆;104、螺纹滑套;2、支撑柱;3、横杆;301、正反电机;302、第一转盘;303、转动杆;304、第二转盘;305、第一固定轴;306、第二固定轴;307、活动支杆;4、转动电机;401、支撑底板;402、支撑杆;403、电动推杆;404、升降板;405、调节柱;406、弹簧定位环;407、升降弹簧;408、调节球;409、调节板;410、软性橡胶打磨台;5、节能电机;501、曲面打磨架;502、伸缩杆;503、伸缩弹簧;504、打磨锟。
具体实施方式
下面将结合本实用新型实施例中的附图,对本实用新型实施例中的技术方案进行清楚、完整地描述,显然,所描述的实施例仅仅是本实用新型一部分实施例,而不是全部的实施例。基于本实用新型中的实施例,本领域普通技术人员在没有做出创造性劳动前提下所获得的所有其他实施例,都属于本实用新型保护的范围。
请参阅图1-3,本实用新型提供一种技术方案:一种曲面打磨设备,包括底板1、支撑柱2、横杆3,底板1上端面开设有安装槽101,通过安装槽101内部左侧壁固定安装有异步电机102,驱使螺纹滑杆103转动,所述异步电机102的输出端转动连接有螺纹滑杆103,通过螺纹滑杆103的另一端固定于安装槽101内部右侧壁上,所述螺纹滑杆103上滑动连接有螺纹滑套104,螺纹滑套104的设置,带动转动电机4移动,所述螺纹滑套104上端位于底板1上端所设的底座上固定安装有转动电机4,带动支撑底板401转动,所述转动电机4的输出轴顶端固定安装有支撑底板401,支撑底板401的设置,方便电动推杆403的安装,通过异步电机102上所设的螺纹滑杆103通过的螺纹滑套104设有的转动电机4带动支撑底板401滑动设置,所述支撑底板401底面两侧固定连接有支撑杆402,且支撑杆402与底板1表面贴面连接,起到对支撑底板401的支撑作用,通过支撑底板401底部所设的支撑杆402与底板1表面支撑贴面连接。
支撑底板401上端四边角固定安装有电动推杆403,实现升降板404高度调节的作用,所述电动推杆403所设的延伸杆顶端固定连接有升降板404,升降板404上端面均匀分布有调节柱405若干,通过调节柱405的设置,便于对软性橡胶打磨台410的支撑作用,且调节柱405贯穿升降板404上下两端面,所述调节柱405上端位于所设升降板404表面一端套接有升降弹簧407,升降弹簧407的设置,实现对曲面模具支撑自动调节的作用,所述调节柱405上位于所设升降弹簧407上端表面设有弹簧定位环406,起到对调节柱405支撑限位的作用,所述调节柱405顶端中部固定设有调节球408,便于调节板409的安装,所述调节球408表面活动连接调节板409,通过调节板409连接有软性橡胶打磨台410,便于曲面模具的放置固定,所述支撑柱2上端一侧与横杆3固定连接,横杆3上端面安装有正反电机301,带第一转盘302转动,所述正反电机301所设的转动轴一端贯穿所设横杆3延伸至横杆3底端固定连接有第一转盘302,带动活动支杆307转动,所述第一转盘302下端面一侧固定安装有第一固定轴305,便于活动支杆307的安装,所述第一转盘302远离横杆3底面设有的凹槽内转动连接有转动杆303,带动所设第二转盘304转动,所述转动杆303另一端转动连接有第二转盘304,且第二转盘304底面一端固定连接有第二固定轴306,便于活动支杆307的支撑,第一固定轴305与第二固定轴306上转动连接有活动支杆307,通过活动支杆307与第一转盘302上所设的第一固定轴305和第二转盘304上设有的第二固定轴306之间活动转动连接,所述活动支杆307右端底面固定安装有节能电机5,带动曲面打磨架501转动。
节能电机5的输出轴的一端固定连接有曲面打磨架501,便于伸缩杆502的安装,所述曲面打磨架501 内部底端设有伸缩杆502,且伸缩杆502的另一端贯穿延伸至所设曲面打磨架501底端活动连接有打磨锟504,实现对曲面模具打磨,所述伸缩杆502位于曲面打磨架501内部一端表面设有伸缩弹簧503,起到对不同曲面模具自动调节的作用。
具体的,使用时通过正反电机301的输出轴带动第一转盘302与第二转盘304转动,第一转盘302、第二转盘304通过第一固定轴305与第二固定轴306带动活动支杆307左右移动,同时活动支杆307上设置的节能电机5带动曲面打磨架501上设置的伸缩杆502、打磨锟504、伸缩弹簧503组合成的打磨组件转动,通过异步电机102启动带动螺纹滑杆103转动,螺纹滑杆103带动螺纹滑套104左右移动,同时带动转动电机4移动,使曲面模具进行全面无死角进行打磨,然后转动电机4带动支撑底板401、电动推杆403、升降板404、调节柱405、弹簧定位环406、升降弹簧407、调节球408、调节板409、软性橡胶打磨台410组合成的曲面模具打磨放置台转动,同时电动推杆403使放置在软性橡胶打磨台410向上调节移动,使曲面模具与打磨锟504贴面,可以使打磨组件与曲面模具打磨放置台根据打磨加工件的曲面型状自动伸缩调节进行打磨,以适应不同曲率半径的曲面模具,实现对曲面模具的连续自动化抛光打磨。
最后应说明的是:以上所述仅为本实用新型的优选实施例而已,并不用于限制本实用新型,尽管参照前述实施例对本实用新型进行了详细的说明,对于本领域的技术人员来说,其依然可以对前述各实施例所记载的技术方案进行修改,或者对其中部分技术特征进行等同替换,凡在本实用新型的精神和原则之内,所作的任何修改、等同替换、改进等,均应包含在本实用新型的保护范围之内。
Claims (6)
1.一种曲面打磨设备,包括底板(1)、支撑柱(2)、横杆(3),其特征在于:所述底板(1)上端面开设有安装槽(101),所述安装槽(101)内部左侧壁固定安装有异步电机(102),所述异步电机(102)的输出端转动连接有螺纹滑杆(103),且螺纹滑杆(103)的另一端固定于所述安装槽(101)内部右侧壁上,所述螺纹滑杆(103)上滑动连接有螺纹滑套(104),所述螺纹滑套(104)上端位于所述底板(1)上端所设的底座上固定安装有转动电机(4),所述转动电机(4)的输出轴顶端固定安装有支撑底板(401),所述支撑底板(401)底面两侧固定连接有支撑杆(402),且支撑杆(402)与所述底板(1)表面贴面连接,所述支撑底板(401)上端四边角固定安装有电动推杆(403),所述电动推杆(403)所设的延伸杆顶端固定连接有升降板(404),所述支撑柱(2)上端一侧与所述横杆(3)固定连接,所述横杆(3)上端面安装有正反电机(301),所述正反电机(301)所设的转动轴一端贯穿所设横杆(3)延伸至横杆(3)底端固定连接有第一转盘(302),所述第一转盘(302)下端面一侧固定安装有第一固定轴(305),所述第一转盘(302)远离横杆(3)底面设有的凹槽内转动连接有转动杆(303),所述转动杆(303)另一端转动连接有第二转盘(304),所述第二转盘(304)底面一端固定连接有第二固定轴(306),所述第一固定轴(305)与所述第二固定轴(306)上转动连接有活动支杆(307)。
2.根据权利要求1所述的一种曲面打磨设备,其特征在于:所述升降板(404)上端面均匀分布有调节柱(405)若干,且调节柱(405)贯穿升降板(404)上下两端面,所述调节柱(405)上端位于所设升降板(404)表面一端套接有升降弹簧(407),所述调节柱(405)上位于所设升降弹簧(407)上端表面设有弹簧定位环(406),所述调节柱(405)顶端中部固定设有调节球(408),所述调节球(408)表面活动连接调节板(409),所述调节板(409)连接有软性橡胶打磨台(410)。
3.根据权利要求1所述的一种曲面打磨设备,其特征在于:所述活动支杆(307)右端底面固定安装有节能电机(5),所述节能电机(5)的输出轴的一端固定连接有曲面打磨架(501),所述曲面打磨架(501) 内部底端设有伸缩杆(502),且伸缩杆(502)的另一端贯穿延伸至所设曲面打磨架(501)底端活动连接有打磨锟(504),所述伸缩杆(502)位于曲面打磨架(501)内部一端表面设有伸缩弹簧(503)。
4.根据权利要求1所述的一种曲面打磨设备,其特征在于:所述活动支杆(307)与第一转盘(302)上所设的第一固定轴(305)和所述第二转盘(304)上设有的第二固定轴(306)之间活动转动连接。
5.根据权利要求1所述的一种曲面打磨设备,其特征在于:所述异步电机(102)上所设的螺纹滑杆(103)通过所述的螺纹滑套(104)设有的转动电机(4)带动支撑底板(401)滑动设置。
6.根据权利要求1所述的一种曲面打磨设备,其特征在于:所述支撑底板(401)底部所设的支撑杆(402)与所述底板(1)表面支撑贴面连接。
Priority Applications (1)
| Application Number | Priority Date | Filing Date | Title |
|---|---|---|---|
| CN202020509617.7U CN211940284U (zh) | 2020-04-09 | 2020-04-09 | 一种曲面打磨设备 |
Applications Claiming Priority (1)
| Application Number | Priority Date | Filing Date | Title |
|---|---|---|---|
| CN202020509617.7U CN211940284U (zh) | 2020-04-09 | 2020-04-09 | 一种曲面打磨设备 |
Publications (1)
| Publication Number | Publication Date |
|---|---|
| CN211940284U true CN211940284U (zh) | 2020-11-17 |
Family
ID=73161072
Family Applications (1)
| Application Number | Title | Priority Date | Filing Date |
|---|---|---|---|
| CN202020509617.7U Expired - Fee Related CN211940284U (zh) | 2020-04-09 | 2020-04-09 | 一种曲面打磨设备 |
Country Status (1)
| Country | Link |
|---|---|
| CN (1) | CN211940284U (zh) |
Cited By (3)
| Publication number | Priority date | Publication date | Assignee | Title |
|---|---|---|---|---|
| CN113664706A (zh) * | 2021-08-24 | 2021-11-19 | 鲍建 | 一种打磨效果好的矩形弹簧表面处理设备 |
| CN115781484A (zh) * | 2022-12-30 | 2023-03-14 | 赛德新光电材料(盐城)有限公司 | 一种玻璃表面加工设备 |
| CN119635485A (zh) * | 2025-02-19 | 2025-03-18 | 闽南理工学院 | 一种测量精准的智能型磨抛一体设备及其工作方法 |
-
2020
- 2020-04-09 CN CN202020509617.7U patent/CN211940284U/zh not_active Expired - Fee Related
Cited By (5)
| Publication number | Priority date | Publication date | Assignee | Title |
|---|---|---|---|---|
| CN113664706A (zh) * | 2021-08-24 | 2021-11-19 | 鲍建 | 一种打磨效果好的矩形弹簧表面处理设备 |
| CN113664706B (zh) * | 2021-08-24 | 2024-01-19 | 东莞市簧中簧电子有限公司 | 一种打磨效果好的矩形弹簧表面处理设备 |
| CN115781484A (zh) * | 2022-12-30 | 2023-03-14 | 赛德新光电材料(盐城)有限公司 | 一种玻璃表面加工设备 |
| CN115781484B (zh) * | 2022-12-30 | 2023-08-22 | 赛德新光电材料(盐城)有限公司 | 一种玻璃表面加工设备 |
| CN119635485A (zh) * | 2025-02-19 | 2025-03-18 | 闽南理工学院 | 一种测量精准的智能型磨抛一体设备及其工作方法 |
Similar Documents
| Publication | Publication Date | Title |
|---|---|---|
| CN211940284U (zh) | 一种曲面打磨设备 | |
| CN114939820A (zh) | 一种机电设备用抛光加工机床 | |
| CN105150053A (zh) | 摇臂式自动磨锅机 | |
| CN113500425A (zh) | 一种机械加工用工件固定装置 | |
| CN218170099U (zh) | 一种模具镶块加工支撑机构 | |
| CN117020868B (zh) | 一种冰箱金属饰面板研磨抛光装置 | |
| CN214771232U (zh) | 用于子午线轮胎模具的侧板抛光机 | |
| CN2290447Y (zh) | 眼镜仿型磨边机 | |
| CN218312511U (zh) | 一种厨房锅具生产用边缘打磨装置 | |
| CN214869189U (zh) | 环形银饰双圆面同步打磨装置 | |
| CN214264995U (zh) | 一种玻璃用倒边治具及倒边设备 | |
| CN214351639U (zh) | 一种轴承盖生产用抛光设备 | |
| CN220842012U (zh) | 一种木饰面自动雕刻装置 | |
| CN220389009U (zh) | 一种陶瓷插芯表面加工装置 | |
| CN223326075U (zh) | 一种卫浴陶瓷胚打磨装置 | |
| CN219725713U (zh) | 模具零件加工用可调式抛光机 | |
| CN211760602U (zh) | 一种工艺品制造用打磨机 | |
| CN218697390U (zh) | 一种人工钻石生产加工用抛光装置 | |
| CN220197235U (zh) | 一种铸件生产加工用精细打磨装置 | |
| CN222345058U (zh) | 一种门窗生产用玻璃定位磨边机 | |
| CN222986542U (zh) | 椭圆镜片外轮廓抛光机 | |
| CN222359875U (zh) | 一种铝合金门窗的焊高打磨装置 | |
| CN221313744U (zh) | 一种多角度抛光的磨具 | |
| CN223603955U (zh) | 一种轮胎模具花纹铣床换刀装置 | |
| CN220839394U (zh) | 一种陶瓷加工用磨边机 |
Legal Events
| Date | Code | Title | Description |
|---|---|---|---|
| GR01 | Patent grant | ||
| GR01 | Patent grant | ||
| CF01 | Termination of patent right due to non-payment of annual fee | ||
| CF01 | Termination of patent right due to non-payment of annual fee |
Granted publication date: 20201117 |