CN210656623U - Organic sludge anaerobic digestion device - Google Patents

Organic sludge anaerobic digestion device Download PDF

Info

Publication number
CN210656623U
CN210656623U CN201921516622.4U CN201921516622U CN210656623U CN 210656623 U CN210656623 U CN 210656623U CN 201921516622 U CN201921516622 U CN 201921516622U CN 210656623 U CN210656623 U CN 210656623U
Authority
CN
China
Prior art keywords
stirring
organic sludge
tank body
anaerobic digestion
wall
Prior art date
Legal status (The legal status is an assumption and is not a legal conclusion. Google has not performed a legal analysis and makes no representation as to the accuracy of the status listed.)
Expired - Fee Related
Application number
CN201921516622.4U
Other languages
Chinese (zh)
Inventor
刘志浩
张新
吴国山
梅礼元
徐安琪
杜杨
廖劲伟
Current Assignee (The listed assignees may be inaccurate. Google has not performed a legal analysis and makes no representation or warranty as to the accuracy of the list.)
Wuhan Mingyuan Bijing Environmental Protection Technology Co ltd
Original Assignee
Wuhan Mingyuan Bijing Environmental Protection Technology Co ltd
Priority date (The priority date is an assumption and is not a legal conclusion. Google has not performed a legal analysis and makes no representation as to the accuracy of the date listed.)
Filing date
Publication date
Application filed by Wuhan Mingyuan Bijing Environmental Protection Technology Co ltd filed Critical Wuhan Mingyuan Bijing Environmental Protection Technology Co ltd
Priority to CN201921516622.4U priority Critical patent/CN210656623U/en
Application granted granted Critical
Publication of CN210656623U publication Critical patent/CN210656623U/en
Expired - Fee Related legal-status Critical Current
Anticipated expiration legal-status Critical

Links

Images

Landscapes

  • Treatment Of Sludge (AREA)

Abstract

本实用新型的一种有机污泥厌氧消化装置,将罐体设计呈外壁、内壁与保温材料和伴热管结合的结构,在使用初期可以通过伴热管外接换热器,向伴热管内鼓入温度为35‑55°的热水,通过伴热管的作用快速升高罐体内的温度,使得罐体内的厌氧细菌可以快速繁殖,以提高厌氧消化装置的处理效率,同时,为了确保进入罐体内的有机污泥能够充分与厌氧细菌充分结合,本实用新型采用了在罐体的顶部设置搅拌电机,利用搅拌电机带动旋转架转动,将底部通过进料装置输入至罐体内的物料进行翻转混合,从而以保证其内部的有机污泥与厌氧细菌充分接触混合,确保其反应效率,同时,本实用新型利用统一个搅拌电机可同时带动两个搅拌杆运动,提高其搅拌混合效率。

Figure 201921516622

The utility model is an anaerobic digestion device for organic sludge, the tank body is designed to be a structure in which the outer wall and the inner wall are combined with thermal insulation materials and heat tracing pipes. The hot water with a temperature of 35-55° can quickly increase the temperature in the tank through the action of the heat tracing pipe, so that the anaerobic bacteria in the tank can multiply rapidly, so as to improve the processing efficiency of the anaerobic digestion unit. The organic sludge in the body can be fully combined with the anaerobic bacteria. The utility model adopts a stirring motor on the top of the tank body, and the stirring motor is used to drive the rotating frame to rotate, and the material input into the tank body through the feeding device at the bottom is turned over. So as to ensure that the internal organic sludge and anaerobic bacteria are fully contacted and mixed to ensure its reaction efficiency, and at the same time, the utility model uses a unified stirring motor to drive two stirring rods to move at the same time to improve the stirring and mixing efficiency.

Figure 201921516622

Description

Organic sludge anaerobic digestion device
Technical Field
The utility model relates to an organic solid useless treatment facility technical field, more specifically relates to an organic sludge anaerobic digestion device.
Background
With the rapid development of social economy in China, the acceleration of urbanization process and the rapid improvement of the living standard of people, garbage generated in the urban production and living process is rapidly increased, and the conditions of land occupation, environmental pollution and the influence on the health of people by household garbage are more obvious. The increasing of the amount of municipal domestic waste makes the waste treatment more and more difficult, and the problems of environmental pollution and the like caused by the increase gradually draw attention from all social circles.
In China, to realize industrialization, resource utilization, reduction and harmlessness of municipal domestic garbage, domestic garbage which is mixed for collection, has low content and heat value of recoverable substances and high water content and biodegradable organic content of the garbage must be confronted. In response to these problems, a wide variety of technologies have been applied, including recycling, landfill, incineration, and composting, among others.
Most of urban and rural domestic garbage and agricultural wastes have higher water content and organic matter content, at present, the urban garbage is treated by utilizing an anaerobic digestion treatment technology, so that the method has wider application at home and abroad, and particularly in Europe, the method for treating the organic garbage by using anaerobic digestion is greatly developed; anaerobic digestion has also been greatly developed for treating kitchen waste in japan and korea. The technology has high harmless degree, completely overcomes the influence of homology, and has high organic load bearing capacity.
Although there is a certain difference between the municipal refuse in China and the municipal refuse in foreign countries. But also can meet the requirement of domestic kitchen waste treatment through corresponding technical improvement and optimization. Anaerobic digestion is an effective method for realizing reduction, harmlessness and recycling of municipal waste. Anaerobic digestion can be controlled manually, so that the stability of organic waste is accelerated, the organic waste is harmless, biogas can be generated through anaerobic decomposition, renewable energy sources are obtained, and the organic waste is recycled.
The anaerobic digestion tank is used as a key device for anaerobic digestion treatment, and due to the large volume, digestive juice in the anaerobic digestion tank is heated, kept warm and stirred, so that the energy consumption is large, the operation cost is high, and the popularization of the urban comprehensive garbage anaerobic treatment is not facilitated.
To the defect that prior art exists, provide the utility model discloses.
SUMMERY OF THE UTILITY MODEL
The utility model provides an organic sludge anaerobic digestion device with low energy consumption and high digestion efficiency, which solves the technical problems of high energy consumption and low digestion efficiency of the existing anaerobic digestion tank.
According to one aspect of the utility model, the organic sludge anaerobic digestion device is provided, which comprises a tank body, wherein the bottom of the tank body is externally connected with a feeding device, and the top of the tank body is provided with an exhaust pipe; the tank body comprises an outer wall, an inner wall and a heat insulation material, the outer wall is wrapped outside the inner wall through the heat insulation material, a heat tracing pipe is embedded in the heat insulation material, and the heat tracing pipe is externally connected with a heat exchanger; the top of the tank body is also provided with a stirring motor, an output shaft of the stirring motor is externally connected with a rotating frame, the rotating frame is T-shaped, stirring rods are arranged at two sides of the rotating frame, and stirring blades are arranged on the stirring rods.
On the basis of the scheme, the rotating frame comprises a connecting shaft and an installation rod, the connecting shaft is fixedly connected with an output shaft of the stirring motor, the middle of the installation rod is connected with an output end of the connecting shaft, and the stirring rods are arranged on two sides of the installation rod.
On the basis of the scheme, the water pump is preferred, the inner wall is provided with a plurality of spray heads, and the spray heads are communicated with the water pump through water pipes.
On the basis of the scheme, the connecting shaft, the mounting rod and the stirring rod are preferably hollow, the stirring rod and the mounting rod are provided with spray heads, and the connecting shaft is communicated with the water pump through a water pipe.
On the basis of the scheme, the feeding device is preferably a screw conveyor.
The utility model relates to an organic sludge anaerobic digestion device, which designs a tank body into a structure combining an outer wall, an inner wall, a heat insulation material and a heat tracing pipe, hot water with the temperature of 35-55 degrees is blown into the heat tracing pipe through the heat tracing pipe in the initial use stage, the temperature in the tank body is quickly raised through the effect of the heat tracing pipe, so that anaerobic bacteria in the tank body can be quickly propagated to improve the treatment efficiency of the anaerobic digestion device, meanwhile, in order to ensure that the organic sludge entering the tank body can be fully combined with the anaerobic bacteria, the utility model adopts that a stirring motor is arranged at the top of the tank body, the stirring motor is utilized to drive a rotating frame to rotate, the bottom is input into the tank body through a feeding device to be overturned and mixed, thereby ensuring the full contact and mixing of the organic sludge in the tank body and the anaerobic bacteria and ensuring the reaction efficiency, and simultaneously, the utility model discloses utilize unified a agitator motor to drive two puddler motions simultaneously, improve its stirring mixing efficiency.
Drawings
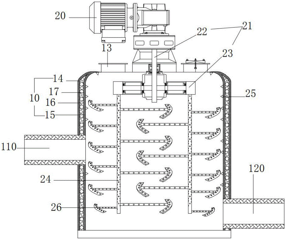
FIG. 1 is a schematic diagram of an anaerobic digestion apparatus for organic sludge according to the present invention;
FIG. 2 is a partial structural view of a stirring rod of the present invention;
fig. 3 is a structural diagram of the feeding device of the present invention.
Detailed Description
The following detailed description of the embodiments of the present invention is provided with reference to the accompanying drawings and examples. The following examples are intended to illustrate the invention, but are not intended to limit the scope of the invention.
Referring to fig. 1, the anaerobic digestion device for organic sludge of the present invention comprises a tank 10, a feed inlet 110 is disposed at the bottom of the tank 10 and is externally connected to a feeding device 11, a discharge outlet 120 is disposed at one side of the tank 10 opposite to the feed inlet 110, and an exhaust pipe 13 is disposed at the top of the tank 10; the tank body 10 comprises an outer wall 14, an inner wall 15 and a heat insulation material 16, wherein the outer wall 14 is wrapped outside the inner wall 15 through the heat insulation material 16, a heat tracing pipe 17 is embedded in the heat insulation material 16, and the heat tracing pipe 17 is externally connected with a heat exchanger; the top of the tank body 10 is also provided with a stirring motor 20, an output shaft of the stirring motor 20 is externally connected with a rotating frame 21, the rotating frame 21 is T-shaped, stirring rods 24 are arranged at two sides of the rotating frame 21, and stirring blades 26 are arranged on the stirring rods 24.
The utility model relates to an organic sludge anaerobic digestion device, which designs a tank body 10 into a structure combining an outer wall 14, an inner wall 15, a heat insulation material 16 and a heat tracing pipe 17, can bulge hot water with the temperature of 35-55 degrees into the heat tracing pipe 17 through the heat tracing pipe 17 external heat exchanger at the initial stage of use, and can quickly raise the temperature in the tank body 10 through the effect of the heat tracing pipe 17, so that anaerobic bacteria in the tank body 10 can quickly reach the temperature suitable for propagation, and can propagate in a large quantity, so as to improve the treatment efficiency of the anaerobic digestion device, meanwhile, in order to ensure that the organic sludge entering the tank body 10 can be fully combined with the anaerobic bacteria, the utility model adopts that a stirring motor 20 is arranged at the top of the tank body 10, the stirring motor 20 is utilized to drive a rotating frame 21 to rotate, and the bottom is input into the material in the tank body 10 through a feeding device 11 to, thereby in order to guarantee its inside organic mud and the abundant contact of anaerobism bacterium and mix, ensure its reaction efficiency, simultaneously, the utility model discloses utilize unified a agitator motor 20 can drive two puddlers 24 motions simultaneously, improve its stirring mixing efficiency.
It is worth explaining that, the utility model discloses a swivel mount 21 includes connecting axle 22 and installation pole 23, and connecting axle 22 links to each other with agitator motor 20's output shaft is fixed, and the middle part of installation pole 23 links to each other with connecting axle 22's output, and puddler 24 is installed in the both sides of installation pole 23. When the stirring motor 20 operates, the connecting shaft 22 is driven to rotate, so that the mounting rod 23 makes a circular motion with the connecting shaft 22 as a center, the stirring rod 24 mounted on the mounting rod 23 rotates around the center line of the tank body 10, and the stirring blades 26 on the stirring rod 24 interact with the organic sludge in the stirring tank, thereby realizing rapid mixing and stirring inside the stirring tank.
It is worth explaining, the utility model discloses a puddler 24 includes that the left side mixes the pole and the right side mixes the pole, and the stirring leaf 26 on the pole is mixed on the left side is along the crisscross setting about its length direction is even, and the stirring leaf 26 on the pole is mixed on the right side is then along the crisscross setting about its length direction is even, and the stirring leaf 26 that the pole is mixed near the right side on one side of mixing the pole and the stirring leaf 26 intercrossing setting that the pole is mixed near the left side on one side of mixing the pole with the right side to the left side of mixing the pole, specifically please see figure 2 and show to guarantee the.
Further, the utility model discloses still include a water pump, inner wall 15 facial make-up is equipped with a plurality of shower nozzles 25, and shower nozzle 25 leads to pipe and is linked together with the water pump. When the device is used, high-pressure water can be supplied into the tank body 10 through the water pump so as to treat the inside of the tank body 10.
The utility model discloses a connecting axle 22 and installation pole 23 and puddler 24 are the cavity form to be equipped with shower head 27 at puddler 24 and installation pole 23 facial make-up, and connecting axle 22 leads to pipe and is linked together with the water pump. High pressure water can be pumped into the stirring rod 24 and the mounting rod 23 by a water pump to improve the mixing effect. Preferably, in order to improve the conveying efficiency, the feeding device 11 of the present invention preferably uses a screw conveyor, and the specific structure is shown in fig. 3.
Finally, the method of the present application is only a preferred embodiment and is not intended to limit the scope of the present invention. Any modification, equivalent replacement, or improvement made within the spirit and principle of the present invention should be included in the protection scope of the present invention.

Claims (5)

1.一种有机污泥厌氧消化装置,其特征在于,包括罐体,所述罐体底部外接进料装置,所述罐体的顶部设有排气管;所述罐体包括外壁、内壁和保温材料,所述外壁通过所述保温材料包裹在所述内壁外,并在所述保温材料内嵌入有伴热管,所述伴热管外接换热器;所述罐体的顶部还装设有搅拌电机,所述搅拌电机的输出轴外接旋转架,所述旋转架呈T字型,并在所述旋转架的两侧装设有搅拌杆,所述搅拌杆上装设搅拌叶。1. an organic sludge anaerobic digestion device, is characterized in that, comprises tank body, described tank body bottom is externally connected with feeding device, and the top of described tank body is provided with exhaust pipe; Described tank body comprises outer wall, inner wall and thermal insulation material, the outer wall is wrapped outside the inner wall by the thermal insulation material, and a heat tracing pipe is embedded in the thermal insulation material, and the heat tracing pipe is connected to an external heat exchanger; the top of the tank is also equipped with A stirring motor, the output shaft of the stirring motor is externally connected to a rotating frame, the rotating frame is T-shaped, and stirring rods are installed on both sides of the rotating frame, and stirring blades are installed on the stirring rod. 2.如权利要求1所述的一种有机污泥厌氧消化装置,其特征在于,所述旋转架包括连接轴和安装杆,所述连接轴与所述搅拌电机的输出轴固定相连,所述安装杆的中部与所述连接轴的输出端相连,所述搅拌杆装设在所述安装杆的两侧。2 . The anaerobic digestion device for organic sludge according to claim 1 , wherein the rotating frame comprises a connecting shaft and a mounting rod, and the connecting shaft is fixedly connected with the output shaft of the stirring motor, so that 2 . The middle part of the installation rod is connected with the output end of the connecting shaft, and the stirring rod is installed on both sides of the installation rod. 3.如权利要求2所述的一种有机污泥厌氧消化装置,其特征在于,还包括一水泵,所述内壁上装设有多个喷头,所述喷头通过水管与所述水泵相连通。3 . The anaerobic digestion device for organic sludge according to claim 2 , further comprising a water pump, a plurality of nozzles are installed on the inner wall, and the nozzles communicate with the water pump through a water pipe. 4 . 4.如权利要求3所述的一种有机污泥厌氧消化装置,其特征在于,所述连接轴及所述安装杆和所述搅拌杆呈中空状,并在所述搅拌杆和所述安装杆上装设有喷淋头,且所述连接轴通过水管与所述水泵相连通。4 . The anaerobic digestion device for organic sludge according to claim 3 , wherein the connecting shaft, the mounting rod and the stirring rod are hollow, and the connecting shaft and the stirring rod are hollow. 5 . A shower head is installed on the installation rod, and the connecting shaft is communicated with the water pump through a water pipe. 5.如权利要求1所述的一种有机污泥厌氧消化装置,其特征在于,所述进料装置为螺杆输送机。5 . The anaerobic digestion device for organic sludge according to claim 1 , wherein the feeding device is a screw conveyor. 6 .
CN201921516622.4U 2019-09-12 2019-09-12 Organic sludge anaerobic digestion device Expired - Fee Related CN210656623U (en)

Priority Applications (1)

Application Number Priority Date Filing Date Title
CN201921516622.4U CN210656623U (en) 2019-09-12 2019-09-12 Organic sludge anaerobic digestion device

Applications Claiming Priority (1)

Application Number Priority Date Filing Date Title
CN201921516622.4U CN210656623U (en) 2019-09-12 2019-09-12 Organic sludge anaerobic digestion device

Publications (1)

Publication Number Publication Date
CN210656623U true CN210656623U (en) 2020-06-02

Family

ID=70821368

Family Applications (1)

Application Number Title Priority Date Filing Date
CN201921516622.4U Expired - Fee Related CN210656623U (en) 2019-09-12 2019-09-12 Organic sludge anaerobic digestion device

Country Status (1)

Country Link
CN (1) CN210656623U (en)

Cited By (2)

* Cited by examiner, † Cited by third party
Publication number Priority date Publication date Assignee Title
CN113816579A (en) * 2021-09-28 2021-12-21 中冶焦耐(大连)工程技术有限公司 A kind of sludge anaerobic digestion treatment device and method
CN116396108A (en) * 2023-03-31 2023-07-07 湖南省农业环境生态研究所 High-temperature rapid decomposing device

Cited By (3)

* Cited by examiner, † Cited by third party
Publication number Priority date Publication date Assignee Title
CN113816579A (en) * 2021-09-28 2021-12-21 中冶焦耐(大连)工程技术有限公司 A kind of sludge anaerobic digestion treatment device and method
CN116396108A (en) * 2023-03-31 2023-07-07 湖南省农业环境生态研究所 High-temperature rapid decomposing device
CN116396108B (en) * 2023-03-31 2024-02-23 湖南省农业环境生态研究所 High-temperature rapid decomposing device

Similar Documents

Publication Publication Date Title
CN206156994U (en) Reuse treatment system of sludge and derivatives in water ecological treatment
CN112077127B (en) A large-scale food waste phase change water generation degradation treatment system and its treatment method
CN102887734A (en) Kitchen waste recycling automatic treating all-in-one machine and treatment process thereof
CN108101600A (en) A kind of villages and small towns mixing organic solid castoff aerobic composting device
CN103131631B (en) Dry fermentation device and dry fermentation method to prepare biogas through high-concentration solid raw materials
CN202080994U (en) Harmless and reducing real-time treatment system for sewage and sludge
CN2905782Y (en) Kitchen refuse compost treating system
CN207596746U (en) Integrated automation consumer garbage compost processing equipment
CN103130320B (en) A kind of wind energy oxygen supply type rural domestic sewage treating device and method
CN106431517A (en) Kitchen waste treatment device for coupling aerobic composting with anaerobic fermentation
CN105642648A (en) System and method for continuously treating kitchen waste
CN202415341U (en) Device capable of integrating high-pressure dehydration, drying and deodorization for sludge
CN210656623U (en) Organic sludge anaerobic digestion device
CN201501832U (en) A tank type fermentation reactor
CN204448782U (en) A kind of waste residue of changing food waste and the biochemical treatment system of tail gas
CN212456864U (en) A kitchen waste hydrogen-rich energy machine
CN207288309U (en) A kind of Environmental-protection garbage handles dry sterilizing device
CN202297405U (en) Improving device for aerobic fermentation of urban garbage
CN103086758A (en) Anaerobic composting process applicable to small-scale kitchen waste treatment
CN203091399U (en) Fermenting and drying device applied to kitchen waste treatment
CN204939315U (en) There is the organic solid waste mineralising fermentation unit that aeration performance is stirred in temperature control
CN212565795U (en) Food waste hydrogen-rich energy combustion system
CN202390245U (en) Wind energy oxygen supplying type rural domestic sewage treating device
CN104805002A (en) Straw biogas resource treatment system with high-efficiency anaerobic fermentation function
CN204939314U (en) Convection agitation formula rubbish mineralising fermentation unit

Legal Events

Date Code Title Description
GR01 Patent grant
GR01 Patent grant
CF01 Termination of patent right due to non-payment of annual fee

Granted publication date: 20200602

CF01 Termination of patent right due to non-payment of annual fee