CN203080820U - 太阳能发电复合保温板材 - Google Patents
太阳能发电复合保温板材 Download PDFInfo
- Publication number
- CN203080820U CN203080820U CN2012206340022U CN201220634002U CN203080820U CN 203080820 U CN203080820 U CN 203080820U CN 2012206340022 U CN2012206340022 U CN 2012206340022U CN 201220634002 U CN201220634002 U CN 201220634002U CN 203080820 U CN203080820 U CN 203080820U
- Authority
- CN
- China
- Prior art keywords
- layer
- solar
- solar cell
- electrical energy
- energy generation
- Prior art date
- Legal status (The legal status is an assumption and is not a legal conclusion. Google has not performed a legal analysis and makes no representation as to the accuracy of the status listed.)
- Expired - Fee Related
Links
- 239000002131 composite material Substances 0.000 title claims abstract description 18
- 238000010248 power generation Methods 0.000 title abstract description 6
- 239000005341 toughened glass Substances 0.000 claims abstract description 14
- 239000004831 Hot glue Substances 0.000 claims abstract description 10
- 238000004873 anchoring Methods 0.000 claims abstract description 9
- 239000000463 material Substances 0.000 claims description 23
- 239000010409 thin film Substances 0.000 claims description 14
- XUIMIQQOPSSXEZ-UHFFFAOYSA-N Silicon Chemical compound [Si] XUIMIQQOPSSXEZ-UHFFFAOYSA-N 0.000 claims description 7
- 150000001875 compounds Chemical class 0.000 claims description 7
- 239000013078 crystal Substances 0.000 claims description 7
- 239000004744 fabric Substances 0.000 claims description 7
- 239000004814 polyurethane Substances 0.000 claims description 7
- 229910052710 silicon Inorganic materials 0.000 claims description 7
- 239000010703 silicon Substances 0.000 claims description 7
- 229920002635 polyurethane Polymers 0.000 claims description 6
- 238000005034 decoration Methods 0.000 claims description 5
- 239000004925 Acrylic resin Substances 0.000 claims description 3
- ISWSIDIOOBJBQZ-UHFFFAOYSA-N Phenol Chemical compound OC1=CC=CC=C1 ISWSIDIOOBJBQZ-UHFFFAOYSA-N 0.000 claims description 3
- 239000004793 Polystyrene Substances 0.000 claims description 3
- 239000000853 adhesive Substances 0.000 claims description 3
- 230000001070 adhesive effect Effects 0.000 claims description 3
- 239000004568 cement Substances 0.000 claims description 3
- 229910021419 crystalline silicon Inorganic materials 0.000 claims description 3
- 229920006332 epoxy adhesive Polymers 0.000 claims description 3
- 239000011152 fibreglass Substances 0.000 claims description 3
- 239000006260 foam Substances 0.000 claims description 3
- 239000011494 foam glass Substances 0.000 claims description 3
- 239000011491 glass wool Substances 0.000 claims description 3
- 239000004570 mortar (masonry) Substances 0.000 claims description 3
- 229910021420 polycrystalline silicon Inorganic materials 0.000 claims description 3
- 229920000642 polymer Polymers 0.000 claims description 3
- 229920005591 polysilicon Polymers 0.000 claims description 3
- 229920002223 polystyrene Polymers 0.000 claims description 3
- 238000009413 insulation Methods 0.000 abstract description 12
- 238000010276 construction Methods 0.000 abstract description 11
- 238000004321 preservation Methods 0.000 abstract description 7
- 239000012774 insulation material Substances 0.000 abstract description 4
- 238000000034 method Methods 0.000 abstract description 4
- 238000004078 waterproofing Methods 0.000 abstract description 3
- 239000010410 layer Substances 0.000 abstract 16
- 239000012790 adhesive layer Substances 0.000 abstract 2
- 239000011241 protective layer Substances 0.000 abstract 2
- 230000002787 reinforcement Effects 0.000 abstract 2
- 239000011810 insulating material Substances 0.000 description 2
- 230000009286 beneficial effect Effects 0.000 description 1
- 239000007767 bonding agent Substances 0.000 description 1
- 239000004566 building material Substances 0.000 description 1
- 238000004140 cleaning Methods 0.000 description 1
- 230000007812 deficiency Effects 0.000 description 1
- 238000010586 diagram Methods 0.000 description 1
- 238000005538 encapsulation Methods 0.000 description 1
- 238000004134 energy conservation Methods 0.000 description 1
- 238000005265 energy consumption Methods 0.000 description 1
- 238000005516 engineering process Methods 0.000 description 1
- 230000007613 environmental effect Effects 0.000 description 1
- 239000005431 greenhouse gas Substances 0.000 description 1
- 238000010438 heat treatment Methods 0.000 description 1
- 238000004519 manufacturing process Methods 0.000 description 1
- 230000005622 photoelectricity Effects 0.000 description 1
- 239000000758 substrate Substances 0.000 description 1
- 230000009466 transformation Effects 0.000 description 1
- XLYOFNOQVPJJNP-UHFFFAOYSA-N water Substances O XLYOFNOQVPJJNP-UHFFFAOYSA-N 0.000 description 1
Images
Classifications
-
- Y—GENERAL TAGGING OF NEW TECHNOLOGICAL DEVELOPMENTS; GENERAL TAGGING OF CROSS-SECTIONAL TECHNOLOGIES SPANNING OVER SEVERAL SECTIONS OF THE IPC; TECHNICAL SUBJECTS COVERED BY FORMER USPC CROSS-REFERENCE ART COLLECTIONS [XRACs] AND DIGESTS
- Y02—TECHNOLOGIES OR APPLICATIONS FOR MITIGATION OR ADAPTATION AGAINST CLIMATE CHANGE
- Y02B—CLIMATE CHANGE MITIGATION TECHNOLOGIES RELATED TO BUILDINGS, e.g. HOUSING, HOUSE APPLIANCES OR RELATED END-USER APPLICATIONS
- Y02B10/00—Integration of renewable energy sources in buildings
- Y02B10/10—Photovoltaic [PV]
-
- Y—GENERAL TAGGING OF NEW TECHNOLOGICAL DEVELOPMENTS; GENERAL TAGGING OF CROSS-SECTIONAL TECHNOLOGIES SPANNING OVER SEVERAL SECTIONS OF THE IPC; TECHNICAL SUBJECTS COVERED BY FORMER USPC CROSS-REFERENCE ART COLLECTIONS [XRACs] AND DIGESTS
- Y02—TECHNOLOGIES OR APPLICATIONS FOR MITIGATION OR ADAPTATION AGAINST CLIMATE CHANGE
- Y02B—CLIMATE CHANGE MITIGATION TECHNOLOGIES RELATED TO BUILDINGS, e.g. HOUSING, HOUSE APPLIANCES OR RELATED END-USER APPLICATIONS
- Y02B10/00—Integration of renewable energy sources in buildings
- Y02B10/20—Solar thermal
-
- Y—GENERAL TAGGING OF NEW TECHNOLOGICAL DEVELOPMENTS; GENERAL TAGGING OF CROSS-SECTIONAL TECHNOLOGIES SPANNING OVER SEVERAL SECTIONS OF THE IPC; TECHNICAL SUBJECTS COVERED BY FORMER USPC CROSS-REFERENCE ART COLLECTIONS [XRACs] AND DIGESTS
- Y02—TECHNOLOGIES OR APPLICATIONS FOR MITIGATION OR ADAPTATION AGAINST CLIMATE CHANGE
- Y02E—REDUCTION OF GREENHOUSE GAS [GHG] EMISSIONS, RELATED TO ENERGY GENERATION, TRANSMISSION OR DISTRIBUTION
- Y02E10/00—Energy generation through renewable energy sources
- Y02E10/50—Photovoltaic [PV] energy
Landscapes
- Photovoltaic Devices (AREA)
- Roof Covering Using Slabs Or Stiff Sheets (AREA)
Abstract
一种太阳能发电复合保温板材,从上到下依次由钢化玻璃保护层、透明热熔胶粘接层、太阳能电池层、柔性粘接层、网格加固层、界面层、保温材料层复合为一体。钢化玻璃保护层、透明热熔胶粘接层、太阳能电池层和柔性粘结层的尺寸小于其他各层,四周留出锚固及装饰压边。本实用新型将太阳能电池层和具有防水功能的保温层、加固层等复合为一体,从而可以通过一次施工达到太阳能发电及保温、防水的三个目的,减少了施工工序、减轻了施工强度,避免了防水层、保温层与太阳能电池层分步施工时为固定太阳能电池板,而对防水层、保温层以及建筑物本身所造成的损害。本实用新型可同时应用于建筑屋顶、墙面、坡面的保温、防水及建筑太阳能发电工程。
Description
技术领域
本实用新型涉及一种建筑保温板材,特别是一种能够实现太阳能发电的保温板材。
背景技术
保温板材主要是用于建筑墙体、屋面等处的保温工程,按材质主要分为有机保温材料和无机保温材料两大类。目前保温材料的种类繁多、性能各异,但功能仍只局限在建筑保温一方面,无论材质或结构的改进,均是为了提高其保温和施工性能。建筑保温材料作为建筑必备的一种建材,还可具备更多功能,以适应建筑节能及装饰方面的要求。
目前,太阳能作为一种清洁环保的自然能源被越来越多的应用在城乡建筑领域。在住宅屋顶、墙面安装太阳能电池发电设备,可通过吸收太阳能所产生的能量,用于发电、供暖等使用,减少能耗和温室气体排放。传统太阳能发电电池施工需要在建筑物保温、防水施工完工后,在屋面、墙面重新进行打孔固定,易对保温板材结构产生破坏,施工工序复杂、人工费用高。此外,太阳能电池板应用在屋面、墙面处,抗击打性能、防水性能不足、容易损坏,影响太阳能系统的推广应用。
实用新型内容
本实用新型提供一种太阳能发电复合保温板材,要解决现有保温板材不具备太阳能发电功能,保温工程施工与太阳能电池装置施工不能同时进行的技术问题;并解决现有太阳能电池板容易损坏的技术问题。
本实用新型解决其技术问题所采用的技术方案是:
这种太阳能发电复合保温板材,从上到下依次由钢化玻璃保护层、透明热熔胶粘接层、太阳能电池层、柔性粘接层、网格加固层、界面层、保温材料层复合为一体;
所述钢化玻璃保护层、透明热熔胶粘接层、太阳能电池层和柔性粘结层的尺寸小于其他各层,四周留出锚固及装饰压边。
所述太阳能电池层为柔性薄膜太阳能电池板、晶体硅太阳能电池板、多元化合物薄膜太阳能电池板、聚合物太阳能电池板或纳米晶太阳能电池板。
所述柔性薄膜太阳能电池板是铜铟镓硒柔性薄膜太阳能电池板。
所述晶体硅太阳能电池板是单晶硅太阳能电池板或多晶硅太阳能电池板。
所述钢化玻璃保护层的厚度为1至3mm。
所述柔性粘接层为柔性聚氨酯粘接层、柔性环氧树脂粘接层或柔性丙烯酸树脂粘接层,厚度为0.1~0.5毫米。
所述网格加固层为玻璃纤维网格布或金属丝网格布。
所述界面层为界面砂浆。
所述保温材料层是聚氨酯泡沫材料层、酚醛树脂泡沫材料层、聚苯乙烯泡沫材料层、泡沫水泥材料层、泡沫玻璃材料层或玻璃棉材料层等,厚度为10~100mm。
所述锚固及装饰压边的宽度为70~100mm。
本实用新型的特点和有益效果如下:
本实用新型将太阳能电池层和具有防水功能的保温层、加固层等复合为一体,从而可以通过一次施工达到太阳能发电及保温、防水的三个目的,减少了施工工序、减轻了施工强度,避免了防水层、保温层与太阳能电池层分步施工时为固定太阳能电池板,而对防水层、保温层以及建筑物本身所造成的损害。
本实用新型的太阳能电池层外部由热熔胶粘结钢化玻璃保护层,使太阳能电池板坚固耐用,使用寿命增长。
太阳能电池层优选铜铟镓硒柔性薄膜太阳能电池板,此种柔性薄膜太阳能电池板具有生产成本低、污染小、不衰退、弱光性能好、光电转换效率高等优点,且材质为柔性,便于储存和运输,同时也适合与建筑一体化的应用。太阳能电池层也可采用晶体硅太阳能电池板。
钢化玻璃保护层、透明热熔胶粘接层、太阳能电池层和柔性粘结层的尺寸小于其他各层,四周留边,用于施工时压边使用。
本实用新型将太阳能电池层与保温材料结合的设计,符合建筑环保、节能的要求,为现阶段积极推广的光电建筑一体化理念做出了示范。
本实用新型可同时应用于建筑屋顶、墙面、坡面的保温、防水及建筑太阳能发电工程。
附图说明
下面结合附图和实施例对本实用新型进一步说明。
图1是本实用新型的剖面结构示意图。
图2是本实用新型的平面结构示意图。
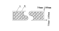
附图标记:1-钢化玻璃保护层、2-透明热熔胶粘接层、3-太阳能电池层、4-柔性粘接层、5-网格加固层、6-界面层、7-保温材料层、8-锚固及装饰压边。
具体实施方式
实施例参见图1所示,这种太阳能发电复合保温板材,从上到下依次由钢化玻璃保护层1、透明热熔胶粘接层2、太阳能电池层3、柔性粘接层4、网格加固层5、界面层6、保温材料层7复合为一体。
所述太阳能电池层3为柔性薄膜太阳能电池板、晶体硅太阳能电池板、多元化合物薄膜太阳能电池板、聚合物太阳能电池板或纳米晶太阳能电池板。柔性薄膜太阳能电池板是铜铟镓硒柔性薄膜太阳能电池板。晶体硅太阳能电池板是单晶硅太阳能电池板或多晶硅太阳能电池板。
所述钢化玻璃保护层1的厚度为1至3mm。
所述柔性粘接层4为柔性聚氨酯粘接层、柔性环氧树脂粘接层或柔性丙烯酸树脂粘接层,厚度为0.1~0.5毫米。
所述网格加固层5为玻璃纤维网格布或金属丝网格布。
所述界面层6为界面砂浆。
所述保温材料层7是聚氨酯泡沫材料层、酚醛树脂泡沫材料层、聚苯乙烯泡沫材料层、泡沫水泥材料层、泡沫玻璃材料层或玻璃棉材料层等,厚度为10~100mm。
参见图2所示,所述钢化玻璃保护层1、透明热熔胶粘接层2、太阳能电池层3和柔性粘结层4的尺寸小于其他各层,四周留出锚固及装饰压边8。锚固及装饰压边8的宽度为70~100mm。
本实用新型的太阳能发电复合保温板材的施工方法,施工步骤如下:
步骤一,清理基层表面,进行找平、拉毛处理,定位、弹基准线;
步骤二,配专用粘接剂,预粘网格布,粘接太阳能发电复合保温板;
步骤三,压边部分的中心部位依据工程要求密度钻孔、锚固;
步骤四,压边部分接缝处密封处理及粘贴装饰条。
Claims (10)
1.一种太阳能发电复合保温板材,其特征在于:从上到下依次由钢化玻璃保护层(1)、透明热熔胶粘接层(2)、太阳能电池层(3)、柔性粘接层(4)、网格加固层(5)、界面层(6)、保温材料层(7)复合为一体;
所述钢化玻璃保护层(1)、透明热熔胶粘接层(2)、太阳能电池层(3)和柔性粘结层(4)的尺寸小于其他各层,四周留出锚固及装饰压边(8)。
2.根据权利要求1所述的太阳能发电复合保温板材,其特征在于:所述太阳能电池层(3)为柔性薄膜太阳能电池板、晶体硅太阳能电池板、多元化合物薄膜太阳能电池板、聚合物太阳能电池板或纳米晶太阳能电池板。
3.根据权利要求2所述的太阳能发电复合保温板材,其特征在于:所述柔性薄膜太阳能电池板是铜铟镓硒柔性薄膜太阳能电池板。
4.根据权利要求2所述的太阳能发电复合保温板材,其特征在于:所述晶体硅太阳能电池板是单晶硅太阳能电池板或多晶硅太阳能电池板。
5.根据权利要求1所述的太阳能发电复合保温板材,其特征在于:所述钢化玻璃保护层(1)的厚度为1至3mm。
6.根据权利要求1所述的太阳能发电复合保温板材,其特征在于:所述柔性粘接层(4)为柔性聚氨酯粘接层、柔性环氧树脂粘接层或柔性丙烯酸树脂粘接层,厚度为0.1~0.5毫米。
7.根据权利要求1所述的太阳能发电复合保温板材,其特征在于:所述网格加固层(5)为玻璃纤维网格布或金属丝网格布。
8.根据权利要求1所述的太阳能发电复合保温板材,其特征在于:所述界面层(6)为界面砂浆。
9.根据权利要求1所述的太阳能发电复合保温板材,其特征在于:所述保温材料层(7)是聚氨酯泡沫材料层、酚醛树脂泡沫材料层、聚苯乙烯泡沫材料层、泡沫水泥材料层、泡沫玻璃材料层或玻璃棉材料层,厚度为10~100mm。
10.根据权利要求1所述的太阳能发电复合保温板材,其特征在于:所述锚固及装饰压边(8)的宽度为70~100mm。
Priority Applications (1)
| Application Number | Priority Date | Filing Date | Title |
|---|---|---|---|
| CN2012206340022U CN203080820U (zh) | 2012-11-27 | 2012-11-27 | 太阳能发电复合保温板材 |
Applications Claiming Priority (1)
| Application Number | Priority Date | Filing Date | Title |
|---|---|---|---|
| CN2012206340022U CN203080820U (zh) | 2012-11-27 | 2012-11-27 | 太阳能发电复合保温板材 |
Publications (1)
| Publication Number | Publication Date |
|---|---|
| CN203080820U true CN203080820U (zh) | 2013-07-24 |
Family
ID=48826671
Family Applications (1)
| Application Number | Title | Priority Date | Filing Date |
|---|---|---|---|
| CN2012206340022U Expired - Fee Related CN203080820U (zh) | 2012-11-27 | 2012-11-27 | 太阳能发电复合保温板材 |
Country Status (1)
| Country | Link |
|---|---|
| CN (1) | CN203080820U (zh) |
Cited By (6)
| Publication number | Priority date | Publication date | Assignee | Title |
|---|---|---|---|---|
| CN103410289A (zh) * | 2013-08-22 | 2013-11-27 | 烟台斯坦普精工建设有限公司 | 一种泡沫玻璃保温光伏装饰一体化板及其制备方法 |
| CN103422641A (zh) * | 2013-08-22 | 2013-12-04 | 烟台斯坦普精工建设有限公司 | 一种防火保温光伏装饰复合板及其制备方法 |
| CN104617171A (zh) * | 2015-02-06 | 2015-05-13 | 无锡同春新能源科技有限公司 | 一种以结构泡沫板材为基板的轻型太阳能电池组件 |
| CN107152129A (zh) * | 2017-05-25 | 2017-09-12 | 国网辽宁省电力有限公司葫芦岛供电公司 | 带有防水保温底板的多功能太阳能发电板 |
| CN107299717A (zh) * | 2017-07-11 | 2017-10-27 | 丰县正标卫浴有限公司 | 一种绿色防水无胶型卫浴墙体板材及其制作方法 |
| CN111900221A (zh) * | 2020-08-05 | 2020-11-06 | 苏州中来光伏新材股份有限公司 | 一种轻质高强度光伏组件及其制备方法 |
-
2012
- 2012-11-27 CN CN2012206340022U patent/CN203080820U/zh not_active Expired - Fee Related
Cited By (8)
| Publication number | Priority date | Publication date | Assignee | Title |
|---|---|---|---|---|
| CN103410289A (zh) * | 2013-08-22 | 2013-11-27 | 烟台斯坦普精工建设有限公司 | 一种泡沫玻璃保温光伏装饰一体化板及其制备方法 |
| CN103422641A (zh) * | 2013-08-22 | 2013-12-04 | 烟台斯坦普精工建设有限公司 | 一种防火保温光伏装饰复合板及其制备方法 |
| CN103422641B (zh) * | 2013-08-22 | 2016-05-04 | 烟台斯坦普精工建设有限公司 | 一种防火保温光伏装饰复合板及其制备方法 |
| CN103410289B (zh) * | 2013-08-22 | 2016-05-18 | 烟台斯坦普精工建设有限公司 | 一种泡沫玻璃保温光伏装饰一体化板及其制备方法 |
| CN104617171A (zh) * | 2015-02-06 | 2015-05-13 | 无锡同春新能源科技有限公司 | 一种以结构泡沫板材为基板的轻型太阳能电池组件 |
| CN107152129A (zh) * | 2017-05-25 | 2017-09-12 | 国网辽宁省电力有限公司葫芦岛供电公司 | 带有防水保温底板的多功能太阳能发电板 |
| CN107299717A (zh) * | 2017-07-11 | 2017-10-27 | 丰县正标卫浴有限公司 | 一种绿色防水无胶型卫浴墙体板材及其制作方法 |
| CN111900221A (zh) * | 2020-08-05 | 2020-11-06 | 苏州中来光伏新材股份有限公司 | 一种轻质高强度光伏组件及其制备方法 |
Similar Documents
| Publication | Publication Date | Title |
|---|---|---|
| CN203080820U (zh) | 太阳能发电复合保温板材 | |
| CN103441168B (zh) | 一种柔性屋面光伏瓦及其制备方法 | |
| CN101851994A (zh) | 无机夹心复合型外墙外保温系统 | |
| CN201521070U (zh) | 太阳能发电外墙外保温复合板 | |
| CN103422641A (zh) | 一种防火保温光伏装饰复合板及其制备方法 | |
| CN203213641U (zh) | 太阳能环保智能屋 | |
| Ma et al. | Solar energy and residential building integration technology and application | |
| CN204728752U (zh) | 一种多功能阳光房 | |
| CN203201039U (zh) | 一种带种植漂浮板的蓄水屋面隔热模块 | |
| CN203583801U (zh) | 屋面防水保温发电一体化板 | |
| CN201704893U (zh) | 一种新型太阳能电池瓦片 | |
| CN206090923U (zh) | 一种主动能源式保温外墙 | |
| CN203514692U (zh) | 一种防火保温光伏装饰复合板 | |
| CN203475731U (zh) | 一种柔性屋面光伏瓦 | |
| CN203684547U (zh) | 一种古建筑屋面保温节能结构 | |
| CN202866150U (zh) | 一种太阳能建筑墙板 | |
| CN203008190U (zh) | 工厂化生产环保节能型房屋的房顶 | |
| CN203150588U (zh) | 一种单元式的太阳能光电节能板 | |
| CN201546378U (zh) | 一种叠合式多功能蜂窝砼屋面板结构 | |
| CN201512900U (zh) | 太阳能光电玻璃幕墙板 | |
| CN206110370U (zh) | 一种隔热隔湿防水系统 | |
| CN206016117U (zh) | 一种外墙装饰板 | |
| CN205088865U (zh) | 薄膜光伏太阳能采光顶幕墙 | |
| CN104695636A (zh) | 一种坡屋面光伏组件节点 | |
| CN206128454U (zh) | 合成树脂太阳能光伏瓦 |
Legal Events
| Date | Code | Title | Description |
|---|---|---|---|
| C14 | Grant of patent or utility model | ||
| GR01 | Patent grant | ||
| PP01 | Preservation of patent right |
Effective date of registration: 20140408 Granted publication date: 20130724 |
|
| RINS | Preservation of patent right or utility model and its discharge | ||
| PD01 | Discharge of preservation of patent |
Date of cancellation: 20141008 Granted publication date: 20130724 |
|
| RINS | Preservation of patent right or utility model and its discharge | ||
| C17 | Cessation of patent right | ||
| CF01 | Termination of patent right due to non-payment of annual fee |
Granted publication date: 20130724 Termination date: 20131127 |