CN202846945U - 一种装于压力机侧面的凸轮送料机构 - Google Patents

一种装于压力机侧面的凸轮送料机构 Download PDF

Info

Publication number
CN202846945U
CN202846945U CN 201220549216 CN201220549216U CN202846945U CN 202846945 U CN202846945 U CN 202846945U CN 201220549216 CN201220549216 CN 201220549216 CN 201220549216 U CN201220549216 U CN 201220549216U CN 202846945 U CN202846945 U CN 202846945U
Authority
CN
China
Prior art keywords
cam
slide block
vertical shaft
press machine
forcing press
Prior art date
Legal status (The legal status is an assumption and is not a legal conclusion. Google has not performed a legal analysis and makes no representation as to the accuracy of the status listed.)
Expired - Fee Related
Application number
CN 201220549216
Other languages
English (en)
Inventor
吕文极
杨青
张远
苏兰
Current Assignee (The listed assignees may be inaccurate. Google has not performed a legal analysis and makes no representation or warranty as to the accuracy of the list.)
XIAMEN METALFORMING MACHINE TOOL CO Ltd
Original Assignee
XIAMEN METALFORMING MACHINE TOOL CO Ltd
Priority date (The priority date is an assumption and is not a legal conclusion. Google has not performed a legal analysis and makes no representation as to the accuracy of the date listed.)
Filing date
Publication date
Application filed by XIAMEN METALFORMING MACHINE TOOL CO Ltd filed Critical XIAMEN METALFORMING MACHINE TOOL CO Ltd
Priority to CN 201220549216 priority Critical patent/CN202846945U/zh
Application granted granted Critical
Publication of CN202846945U publication Critical patent/CN202846945U/zh
Anticipated expiration legal-status Critical
Expired - Fee Related legal-status Critical Current

Links

Images

Landscapes

  • Press Drives And Press Lines (AREA)

Abstract

本实用新型公开一种装于压力机侧面的凸轮送料机构,包括设置在压力机侧面的固定座、推料杆,固定座的上端面设有平行于送料方向的轨道,轨道中间的固定座上设有垂直于固定座上端面的轴孔,所述的轨道上装有一滑块,滑块的中间设有长孔,一立轴穿过滑块的长孔装在固定座的轴孔上,立轴在靠近滑块的上端面处固定一凸轮,凸轮两侧的滑块上各固定一根与立轴相平行的销轴,两根销轴上各装有滚轮与凸轮相配合,立轴的上端通过一对锥形齿轮与压力机的主轴相连接,滑块与推料杆相连接;滑块也可通过一钩块与推料杆相连接;本实用新型结构简单,动作可靠性高,送料节奏与压力机的冲压节奏同步性好。

Description

一种装于压力机侧面的凸轮送料机构
技术领域
本实用新型涉及压力机的送料机构,尤其是一种装于压力机侧面的凸轮送料机构。
背景技术
 现有压力机的送料机构一般都采用气缸作为动力源,由气缸的活塞杆带动推料杆左右移动实现给压力机自动送料。为了保证气缸动作与压力机冲压节奏保持一致,气缸需要通过PLC、继电器、电磁阀等控制器件进行控制,其构成组件较为复杂,同时因控制误差使得推料杆的送料节奏难于同压力机的工作节奏始终保持同步,同步性较差,送料精度低。实际使用中还经常出现送料不到位而出现压坏工件的情况,造成不必要的损耗。
实用新型内容
本实用新型要解决的技术问题是提供一种装于压力机侧面的凸轮送料机构,结构简单,动作可靠性高,送料节奏与压力机的冲压节奏同步性好。
为达到上述目的,本实用新型的技术方案是:一种装于压力机侧面的凸轮送料机构,包括设置在压力机侧面的固定座、推料杆,固定座的上端面设有平行于送料方向的轨道,轨道中间的固定座上设有垂直于固定座上端面的轴孔,所述的轨道上装有一滑块,滑块的中间设有长孔,一立轴穿过滑块的长孔装在固定座的轴孔上,立轴在靠近滑块的上端面处固定一凸轮,凸轮两侧的滑块上各固定一根与立轴相平行的销轴,两根销轴上各装有滚轮与凸轮相配合,立轴的上端通过一对锥形齿轮与压力机的主轴相连接,滑块与推料杆相连接。
进一步改进,所述的滑块是通过一钩块与推料杆相连接,通过改变钩块与滑块的固定位置可以调整推料杆的推料位置。
本实用新型采用共轭凸轮传动原理,通过凸轮带动滑块左右移动,而凸轮是通过立轴、一对锥形齿轮与压力机的主轴同步转动,因此滑块带动推料杆的送料节奏始终与压力机冲压节奏保持同步,同步性好,降低因工件送不到位而压坏工件的损耗。
另一方面,本实用新型与采用气缸送料相比,省去控制部分,结构较简单,动作可靠性高,且送料节奏能随压力机工作节奏的改变而改变,因此具有适应压力机任意速度的准确送料功能。
附图说明
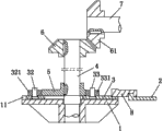
图1是本实用新型局部俯视图;
图2是图1的A-A剖视图;
图3是本实用新型滑块的俯视图。
具体实施方式
下面结合附图和具体的实施方式对本实用新型作进一步详细说明。
图1至图3所示,一种装于压力机侧面的凸轮送料机构,包括设置在压力机侧面的固定座1、推料杆2,固定座1的上端面设有平行于送料方向的轨道11,轨道11中间的固定座1上设有垂直于固定座上端面的轴孔12,所述的轨道11上装有一滑块3,滑块3的中间加工有长孔31,一立轴4穿过滑块3的长孔31装在固定座1的轴孔12上,立轴4在靠近滑块3的上端面处固定一凸轮5,凸轮5两侧的滑块3上各固定一根与立轴4相平行的销轴32、33,两根销轴32、33上各装有滚轮321、331与凸轮5相配合,立轴4的上端通过一对锥形齿轮6、61与压力机的主轴7相连接,滑块3先与一钩块8相固定,钩块8再与推料杆2相连接。
本实用新型工作时,立轴4通过一对锥形齿轮6、61与压力机的主轴7同步转动,立轴4再带动凸轮5转动,当凸轮5的短端部分与滚轮331相配合时,推杆2后退到最左侧,此时工件10从纵向轨道送入,凸轮5继续旋转,通过滚轮331推动滑块3进一步通过钩块8推动推料杆2右移,推料杆2就推动工件10右移,当凸轮5的长端部分与滚轮331相配合时,工件10被推到最右侧位置,此时处于最右侧的工件10就进入压力机的冲压位置,如此循环,保持送工件的节奏与压力机的冲压节奏同步。
以上仅是本实用新型一个较佳的实施例,本领域的技术人员按权利要求作等同的改变都落入本案的保护范围。

Claims (2)

1.一种装于压力机侧面的凸轮送料机构,包括设置在压力机侧面的固定座、推料杆,其特征在于:固定座的上端面设有平行于送料方向的轨道,轨道中间的固定座上设有垂直于固定座上端面的轴孔,所述的轨道上装有一滑块,滑块的中间设有长孔,一立轴穿过滑块的长孔装在固定座的轴孔上,立轴在靠近滑块的上端面处固定一凸轮,凸轮两侧的滑块上各固定一根与立轴相平行的销轴,两根销轴上各装有滚轮与凸轮相配合,立轴的上端通过一对锥形齿轮与压力机的主轴相连接,滑块与推料杆相连接。
2.根据权利要求1所述的一种装于压力机侧面的凸轮送料机构,其特征在于:所述的滑块是通过一钩块与推料杆相连接。
CN 201220549216 2012-10-25 2012-10-25 一种装于压力机侧面的凸轮送料机构 Expired - Fee Related CN202846945U (zh)

Priority Applications (1)

Application Number Priority Date Filing Date Title
CN 201220549216 CN202846945U (zh) 2012-10-25 2012-10-25 一种装于压力机侧面的凸轮送料机构

Applications Claiming Priority (1)

Application Number Priority Date Filing Date Title
CN 201220549216 CN202846945U (zh) 2012-10-25 2012-10-25 一种装于压力机侧面的凸轮送料机构

Publications (1)

Publication Number Publication Date
CN202846945U true CN202846945U (zh) 2013-04-03

Family

ID=47978179

Family Applications (1)

Application Number Title Priority Date Filing Date
CN 201220549216 Expired - Fee Related CN202846945U (zh) 2012-10-25 2012-10-25 一种装于压力机侧面的凸轮送料机构

Country Status (1)

Country Link
CN (1) CN202846945U (zh)

Cited By (3)

* Cited by examiner, † Cited by third party
Publication number Priority date Publication date Assignee Title
CN105414374A (zh) * 2015-12-14 2016-03-23 苏州源硕精密模具有限公司 一种凸轮送料机构
CN106079553A (zh) * 2016-08-20 2016-11-09 艾国华 制造生物锅炉燃料的挤压机进料装置
CN109175209A (zh) * 2018-09-27 2019-01-11 江苏天毅冷镦股份有限公司 多工位冷镦机后置粒料式进料机构

Cited By (3)

* Cited by examiner, † Cited by third party
Publication number Priority date Publication date Assignee Title
CN105414374A (zh) * 2015-12-14 2016-03-23 苏州源硕精密模具有限公司 一种凸轮送料机构
CN106079553A (zh) * 2016-08-20 2016-11-09 艾国华 制造生物锅炉燃料的挤压机进料装置
CN109175209A (zh) * 2018-09-27 2019-01-11 江苏天毅冷镦股份有限公司 多工位冷镦机后置粒料式进料机构

Similar Documents

Publication Publication Date Title
CN202670706U (zh) 纸筒饼精确定位间歇输送机构
CN202539685U (zh) 一种圆锯机送料装置
CN202846945U (zh) 一种装于压力机侧面的凸轮送料机构
CN202782116U (zh) 一种滚筒的高低调节装置
CN204296091U (zh) 压板机的推板装置
CN207027248U (zh) 一种切丝机磨刀往复机构
CN204953788U (zh) 一种采用不同皮带的多电机驱动伺服压力机的传动系统
CN203864059U (zh) 一种压力机滑块导向间隙调整装置
CN203206666U (zh) 卧式跳线插件机全电动的底座装置
CN202591619U (zh) 用于钢管端面加工的平口机
CN103786058A (zh) 一种移动机构
CN202727805U (zh) 一种大型立体雕刻机的顶尖驱动装置
CN204414622U (zh) 盘形凸轮驱动式双工位冲压装置
CN203330821U (zh) 全自动水钻磨抛机的磨抛进位及夹具工位转换机构
CN203888055U (zh) 一种具有过载保护调距装置的开炼机
CN201950137U (zh) 钢管夹持旋转输送装置
CN202951789U (zh) 可编程双轴自动输送下料机
CN208912992U (zh) 一种台式压力机的滚动导向装置
CN202766757U (zh) 袜机离合器
CN202763451U (zh) 发动机缸体精铣拉瓦口面组合机床
CN203751815U (zh) 一种移动机构
CN204524698U (zh) 一种钢板压花装置
CN102615581B (zh) 一种轴承滚道超精研磨机的凸轮传动机构
CN204075392U (zh) 带有上料装置的圆钢截断装置
CN206882675U (zh) 一种新型搓丝机

Legal Events

Date Code Title Description
C14 Grant of patent or utility model
GR01 Patent grant
CF01 Termination of patent right due to non-payment of annual fee

Granted publication date: 20130403

Termination date: 20151025

EXPY Termination of patent right or utility model