CN202770380U - 一种平行度测量装置 - Google Patents
一种平行度测量装置 Download PDFInfo
- Publication number
- CN202770380U CN202770380U CN 201220405584 CN201220405584U CN202770380U CN 202770380 U CN202770380 U CN 202770380U CN 201220405584 CN201220405584 CN 201220405584 CN 201220405584 U CN201220405584 U CN 201220405584U CN 202770380 U CN202770380 U CN 202770380U
- Authority
- CN
- China
- Prior art keywords
- measurement
- measuring apparatus
- seat
- sliding block
- slide rail
- Prior art date
- Legal status (The legal status is an assumption and is not a legal conclusion. Google has not performed a legal analysis and makes no representation as to the accuracy of the status listed.)
- Expired - Fee Related
Links
- 238000005259 measurement Methods 0.000 claims abstract description 79
- 238000005242 forging Methods 0.000 claims description 4
- 238000010276 construction Methods 0.000 description 2
- 238000000034 method Methods 0.000 description 2
- 238000012986 modification Methods 0.000 description 2
- 230000004048 modification Effects 0.000 description 2
- 230000009286 beneficial effect Effects 0.000 description 1
- 230000007547 defect Effects 0.000 description 1
- 238000013461 design Methods 0.000 description 1
- 238000005516 engineering process Methods 0.000 description 1
- 238000009434 installation Methods 0.000 description 1
- 238000012360 testing method Methods 0.000 description 1
Images
Landscapes
- A Measuring Device Byusing Mechanical Method (AREA)
- Length-Measuring Instruments Using Mechanical Means (AREA)
Abstract
本实用新型公开了一种平行度测量装置,该测量装置包括设置在基准轴上的滑轨,在所述滑轨上设置有滑块。在所述滑块上设有测量座,在所述测量座上设有测量表和/或通过测量臂设置的测量表,所述测量表用于测量平行于基准轴的轴类件或直杆的平行度、直线度和/或圆跳动。由于该平行度测量装置是一种有机结合成一体的整体结构,因此具有结构简单,安装、使用方便,测量准确等特点。
Description
技术领域
本实用新型涉及一种形位公差测量装置,具体涉及一种平行度测量装置。
背景技术
在现有技术中形位公差的测量都是由千分表、直尺、角尺、V型块、塞规平面基座和支撑架等多个测量器件、测量工具配合在一起使用。虽然这些测量器件和测量工具配合在一起可以用于测量各种形位公差,但是由于器件较多,在具体测量工作中安装、调试和测量操作过程都比较复杂,测量过程中费时费力,工作效率低,而且容易造成测量误差,另外还会增加测量的成本。
实用新型内容
本实用新型的目的在于克服现有技术中存在的缺陷,提供一种结构简单,使用方便,测量准确的平行度测量装置。
为实现上述目的,本实用新型的技术方案是设计一种平行度测量装置,其特征在于,所述测量装置包括设置在基准轴上的滑轨,在所述滑轨上设置有滑块。在所述滑块上设有测量座,在所述测量座上设有测量表和/或通过测量臂设置的测量表,所述测量表用于测量平行于基准轴的轴类件或直杆的平行度、直线度和/或圆跳动。
其中优选的技术方案是,所述滑轨的上下面平行且水平放置在基准轴上,在所述滑轨的两侧设有V形槽,在所述滑轨的端部设有电磁线圈。
进一步优选的技术方案是,所述滑块的上端面为水平面,在所述滑块的两侧设有与所述V形槽相适配的凸块,所述的滑块有1~2块。
进一步优选的技术方案还有,所述测量座为开口向上的E形块,所述测量座与滑块通过紧固件连接,在所述E形块测量座上端的中部插装有测量表,在所述E形块测量座的两侧分别连接有测量臂,在所述测量臂的端部插装有测量表。
进一步优选的技术方案还有,所述位于测量座两侧的两个测量臂位于同一垂直面上,所述测量臂包括水平段、向上倾斜段和垂直段,所述水平段的一端插接在测量座的侧面,所述向上倾斜段的两端分别与水平段的另一端和垂直段的一端铰接。
进一步优选的技术方案还有,所述测量表通过套筒插装在测量臂的垂直段上,在所述套筒的一侧设有与套筒的轴向相垂直的测量表安装孔,在所述套筒的侧壁上还设有螺孔,在所述螺孔内装有用于锁紧套筒的螺栓。
进一步优选的技术方案还有,所述的测量表为千分表。
优选的技术方案还有,所述的千分表为数显千分表。
本实用新型的优点和有益效果在于:由于该平行度测量装置是一种有机结合成一体的整体结构,因此具有结构简单,安装、使用方便测量准确等特点。
附图说明
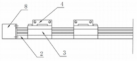
图1是本实用新型平行度测量装置的结构示意图;
图2是图1中滑轨、滑块和测量座的侧视示意图;
图3是图1中测量座的立体示意图。
图中:1、基准轴;2、滑轨;2-1、V形槽;3、滑块;3-1、凸块;4、测量座;5、测量表;6、测量臂;6-1、水平段;6-2、向上倾斜段;6-3、垂直段;7、轴类件或直杆;8、电磁线圈;9、套筒。
具体实施方式
下面结合附图和实施例,对本实用新型的具体实施方式作进一步描述。以下实施例仅用于更加清楚地说明本实用新型的技术方案,而不能以此来限制本实用新型的保护范围。
如图1至3所示,本实用新型是一种平行度测量装置,该测量装置包括设置在基准轴1上的滑轨2,在滑轨上设置有滑块3。在滑块3上设有测量座4,在测量座4上设有测量表5和/或通过测量臂6设置的测量表5,所述测量表5用于测量平行于基准轴1的轴类件或直杆7的平行度、直线度和/或圆跳动。
在本实用新型中优选的实施方案是,滑轨2的上下面平行且水平放置在基准轴1上,在滑轨2的两侧设有V形槽2-1,在滑轨2的端部设有电磁线圈8,当电磁线圈8通电后,在电磁力的作用下将滑块3吸合固定在滑轨2上,当电磁线圈8断电后,滑块3可沿滑轨2滑动。
在本实用新型中进一步优选的实施方案是,滑块3的上端面为水平面,在滑块3的两侧设有与V形槽2-1相适配的凸块3-1,所述的滑块3有2块。
在本实用新型中进一步优选的实施方案还有,所述测量座4为开口向上的E形块,测量座4与滑块3通过紧固件连接,在E形块测量座4上端的中部插装有测量表5,在E形块测量座4的两侧分别连接有测量臂6,在测量臂的端部插装有测量表5。
在本实用新型中进一步优选的实施方案还有,位于测量座4两侧的两个测量臂6位于同一垂直面上,测量臂6包括水平段6-1、向上倾斜段6-2和垂直段6-3,水平段6-1的一端插接在测量座6的侧面,向上倾斜段6-2的两端分别与水平段6-的另一端和垂直段6-3的一端铰接,在使用时通过连接铰链可将位于被测量件两侧的测量表5移开,带工件放置平稳后,再将测量表5调试到需要测量的部位,测试结束后可在次移开测量表5,这样既灵活方便,又便于测量准确。
在本实用新型中进一步优选的实施方案还有,测量表5通过套筒9插装在测量臂6的垂直段6-3上,在套筒9的一侧设有与套筒9的轴向相垂直的测量表安装孔,在套筒9的侧壁上还设有螺孔,在所述螺孔内装有用于锁紧套筒的螺栓。
在本实用新型中进一步优选的实施方案还有,所述的测量表5为千分表,所述的千分表可以是数显千分表。
以上所述仅是本实用新型的优选实施方式,应当指出,对于本技术领域的普通技术人员来说,在不脱离本实用新型技术原理的前提下,还可以做出若干改进和润饰,这些改进和润饰也应视为本实用新型的保护范围。
Claims (8)
1.一种平行度测量装置,其特征在于,所述测量装置包括设置在基准轴上的滑轨,在所述滑轨上设置有滑块,在所述滑块上设有测量座,在所述测量座上设有测量表和/或通过测量臂设置的测量表,所述测量表用于测量平行于基准轴的轴类件或直杆的平行度、直线度和/或圆跳动。
2.如权利要求l所述的平行度测量装置,其特征在于,所述滑轨的上下面平行且水平放置在基准轴上,在所述滑轨的两侧设有V形槽,在所述滑轨的端部设有电磁线圈。
3.如权利要求2所述的平行度测量装置,其特征在于,所述滑块的上端面为水平面,在所述滑块的两侧设有与所述V形槽相适配的凸块,所述的滑块有1~2块。
4.如权利要求3所述的平行度测量装置,其特征在于,所述测量座为开口向上的E形块,所述测量座与滑块通过紧固件连接,在所述E形块测量座上端的中部插装有测量表,在所述E形块测量座的两侧分别连接有测量臂,在所述测量臂的端部插装有测量表。
5.如权利要求4所述的平行度测量装置,其特征在于,所述位于测量座两侧的两个测量臂位于同一垂直面上,所述测量臂包括水平段、向上倾斜段和垂直段,所述水平段的一端插接在测量座的侧面,所述向上倾斜段的两端分别与水平段的另一端和垂直段的一端铰接。
6.如权利要求5所述的平行度测量装置,其特征在于,所述测量表通过套筒插装在测量臂的垂直段上,在所述套筒的一侧设有与套筒的轴向相垂直的测量表安装孔,在所述套筒的侧壁上还设有螺孔,在所述螺孔内装有用于锁紧套筒的螺栓。
7.如权利要求1至6任意一项所述的平行度测量装置,其特征在于,所述的测量表为千分表。
8.如权利要求7所述的平行度测量装置,其特征在于,所述的千分表为数显千分表。
Priority Applications (1)
| Application Number | Priority Date | Filing Date | Title |
|---|---|---|---|
| CN 201220405584 CN202770380U (zh) | 2012-08-16 | 2012-08-16 | 一种平行度测量装置 |
Applications Claiming Priority (1)
| Application Number | Priority Date | Filing Date | Title |
|---|---|---|---|
| CN 201220405584 CN202770380U (zh) | 2012-08-16 | 2012-08-16 | 一种平行度测量装置 |
Publications (1)
| Publication Number | Publication Date |
|---|---|
| CN202770380U true CN202770380U (zh) | 2013-03-06 |
Family
ID=47776946
Family Applications (1)
| Application Number | Title | Priority Date | Filing Date |
|---|---|---|---|
| CN 201220405584 Expired - Fee Related CN202770380U (zh) | 2012-08-16 | 2012-08-16 | 一种平行度测量装置 |
Country Status (1)
| Country | Link |
|---|---|
| CN (1) | CN202770380U (zh) |
Cited By (4)
| Publication number | Priority date | Publication date | Assignee | Title |
|---|---|---|---|---|
| CN103954211A (zh) * | 2014-05-15 | 2014-07-30 | 中国工程物理研究院机械制造工艺研究所 | 一种两回转体母线平行度测量装置 |
| CN105806188A (zh) * | 2016-04-29 | 2016-07-27 | 北京中丽制机工程技术有限公司 | 一种悬空轴平行度检测装置及方法 |
| CN110440675A (zh) * | 2019-07-22 | 2019-11-12 | 北京中航智科技有限公司 | 带轮平行度检测装置 |
| CN112762803A (zh) * | 2021-02-07 | 2021-05-07 | 株洲时代电子技术有限公司 | 一种平行度测量装置、方法及其应用 |
-
2012
- 2012-08-16 CN CN 201220405584 patent/CN202770380U/zh not_active Expired - Fee Related
Cited By (6)
| Publication number | Priority date | Publication date | Assignee | Title |
|---|---|---|---|---|
| CN103954211A (zh) * | 2014-05-15 | 2014-07-30 | 中国工程物理研究院机械制造工艺研究所 | 一种两回转体母线平行度测量装置 |
| CN103954211B (zh) * | 2014-05-15 | 2016-06-01 | 中国工程物理研究院机械制造工艺研究所 | 一种两回转体母线平行度测量装置 |
| CN105806188A (zh) * | 2016-04-29 | 2016-07-27 | 北京中丽制机工程技术有限公司 | 一种悬空轴平行度检测装置及方法 |
| CN105806188B (zh) * | 2016-04-29 | 2019-05-31 | 北京中丽制机工程技术有限公司 | 一种悬空轴平行度检测装置及方法 |
| CN110440675A (zh) * | 2019-07-22 | 2019-11-12 | 北京中航智科技有限公司 | 带轮平行度检测装置 |
| CN112762803A (zh) * | 2021-02-07 | 2021-05-07 | 株洲时代电子技术有限公司 | 一种平行度测量装置、方法及其应用 |
Similar Documents
| Publication | Publication Date | Title |
|---|---|---|
| CN203364737U (zh) | 一种大/中型轴承套圈内/外表面圆度测量装置 | |
| CN201688812U (zh) | 一种孔内槽深测量工装 | |
| CN205482875U (zh) | 一种快速自动测量空心轴总长、外圆尺寸及其跳动的装置 | |
| CN202770380U (zh) | 一种平行度测量装置 | |
| CN204988102U (zh) | 叶片综合检测装置 | |
| CN203672284U (zh) | 内齿圈的量棒距专用检具 | |
| CN202361923U (zh) | 外径连续测量仪 | |
| CN105021114A (zh) | 导轨平行度简易检具 | |
| CN202770349U (zh) | 一种形位公差测量装置 | |
| CN204007559U (zh) | 便携式垂线坐标仪的准确性测试标定装置 | |
| CN202480681U (zh) | 一种多功能教学圆规 | |
| CN205262386U (zh) | 一种形位公差检具 | |
| CN204373568U (zh) | 一种在偏摆检测仪上的外螺纹中径的测量装置 | |
| CN203591248U (zh) | 一种带有可调节支架的视力箱 | |
| CN203551171U (zh) | 金属杆扭力测量装置 | |
| CN202692910U (zh) | 一种槽深测量仪 | |
| CN201535661U (zh) | 一种测量机体气缸孔垂直度的专用测具 | |
| CN203881267U (zh) | 内饰件生产用通止规 | |
| CN205957851U (zh) | 轴承长度全检装置 | |
| CN201442456U (zh) | 绘图器 | |
| CN203605849U (zh) | 一种活塞综合检具 | |
| CN203337172U (zh) | 一种新型计量检测装置 | |
| CN201867162U (zh) | 内倒角测量器 | |
| CN204165494U (zh) | 齿轮箱大齿轮轴承游隙测量装置 | |
| CN204478981U (zh) | 拉链合链宽的测量装置 |
Legal Events
| Date | Code | Title | Description |
|---|---|---|---|
| C14 | Grant of patent or utility model | ||
| GR01 | Patent grant | ||
| CF01 | Termination of patent right due to non-payment of annual fee |
Granted publication date: 20130306 Termination date: 20170816 |
|
| CF01 | Termination of patent right due to non-payment of annual fee |