CN202188610U - 一种冷冻除湿机冷凝水排放控制装置 - Google Patents
一种冷冻除湿机冷凝水排放控制装置 Download PDFInfo
- Publication number
- CN202188610U CN202188610U CN 201120287586 CN201120287586U CN202188610U CN 202188610 U CN202188610 U CN 202188610U CN 201120287586 CN201120287586 CN 201120287586 CN 201120287586 U CN201120287586 U CN 201120287586U CN 202188610 U CN202188610 U CN 202188610U
- Authority
- CN
- China
- Prior art keywords
- condensed water
- water
- cylindrical shell
- pipe
- discharge
- Prior art date
- Legal status (The legal status is an assumption and is not a legal conclusion. Google has not performed a legal analysis and makes no representation as to the accuracy of the status listed.)
- Expired - Lifetime
Links
- XLYOFNOQVPJJNP-UHFFFAOYSA-N water Substances O XLYOFNOQVPJJNP-UHFFFAOYSA-N 0.000 title claims abstract description 46
- 238000007710 freezing Methods 0.000 title abstract 2
- 230000008014 freezing Effects 0.000 title abstract 2
- 238000011084 recovery Methods 0.000 claims abstract description 7
- 241000628997 Flos Species 0.000 claims description 3
- 238000009826 distribution Methods 0.000 claims description 3
- XEEYBQQBJWHFJM-UHFFFAOYSA-N Iron Chemical compound [Fe] XEEYBQQBJWHFJM-UHFFFAOYSA-N 0.000 abstract description 4
- 230000008901 benefit Effects 0.000 abstract description 4
- 238000001816 cooling Methods 0.000 abstract description 2
- 239000012535 impurity Substances 0.000 abstract description 2
- 229910052742 iron Inorganic materials 0.000 abstract description 2
- JEIPFZHSYJVQDO-UHFFFAOYSA-N iron(III) oxide Inorganic materials O=[Fe]O[Fe]=O JEIPFZHSYJVQDO-UHFFFAOYSA-N 0.000 abstract description 2
- 239000010865 sewage Substances 0.000 abstract description 2
- 239000002351 wastewater Substances 0.000 abstract description 2
- 239000000725 suspension Substances 0.000 abstract 1
- 239000008399 tap water Substances 0.000 abstract 1
- 235000020679 tap water Nutrition 0.000 abstract 1
- 238000007599 discharging Methods 0.000 description 4
- 239000002699 waste material Substances 0.000 description 2
- 230000005494 condensation Effects 0.000 description 1
- 238000009833 condensation Methods 0.000 description 1
- 238000005516 engineering process Methods 0.000 description 1
- 230000007613 environmental effect Effects 0.000 description 1
- 238000009434 installation Methods 0.000 description 1
- 239000007788 liquid Substances 0.000 description 1
- 238000012423 maintenance Methods 0.000 description 1
- 239000000463 material Substances 0.000 description 1
- 238000000034 method Methods 0.000 description 1
- 239000002244 precipitate Substances 0.000 description 1
- 238000004064 recycling Methods 0.000 description 1
Images
Landscapes
- Drying Of Gases (AREA)
Abstract
本实用新型公开了一种冷冻除湿机冷凝水排放控制装置。将冷凝水排放管的出水口置于筒体的中下部,并被水封住,一方面,使压缩空气不能随冷凝水一起排出,另一方面,利用流动体积的扩大,流速的降低,对冷凝水中的铁锈等杂质进行沉淀,下沉到筒体的锥体中,并经底部的排污阀控制,被排入污水管;大量的冷凝水通过过滤网去除悬浮物质后,由浮球控制阀根据水位的高低变化,控制溢水管上的排水阀开启,自动将冷凝水排放到冷凝水回收管,对废水进行利用。该装置结构简单,使用方便,并能阻止压缩空气的排出,提高了除湿机的工作效率,节约了电能,同时,回收的冷凝水可再次利用,如替代自来水用于设备冷却系统等,节能减排效益十分可观。
Description
技术领域
本实用新型涉及一种液体的排放控制装置,特别涉及一种冷冻除湿机的冷凝水排放控制装置。
背景技术
冷冻除湿机广泛应用于工厂生产车间等具有环境要求的场所。处于工作状态的冷冻除湿机需要不断地排放冷凝水。目前,部分冷冻除湿机冷凝水的排放采用的是电磁阀控制定时排放。由于气候、环境等原因,空气的干湿度往往会有比较大的变化,因此,在电磁阀控制的定时排放冷凝水的过程中,受空气干湿度变化的影响,有时将会有相当一部分的压缩空气随着冷凝水一同排放出来,影响了冷冻除湿机的工作效率,造成了不必要的浪费。同时,还由于一般的冷冻除湿机采用将冷凝水直接排入下水道的方式,也造成了对水资源的严重浪费。
发明内容
本实用新型的目的是提供一种结构简单、使用方便,能节约水和电的冷冻除湿机冷凝水排放控制装置。
为实现上述目的,本实用新型采取的技术方案是提供一种冷冻除湿机冷凝水排放控制装置,包括筒体和筒盖,所述筒体的下部为锥体,锥体的底部通过排污阀与排污管连接;筒体的中部设有过滤网,冷冻除湿机的冷凝水排放管从筒体的上部插入筒内,冷凝水排放管的排放口至于过滤网的下部;在筒体的冷凝水排放管入口位置与过滤网之间开有溢水口,两个溢水口在筒体上呈对称分布的,分别通过溢水管将筒体与冷凝水回收管连通,溢水管上设有浮球式控制阀。
本实用新型提供的一种冷冻除湿机冷凝水回用装置,具有以下优点:
1、该装置结构简单,占用空间小,且操作方便,一般情况下不需要特备的维护,制作、安装、使用成本低。
2、该装置能控制冷冻除湿机冷凝水排放时无压缩空气排出,彻底杜绝了压缩空气排出造成的电力浪费。
3、该装置排放冷凝水可靠稳定,并将排放的冷凝水回收利用,节能减排效益十分可观。
附图说明
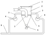
图1是本实用新型实施例提供的一种冷冻除湿机冷凝水排放控制装置的结构示意图;
图中,1、筒盖;2、筒体;3、溢水管;4、浮球控制的排水阀;5、过滤网;6、排污阀;7、冷凝水排放管; 8、冷凝水回收管。
具体实施方式
下面结合实施例和附图对本实用新型作进一步说明。
实施例1
参见附图1,它是本实施例提供的一种冷冻除湿机冷凝水排放控制装置的结构示意图;筒体2的下部为锥体,底部通过排污阀6接排污管;筒体的中部设有过滤网5,冷冻除湿机的冷凝水排放管7从筒体的上部插入筒内,并弯曲向下,它的排放口至于过滤网的下部;筒体上的冷凝水排放管入口位置与过滤网之间开有溢水口,在本实施例中,筒体上开有两个呈对称分布的溢水口,分别通过溢水管3将筒体与冷凝水回收管8连通,溢水管上安装浮球控制的排水阀4;筒体的顶部加盖筒盖1。
本实用新型将冷冻除湿机冷凝水排放管安装于筒体中的过滤网下部,一方面,冷凝水排放管的出水口被置于筒体的中下部,并被水封住,控制压缩空气不随冷凝水一起排出;另一方面,利用流动体积的扩大,流速的降低,对冷凝水中的铁锈等杂质进行沉淀,下沉到筒体的锥体中,并经底部的排污阀控制,被排入污水管,而大量冷凝水通过过滤网去除悬浮物质后,由浮球控制阀根据水位的高低变化,控制溢水管上的排水阀开启,自动将冷凝水排放到冷凝水回收管,对废水进行再利用。
该装置结构简单,使用方便,并能阻止压缩空气的排出,提高了压缩机的工作效率,节约了电能,同时,回收的冷凝水可再次利用,如替代自来水用于设备冷却系统等。使用该装置后,节能减排效益十分可观。
Claims (2)
1.一种冷冻除湿机冷凝水排放控制装置,其特征在于:盖有筒盖(1)的筒体(2),筒体的下部为锥体,底部通过排污阀(6)接排污管;筒体的中部设有过滤网(5),冷冻除湿机的冷凝水排放管(7)从筒体的上部插入筒内,冷凝水排放管的排放口至于过滤网的下部;在筒体的冷凝水排放管入口位置与过滤网之间开有溢水口,通过溢水管(3)将筒体与冷凝水回收管(8)连通;溢水管上安装浮球控制的排水阀(4)。
2.根据权利要求1所述的一种冷冻除湿机冷凝水排放控制装置,其特征在于:筒体上开有两个对称分布的溢水口。
Priority Applications (1)
| Application Number | Priority Date | Filing Date | Title |
|---|---|---|---|
| CN 201120287586 CN202188610U (zh) | 2011-08-09 | 2011-08-09 | 一种冷冻除湿机冷凝水排放控制装置 |
Applications Claiming Priority (1)
| Application Number | Priority Date | Filing Date | Title |
|---|---|---|---|
| CN 201120287586 CN202188610U (zh) | 2011-08-09 | 2011-08-09 | 一种冷冻除湿机冷凝水排放控制装置 |
Publications (1)
| Publication Number | Publication Date |
|---|---|
| CN202188610U true CN202188610U (zh) | 2012-04-11 |
Family
ID=45920058
Family Applications (1)
| Application Number | Title | Priority Date | Filing Date |
|---|---|---|---|
| CN 201120287586 Expired - Lifetime CN202188610U (zh) | 2011-08-09 | 2011-08-09 | 一种冷冻除湿机冷凝水排放控制装置 |
Country Status (1)
| Country | Link |
|---|---|
| CN (1) | CN202188610U (zh) |
Cited By (4)
| Publication number | Priority date | Publication date | Assignee | Title |
|---|---|---|---|---|
| CN104511231A (zh) * | 2013-09-26 | 2015-04-15 | 宝山钢铁股份有限公司 | 一种节能型冷干机循环系统 |
| CN106091328A (zh) * | 2016-07-28 | 2016-11-09 | 苏州苏净安发空调有限公司 | 一种空调冷凝水的排水装置 |
| CN108626827A (zh) * | 2018-03-16 | 2018-10-09 | 西安工程大学 | 一种蒸发冷却空调冷却机组水处理装置 |
| CN116637485A (zh) * | 2023-05-22 | 2023-08-25 | 河南中烟工业有限责任公司 | 一种冷干机冷凝水排水防堵系统 |
-
2011
- 2011-08-09 CN CN 201120287586 patent/CN202188610U/zh not_active Expired - Lifetime
Cited By (6)
| Publication number | Priority date | Publication date | Assignee | Title |
|---|---|---|---|---|
| CN104511231A (zh) * | 2013-09-26 | 2015-04-15 | 宝山钢铁股份有限公司 | 一种节能型冷干机循环系统 |
| CN104511231B (zh) * | 2013-09-26 | 2016-08-24 | 宝山钢铁股份有限公司 | 一种节能型冷干机循环系统 |
| CN106091328A (zh) * | 2016-07-28 | 2016-11-09 | 苏州苏净安发空调有限公司 | 一种空调冷凝水的排水装置 |
| CN108626827A (zh) * | 2018-03-16 | 2018-10-09 | 西安工程大学 | 一种蒸发冷却空调冷却机组水处理装置 |
| CN116637485A (zh) * | 2023-05-22 | 2023-08-25 | 河南中烟工业有限责任公司 | 一种冷干机冷凝水排水防堵系统 |
| CN116637485B (zh) * | 2023-05-22 | 2025-10-21 | 河南中烟工业有限责任公司 | 一种冷干机冷凝水排水防堵系统 |
Similar Documents
| Publication | Publication Date | Title |
|---|---|---|
| CN206220235U (zh) | 一种一体化智能泵站 | |
| CN202188610U (zh) | 一种冷冻除湿机冷凝水排放控制装置 | |
| CN201059724Y (zh) | 水冷式中央空调的冷凝水回收利用装置 | |
| CN203412082U (zh) | 初期雨水弃流装置 | |
| CN201162948Y (zh) | 全自动安全式煤气脱水装置 | |
| CN206454315U (zh) | 一种废油除杂油水分离装置 | |
| CN210827738U (zh) | 一种市政用雨污分流装置 | |
| CN201139968Y (zh) | 电控式油水气自动分离装置 | |
| CN216077579U (zh) | 闭式循环真空装置 | |
| CN102872710B (zh) | 火力发电厂脱硫装置废水旋流系统 | |
| CN202063751U (zh) | 纯水机废水再利用装置 | |
| CN201458785U (zh) | 一种净化酸性废水脱气装置 | |
| CN102745773A (zh) | 纯水机废水再利用装置 | |
| CN202390881U (zh) | 一种雨水回收利用及现场生产废水利用装置 | |
| CN202490469U (zh) | 一种废油收集器 | |
| CN104912802A (zh) | 一种新型液环真空泵系统 | |
| CN201006843Y (zh) | 混凝沉降一体化污水处理设备 | |
| CN206391860U (zh) | 一种石灰石湿法脱硫浆液循环泵外置过滤装置 | |
| CN103898260A (zh) | 一种带稳压功能的煤气自动放散装置 | |
| CN204648619U (zh) | 冷凝水回收箱 | |
| CN204684885U (zh) | 一种新型除尘系统 | |
| CN205008023U (zh) | 圆锥破碎机双螺旋塔式水冷却器 | |
| CN201650660U (zh) | 液位式智能球阀排水器 | |
| CN103830924B (zh) | 独立式液位平衡装置 | |
| CN206677782U (zh) | 一种钢球加工集中供液系统 |
Legal Events
| Date | Code | Title | Description |
|---|---|---|---|
| C14 | Grant of patent or utility model | ||
| GR01 | Patent grant | ||
| CX01 | Expiry of patent term | ||
| CX01 | Expiry of patent term |
Granted publication date: 20120411 |