CN201991663U - 天然气发动机歧管式进气管 - Google Patents
天然气发动机歧管式进气管 Download PDFInfo
- Publication number
- CN201991663U CN201991663U CN2010201635748U CN201020163574U CN201991663U CN 201991663 U CN201991663 U CN 201991663U CN 2010201635748 U CN2010201635748 U CN 2010201635748U CN 201020163574 U CN201020163574 U CN 201020163574U CN 201991663 U CN201991663 U CN 201991663U
- Authority
- CN
- China
- Prior art keywords
- manifold
- intake
- natural gas
- intake manifold
- gas engine
- Prior art date
- Legal status (The legal status is an assumption and is not a legal conclusion. Google has not performed a legal analysis and makes no representation as to the accuracy of the status listed.)
- Expired - Lifetime
Links
- VNWKTOKETHGBQD-UHFFFAOYSA-N methane Chemical compound C VNWKTOKETHGBQD-UHFFFAOYSA-N 0.000 title claims abstract description 34
- 239000003345 natural gas Substances 0.000 title claims abstract description 17
- 230000000087 stabilizing effect Effects 0.000 claims abstract description 20
- 230000010349 pulsation Effects 0.000 abstract description 2
- 239000007789 gas Substances 0.000 description 13
- 239000011435 rock Substances 0.000 description 10
- 238000000034 method Methods 0.000 description 4
- 238000002485 combustion reaction Methods 0.000 description 3
- 239000000446 fuel Substances 0.000 description 3
- 239000000567 combustion gas Substances 0.000 description 1
- 238000010304 firing Methods 0.000 description 1
- 210000004907 gland Anatomy 0.000 description 1
- 238000002347 injection Methods 0.000 description 1
- 239000007924 injection Substances 0.000 description 1
- 239000000243 solution Substances 0.000 description 1
Images
Classifications
-
- Y—GENERAL TAGGING OF NEW TECHNOLOGICAL DEVELOPMENTS; GENERAL TAGGING OF CROSS-SECTIONAL TECHNOLOGIES SPANNING OVER SEVERAL SECTIONS OF THE IPC; TECHNICAL SUBJECTS COVERED BY FORMER USPC CROSS-REFERENCE ART COLLECTIONS [XRACs] AND DIGESTS
- Y02—TECHNOLOGIES OR APPLICATIONS FOR MITIGATION OR ADAPTATION AGAINST CLIMATE CHANGE
- Y02T—CLIMATE CHANGE MITIGATION TECHNOLOGIES RELATED TO TRANSPORTATION
- Y02T10/00—Road transport of goods or passengers
- Y02T10/10—Internal combustion engine [ICE] based vehicles
- Y02T10/30—Use of alternative fuels, e.g. biofuels
Landscapes
- Cylinder Crankcases Of Internal Combustion Engines (AREA)
Abstract
天然气发动机歧管式进气管,其特征为:它是由稳压腔和进气歧管组成,稳压腔在进气管的中部,稳压腔上端中部开有进气口,进气歧管均布在稳压腔靠近发动机气缸盖一侧。本实用新型可以保证进气压力的稳定,消除进气脉动,保证各缸进气均匀。进气口位于稳压腔中部的设计方案能够保证空气流动的均匀性和稳定性。
Description
技术领域
本实用新型属于天然气发动机进气管的技术领域,特别涉及天然气发动机歧管式进气管。
背景技术
目前的天然气发动机开发,通常是基础机直接采用柴油机进行设计开发,因此进气歧管大部分采用整体箱式结构,因为柴油机燃烧方式是缸内直喷式,不需要进行燃烧前的预混合。而天然气发动机的燃烧形式是天然气需要在进气道内与新鲜空气进行预混合,因此其对充气效率和各缸分配均匀性要求高,箱式进气管不能完全满足天然气发动机对进气的要求。
发明内容
本实用新型目的是提供一种天然气发动机歧管式进气管。
本实用新型的技术方案是这样实现的:
天然气发动机歧管式进气管,其特征为:它是由稳压腔和进气歧管组成,稳压腔在进气管的中部,稳压腔上端中部开有进气口,进气歧管均布在稳压腔靠近发动机气缸盖一侧。
本实用新型可以保证进气压力的稳定,消除进气脉动,保证各缸进气均匀。进气口位于稳压腔中部的设计方案能够保证空气流动的均匀性和稳定性。
附图说明
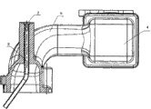
图1为本实用新型的结构示意图。
图2为本实用新型带天然气导流管装配剖视图。
图3为本实用新型的俯视图。
具体实施方式
下面结合附图详细说明本实用新型的具体实施方案。
天然气发动机歧管式进气管,其特征为:它是由稳压腔4和进气歧管5组成,稳压腔4在进气管1的中部,稳压腔4上端中部开有进气口6,进气歧管5均布在稳压腔4靠近发动机气缸盖一侧。
天然气发动机歧管式进气管,所述的稳压腔4其形状为长方体带棱边倒圆角结构。
天然气发动机歧管式进气管,所述的进气歧管5内安装有天然气导流管3,多功能套管2压装在进气歧管5的上端。天然气导流管3和多功能套管2压装在进气歧管5上,既有利于气轨的装配工艺性,也可以有效减少天然气的泄漏量,降低对环境的污染。将天然气直接喷射到燃烧室进气口处,可以防止天然气与空气过早混合,保证喷气嘴喷出的燃气能均匀地分配到各缸。这样保证了各缸分配均匀性,有效控制空燃比,降低循环变动。
每缸一个独立的进气歧管5结构降低了各缸进气压力和气流的干扰,提高充气效率。
实施例:
图1和图2所示,BF6M1013-26E4N它是由稳压腔4和进气歧管 5组成,特点是进气口6位于稳压腔4的中部、带螺旋进气歧管5结构,天然气导流管3和多功能压套2压装在进气歧管5上,可以有效控制空燃比和各缸分配均匀性,降低循环变动,改善天然气消耗和排放性能,降低发动机的震动。
图3所示,稳压腔4上端中部开有进气口6,能够保证空气流动的均匀性和稳定性。
每个进气歧管5采用螺旋式结构,使进气在进入进气道之前就产生了旋转,这样在进气过程中,旋转的新鲜空气与天然气进入燃烧室,加强空气与天然气的混合效率,提高混合气均匀性,有利于缸内燃烧,降低燃料消耗率和改善排放性能。
Claims (3)
1.天然气发动机歧管式进气管,其特征为:它是由稳压腔(4)和进气歧管(5)组成,稳压腔(4)在进气管(1)的中部,稳压腔(4)上端中部开有进气口(6),进气歧管(5)均布在稳压腔(4)靠近发动机气缸盖一侧。
2.根据权利要求1所述的天然气发动机歧管式进气管,其特征为:所述的稳压腔(4)其形状为长方体带棱边倒圆角结构。
3.根据权利要求1所述的天然气发动机歧管式进气管,其特征为:所述的进气歧管(5)为螺旋式结构,进气歧管(5)内安装有天然气导流管(3),多功能套管(2)压装在进气歧管(5)的上端。
Priority Applications (1)
| Application Number | Priority Date | Filing Date | Title |
|---|---|---|---|
| CN2010201635748U CN201991663U (zh) | 2010-04-14 | 2010-04-14 | 天然气发动机歧管式进气管 |
Applications Claiming Priority (1)
| Application Number | Priority Date | Filing Date | Title |
|---|---|---|---|
| CN2010201635748U CN201991663U (zh) | 2010-04-14 | 2010-04-14 | 天然气发动机歧管式进气管 |
Publications (1)
| Publication Number | Publication Date |
|---|---|
| CN201991663U true CN201991663U (zh) | 2011-09-28 |
Family
ID=44668152
Family Applications (1)
| Application Number | Title | Priority Date | Filing Date |
|---|---|---|---|
| CN2010201635748U Expired - Lifetime CN201991663U (zh) | 2010-04-14 | 2010-04-14 | 天然气发动机歧管式进气管 |
Country Status (1)
| Country | Link |
|---|---|
| CN (1) | CN201991663U (zh) |
-
2010
- 2010-04-14 CN CN2010201635748U patent/CN201991663U/zh not_active Expired - Lifetime
Similar Documents
| Publication | Publication Date | Title |
|---|---|---|
| CN201916044U (zh) | 提高汽油发动机的进气滚流效果的结构 | |
| CN201843712U (zh) | 发动机进气歧管 | |
| CN204591503U (zh) | 缸内直喷汽油机气缸 | |
| CN201991663U (zh) | 天然气发动机歧管式进气管 | |
| CN102337994A (zh) | 歧管式进气管 | |
| CN204140220U (zh) | 分层稀燃发动机的活塞及发动机和车辆 | |
| CN203130317U (zh) | 油气共用喷嘴的发动机 | |
| CN102733998A (zh) | 燃气发动机进气混合装置 | |
| CN203962232U (zh) | 改良的进气导管件 | |
| CN200999658Y (zh) | 汽车发动机用可变进气歧管装置 | |
| CN202370649U (zh) | 发动机的进气歧管和进气系统 | |
| CN202165182U (zh) | 一种增压天然气发动机的天然气混合器 | |
| CN203640884U (zh) | 一种分组共腔式进气管装置 | |
| JP4540565B2 (ja) | 内燃機関の吸気装置 | |
| CN208595020U (zh) | 一种集成双曲通孔的进气歧管 | |
| CN204200396U (zh) | 通用发动机进排气道结构 | |
| CN103603754B (zh) | 一种分组共腔式进气管装置 | |
| CN202690254U (zh) | 一种燃气混合器 | |
| CN201078281Y (zh) | 低排放增压柴油机活塞燃烧室 | |
| CN2713148Y (zh) | 低排放柴油机活塞燃烧室 | |
| CN203879666U (zh) | 汽车发动机汽油酒精双燃料喷射器的固定装置 | |
| CN201835908U (zh) | 内燃机 | |
| CN202718753U (zh) | 一种发动机 | |
| CN2906088Y (zh) | 一种改进的4125柴油机气缸盖总成 | |
| CN208803913U (zh) | 一种二次空气喷射通道气缸盖 |
Legal Events
| Date | Code | Title | Description |
|---|---|---|---|
| C14 | Grant of patent or utility model | ||
| GR01 | Patent grant | ||
| CX01 | Expiry of patent term |
Granted publication date: 20110928 |
|
| CX01 | Expiry of patent term |