CN1660026A - 脚用按摩组合件 - Google Patents

脚用按摩组合件 Download PDF

Info

Publication number
CN1660026A
CN1660026A CN 200510007082 CN200510007082A CN1660026A CN 1660026 A CN1660026 A CN 1660026A CN 200510007082 CN200510007082 CN 200510007082 CN 200510007082 A CN200510007082 A CN 200510007082A CN 1660026 A CN1660026 A CN 1660026A
Authority
CN
China
Prior art keywords
massage
foot
incorporating section
heater
concavity incorporating
Prior art date
Legal status (The legal status is an assumption and is not a legal conclusion. Google has not performed a legal analysis and makes no representation as to the accuracy of the status listed.)
Granted
Application number
CN 200510007082
Other languages
English (en)
Other versions
CN1321625C (zh
Inventor
常峰丰彦
中村尚
铃木孝诚
Current Assignee (The listed assignees may be inaccurate. Google has not performed a legal analysis and makes no representation or warranty as to the accuracy of the list.)
Sanyo Electric Co Ltd
Original Assignee
Sanyo Electric Co Ltd
Priority date (The priority date is an assumption and is not a legal conclusion. Google has not performed a legal analysis and makes no representation as to the accuracy of the date listed.)
Filing date
Publication date
Application filed by Sanyo Electric Co Ltd filed Critical Sanyo Electric Co Ltd
Publication of CN1660026A publication Critical patent/CN1660026A/zh
Application granted granted Critical
Publication of CN1321625C publication Critical patent/CN1321625C/zh
Anticipated expiration legal-status Critical
Expired - Fee Related legal-status Critical Current

Links

Images

Landscapes

  • Massaging Devices (AREA)

Abstract

一种脚用按摩组合件,具有收容被按摩者的脚部的凹状收纳部(20),并在该凹状收纳部(20)中设置有按摩脚部按摩机构(30);在凹状收纳部(20)的底面,配置有加热器(50)。通过配备加热器,这种脚用按摩组合件,由于具有加热器,所以,当把脚插入时被按摩者不会感到冷,另外,通过暖脚效果能够促进血液循环。

Description

脚用按摩组合件
技术领域
本发明涉及可以对被按摩者的脚、尤其是对脚心一边加温一边进行按摩的脚用按摩组合件以及具有该组合件的椅式按摩机。
背景技术
有一种将被按摩者的脚插入、尤其是能够对脚心进行按摩的脚用按摩组合件。这种脚用按摩组合件,具有向前后方向延伸的左右一对凹状收纳部,在凹状收纳部的底面配置有气囊等按摩机构。被按摩者将脚插入凹状收纳部,通过使按摩机构动作,能够得到对脚心的按摩(例如参照专利文献1)。
【专利文献1】特开2002-238963号公报(全文)
凹状收纳部,由于与脚接触的部分或由树脂构成,或用布等加以覆盖,所以特别是冬季,当把脚插入凹状收纳部时会感到很冷,而使被按摩者有不舒服的感觉。另外,即使以此状态进行按摩,也不能充分发挥促进血液循环的效果。
发明内容
本发明的目的,是提供一种通过配备加热器而使被按摩者在把脚插入时不会感到冷,另外,通过暖脚效果能够促进血液循环的脚用按摩组合件。
为了解决上述课题,本发明的脚用按摩组合件,具有收容被按摩者的脚部的凹状收纳部,并在该凹状收纳部中设置有按摩脚部按摩机构;在凹状收纳部的底面,配置有加热器。
通过在凹状收纳部的底面和侧面配置的加热器,对凹状收纳部加温,使被按摩者把脚插入时不会感到冷。另外,通过在加热器的工作状态下进行脚部按摩,能够通过暖脚效果而促进血液循环,并能提高按摩效果。
而且,若不进行按摩,只通过让加热器工作,也能通过暖脚效果而促进血液循环。
另外,在被按摩者把按摩装置的电源打开的同时,加热器通电,通过预先对凹状收纳部加温,当被按摩者为进行按摩而把脚插入凹状收纳部的时候不会感到冷。
附图说明:
图1是本发明的脚用按摩组合件的立体图。
图2是去除了脚用按摩组合件的布罩的状态下的俯视图。
图3是沿图2的X1-X1线箭头方向的剖面图。
图4是沿图2的X2-X2线箭头方向的剖面图。
图5是沿图2的Y-Y线箭头方向的剖面图。
图6是操作板的俯视图。
图7是在指压棒上配备了加热器的按摩机构的主要部分放大图。
图中:10-脚用按摩组合件,20-凹状收纳部,30-按摩机构,32-指压棒,34-底面气囊,50-加热器。
具体实施方式
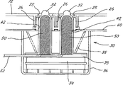
图1,本发明的脚用按摩组合件10的立体图,图2是本发明的脚用按摩组合件10在去除布罩16的状态下的俯视图。如图1所示,脚用按摩组合件10,在树脂制外壳12上,形成有插入被按摩者的脚(脚踝以下的部分)的、断面为コ字形的左右一对凹状收纳部20、20。在凹状收纳部20、20之间,如图1及图2所示,由中间隔板14隔开,在中间隔板14的上面,设置有由按摩者操作的操作板70。另外,凹状收纳部20的内面,由布罩16覆盖。
图3是沿图2的X1-X1线箭头方向的剖面图,图4是沿图2的X2-X2线线箭头方向的剖面图,图5是沿图2的Y-Y线线箭头方向的剖面图。
如图1及图5所示,在凹状收纳部20的两个侧面,安装有侧面气囊21、21,内侧面由布罩16覆盖。侧面气囊21、21,通过连接软管65连通,连接软管65,通过空气供给软管64,与电磁阀62及泵60连接。侧面气囊21,由吹塑成型制作,在前后分别形成褶状膨胀部21a、21b。其他是在尼龙制的布料上层压聚氨酯薄膜而制成。
连接软管65,如图3所示,配置在凹状收纳部20底面的前方设置的凹槽65a内,介于凹状收纳部20的底面接近后述的加热器50,可进行热交换。通过这样配置连接软管65,能够对通过连接软管65供给侧面气囊21的压缩空气进行加温,从而能提高加温效果。
而且,在图中,在凹状收纳部20的两侧分别设置侧面气囊21、21,但一侧可以用海绵、聚氨酯等有弹性的弹性部件制作。
凹状收纳部20的底面,如图3所示,前高后低而倾斜地构成。这是为了在被按摩者把脚放入时,提高脚部的稳定性。另外,凹状收纳部20的后端,由为了使脚不会从凹状收纳部20脱落而向上突出设置有立壁23。立壁23,为了与脚后跟相符合而形成向后凹陷的形状。最好将立壁23形成为20~50mm的高度。
在凹状收纳部20的底面,如图2至5所示,配备有按摩被按摩者脚心的按摩机构30。作为按摩机构30,能够例示具有图示的指压棒32、32的装置。指压棒32、32,从凹状收纳部20的底面开设的2个的长孔25、25向前端突出配置。长孔25、25,向凹状收纳部20的前后方向延伸开设,在长孔25、25的周围,向下方突出设置有棱26。
在凹状收纳部20底面的背面一侧,安装有加热器50。作为加热器50,可以例示用铝箔包裹电热丝的结构。加热器50,如图2、图3及图5所示,可以围绕着上述长孔25、25配置。如上所述,通过在长孔25上预先形成棱26,即使由于被按摩者的误把水等溢出在按摩装置10上,加热器50也不会直接沾上水等。因此,通过在长孔25上设置棱26,能够实现加热器50的防水。
按摩机构30,如图3及图5所示,2个指压棒32、32从筐体36的内部以突出的状态配置在凹状收纳部20底面的背面一侧。在筐体36的内部,具有直立地设置着2根断面是圆形的指压棒32、32的矩形板33,该板33,被装配在配置在下部的底面气囊34上。筐体36的上部开口,由后述的安装板40关闭,从在安装板40上开设的孔42中突出设置指压棒32。在安装板40与板33的上面之间,配置有对板33向下加力的弹簧35,在底面气囊34收缩的状态下,将板33向下压,使指压棒32、32的突出量最小。
底面气囊34,例如,可以采用在尼龙制的布料上层压聚氨酯薄膜的材料。底面气囊34,通过空气供给软管64,与图4所示的电磁阀62及泵60连接。当通过开关电磁阀62的开关、从泵60供给压缩空气时,底面气囊34膨胀,指压棒32就会向上方移动。当从底面气囊34抽掉空气时,通过弹簧35的加力,使指压棒32向下方移动。
树脂制外壳12的底面,在左右端部附近如图5所示,向上隆起,形成对按摩机构30进行可滑动支撑的轨道部28、28。另外,轨道部28,配合凹状收纳部20底面的倾斜,前方高、后方低地形成。
安装板40,如图5所示,由左右方向长的金属板构成,两端嵌在轨道部28、28上,在轨道部28、28上设置有能滑动的导槽41、41。在安装板40上,各个左右的按摩机构30、30的筐体36、36由螺栓固定,并开设有突出指压棒32、32的孔42、42。在安装板40上面的中央,进给螺母43由螺母固定件44固定。在进给螺母43上,后述的进给螺杆45以啮合的状态贯通,通过旋转进给螺杆45,安装板40可以在轨道部28、28上向前后方向移动,使安装在安装板40上的按摩机构30、30向前后往返移动。
在凹状收纳部20、20之间,即,在树脂制外壳12的中间隔板14的内部,如图4及图5所示,使按摩机构30向前后移动的进给螺杆45,沿前后方向延伸配置。进给螺杆45,如图4所示,以与凹状收纳部20的底面一致的方式而倾斜,由树脂制外壳12内设置的框46支撑,在进给螺杆45的后端设置的带轮45a通过皮带47a与电动机47的带轮47b可传递动力地连接。通过使电动机47正转或反转,可使进给螺杆45正转或反转,使安装在进给螺杆45上的进给螺母43在进给螺杆45上移动,从而使按摩机构30、30能够向前后往返移动。
加热器50的开、关,以及底面气囊34、侧面气囊21的膨胀、收缩、按摩机构30的位置控制,通过设置在中间隔板14上的操作板70进行,并且,对这些机构动作的电磁阀62、气泵60及电动机47的控制,如图4所示,由配置在操作板70下侧的控制装置71进行。
在操作板70上,如图6所示,配置有作为电源开关的「操作开/关」按钮73、选择自动按摩模式的操作按钮74、74、选择手动按摩种类的操作按钮74a、74a、控制按摩机构30位置的操作按钮74b、选择按摩机构30强度的操作按钮74c、控制加热器50开、关的「加温」按钮75、按照被按摩者的脚部大小以所希望的范围使按摩机构30移动的「脚部尺寸」按钮76等。另外,各个按钮,为了对每种操作都能进行目视确认,在按钮的旁边设置由LED的灯亮、灯灭的显示部77、77。
关于上述构成的脚用按摩组合件10,被按摩者只要一按「操作开/关」按钮73,首先,加热器50进行通电,「加温」按钮75旁边的LED表示部77的灯亮。通过加热器50的升温,凹状收纳部20底面被加温。
在按下「操作开/关」按钮73的同时,通过加热器50的通电,在被按摩者将脚插入凹状收纳部20之前,对凹状收纳部20加温,所以在把脚插入凹状收纳部20的时候,被按摩者不会感觉冷。而且,当不用加热器50的时候,在按下「操作开/关」按钮73以后,只要按「加温」按钮75,加热器50的通电就会停止(LED显示部77的灯灭),加热器50就不升温。另外,还可以设定成即使不按「加温」按钮75,只要经过所规定的时间(例如15分种),就可以停止向加热器50通电。
以这种状态,被按摩者把脚插入凹状收纳部20。例如,在睡眠前等脚冷、只想暖一下脚时,以只让加热器50升温的状态把脚插入就可以了。由此,被按摩者的脚心,通过加温治疗效果而温暖,血液循环就会变好。
尤其是凹状收纳部20底面不是在整个面上配置加热器50,如图2所示那样,通过配置在脚心的外周部分,从末端部分为脚心加温,能够促进血液循环。
被按摩者把脚插入凹状收纳部20,以把脚后跟贴紧在立壁23上的状态,通过操作操作按钮74,就能够接受所操作的操作按钮对应的各种脚部按摩。
脚部按摩,可以例示由按摩机构30的指压棒32所进行的指压按摩、由气囊21按压从脚面到脚踝的脚部侧面的按压按摩,使指压棒32突出并向前后移动的滚压按摩,还有这些按摩的组合。
指压按摩,是将底面气囊34膨胀、收缩,能够通过使指压棒32从凹状收纳部20底面出没而进行。另外,在指压棒32出没的同时,操作操作按钮74b,使指压棒32移动到所希望的位置,或通过向前后往返移动,能够对脚心、尤其是脚中心和脚指根进行高效的指压按摩。在指压按摩时,通过由加热器50对被按摩者的脚进行加温,通过加温治疗效果和指压治疗效果,能够加大治疗的效果。
底面气囊34的膨胀、收缩,可以通过电磁阀62的开关及泵60的驱动进行。另外,指压棒32的前后移动,可以通过电动机47的驱动进行。
而且,「脚部尺寸」按钮76,是对每个被按摩者选择不同的脚部尺寸的按钮,通过选择被按摩者的脚部尺寸,在进行自动按摩模式或滚压按摩时,就按照脚部尺寸,确定指压棒32的移动范围。图2是以符号29表示被按摩者脚部形状的例子。
指压按摩,由于是将指压棒32向上压而对脚心进行按摩,所以被按摩者的脚会从凹状收纳部20浮起。因此,在进行指压按摩时,最好使侧面气囊21膨胀,由侧面气囊21、21把脚夹住而不让脚浮起。向侧面气囊21供给压缩空气的连接软管65,由于与加热器50接触,所以供给的压缩空气是被加热的,可以向侧面气囊21供给温暖的空气,不仅仅是脚心,还能对从脚面直到脚踝的部分进行加温。
按压按摩,是通过使侧面气囊21膨胀、收缩,由侧面气囊21、21夹住从脚部前端一直到脚踝的脚部侧面,进行按压按摩的。侧面气囊21的膨胀、收缩,可以通过电磁阀62的开关及泵60的驱动进行。向侧面气囊21供给压缩空气的连接软管65,由于与加热器50接触,所以供给的压缩空气是被加热的,所以能向侧面气囊21供给温暖的空气,从而增加由加热器50向脚心进行加温治疗的效果,不仅仅是脚心,还能得到从脚面一直到脚踝的部分的加温治疗效果。
上述按压按摩,通过加温治疗效果和按压治疗效果,能够加大治疗的效果。
在进行指压按摩与按压按摩的组合式按摩时,只要同时进行上述动作即可。而且,在这种情况下,由加热器50对被按摩者的脚心、尤其是通过侧面气囊21对从脚面一直到脚踝部分的加温,增加了加温治疗的效果,从而能够加大治疗效果。
自动按摩模式,将指压按摩或按压按摩、滚压按摩按照适当确定的程序而实施。
这里,在进行滚压按摩的时候,在指压棒32开始移动的同时使底面气囊34膨胀、指压棒32突出,即,在移动中使指压棒32慢慢地突出来,不久当突出达到一定的量时持续移动,相反当移动达到所规定的结束位置前时,底面气囊34开始排气,通过使指压棒32缩回,能获得圆滑的指压,成为舒适的滚压按摩。关于指压棒32的返回也是一样。
另外,最好将这些各种按摩设定成一旦达到规定时间就自动终止。
上述实施例的说明,是为了对本发明进行说明,而不应将上述的发明限定在本发明的范围内,或缩减其范围。同时,本发明的各部分构成不局限于上述实施例,在本发明的范围内可以做各种各样的变形。
例如,按摩机构30,不局限于上述实施例,也可以只采用气囊、或采用振动型等。
脚用按摩组合件10,也可以如上述实施那样采用单体,也可以配置在被按摩者的靠背椅前方的下部,构成椅式按摩机。在椅子上,按其希望,可以在靠背或座位部等配置各种按摩机构。
另外,还可以将按摩被按摩者小腿的按摩组合件与脚用按摩组合件10相连而构成按摩组合件。
而且,虽然加热器50配置在凹状收纳部20的底面,不过,如图7所示,也可以将加热器50配置在指压棒32的内部。加热器50的配线52,可以从指压棒32的内部引出。另外,也可以在凹状收纳部20侧面的一方或双方配置加热器。当然,也可以将这些组合在一起。
指压棒32,配置成可以将凹状收纳部20向前后方向移动,不过,也可以作为不移动的结构。在这种情况下,将长孔25,按照指压棒32的形状开孔,例如,也可以设置为圆孔。
本发明的脚用按摩组合件,由于在凹状收纳部配备了加热器,所以当被按摩者把脚插入时不会感到冷的不舒适感,另外,通过由加热器进行的加温治疗效果,作为能增大治疗效果的按摩组合件非常有用。

Claims (8)

1.一种脚用按摩组合件,具有收容被按摩者的脚部的凹状收纳部(20),并在该凹状收纳部(20)中设置有按摩脚部按摩机构(30);其特征在于:
在凹状收纳部(20)的底面,配置有加热器(50)。
2.如权利要求1所述的脚用按摩组合件,其特征在于:按摩机构(30),是从在凹状收纳部(20)的底面开设的孔(25)向上方突出的指压棒(32),加热器(50),被配置在开孔(25)的周围。
3.如权利要求1所述的脚用按摩组合件,其特征在于:在凹状收纳部(20)的底面,开设具有在周围向下方突出设置的棱(26)的孔(25),按摩机构,是从上述孔(25)向上方突出的指压棒(32),加热器(50),被配置在凹状收纳部(20)底面的背面一侧,即使水从孔(25)进入,加热器(50)也不会直接沾上水。
4.如权利要求1所述的脚用按摩组合件,其特征在于:按摩机构(30),是从在凹状收纳部(20)底面开设的孔(25)向上方突出设置的指压棒(32),加热器(50),被配置在指压棒(32)的内部。
5.如权利要求2所述的脚用按摩组合件,其特征在于:指压棒(32),其下端与底面气囊(34)连接,通过底面气囊(34)的膨胀收缩,能够从孔(25)中出没。
6.如权利要求1所述的脚用按摩组合件,其特征在于:在凹状收纳部(20)的侧面配置有加热器。
7.如权利要求1至6中任意一项所述的脚用按摩组合件,其特征在于:加热器(50),在接通按摩装置(10)的电源时通电并开始升温。
8.一种椅式按摩机,其特征在于:
将权利要求1至7中任意一项所述的脚用按摩组合件(10)配置在被按摩者的靠背椅前方的下部。
CNB2005100070823A 2004-02-27 2005-02-07 脚用按摩组合件 Expired - Fee Related CN1321625C (zh)

Applications Claiming Priority (2)

Application Number Priority Date Filing Date Title
JP2004052883 2004-02-27
JP2004052883A JP2005237725A (ja) 2004-02-27 2004-02-27 足用マッサージユニット

Publications (2)

Publication Number Publication Date
CN1660026A true CN1660026A (zh) 2005-08-31
CN1321625C CN1321625C (zh) 2007-06-20

Family

ID=35009781

Family Applications (1)

Application Number Title Priority Date Filing Date
CNB2005100070823A Expired - Fee Related CN1321625C (zh) 2004-02-27 2005-02-07 脚用按摩组合件

Country Status (2)

Country Link
JP (1) JP2005237725A (zh)
CN (1) CN1321625C (zh)

Cited By (3)

* Cited by examiner, † Cited by third party
Publication number Priority date Publication date Assignee Title
CN1872017B (zh) * 2005-06-03 2012-02-08 三洋电机株式会社 脚用按摩组件
CN103565578A (zh) * 2012-08-10 2014-02-12 昆山赤子坊国际贸易有限公司 一种新型暖脚装置
CN110123611A (zh) * 2019-06-18 2019-08-16 威海市中心医院 一种护理用腿部保健按摩仪

Families Citing this family (6)

* Cited by examiner, † Cited by third party
Publication number Priority date Publication date Assignee Title
JP5340986B2 (ja) * 2010-02-23 2013-11-13 パナソニック株式会社 マッサージ機
JP5437291B2 (ja) * 2011-02-21 2014-03-12 パナソニック株式会社 マッサージ機
JP5352606B2 (ja) * 2011-02-21 2013-11-27 パナソニック株式会社 オットマン、およびこれを備える椅子型マッサージ機
JP5314079B2 (ja) * 2011-04-21 2013-10-16 パナソニック株式会社 マッサージ機
JP6115489B2 (ja) * 2014-01-31 2017-04-19 パナソニックIpマネジメント株式会社 オットマン、および、これを有するマッサージ機
CN107224130A (zh) * 2014-12-01 2017-10-03 姜敏敏 办公学习用的椅子及其工作方法

Family Cites Families (4)

* Cited by examiner, † Cited by third party
Publication number Priority date Publication date Assignee Title
US4446855A (en) * 1981-12-31 1984-05-08 Windmere Corporation Foot treatment apparatus
JPH027960A (ja) * 1988-06-27 1990-01-11 Matsushita Electric Works Ltd マッサージ機
US5588161A (en) * 1995-11-03 1996-12-31 Barradas; George Foot bath
JPH10295756A (ja) * 1997-04-25 1998-11-10 Mitsubishi Electric Corp 椅子式電動マッサージ機

Cited By (3)

* Cited by examiner, † Cited by third party
Publication number Priority date Publication date Assignee Title
CN1872017B (zh) * 2005-06-03 2012-02-08 三洋电机株式会社 脚用按摩组件
CN103565578A (zh) * 2012-08-10 2014-02-12 昆山赤子坊国际贸易有限公司 一种新型暖脚装置
CN110123611A (zh) * 2019-06-18 2019-08-16 威海市中心医院 一种护理用腿部保健按摩仪

Also Published As

Publication number Publication date
CN1321625C (zh) 2007-06-20
JP2005237725A (ja) 2005-09-08

Similar Documents

Publication Publication Date Title
JP4017608B2 (ja) 足用マッサージユニット
CN101234064B (zh) 下肢用按摩机
CN1302760C (zh) 按摩机
CN1660026A (zh) 脚用按摩组合件
CN1168432C (zh) 下肢用按摩机及采用这种按摩机的椅子型按摩装置
CN1711982A (zh) 按摩器
KR101669563B1 (ko) 복합 발 마사지기
KR101631834B1 (ko) 안마용 의자
JP4121918B2 (ja) マッサージ機
CN100339064C (zh) 按摩组合件
JP4176135B2 (ja) 足用マッサージユニット
CN214550161U (zh) 一种单电机小腿及脚部综合按摩结构及其按摩椅
JP4176115B2 (ja) マッサージ機
CN100348162C (zh) 脚用按摩单元
JP2005279164A (ja) 足先用マッサージユニット
KR200329961Y1 (ko) 전립선 자극용 보조방석
CN1187343A (zh) 椅子式空气按摩机
JP4176116B2 (ja) マッサージ機
JP2005237726A (ja) マッサージユニット
CN112603746A (zh) 一种单电机小腿及脚部综合按摩结构及其按摩椅
JP2005245802A (ja) 足先用マッサージユニット及び足用マッサージユニット
CN215607354U (zh) 一种脚部按摩器
JP2007252694A (ja) マッサージ機
KR20250117870A (ko) 차량용 발마사지 장치
JP2005279146A (ja) 足先用マッサージユニット

Legal Events

Date Code Title Description
C06 Publication
PB01 Publication
C10 Entry into substantive examination
SE01 Entry into force of request for substantive examination
C14 Grant of patent or utility model
GR01 Patent grant
CF01 Termination of patent right due to non-payment of annual fee

Granted publication date: 20070620

Termination date: 20200207

CF01 Termination of patent right due to non-payment of annual fee