CN114406745A - 一种针对圆形工件的自动化快捷夹具工装系统 - Google Patents
一种针对圆形工件的自动化快捷夹具工装系统 Download PDFInfo
- Publication number
- CN114406745A CN114406745A CN202111666342.3A CN202111666342A CN114406745A CN 114406745 A CN114406745 A CN 114406745A CN 202111666342 A CN202111666342 A CN 202111666342A CN 114406745 A CN114406745 A CN 114406745A
- Authority
- CN
- China
- Prior art keywords
- fixedly connected
- plates
- square
- sub
- clamping
- Prior art date
- Legal status (The legal status is an assumption and is not a legal conclusion. Google has not performed a legal analysis and makes no representation as to the accuracy of the status listed.)
- Withdrawn
Links
- 230000008878 coupling Effects 0.000 claims 5
- 238000010168 coupling process Methods 0.000 claims 5
- 238000005859 coupling reaction Methods 0.000 claims 5
- 230000000712 assembly Effects 0.000 abstract description 5
- 238000000429 assembly Methods 0.000 abstract description 5
- 238000003754 machining Methods 0.000 description 4
- 238000004519 manufacturing process Methods 0.000 description 3
- 238000000034 method Methods 0.000 description 2
- 230000004075 alteration Effects 0.000 description 1
- 230000009286 beneficial effect Effects 0.000 description 1
- 230000002950 deficient Effects 0.000 description 1
- 238000005516 engineering process Methods 0.000 description 1
- 238000012986 modification Methods 0.000 description 1
- 230000004048 modification Effects 0.000 description 1
- 238000006467 substitution reaction Methods 0.000 description 1
- 238000003466 welding Methods 0.000 description 1
Images
Classifications
-
- B—PERFORMING OPERATIONS; TRANSPORTING
- B23—MACHINE TOOLS; METAL-WORKING NOT OTHERWISE PROVIDED FOR
- B23Q—DETAILS, COMPONENTS, OR ACCESSORIES FOR MACHINE TOOLS, e.g. ARRANGEMENTS FOR COPYING OR CONTROLLING; MACHINE TOOLS IN GENERAL CHARACTERISED BY THE CONSTRUCTION OF PARTICULAR DETAILS OR COMPONENTS; COMBINATIONS OR ASSOCIATIONS OF METAL-WORKING MACHINES, NOT DIRECTED TO A PARTICULAR RESULT
- B23Q3/00—Devices holding, supporting, or positioning work or tools, of a kind normally removable from the machine
- B23Q3/02—Devices holding, supporting, or positioning work or tools, of a kind normally removable from the machine for mounting on a work-table, tool-slide, or analogous part
- B23Q3/06—Work-clamping means
-
- B—PERFORMING OPERATIONS; TRANSPORTING
- B24—GRINDING; POLISHING
- B24B—MACHINES, DEVICES, OR PROCESSES FOR GRINDING OR POLISHING; DRESSING OR CONDITIONING OF ABRADING SURFACES; FEEDING OF GRINDING, POLISHING, OR LAPPING AGENTS
- B24B41/00—Component parts such as frames, beds, carriages, headstocks
- B24B41/06—Work supports, e.g. adjustable steadies
Landscapes
- Engineering & Computer Science (AREA)
- Mechanical Engineering (AREA)
- Jigs For Machine Tools (AREA)
Abstract
本发明公开了一种针对圆形工件的自动化快捷夹具工装系统,包括夹具台,所述夹具台两侧顶面分别固接两个短台板,两个所述短台板顶面分别固接两个方板,两个所述方板相互靠近一端分别滑动套接两个方型套管,两个所述方型套管相互靠近一端分别固接两个夹持组件,所述方型套管底面接触短台板表面,所述夹持组件包括固接在方型套管端部的主夹持弧板,所述主夹持弧板两侧分别固接两个耳板,两个耳板上分别固接两个连接轴。本发明夹持组件处的主夹持弧板两端分别转动连接接两个子夹持弧板,在夹持工件时,两个夹持组件上的两个主夹持弧板夹持住工件直径边缘,子夹持弧板通过转动贴合工件边缘处,保证夹持时的接触面积,保证夹持的稳定性能。
Description
技术领域
本发明涉及夹具工装技术领域,具体为一种针对圆形工件的自动化快捷夹具工装系统。
背景技术
工装,即工艺装备:指制造过程中所用的各种工具的总称。包括刀具/夹具/模具/量具/检具/辅具/钳工工具/工位器具等。工装为其通用简称,工件多指在机械加工过程中的加工对象,也叫制件、作件、课件、五金件等。工件在进行机械加工或焊接时,通常需要将其固定住,否则在加工过程中,会很容易造成工件的移动,从而造成残次品。 圆形工件与其他普通形状工件相比,因其圆弧外形,使得其难以固定。现有固定圆形工件的夹具都是根据加工对象的直径而专门制造的,制造成本较高,而且夹持步骤繁琐,使用不方便,一旦更换了工件的尺寸,就得更换其夹具,适用范围小。
对此,授权公告号为CN203792002U的中国发明专利公开了一种用于圆形工件的夹具,该圆形工件的夹具包括底座;在所述底座上开设有用于放置圆形工件的放置位;在所述放置位上活动设置有用于夹持圆形工件的夹持装置,该圆形工件的夹具结构简单,制作成本低,采用简单的装置对圆形工件进行夹持,减少了夹持圆形工件的工序,提高了圆形工件加工的效率。
该圆形工件的夹具适用于不同尺寸的圆形工件,但是当圆形工件直径大于夹持头直径时,会出现夹持头只有两端与工件边缘接触,而当圆形工件直径小于夹持头直径时,会出现夹持头只有中部位置接触工件边缘,这两种情况都会因接触面积过小降低夹持的稳定性,而且当工件直径与夹持头直径差距越大时,稳定性也就越低。
为此我们提出一种针对圆形工件的自动化快捷夹具工装系统用于解决上述问题。
发明内容
本发明的目的在于提供一种针对圆形工件的自动化快捷夹具工装系统,以解决上述背景技术中提出的问题。
为实现上述目的,本发明提供如下技术方案:一种针对圆形工件的自动化快捷夹具工装系统,包括夹具台,所述夹具台两侧顶面分别固接两个短台板,两个所述短台板顶面分别固接两个方板,两个所述方板相互靠近一端分别滑动套接两个方型套管,两个所述方型套管相互靠近一端分别固接两个夹持组件,所述方型套管底面接触短台板表面;
所述夹持组件包括固接在方型套管端部的主夹持弧板,所述主夹持弧板两侧分别固接两个耳板,两个耳板上分别固接两个连接轴,两个所述连接轴上分别转动连接两个转块,两个所述转块远离主夹持弧板一端分别固定连接两个子夹持弧板。
优选的,两个所述子夹持弧板靠近方型套管一侧分别开设两个弧形滑槽,两个所述弧形滑槽内分别滑动连接两个滑块,所述滑块侧壁固接第一主铰接块,所述第一主铰接块内转动连接第一子铰接块。
优选的,所述方型套管远离夹持组件一端两侧固接两个侧板,所述侧板靠近夹持组件一侧固接第二主铰接块,所述第二主铰接块内转动连接第二子铰接块,所述第一子铰接块与第二子铰接块之间固接推杆组件。
优选的,所述主夹持弧板及子夹持弧板远离方型套管一侧均固接橡胶垫,所述橡胶垫侧壁均匀垂直固接多个弧形橡胶齿。
优选的,所述方型套管靠近方板一侧开设滑腔,所述方板滑动插接在滑腔内,所述方板位于滑腔内一端固定嵌接电缸,所述电缸端部固接顶杆,所述顶杆接触滑腔内壁,所述滑腔内侧壁水平固接多个导向插柱,所述述方板位于滑腔内一端对应多个导向插柱位置分别开设多个导向柱槽,所述导向插柱滑动插接在导向柱槽内。
优选的,所述推杆组件包括固接在第二子铰接块上的伸缩主杆及固接在第一子铰接块上的伸缩从杆,所述伸缩主杆远离第二子铰接块一端开设伸缩槽,所述伸缩从杆远离第一子铰接块一端滑动插接在伸缩槽内,所述伸缩槽内侧壁开设限位滑槽,所述伸缩从杆位于伸缩槽内一端侧壁固接限位滑块,所述限位滑块滑动连接在限位滑槽内。
优选的,所述伸缩槽内远离伸缩从杆一端固接遥控电机,所述伸缩从杆位于伸缩槽内一端开设空腔,所述遥控电机端部固接丝杆,所述丝杆位于伸缩槽及空腔内,所述空腔位于伸缩槽内一端固定套接螺纹套筒,所述丝杆啮合连接螺纹套筒。
所述夹具台外侧壁底面固接固定板,所述固定板上垂直开设多个固定孔。
与现有技术相比,本发明的有益效果是:
本发明夹持组件处的主夹持弧板两端分别转动连接接两个子夹持弧板,在夹持工件时,两个夹持组件上的两个主夹持弧板夹持住工件直径边缘,子夹持弧板通过转动贴合工件边缘处,保证夹持时的接触面积,保证夹持的稳定性能。
附图说明
图1为本发明结构示意图;
图2为本发明中夹持组件处结构放大结构示意图;
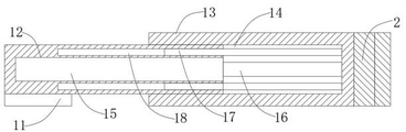
图3为本发明中方板与方型套管出连接结构放大结构示意图;
图4为本发明中推杆组件处结构示意图。
图中:1、夹具台;2、夹持组件;3、滑块;4、侧板;5、推杆组件;11、短台板;12、方板;13、方型套管;14、滑腔;15、电缸;16、顶杆;17、导向插柱;18、导向柱槽;19、固定板;110、固定孔;21、主夹持弧板;22、耳板;23、连接轴;24、转块;25、子夹持弧板;26、橡胶垫;27、弧形橡胶齿;28、弧形滑槽;31、第一主铰接块;32、第一子铰接块;41、第二主铰接块;42、第二子铰接块;51、伸缩主杆;52、伸缩从杆;53、伸缩槽;54、遥控电机;55、丝杆;56、空腔;57、螺纹套筒;58、限位滑槽;59、限位滑块。
具体实施方式
下面将结合本发明实施例中的附图,对本发明实施例中的技术方案进行清楚、完整地描述,显然,所描述的实施例仅仅是本发明一部分实施例,而不是全部的实施例。基于本发明中的实施例,本领域普通技术人员在没有做出创造性劳动前提下所获得的所有其他实施例,都属于本发明保护的范围。
实施例1:
请参阅图1-4,本发明提供一种技术方案:一种针对圆形工件的自动化快捷夹具工装系统,包括夹具台1,夹具台1两侧顶面分别固接两个短台板11,两个短台板11顶面分别固接两个方板12,两个方板12相互靠近一端分别滑动套接两个方型套管13,两个方型套管13相互靠近一端分别固接两个夹持组件2,方型套管13底面接触短台板11表面;
夹持组件2包括固接在方型套管13端部的主夹持弧板21,主夹持弧板21两侧分别固接两个耳板22,两个耳板22上分别固接两个连接轴23,两个连接轴23上分别转动连接两个转块24,两个转块24远离主夹持弧板21一端分别固定连接两个子夹持弧板25,本发明夹持组件2处的主夹持弧板21两端分别转动连接接两个子夹持弧板25,在夹持工件时,两个夹持组件2上的两个主夹持弧板21夹持住工件直径边缘,子夹持弧板25通过转动贴合工件边缘处,保证夹持时的接触面积,保证夹持的稳定性能。
实施例2:
请参阅图1-2,两个子夹持弧板25靠近方型套管13一侧分别开设两个弧形滑槽28,两个弧形滑槽28内分别滑动连接两个滑块3,滑块3侧壁固接第一主铰接块31,第一主铰接块31内转动连接第一子铰接块32。
请参阅图1-2,方型套管13远离夹持组件2一端两侧固接两个侧板4,侧板4靠近夹持组件2一侧固接第二主铰接块41,第二主铰接块41内转动连接第二子铰接块42,第一子铰接块32与第二子铰接块42之间固接推杆组件5。
请参阅图1-2,主夹持弧板21及子夹持弧板25远离方型套管13一侧均固接橡胶垫26,橡胶垫26侧壁均匀垂直固接多个弧形橡胶齿27,通过弧形橡胶齿27接触工件边缘处并发生形变,保证夹持稳定性。
请参阅图3,方型套管13靠近方板12一侧开设滑腔14,方板12滑动插接在滑腔14内,方板12位于滑腔14内一端固定嵌接电缸15,电缸15端部固接顶杆16,顶杆16接触滑腔14内壁,滑腔14内侧壁水平固接多个导向插柱17,述方板12位于滑腔14内一端对应多个导向插柱17位置分别开设多个导向柱槽18,导向插柱17滑动插接在导向柱槽18内,通过电缸15带动两个夹持组件2移动,对工件进行夹持。
请参阅图4,推杆组件5包括固接在第二子铰接块42上的伸缩主杆51及固接在第一子铰接块32上的伸缩从杆52,伸缩主杆51远离第二子铰接块42一端开设伸缩槽53,伸缩从杆52远离第一子铰接块32一端滑动插接在伸缩槽53内,伸缩槽53内侧壁开设限位滑槽58,伸缩从杆52位于伸缩槽53内一端侧壁固接限位滑块59,限位滑块59滑动连接在限位滑槽58内。
请参阅图4,伸缩槽53内远离伸缩从杆52一端固接遥控电机54,伸缩从杆52位于伸缩槽53内一端开设空腔56,遥控电机54端部固接丝杆55,丝杆55位于伸缩槽53及空腔56内,空腔56位于伸缩槽53内一端固定套接螺纹套筒57,丝杆55啮合连接螺纹套筒57,遥控电机54启动后,会改变推杆组件5的长度,进而调整子夹持弧板25的旋转角度,使得子夹持弧板25紧密接触工件边缘。
请参阅图1,夹具台1外侧壁底面固接固定板19,固定板19上垂直开设多个固定孔110,通过固定板19将夹具台1固定在所需位置。
实施例3:
本发明在使用时,通过固定板19将夹具台1固定在所需位置,之后将圆形工件放置在夹具台1表面,然后启动两个电缸15,通过电缸15带动两个夹持组件2移动,对工件进行夹持,在夹持时,两个夹持组件2上的两个主夹持弧板21夹持住工件直径边缘,之后启动遥控电机54,遥控电机54启动后,会改变推杆组件5的长度,进而调整子夹持弧板25的旋转角度,使得子夹持弧板25紧密接触工件边缘,即可完成工件的夹持,本发明夹持组件2处的主夹持弧板21两端分别转动连接接两个子夹持弧板25,在夹持工件时,两个夹持组件2上的两个主夹持弧板21夹持住工件直径边缘,子夹持弧板25通过转动贴合工件边缘处,保证夹持时的接触面积,保证夹持的稳定性能。
尽管已经示出和描述了本发明的实施例,对于本领域的普通技术人员而言,可以理解在不脱离本发明的原理和精神的情况下可以对这些实施例进行多种变化、修改、替换和变型,本发明的范围由所附权利要求及其等同物限定。
Claims (8)
1.一种针对圆形工件的自动化快捷夹具工装系统,包括夹具台(1),其特征在于:
所述夹具台(1)两侧顶面分别固接两个短台板(11),两个所述短台板(11)顶面分别固接两个方板(12),两个所述方板(12)相互靠近一端分别滑动套接两个方型套管(13),两个所述方型套管(13)相互靠近一端分别固接两个夹持组件(2),所述方型套管(13)底面接触短台板(11)表面;
所述夹持组件(2)包括固接在方型套管(13)端部的主夹持弧板(21),所述主夹持弧板(21)两侧分别固接两个耳板(22),两个耳板(22)上分别固接两个连接轴(23),两个所述连接轴(23)上分别转动连接两个转块(24),两个所述转块(24)远离主夹持弧板(21)一端分别固定连接两个子夹持弧板(25)。
2.根据权利要求1所述的一种针对圆形工件的自动化快捷夹具工装系统,其特征在于:两个所述子夹持弧板(25)靠近方型套管(13)一侧分别开设两个弧形滑槽(28),两个所述弧形滑槽(28)内分别滑动连接两个滑块(3),所述滑块(3)侧壁固接第一主铰接块(31),所述第一主铰接块(31)内转动连接第一子铰接块(32)。
3.根据权利要求2所述的一种针对圆形工件的自动化快捷夹具工装系统,其特征在于:所述方型套管(13)远离夹持组件(2)一端两侧固接两个侧板(4),所述侧板(4)靠近夹持组件(2)一侧固接第二主铰接块(41),所述第二主铰接块(41)内转动连接第二子铰接块(42),所述第一子铰接块(32)与第二子铰接块(42)之间固接推杆组件(5)。
4.根据权利要求1所述的一种针对圆形工件的自动化快捷夹具工装系统,其特征在于:所述主夹持弧板(21)及子夹持弧板(25)远离方型套管(13)一侧均固接橡胶垫(26),所述橡胶垫(26)侧壁均匀垂直固接多个弧形橡胶齿(27)。
5.根据权利要求1所述的一种针对圆形工件的自动化快捷夹具工装系统,其特征在于:所述方型套管(13)靠近方板(12)一侧开设滑腔(14),所述方板(12)滑动插接在滑腔(14)内,所述方板(12)位于滑腔(14)内一端固定嵌接电缸(15),所述电缸(15)端部固接顶杆(16),所述顶杆(16)接触滑腔(14)内壁,所述滑腔(14)内侧壁水平固接多个导向插柱(17),所述述方板(12)位于滑腔(14)内一端对应多个导向插柱(17)位置分别开设多个导向柱槽(18),所述导向插柱(17)滑动插接在导向柱槽(18)内。
6.根据权利要求3所述的一种针对圆形工件的自动化快捷夹具工装系统,其特征在于:所述推杆组件(5)包括固接在第二子铰接块(42)上的伸缩主杆(51)及固接在第一子铰接块(32)上的伸缩从杆(52),所述伸缩主杆(51)远离第二子铰接块(42)一端开设伸缩槽(53),所述伸缩从杆(52)远离第一子铰接块(32)一端滑动插接在伸缩槽(53)内,所述伸缩槽(53)内侧壁开设限位滑槽(58),所述伸缩从杆(52)位于伸缩槽(53)内一端侧壁固接限位滑块(59),所述限位滑块(59)滑动连接在限位滑槽(58)内。
7.根据权利要求6所述的一种针对圆形工件的自动化快捷夹具工装系统,其特征在于:所述伸缩槽(53)内远离伸缩从杆(52)一端固接遥控电机(54),所述伸缩从杆(52)位于伸缩槽(53)内一端开设空腔(56),所述遥控电机(54)端部固接丝杆(55),所述丝杆(55)位于伸缩槽(53)及空腔(56)内,所述空腔(56)位于伸缩槽(53)内一端固定套接螺纹套筒(57),所述丝杆(55)啮合连接螺纹套筒(57)。
8.根据权利要求1所述的一种针对圆形工件的自动化快捷夹具工装系统,其特征在于:所述夹具台(1)外侧壁底面固接固定板(19),所述固定板(19)上垂直开设多个固定孔(110)。
Priority Applications (1)
| Application Number | Priority Date | Filing Date | Title |
|---|---|---|---|
| CN202111666342.3A CN114406745A (zh) | 2021-12-31 | 2021-12-31 | 一种针对圆形工件的自动化快捷夹具工装系统 |
Applications Claiming Priority (1)
| Application Number | Priority Date | Filing Date | Title |
|---|---|---|---|
| CN202111666342.3A CN114406745A (zh) | 2021-12-31 | 2021-12-31 | 一种针对圆形工件的自动化快捷夹具工装系统 |
Publications (1)
| Publication Number | Publication Date |
|---|---|
| CN114406745A true CN114406745A (zh) | 2022-04-29 |
Family
ID=81270508
Family Applications (1)
| Application Number | Title | Priority Date | Filing Date |
|---|---|---|---|
| CN202111666342.3A Withdrawn CN114406745A (zh) | 2021-12-31 | 2021-12-31 | 一种针对圆形工件的自动化快捷夹具工装系统 |
Country Status (1)
| Country | Link |
|---|---|
| CN (1) | CN114406745A (zh) |
Cited By (3)
| Publication number | Priority date | Publication date | Assignee | Title |
|---|---|---|---|---|
| CN116079463A (zh) * | 2023-01-17 | 2023-05-09 | 群志数控装备(苏州)有限公司 | 一种立式加工中心的工件夹持装置 |
| CN117359347A (zh) * | 2023-10-13 | 2024-01-09 | 无锡市艾驰科技有限公司 | 一种圆弧类零件自定心夹具 |
| CN118303706A (zh) * | 2024-05-17 | 2024-07-09 | 浙江锐奇鞋业有限公司 | 一种鞋底冲压平整装置及其使用方法 |
-
2021
- 2021-12-31 CN CN202111666342.3A patent/CN114406745A/zh not_active Withdrawn
Cited By (3)
| Publication number | Priority date | Publication date | Assignee | Title |
|---|---|---|---|---|
| CN116079463A (zh) * | 2023-01-17 | 2023-05-09 | 群志数控装备(苏州)有限公司 | 一种立式加工中心的工件夹持装置 |
| CN117359347A (zh) * | 2023-10-13 | 2024-01-09 | 无锡市艾驰科技有限公司 | 一种圆弧类零件自定心夹具 |
| CN118303706A (zh) * | 2024-05-17 | 2024-07-09 | 浙江锐奇鞋业有限公司 | 一种鞋底冲压平整装置及其使用方法 |
Similar Documents
| Publication | Publication Date | Title |
|---|---|---|
| CN210677777U (zh) | 一种旋转工作台用夹持机构 | |
| CN114406745A (zh) | 一种针对圆形工件的自动化快捷夹具工装系统 | |
| CN209774013U (zh) | 一种钻床工装夹具台 | |
| CN215146977U (zh) | 一种加工中心用工件夹具 | |
| CN107309461B (zh) | 一种塔身主弦杆端头孔加工机 | |
| CN221110773U (zh) | 一种铣削加工用夹具 | |
| CN220217596U (zh) | 一种夹紧方便的机械零件加工模具 | |
| CN211589264U (zh) | 一种后套加工夹具 | |
| CN212683170U (zh) | 一种柱塞套加工腰型孔夹具 | |
| CN215469724U (zh) | 一种机加工夹具结构 | |
| CN212793993U (zh) | 一种高速线轨加工中心精准定位装置 | |
| CN210232310U (zh) | 一种高精度手机外框加工的夹具 | |
| CN211413797U (zh) | 一种用于加工轴套的高效铣床 | |
| CN220445747U (zh) | 一种卡箍工件治具工装 | |
| CN220971522U (zh) | 一种自动夹持工装 | |
| CN222059522U (zh) | 一种堵铜套夹具 | |
| CN219402691U (zh) | 一种攻丝机工件安装夹具 | |
| CN219703718U (zh) | 一种弹性销专用倒角装置 | |
| CN216126761U (zh) | 一种柔性支架圆弧板加工工装夹具 | |
| CN222679666U (zh) | 一种弯头管件切割夹持装置 | |
| CN218051451U (zh) | 一种机械零件用便携万能夹具 | |
| CN221186177U (zh) | 一种便于上下料的夹具 | |
| CN220637058U (zh) | 一种用于金属零部件加工的铣削工作台 | |
| CN212526922U (zh) | 一种可以调节工位的手机后壳夹具 | |
| CN221088123U (zh) | 一种定位夹具以及数控铣床 |
Legal Events
| Date | Code | Title | Description |
|---|---|---|---|
| PB01 | Publication | ||
| PB01 | Publication | ||
| WW01 | Invention patent application withdrawn after publication |
Application publication date: 20220429 |
|
| WW01 | Invention patent application withdrawn after publication |