CN113959008A - Wall-mounted fresh air conditioner indoor unit and air conditioner - Google Patents

Wall-mounted fresh air conditioner indoor unit and air conditioner Download PDF

Info

Publication number
CN113959008A
CN113959008A CN202111223073.3A CN202111223073A CN113959008A CN 113959008 A CN113959008 A CN 113959008A CN 202111223073 A CN202111223073 A CN 202111223073A CN 113959008 A CN113959008 A CN 113959008A
Authority
CN
China
Prior art keywords
air
fresh air
heat exchange
indoor unit
wall
Prior art date
Legal status (The legal status is an assumption and is not a legal conclusion. Google has not performed a legal analysis and makes no representation as to the accuracy of the status listed.)
Pending
Application number
CN202111223073.3A
Other languages
Chinese (zh)
Inventor
刘宏宝
王永涛
张鹏
Current Assignee (The listed assignees may be inaccurate. Google has not performed a legal analysis and makes no representation or warranty as to the accuracy of the list.)
Qingdao Haier Air Conditioner Gen Corp Ltd
Qingdao Haier Air Conditioning Electric Co Ltd
Haier Smart Home Co Ltd
Original Assignee
Qingdao Haier Air Conditioner Gen Corp Ltd
Qingdao Haier Air Conditioning Electric Co Ltd
Haier Smart Home Co Ltd
Priority date (The priority date is an assumption and is not a legal conclusion. Google has not performed a legal analysis and makes no representation as to the accuracy of the date listed.)
Filing date
Publication date
Application filed by Qingdao Haier Air Conditioner Gen Corp Ltd, Qingdao Haier Air Conditioning Electric Co Ltd, Haier Smart Home Co Ltd filed Critical Qingdao Haier Air Conditioner Gen Corp Ltd
Publication of CN113959008A publication Critical patent/CN113959008A/en
Priority to PCT/CN2022/073499 priority Critical patent/WO2023065564A1/en
Pending legal-status Critical Current

Links

Images

Classifications

    • FMECHANICAL ENGINEERING; LIGHTING; HEATING; WEAPONS; BLASTING
    • F24HEATING; RANGES; VENTILATING
    • F24FAIR-CONDITIONING; AIR-HUMIDIFICATION; VENTILATION; USE OF AIR CURRENTS FOR SCREENING
    • F24F1/00Room units for air-conditioning, e.g. separate or self-contained units or units receiving primary air from a central station
    • F24F1/0007Indoor units, e.g. fan coil units
    • F24F1/0011Indoor units, e.g. fan coil units characterised by air outlets
    • F24F1/0014Indoor units, e.g. fan coil units characterised by air outlets having two or more outlet openings
    • FMECHANICAL ENGINEERING; LIGHTING; HEATING; WEAPONS; BLASTING
    • F24HEATING; RANGES; VENTILATING
    • F24FAIR-CONDITIONING; AIR-HUMIDIFICATION; VENTILATION; USE OF AIR CURRENTS FOR SCREENING
    • F24F1/00Room units for air-conditioning, e.g. separate or self-contained units or units receiving primary air from a central station
    • F24F1/0007Indoor units, e.g. fan coil units
    • F24F1/0018Indoor units, e.g. fan coil units characterised by fans
    • F24F1/0022Centrifugal or radial fans
    • FMECHANICAL ENGINEERING; LIGHTING; HEATING; WEAPONS; BLASTING
    • F24HEATING; RANGES; VENTILATING
    • F24FAIR-CONDITIONING; AIR-HUMIDIFICATION; VENTILATION; USE OF AIR CURRENTS FOR SCREENING
    • F24F1/00Room units for air-conditioning, e.g. separate or self-contained units or units receiving primary air from a central station
    • F24F1/0007Indoor units, e.g. fan coil units
    • F24F1/0018Indoor units, e.g. fan coil units characterised by fans
    • F24F1/0025Cross-flow or tangential fans
    • FMECHANICAL ENGINEERING; LIGHTING; HEATING; WEAPONS; BLASTING
    • F24HEATING; RANGES; VENTILATING
    • F24FAIR-CONDITIONING; AIR-HUMIDIFICATION; VENTILATION; USE OF AIR CURRENTS FOR SCREENING
    • F24F13/00Details common to, or for air-conditioning, air-humidification, ventilation or use of air currents for screening
    • F24F13/24Means for preventing or suppressing noise
    • FMECHANICAL ENGINEERING; LIGHTING; HEATING; WEAPONS; BLASTING
    • F24HEATING; RANGES; VENTILATING
    • F24FAIR-CONDITIONING; AIR-HUMIDIFICATION; VENTILATION; USE OF AIR CURRENTS FOR SCREENING
    • F24F7/00Ventilation
    • F24F7/04Ventilation with ducting systems, e.g. by double walls; with natural circulation
    • F24F7/06Ventilation with ducting systems, e.g. by double walls; with natural circulation with forced air circulation, e.g. by fan positioning of a ventilator in or against a conduit
    • F24F7/08Ventilation with ducting systems, e.g. by double walls; with natural circulation with forced air circulation, e.g. by fan positioning of a ventilator in or against a conduit with separate ducts for supplied and exhausted air with provisions for reversal of the input and output systems
    • YGENERAL TAGGING OF NEW TECHNOLOGICAL DEVELOPMENTS; GENERAL TAGGING OF CROSS-SECTIONAL TECHNOLOGIES SPANNING OVER SEVERAL SECTIONS OF THE IPC; TECHNICAL SUBJECTS COVERED BY FORMER USPC CROSS-REFERENCE ART COLLECTIONS [XRACs] AND DIGESTS
    • Y02TECHNOLOGIES OR APPLICATIONS FOR MITIGATION OR ADAPTATION AGAINST CLIMATE CHANGE
    • Y02BCLIMATE CHANGE MITIGATION TECHNOLOGIES RELATED TO BUILDINGS, e.g. HOUSING, HOUSE APPLIANCES OR RELATED END-USER APPLICATIONS
    • Y02B30/00Energy efficient heating, ventilation or air conditioning [HVAC]
    • Y02B30/70Efficient control or regulation technologies, e.g. for control of refrigerant flow, motor or heating

Landscapes

  • Engineering & Computer Science (AREA)
  • Chemical & Material Sciences (AREA)
  • Combustion & Propulsion (AREA)
  • Mechanical Engineering (AREA)
  • General Engineering & Computer Science (AREA)
  • Air-Conditioning Room Units, And Self-Contained Units In General (AREA)
  • Air Filters, Heat-Exchange Apparatuses, And Housings Of Air-Conditioning Units (AREA)
  • Air-Flow Control Members (AREA)
  • Air Conditioning Control Device (AREA)
  • Duct Arrangements (AREA)

Abstract

本发明提供了一种壁挂式新风空调室内机及空调器,壁挂式新风空调室内机包括:机壳,其前部下端设置有换热气流出风口;换热器,设置于机壳内,用于对机壳内的空气进行换热;换热风机,用于促使形成流经换热器并从换热气流出风口送出的换热气流;送风部,沿机壳的横向方向设置于机壳的底部,并且送风部上设置有用于向机壳内输送新风的新风出风口;新风出风口配置成朝向换热器以及换热气流出风口之间的区域,以使得新风与换热气流在机壳内部混合。本发明的方案,通过设置朝向机壳内部输送新风的送风部,使新风在机壳内与换热气流进行混合后流向室内,从而提高了新风的扩散均匀性和扩散速度,同时减少了新风对室温的影响,提高了用户的使用体验。

Figure 202111223073

The invention provides a wall-mounted fresh air air conditioner indoor unit and an air conditioner. The wall-mounted fresh air air conditioner indoor unit comprises: a casing, a heat exchange airflow outlet is arranged at the lower end of its front part; a heat exchanger is arranged in the casing and used for It is used to exchange heat with the air in the casing; the heat exchange fan is used to promote the formation of a heat exchange air flow that flows through the heat exchanger and is sent out from the heat exchange air outlet; The bottom of the shell, and the air supply part is provided with a fresh air outlet for delivering fresh air into the casing; the fresh air outlet is configured to face the area between the heat exchanger and the heat exchange airflow outlet, so that the fresh air and the heat exchange airflow Mixed inside the case. In the solution of the present invention, by arranging an air supply part that transports fresh air toward the inside of the casing, the fresh air is mixed with the heat exchange airflow in the casing and then flows into the room, thereby improving the diffusion uniformity and diffusion speed of the fresh air, and reducing the fresh air at the same time. The impact on room temperature improves the user experience.

Figure 202111223073

Description

Wall-mounted fresh air conditioner indoor unit and air conditioner
Technical Field
The invention relates to the field of household appliances, in particular to a wall-mounted fresh air conditioner indoor unit and an air conditioner.
Background
The air conditioner in the prior art usually adopts single fresh air outlet, and not only the fresh air output is little, but also the fresh air diffusion speed is slow. In addition, the fresh air introduced from the outdoor of the air conditioner in the prior art is usually directly conveyed to the indoor, so that the fresh air is not uniformly diffused, and the indoor temperature is easily adversely affected.
Disclosure of Invention
An object of the present invention is to provide a wall-mounted fresh air conditioner indoor unit and an air conditioner that can solve at least any of the above problems.
The invention further aims to improve the diffusion uniformity of fresh air of the wall-mounted fresh air conditioner indoor unit and the air conditioner.
The invention also aims to improve the air supply speed and the air supply range of the fresh air of the wall-mounted fresh air conditioner indoor unit and the air conditioner.
In particular, the present invention provides a wall-mounted fresh air conditioner indoor unit, comprising: the lower end of the front part of the shell is provided with a heat exchange airflow outlet; the heat exchanger is arranged in the shell and used for exchanging heat of air in the shell; the heat exchange fan is used for promoting the formation of heat exchange airflow which flows through the heat exchanger and is sent out from the heat exchange airflow outlet; the air supply part is arranged at the bottom of the shell along the transverse direction of the shell, and is provided with a fresh air outlet for conveying fresh air into the shell; the fresh air outlet is configured to face an area between the heat exchanger and the heat exchange airflow outlet so that fresh air and heat exchange airflow are mixed inside the casing.
Further, the air supply part includes: the air pipe main body extends along the transverse direction of the shell, a fresh air duct is defined in the air pipe main body, and an opening which inclines upwards and faces the front side of the shell is formed in the air pipe main body; the air pipe baffle is arranged at the opening, and a plurality of uniformly distributed micropores are arranged at the position corresponding to the opening on the air pipe baffle and serve as a fresh air outlet.
Further, the rear side of the air duct main body comprises a first section and a second section, and the first section is formed by extending forwards from the top end of the rear wall of the air duct main body along the horizontal direction; the second section is formed by extending upwards from the tail end of the first section in an inclined mode towards the front direction, and the second section and the front wall of the air duct main body form an opening.
Furthermore, the tail end of the second section is connected to the middle part of the air pipe baffle, and an air guide surface is formed above the joint of the air pipe baffle and the second section and used for guiding the flowing direction of the heat exchange air flow.
Furthermore, a long hole is formed at the bottom of the casing in a transverse mode, and the air supply part is embedded into the long hole.
Further, machine in wall-hanging new trend air conditioning still includes: the fresh air device is arranged at one end in the machine shell and is provided with a first exhaust port arranged towards the bottom of the machine shell; the first exhaust port is connected to one end of the air supply part.
Furthermore, the top of the shell is provided with an air inlet; the fresh air device is also provided with a second air outlet which is arranged towards the top of the shell, and part of air flow blown out of the second air outlet enters the shell from the air inlet to exchange heat with the heat exchanger.
Further, machine in wall-hanging new trend air conditioning, new trend device still includes: and the air door is arranged at the second air outlet and used for opening and closing the second air outlet.
Further, new trend device still includes: the fresh air pipe is used for communicating the outdoor environment so as to convey the outside fresh air to the indoor environment; wherein the fresh air pipe is positioned behind the air supply part.
The present invention also provides an air conditioner, comprising: any one of the wall-mounted fresh air conditioner indoor units.
According to the wall-mounted fresh air conditioner indoor unit and the air conditioner, the air supply part is arranged at the bottom of the casing, and the fresh air outlet for conveying fresh air to the inside of the casing is arranged on the air supply part, so that the fresh air flows to the area between the heat exchanger and the heat exchange airflow outlet through the fresh air outlet, is mixed with heat exchange airflow, and then is driven by the heat exchange airflow to flow to the outside of the casing through the heat exchange airflow outlet. On one hand, the fresh air is mixed with the heat exchange air flow, so that the influence of large difference between the fresh air and the indoor temperature on the indoor temperature is avoided, and the diffusion uniformity of the fresh air is improved; on the other hand, the fresh air and the heat exchange air flow are mixed and then driven to flow into the room, so that the air supply speed and the air supply range of the fresh air are improved.
Furthermore, according to the wall-mounted fresh air conditioner indoor unit and the air conditioner, the air pipe main body provided with the air supply part is provided with the opening which is inclined upwards and faces the front side of the casing, and the air pipe baffle plate provided with the fresh air outlet is arranged at the opening, so that fresh air is blown into the casing obliquely forwards along the direction of the opening, and therefore the fresh air is better mixed with heat exchange airflow flowing to the heat exchange airflow outlet, the mixing degree of the fresh air and the heat exchange airflow is improved, and the diffusion uniformity of the fresh air is further improved. In addition, set up the new trend air outlet on the tuber pipe baffle into a plurality of evenly distributed's micropore, further improved the air supply homogeneity of new trend.
Furthermore, the wall-mounted fresh air conditioner indoor unit and the air conditioner provided by the invention have the advantages that the rear side of the air pipe main body comprises the first section extending forwards and the second section extending upwards in an inclined manner from the tail end of the first section, and the second section and the front side of the air pipe main body form the opening, so that the space occupation ratio of the air supply part in the shell is reduced, meanwhile, fresh air can better flow to the opening along the second section, and further, the air volume loss of the fresh air in the air supply part is reduced.
Furthermore, according to the wall-mounted fresh air conditioner indoor unit and the air conditioner, the air guide surface is formed above the joint of the air pipe baffle and the second section, so that the heat exchange airflow is guided to flow to the heat exchange airflow outlet along the direction of the air pipe baffle, the heat exchange airflow is better mixed with the fresh air blown out from the fresh air outlet on the air pipe baffle, and the diffusion uniformity of the fresh air is further improved.
Furthermore, according to the wall-mounted fresh air conditioner indoor unit and the air conditioner, the bottom of the casing is provided with the long hole, and the air supply part is embedded into the long hole, so that the attractiveness of the wall-mounted fresh air conditioner indoor unit and the air conditioner is improved.
Furthermore, according to the wall-mounted fresh air conditioner indoor unit and the air conditioner, the fresh air device is provided with the first air outlet leading to the air supply part and the second air outlet arranged towards the top of the shell, so that the air outlet path of fresh air is increased, and the air supply quantity and the air supply range of the fresh air are further improved.
The above and other objects, advantages and features of the present invention will become more apparent to those skilled in the art from the following detailed description of specific embodiments thereof, taken in conjunction with the accompanying drawings.
Drawings
Some specific embodiments of the invention will be described in detail hereinafter, by way of illustration and not limitation, with reference to the accompanying drawings. The same reference numbers in the drawings identify the same or similar elements or components. Those skilled in the art will appreciate that the drawings are not necessarily drawn to scale. In the drawings:
FIG. 1 is a schematic block diagram of an air conditioner according to one embodiment of the present invention;
fig. 2 is a schematic front view of a wall-mounted fresh air conditioning indoor unit according to an embodiment of the present invention;
FIG. 3 is a schematic cross-sectional view taken along section line A-A in FIG. 2;
FIG. 4 is an enlarged partial view of area B of FIG. 3;
fig. 5 is a schematic structural view of a wall-mounted fresh air conditioner indoor unit according to an embodiment of the present invention;
FIG. 6 is an enlarged partial view of area C of FIG. 5;
fig. 7 is a schematic structural view of another angle of a wall-mounted fresh air conditioner indoor unit according to an embodiment of the present invention;
FIG. 8 is an enlarged partial view of region D of FIG. 7;
fig. 9 is a schematic structural view of a fresh air device of a wall-mounted fresh air conditioner indoor unit according to an embodiment of the present invention.
Detailed Description
The present invention will be described in detail below with reference to specific embodiments shown in fig. 1 to 9. These embodiments do not limit the present invention, and structural, methodological, or functional changes made by those skilled in the art according to these embodiments are included in the scope of the present invention.
In the description of the present invention, it should be understood that the terms "lateral," "upper," "lower," "front," "rear," "top," "bottom," and the like indicate orientations or positional relationships that can be determined based on the orientation of the wall-mounted fresh air conditioning indoor unit 011 in a normal use state, and refer to the orientations or positional relationships shown in the drawings, for example, "front" indicating an orientation refers to a side of the wall-mounted fresh air conditioning indoor unit 011 facing a user in a normal use process. This is merely to facilitate description of the invention and to simplify the description, and is not intended to indicate or imply that the referenced devices or elements must have a particular orientation, be constructed and operated in a particular orientation, and is not to be construed as limiting the invention.
Furthermore, the terms "first", "second" and "first" are used for descriptive purposes only and are not to be construed as indicating or implying relative importance or implicitly indicating the number of technical features indicated. Thus, a feature defined as "first" or "second" may explicitly or implicitly include one or more of that feature. In the description of the present invention, "a plurality" means two or more unless specifically limited otherwise.
In the present invention, unless otherwise specifically stated or limited, the terms "connected," "connected," and "fixed" are to be construed broadly, e.g., as meaning fixedly connected, detachably connected, or integrally connected; they may be connected directly or indirectly through intervening media, or they may be interconnected between two elements. The specific meanings of the above terms in the present invention can be understood by those skilled in the art according to specific situations.
Fig. 1 is a schematic block diagram of an air conditioner 01 according to an embodiment of the present invention. As shown in fig. 1, the air conditioner 01 of the present embodiment includes a wall-mounted fresh air conditioner indoor unit 011 and a fresh air conditioner outdoor unit 012.
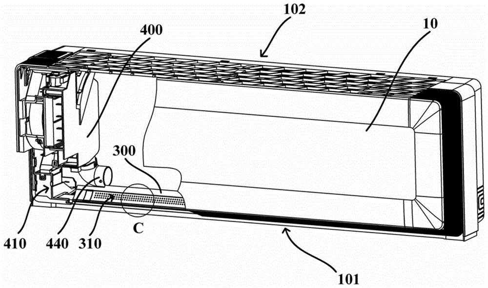
Fig. 2 is a schematic front view of a wall-mounted fresh air conditioner indoor unit 011 according to one embodiment of the present invention. Fig. 3 is a schematic cross-sectional view taken along a sectional line a-a in fig. 2. Fig. 4 is a partially enlarged view of the area B in fig. 3. Fig. 5 is a schematic structural view of a wall-mounted fresh air conditioner indoor unit 011 according to one embodiment of the present invention. Fig. 6 is a partially enlarged view of the area C in fig. 5. Fig. 7 is a schematic structural view from another angle of a wall-mounted fresh air conditioner indoor unit 011 according to an embodiment of the present invention. Fig. 8 is a partially enlarged view of the region D in fig. 7. Fig. 5 and 7 show a part of the structure of the housing 10.
The scheme of this embodiment provides a wall-hanging fresh air conditioner indoor set 011, can include generally: the heat exchanger comprises a shell 10, a heat exchanger 100, a heat exchange fan 200 and an air supply part 300.
Wherein, the lower end of the front part of the casing 10 is provided with a heat exchange airflow outlet 101. The heat exchanger 100 is disposed in the cabinet 10 to exchange heat with air in the cabinet 10. The heat exchange fan 200 is configured to promote the formation of a heat exchange airflow that flows through the heat exchanger 100 and is sent out from the heat exchange airflow outlet 101. The air supply part 300 is disposed at the bottom of the casing 10 along the transverse direction of the casing 10, and the air supply part 300 is provided with a fresh air outlet 310 for delivering fresh air into the casing 10. The fresh air outlet 310 is configured to face the area between the heat exchanger 100 and the heat exchange airflow outlet 101 so that the fresh air and the heat exchange airflow mix inside the enclosure 10.
The scheme of this embodiment, through set up air supply portion 300 in the casing 10 bottom, and be provided with the new trend air outlet 310 to the inside new trend of carrying of casing 10 on air supply portion 300, make the new trend flow to the region between heat exchanger 100 and the heat transfer air current air outlet 101 through this new trend air outlet 310, mix with the heat transfer air current, then the new trend is driven the heat transfer air current air outlet 101 that the flow direction is located air supply portion 300 front side by the heat transfer air current, and then flow to the casing 10 outside through heat transfer air current air outlet 101. The fresh air and the heat exchange air flow are mixed and flow into the room, on one hand, the diffusion uniformity of the fresh air is improved, and the influence on the indoor temperature caused by the large difference between the fresh air and the indoor temperature is avoided, so that the use experience of a user is improved; on the other hand, the fresh air is driven by the heat exchange airflow to flow into the room, so that the air supply speed and the air supply range of the fresh air are improved.
The blower 300 may generally include: the duct body 320 and the duct baffle 330.
The air duct main body 320 extends along the transverse direction of the enclosure 10, a fresh air duct 321 is defined in the air duct main body 320, and an opening facing the front side of the enclosure 10 and inclined upwards is formed on the air duct main body 320. The air duct baffle 330 is disposed at the opening, and a plurality of uniformly distributed micro-holes are disposed at positions on the air duct baffle 330 corresponding to the opening, and serve as the fresh air outlet 310.
In the solution of this embodiment, the air duct main body 320 provided with the air supply part 300 extends along the transverse direction of the casing 10, and the fresh air duct 321 is defined in the air duct main body 320, so that the fresh air flows in the transverse direction of the casing 10 through the fresh air duct 321, and the flow range of the fresh air in the transverse direction of the casing 10 is increased.
Further, an opening is formed on the air duct main body 320, and the opening is disposed obliquely upward toward the front side of the casing 10, so that the fresh air in the fresh air duct 321 flows into the inside of the casing 10 obliquely upward toward the front side through the opening, and the fresh air is mixed with the heat exchange air flow inside the casing 10.
In the solution of this embodiment, the air supply part 300 further includes an air duct baffle 330 extending along the transverse direction, and the air duct baffle 330 is disposed at the opening formed by the air duct main body 320 for shielding the opening. Through set up a plurality of evenly distributed's micropore with the position department that the opening corresponds on tuber pipe baffle 330, as fresh air outlet 310 for in the new trend wind channel 321 passes through the micropore and gets into casing 10, thereby improved the air-out homogeneity when new trend flow direction casing 10 is inside.
In addition, set up fresh air outlet 310 on tuber pipe baffle 330 as a plurality of evenly distributed's micropore, utilize the micropore to the inside new trend of carrying of casing 10 to it is great to have avoided the wind speed of new trend inflow casing 10, and then makes the new trend mix better with the inside heat transfer air current of casing 10, has improved the diffusion homogeneity of the mixed degree of new trend and heat transfer air current and new trend.
Furthermore, the micro-holes are arranged in the direction perpendicular to the air pipe baffle 330, so that the fresh air flows into the interior of the casing 10 in the direction perpendicular to the air pipe baffle 330 through the micro-holes, and the mixing degree of the fresh air and the heat exchange air flow is improved.
Wherein, in some preferred embodiments, the micropores may be provided as circular holes. In other embodiments, the micro holes may also be configured as elliptical holes, slit holes, rectangular holes, and the like. It will be appreciated that the number, size and configuration of the micro-holes may be set according to actual requirements.
The rear side of the air duct main body 320 comprises a first section 322 and a second section 323, wherein the first section 322 is formed by extending forwards from the top end of the rear wall 324 of the air duct main body 320 along the horizontal direction; the second section 323 is formed extending obliquely upward from the end of the first section 322 in the front direction, and the second section 323 forms an opening with the front wall 325 of the duct body 320.
In this embodiment, the main duct body 320 further includes a front wall 325, a rear wall 324, and a bottom plate 326 connecting the front wall 325 and the rear wall 324.
In the present embodiment, a first section 322 extending forward and a second section 323 extending obliquely upward are provided from a rear wall 324 of the duct main body 320. The first section 322 extends forward from the rear wall 324, thereby providing a relief for other structures in the cabinet 10 while reducing the space occupation of the blower 300 in the cabinet 10. The second section 323 extends obliquely forward, so as to guide the fresh air in the fresh air duct 321 to flow to the opening formed by the front wall 325 along the second section 323, thereby reducing the air loss of the fresh air in the air supply part 300.
The end of the second section 323 is connected to the middle of the air duct baffle 330, and the air duct baffle 330 is formed with an air guide surface 331 above the connection with the second section 323, and the air guide surface 331 is used for guiding the flowing direction of the heat exchange air flow.
In this embodiment, the second section 323 is configured to be connected at its distal end to the middle of the duct shield 330, such that the second section 323 supports the duct shield 330.
Further, in the embodiment, the section above the connection between the duct baffle 330 and the second section 323 is formed with a wind guide surface 331, so as to guide the flow of the heat exchange airflow. The heat exchange airflow flows along the direction of the air pipe baffle plate 330 through the air guide surface 331, so that the heat exchange airflow can be better mixed with the fresh air flowing into the casing 10 through the air pipe baffle plate 330, and the diffusion uniformity of the fresh air is improved.
As shown in fig. 3-4, in the solution of this embodiment, the air guiding surface 331 of the air duct baffle 330 is set to be directly connected to the outlet of the heat exchange air duct 110 of the heat exchange air flow in the enclosure 10, so that the heat exchange air flow directly flows to the air duct baffle 330 after flowing out of the heat exchange air duct 110, which is beneficial to mixing and diffusion of the fresh air and the heat exchange air flow, and improves the mixing degree of the heat exchange air flow and the fresh air sent out from the fresh air outlet 310 on the air duct baffle 330.
In other embodiments, the air duct baffle 330 may also be disposed not to be connected to the air outlet of the heat exchange air duct 110, but directly disposed on the heat exchange air duct 110, so that the air duct baffle 330 becomes a part of the air duct wall of the heat exchange air duct 110, and the fresh air directly flows into the heat exchange air duct 110.
The bottom of the casing 10 is formed with a long hole in a horizontal direction, and the air supply part 300 is inserted into the long hole.
According to the scheme of the embodiment, the bottom of the casing 10 is provided with the strip-shaped hole, and the air supply part 300 is embedded into the strip-shaped hole, so that the space occupation ratio of the air supply part 300 in the casing 10 is reduced, the abdication is provided for other structures in the casing 10, and the simplicity and the attractiveness of the appearance of the indoor unit 011 of the wall-mounted fresh air conditioner are further improved.
In other embodiments, the air-sending seal can be arranged inside the casing 10, so that the bottom surface of the air-sending seal is flush with the bottom of the casing 10, thereby improving the aesthetic appearance of the wall-mounted fresh air conditioner indoor unit 011.
Fig. 9 is a schematic structural view of a fresh air device 400 of a wall-mounted fresh air conditioner indoor unit 011 according to an embodiment of the present invention.
Indoor unit 011 of wall-hanging new trend air conditioning still includes: a fresh air device 400 disposed at one end of the interior of the casing 10, wherein the fresh air device 400 has a first exhaust port 410 disposed toward the bottom of the casing 10; the first exhaust port 410 is connected to one end of the air supply part 300.
According to the scheme of this embodiment, the fresh air device 400 is arranged at one transverse end of the casing 10, and the first exhaust port 410 arranged downward of the fresh air device 400 is connected to one end of the air supply part 300, so that the fresh air flows to the other end from one end of the air supply part 300 along the transverse direction under the action of a fan (not shown in the figure) in the fresh air device 400, and the air outlet range of the fresh air in the transverse direction of the indoor unit 011 of the wall-mounted fresh air conditioner is increased.
The top of the casing 10 is provided with an air inlet 102; the fresh air device 400 further has a second air outlet 420 disposed toward the top of the casing 10, and a part of the air flow blown out from the second air outlet 420 enters the casing 10 from the air inlet 102 to exchange heat with the heat exchanger 100.
As shown in fig. 4, the air inlet 102 of the wall-mounted fresh air conditioner indoor unit 011 is located at the top of the casing 10, and the air outlet of the wall-mounted fresh air conditioner indoor unit 011 is located at the front of the casing 10. After entering the casing 10 from the air inlet 102 at the top of the casing 10, the airflow exchanges heat with the heat exchanger 100 inside the casing 10, and then the heat exchange airflow flows through the air supply part 300, is mixed with fresh air, flows to the heat exchange airflow outlet 101, and finally enters the indoor space.
According to the scheme of the embodiment, the fresh air device 400 is provided with the second air outlet 420, and air is discharged from the first air outlet 410 and the second air outlet 420 at the same time, so that the air output of the fresh air device 400 is increased, and the problem that the fresh air quantity of the wall-mounted fresh air conditioner indoor unit 011 is insufficient is solved.
Further, the scheme of this embodiment sets up first fresh air-out and second air exit 420 simultaneously, compares in the setting of single air exit, has not only reduced the windage, has reduced the energy consumption of fan, makes the rotational speed of fan reduce relatively moreover to reduce the noise of fan, improved user's use and experienced.
Further, the scheme of this embodiment sets up second air exit 420 as the top towards casing 10 for some new trend can flow to the top of casing 10, then in rethread air intake 102 gets into casing 10, exchanges heat with heat exchanger 100, makes the new trend can mix with the heat transfer air current better, thereby has further improved the diffusion homogeneity of new trend.
The fresh air device 400 further includes: and a damper 430 disposed at the second air outlet 420 for opening and closing the second air outlet 420.
According to the scheme of the embodiment, the openable air door 430 is arranged at the second air outlet 420, so that the user can control the air volume of the fresh air and the direction of the fresh air by controlling the opening and closing of the air door 430, and the user experience is further improved.
The fresh air device 400 further includes: the fresh air pipe 440 is used for communicating with the outdoor environment so as to convey outside fresh air to the indoor environment; wherein the fresh air duct 440 is located behind the blowing part 300.
In the present embodiment, the fresh air duct 440 is disposed behind the air supply unit 300, so as to guide the fresh outdoor air into the casing 10 without interfering with the space structure of the air supply unit 300. Wherein the fresh air duct 440 may generally be of a soft construction.
The scheme of this embodiment through setting up the air supply portion 300 of carrying the new trend towards casing 10 inside, makes the new trend mix with the heat transfer air current in casing 10, then is driven the flow direction indoor by the heat transfer air current to improved the diffusion homogeneity and the diffusion rate of new trend, reduced the influence of new trend to indoor temperature simultaneously, improved user's use and experienced.
Thus, it should be appreciated by those skilled in the art that while a number of exemplary embodiments of the invention have been illustrated and described in detail herein, many other variations or modifications consistent with the principles of the invention may be directly determined or derived from the disclosure of the present invention without departing from the spirit and scope of the invention. Accordingly, the scope of the invention should be understood and interpreted to cover all such other variations or modifications.

Claims (10)

1. A wall-mounted fresh air conditioning indoor unit, comprising:
the lower end of the front part of the shell is provided with a heat exchange airflow outlet;
the heat exchanger is arranged in the shell and used for exchanging heat of air in the shell;
the heat exchange fan is used for promoting the formation of heat exchange airflow which flows through the heat exchanger and is sent out from the heat exchange airflow outlet;
the air supply part is arranged at the bottom of the shell along the transverse direction of the shell, and a fresh air outlet used for conveying fresh air into the shell is arranged on the air supply part; the fresh air outlet is configured to face an area between the heat exchanger and the heat exchange airflow outlet so that the fresh air and the heat exchange airflow are mixed inside the enclosure.
2. The wall-mounted fresh air conditioner indoor unit according to claim 1, wherein the air blowing part comprises:
the air pipe main body extends along the transverse direction of the shell, a fresh air duct is defined in the air pipe main body, and an opening which faces the front side of the shell and inclines upwards is formed in the air pipe main body;
the air pipe baffle is arranged at the opening, and a plurality of uniformly distributed micropores are arranged at the position, corresponding to the opening, on the air pipe baffle and serve as the fresh air outlet.
3. The wall mounted fresh air conditioning indoor unit of claim 2, wherein,
the rear side of the air pipe main body comprises a first section and a second section, and the first section is formed by extending forwards from the top end of the rear wall of the air pipe main body along the horizontal direction;
the second section is formed by extending upwards from the tail end of the first section in an inclined mode towards the front direction, and the second section and the front wall of the air pipe main body form the opening.
4. The wall mounted fresh air conditioning indoor unit of claim 3, wherein,
the tail end of the second section is connected to the middle of the air pipe baffle, and an air guide surface is formed above the connection part of the air pipe baffle and the second section and used for guiding the flowing direction of the heat exchange air flow.
5. The wall mounted fresh air conditioning indoor unit of claim 3, wherein,
the bottom of the casing is provided with a strip hole arranged along a transverse mode, and the air supply part is embedded into the strip hole.
6. The wall mounted fresh air indoor unit of claim 1, further comprising:
the fresh air device is arranged at one end in the shell and is provided with a first exhaust port arranged towards the bottom of the shell;
the first exhaust port is connected to one end of the air supply part.
7. The wall mounted fresh air conditioning indoor unit of claim 6, wherein,
the top of the shell is provided with an air inlet;
the fresh air device is also provided with a second air outlet facing the top of the shell, and part of air flow blown out of the second air outlet enters the shell from the air inlet to exchange heat with the heat exchanger.
8. The wall hanging fresh air conditioning indoor unit of claim 7, wherein the fresh air device further comprises:
and the air door is arranged at the second air outlet and used for opening and closing the second air outlet.
9. The wall hanging fresh air indoor unit of claim 6, wherein the fresh air device further comprises:
the fresh air pipe is used for communicating the outdoor environment so as to convey the outside fresh air to the indoor environment; wherein
The fresh air pipe is positioned behind the air supply part.
10. An air conditioner comprising:
a wall mounted fresh air indoor unit according to any one of claims 1 to 9.
CN202111223073.3A 2021-05-20 2021-10-20 Wall-mounted fresh air conditioner indoor unit and air conditioner Pending CN113959008A (en)

Priority Applications (1)

Application Number Priority Date Filing Date Title
PCT/CN2022/073499 WO2023065564A1 (en) 2021-05-20 2022-01-24 Wall-mounted fresh air conditioner indoor unit and air conditioner

Applications Claiming Priority (2)

Application Number Priority Date Filing Date Title
CN2021105530659 2021-05-20
CN202110553065 2021-05-20

Publications (1)

Publication Number Publication Date
CN113959008A true CN113959008A (en) 2022-01-21

Family

ID=78996724

Family Applications (20)

Application Number Title Priority Date Filing Date
CN202122526223.XU Active CN216693750U (en) 2021-05-20 2021-10-20 Wall-mounted fresh air conditioner indoor unit and air conditioner
CN202122528695.9U Active CN216693753U (en) 2021-05-20 2021-10-20 Wall-mounted air conditioner indoor unit
CN202122526520.4U Active CN216693751U (en) 2021-05-20 2021-10-20 Wall-mounted air conditioner indoor unit
CN202122528720.3U Active CN216744602U (en) 2021-05-20 2021-10-20 Wall-mounted air conditioner indoor unit
CN202111223073.3A Pending CN113959008A (en) 2021-05-20 2021-10-20 Wall-mounted fresh air conditioner indoor unit and air conditioner
CN202111223075.2A Pending CN113864880A (en) 2021-05-20 2021-10-20 Wall-mounted fresh air conditioner indoor unit and air conditioner
CN202111223329.0A Pending CN115388465A (en) 2021-05-20 2021-10-20 Wall-mounted fresh air conditioner indoor unit and air conditioner
CN202111223342.6A Pending CN115388466A (en) 2021-05-20 2021-10-20 Wall-mounted fresh air conditioner indoor unit and air conditioner
CN202122526527.6U Active CN216693752U (en) 2021-05-20 2021-10-20 Wall-mounted air conditioner indoor unit
CN202122528722.2U Active CN216744603U (en) 2021-05-20 2021-10-20 Wall-mounted air conditioner indoor unit
CN202122526529.5U Active CN216716378U (en) 2021-05-20 2021-10-20 Wall-mounted air conditioner indoor unit
CN202122528751.9U Active CN216814381U (en) 2021-05-20 2021-10-20 Machine in new trend fan and air conditioning
CN202111223350.0A Pending CN115371138A (en) 2021-05-20 2021-10-20 Machine in new trend fan and air conditioning
CN202111221888.8A Pending CN115371137A (en) 2021-05-20 2021-10-20 Machine in new trend fan and air conditioning
CN202111221879.9A Pending CN115388464A (en) 2021-05-20 2021-10-20 Wall-mounted fresh air conditioner indoor unit and air conditioner
CN202111221634.6A Active CN113932301B (en) 2021-05-20 2021-10-20 Air conditioner indoor unit with fresh air device and control method thereof
CN202122526538.4U Active CN216814380U (en) 2021-05-20 2021-10-20 Machine in new trend fan and air conditioning
CN202122528702.5U Active CN216693754U (en) 2021-05-20 2021-10-20 Wall-mounted air conditioner indoor unit
CN202111223097.9A Pending CN113864882A (en) 2021-05-20 2021-10-20 Wall-mounted fresh air conditioner indoor unit and air conditioner
CN202122528705.9U Active CN216693755U (en) 2021-05-20 2021-10-20 Wall-mounted air conditioner indoor unit

Family Applications Before (4)

Application Number Title Priority Date Filing Date
CN202122526223.XU Active CN216693750U (en) 2021-05-20 2021-10-20 Wall-mounted fresh air conditioner indoor unit and air conditioner
CN202122528695.9U Active CN216693753U (en) 2021-05-20 2021-10-20 Wall-mounted air conditioner indoor unit
CN202122526520.4U Active CN216693751U (en) 2021-05-20 2021-10-20 Wall-mounted air conditioner indoor unit
CN202122528720.3U Active CN216744602U (en) 2021-05-20 2021-10-20 Wall-mounted air conditioner indoor unit

Family Applications After (15)

Application Number Title Priority Date Filing Date
CN202111223075.2A Pending CN113864880A (en) 2021-05-20 2021-10-20 Wall-mounted fresh air conditioner indoor unit and air conditioner
CN202111223329.0A Pending CN115388465A (en) 2021-05-20 2021-10-20 Wall-mounted fresh air conditioner indoor unit and air conditioner
CN202111223342.6A Pending CN115388466A (en) 2021-05-20 2021-10-20 Wall-mounted fresh air conditioner indoor unit and air conditioner
CN202122526527.6U Active CN216693752U (en) 2021-05-20 2021-10-20 Wall-mounted air conditioner indoor unit
CN202122528722.2U Active CN216744603U (en) 2021-05-20 2021-10-20 Wall-mounted air conditioner indoor unit
CN202122526529.5U Active CN216716378U (en) 2021-05-20 2021-10-20 Wall-mounted air conditioner indoor unit
CN202122528751.9U Active CN216814381U (en) 2021-05-20 2021-10-20 Machine in new trend fan and air conditioning
CN202111223350.0A Pending CN115371138A (en) 2021-05-20 2021-10-20 Machine in new trend fan and air conditioning
CN202111221888.8A Pending CN115371137A (en) 2021-05-20 2021-10-20 Machine in new trend fan and air conditioning
CN202111221879.9A Pending CN115388464A (en) 2021-05-20 2021-10-20 Wall-mounted fresh air conditioner indoor unit and air conditioner
CN202111221634.6A Active CN113932301B (en) 2021-05-20 2021-10-20 Air conditioner indoor unit with fresh air device and control method thereof
CN202122526538.4U Active CN216814380U (en) 2021-05-20 2021-10-20 Machine in new trend fan and air conditioning
CN202122528702.5U Active CN216693754U (en) 2021-05-20 2021-10-20 Wall-mounted air conditioner indoor unit
CN202111223097.9A Pending CN113864882A (en) 2021-05-20 2021-10-20 Wall-mounted fresh air conditioner indoor unit and air conditioner
CN202122528705.9U Active CN216693755U (en) 2021-05-20 2021-10-20 Wall-mounted air conditioner indoor unit

Country Status (2)

Country Link
CN (20) CN216693750U (en)
WO (4) WO2023065566A1 (en)

Cited By (2)

* Cited by examiner, † Cited by third party
Publication number Priority date Publication date Assignee Title
CN114811926A (en) * 2022-06-02 2022-07-29 珠海格力电器股份有限公司 Flow guide structure and air conditioner indoor unit with same
WO2023065564A1 (en) * 2021-05-20 2023-04-27 青岛海尔空调器有限总公司 Wall-mounted fresh air conditioner indoor unit and air conditioner

Families Citing this family (6)

* Cited by examiner, † Cited by third party
Publication number Priority date Publication date Assignee Title
CN114413389A (en) * 2022-01-10 2022-04-29 珠海格力电器股份有限公司 Fresh air device and control method thereof
CN115479311B (en) * 2022-09-20 2025-08-19 青岛海尔空调器有限总公司 Fresh air device, air conditioner indoor unit and air conditioner
CN115507431B (en) * 2022-09-27 2025-03-14 海信空调有限公司 Indoor air conditioner
CN115507432B (en) * 2022-09-27 2025-03-25 海信空调有限公司 Indoor air conditioner
CN116336563A (en) * 2023-03-03 2023-06-27 青岛海尔空调器有限总公司 Indoor unit and fresh air conditioner
CN117515818A (en) * 2023-09-27 2024-02-06 浙江中广电器集团股份有限公司 Fresh air conditioner and fresh air outlet control method

Citations (16)

* Cited by examiner, † Cited by third party
Publication number Priority date Publication date Assignee Title
CN106595013A (en) * 2017-01-24 2017-04-26 珠海格力电器股份有限公司 Air conditioner air-out panel and air conditioning equipment
CN106595010A (en) * 2017-01-24 2017-04-26 珠海格力电器股份有限公司 Air guide panel of air conditioner and air conditioning device
CN106839378A (en) * 2017-01-24 2017-06-13 珠海格力电器股份有限公司 Air outlet panel and air conditioning device
CN107084482A (en) * 2017-04-13 2017-08-22 青岛海尔空调器有限总公司 Air-conditioner indoor wall on-hook and its control method
CN107314522A (en) * 2017-07-31 2017-11-03 广东美的制冷设备有限公司 Air conditioner room unit and air conditioner
CN107388382A (en) * 2017-08-21 2017-11-24 广东美的制冷设备有限公司 Air conditioner
CN207584912U (en) * 2017-11-10 2018-07-06 青岛海尔空调器有限总公司 The indoor unit of wall-hanging air conditioner
CN109915936A (en) * 2019-03-25 2019-06-21 珠海格力电器股份有限公司 Air conditioner indoor unit and air conditioner
CN109990389A (en) * 2019-04-29 2019-07-09 广东美的制冷设备有限公司 Air conditioner
WO2019159241A1 (en) * 2018-02-13 2019-08-22 三菱電機株式会社 Air-conditioning system, air-conditioning control device, air-conditioning control method and program
CN209857189U (en) * 2018-12-26 2019-12-27 美的集团武汉制冷设备有限公司 Air conditioner indoor unit and air conditioner
CN111043662A (en) * 2019-12-30 2020-04-21 Tcl空调器(中山)有限公司 Machine and new trend air conditioner in new trend air conditioning
CN212132679U (en) * 2020-05-19 2020-12-11 广东美的制冷设备有限公司 Air conditioner
CN212319880U (en) * 2020-05-19 2021-01-08 广东美的制冷设备有限公司 Air conditioner
CN212408873U (en) * 2020-06-30 2021-01-26 广东美的制冷设备有限公司 Machine in new trend module and air conditioning
CN212431090U (en) * 2020-08-19 2021-01-29 青岛海尔空调器有限总公司 Wall-mounted air conditioner indoor unit

Family Cites Families (42)

* Cited by examiner, † Cited by third party
Publication number Priority date Publication date Assignee Title
DE3315444A1 (en) * 1983-04-28 1984-10-31 Philips Patentverwaltung Gmbh, 2000 Hamburg DEVICE FOR VENTILATING AND HEATING INTERIORS, IN PARTICULAR LIVING ROOMS
KR200241498Y1 (en) * 1999-06-30 2001-09-29 윤종용 structure for inducing fresh air for ceiling type air conditioner
JP4752142B2 (en) * 2001-07-09 2011-08-17 三菱電機株式会社 Indoor unit for air conditioner
CN2676085Y (en) * 2003-12-26 2005-02-02 东风汽车有限公司 Air supply pipeline
KR100734359B1 (en) * 2005-11-18 2007-07-03 엘지전자 주식회사 Indoor unit of air conditioner
KR20090010449A (en) * 2007-07-23 2009-01-30 엘지전자 주식회사 Air conditioner
WO2009021356A1 (en) * 2007-08-13 2009-02-19 Shenzhen Longgang Jinyixin Electronic Factory Centrifugal air blower and fresh air device having the blower
WO2017049540A1 (en) * 2015-09-24 2017-03-30 孙海潮 Humidifying and fresh air exchange indoor unit of split air conditioner
CN205536129U (en) * 2016-01-19 2016-08-31 珠海格力电器股份有限公司 Indoor unit of air conditioner
CN105627442A (en) * 2016-03-16 2016-06-01 沈增友 Vector air supply technology and air duct structure
CN106322647B (en) * 2016-08-17 2019-05-31 青岛海尔空调器有限总公司 Air conditioning exhausting control method
CN106949615B (en) * 2017-03-17 2019-06-07 珠海格力电器股份有限公司 Air outlet structure, air outlet method of air conditioner and air conditioner
CN107388379A (en) * 2017-08-18 2017-11-24 广东美的制冷设备有限公司 Air treatment module and air conditioner
CN108194986A (en) * 2018-01-12 2018-06-22 青岛海尔空调器有限总公司 Hanging air-conditioner indoor machine
CN207936308U (en) * 2018-02-11 2018-10-02 青岛海尔空调器有限总公司 Air conditioner indoor unit
CN108626837A (en) * 2018-03-05 2018-10-09 中国矿业大学 A kind of pillar balanced ventilation device and method
CN108469063A (en) * 2018-03-12 2018-08-31 青岛海尔空调器有限总公司 Wall-hanging indoor unit of air conditioner
CN108386917B (en) * 2018-04-20 2021-04-20 青岛海尔空调器有限总公司 A fresh air air conditioner indoor unit
CN108562023B (en) * 2018-04-27 2020-12-22 广东美的制冷设备有限公司 Control method of air conditioner, air conditioner and computer readable storage medium
CN208920300U (en) * 2018-07-16 2019-05-31 青岛海尔空调器有限总公司 On-hook in fresh air wind guiding component and fresh air conditioner room
CN208920301U (en) * 2018-07-16 2019-05-31 青岛海尔空调器有限总公司 On-hook in a kind of fresh air conditioner room
CN110887121A (en) * 2018-08-15 2020-03-17 青岛海尔空调器有限总公司 A fresh air air conditioner indoor unit
CN109751736A (en) * 2018-12-29 2019-05-14 广东美的暖通设备有限公司 For the control method of air pipe type air-conditioner, device and air pipe type air-conditioner
CN210769539U (en) * 2019-09-12 2020-06-16 北海鑫年风机制造有限公司 Multi-air-duct centrifugal fan
CN110926002B (en) * 2019-11-27 2024-11-26 同济大学 Adjustable flow distributor
CN110986167A (en) * 2019-12-04 2020-04-10 珠海格力电器股份有限公司 Air conditioner indoor unit
CN211601045U (en) * 2019-12-31 2020-09-29 浙江美尔凯特智能厨卫股份有限公司 Air conditioning system with uniform air outlet
CN111412600A (en) * 2020-03-31 2020-07-14 宁波奥克斯电气股份有限公司 Fresh air conditioner control method
CN212319902U (en) * 2020-06-11 2021-01-08 广东美的制冷设备有限公司 Fresh air device, floor type air conditioner indoor unit and air conditioner
CN212511442U (en) * 2020-06-30 2021-02-09 广东美的制冷设备有限公司 Air conditioner indoor unit and air conditioner
CN212869983U (en) * 2020-07-31 2021-04-02 海信(山东)空调有限公司 Air conditioner indoor unit and air conditioner
CN212869974U (en) * 2020-07-31 2021-04-02 海信(山东)空调有限公司 Indoor machine of air conditioner
CN212869984U (en) * 2020-07-31 2021-04-02 海信(山东)空调有限公司 Indoor unit of air conditioner
CN212431089U (en) * 2020-08-19 2021-01-29 青岛海尔空调器有限总公司 Jet device for wall-mounted air conditioner indoor unit and wall-mounted air conditioner indoor unit
CN213272872U (en) * 2020-09-14 2021-05-25 青岛海尔空调器有限总公司 Fresh air air conditioners and cabinet fresh air air conditioners
CN212511461U (en) * 2020-09-30 2021-02-09 广东美的制冷设备有限公司 Air conditioner indoor unit and air conditioner
CN112113276B (en) * 2020-10-15 2022-07-19 青岛海尔空调器有限总公司 Wall-mounted air conditioner indoor unit
CN112432337B (en) * 2020-11-27 2021-11-16 珠海格力电器股份有限公司 Air port position regulating method and device, air conditioner and storage medium
CN112555998A (en) * 2020-12-29 2021-03-26 珠海格力电器股份有限公司 Fresh air device and air conditioner with same
CN112797482A (en) * 2021-02-02 2021-05-14 青岛海尔空调器有限总公司 Indoor unit of air conditioner
CN112902385A (en) * 2021-02-03 2021-06-04 珠海格力电器股份有限公司 Control method, fresh air system and air conditioner
CN216693750U (en) * 2021-05-20 2022-06-07 青岛海尔空调器有限总公司 Wall-mounted fresh air conditioner indoor unit and air conditioner

Patent Citations (16)

* Cited by examiner, † Cited by third party
Publication number Priority date Publication date Assignee Title
CN106595010A (en) * 2017-01-24 2017-04-26 珠海格力电器股份有限公司 Air guide panel of air conditioner and air conditioning device
CN106839378A (en) * 2017-01-24 2017-06-13 珠海格力电器股份有限公司 Air outlet panel and air conditioning device
CN106595013A (en) * 2017-01-24 2017-04-26 珠海格力电器股份有限公司 Air conditioner air-out panel and air conditioning equipment
CN107084482A (en) * 2017-04-13 2017-08-22 青岛海尔空调器有限总公司 Air-conditioner indoor wall on-hook and its control method
CN107314522A (en) * 2017-07-31 2017-11-03 广东美的制冷设备有限公司 Air conditioner room unit and air conditioner
CN107388382A (en) * 2017-08-21 2017-11-24 广东美的制冷设备有限公司 Air conditioner
CN207584912U (en) * 2017-11-10 2018-07-06 青岛海尔空调器有限总公司 The indoor unit of wall-hanging air conditioner
WO2019159241A1 (en) * 2018-02-13 2019-08-22 三菱電機株式会社 Air-conditioning system, air-conditioning control device, air-conditioning control method and program
CN209857189U (en) * 2018-12-26 2019-12-27 美的集团武汉制冷设备有限公司 Air conditioner indoor unit and air conditioner
CN109915936A (en) * 2019-03-25 2019-06-21 珠海格力电器股份有限公司 Air conditioner indoor unit and air conditioner
CN109990389A (en) * 2019-04-29 2019-07-09 广东美的制冷设备有限公司 Air conditioner
CN111043662A (en) * 2019-12-30 2020-04-21 Tcl空调器(中山)有限公司 Machine and new trend air conditioner in new trend air conditioning
CN212132679U (en) * 2020-05-19 2020-12-11 广东美的制冷设备有限公司 Air conditioner
CN212319880U (en) * 2020-05-19 2021-01-08 广东美的制冷设备有限公司 Air conditioner
CN212408873U (en) * 2020-06-30 2021-01-26 广东美的制冷设备有限公司 Machine in new trend module and air conditioning
CN212431090U (en) * 2020-08-19 2021-01-29 青岛海尔空调器有限总公司 Wall-mounted air conditioner indoor unit

Cited By (2)

* Cited by examiner, † Cited by third party
Publication number Priority date Publication date Assignee Title
WO2023065564A1 (en) * 2021-05-20 2023-04-27 青岛海尔空调器有限总公司 Wall-mounted fresh air conditioner indoor unit and air conditioner
CN114811926A (en) * 2022-06-02 2022-07-29 珠海格力电器股份有限公司 Flow guide structure and air conditioner indoor unit with same

Also Published As

Publication number Publication date
CN216814381U (en) 2022-06-24
CN115371137A (en) 2022-11-22
CN216744603U (en) 2022-06-14
CN216693755U (en) 2022-06-07
CN115388464A (en) 2022-11-25
CN216716378U (en) 2022-06-10
CN113864882A (en) 2021-12-31
CN115388465A (en) 2022-11-25
CN113864880A (en) 2021-12-31
CN216814380U (en) 2022-06-24
WO2023065565A1 (en) 2023-04-27
CN216693754U (en) 2022-06-07
CN216693753U (en) 2022-06-07
CN113932301B (en) 2023-08-18
WO2023065564A1 (en) 2023-04-27
WO2023065563A1 (en) 2023-04-27
CN216693751U (en) 2022-06-07
CN216693750U (en) 2022-06-07
CN216693752U (en) 2022-06-07
CN115371138A (en) 2022-11-22
WO2023065566A1 (en) 2023-04-27
CN115388466A (en) 2022-11-25
CN113932301A (en) 2022-01-14
CN216744602U (en) 2022-06-14

Similar Documents

Publication Publication Date Title
CN113959008A (en) Wall-mounted fresh air conditioner indoor unit and air conditioner
CN212252875U (en) Wall-mounted air conditioner indoor unit
CN105698267A (en) Wall-hung air conditioner with drainage structure
CN105627430A (en) Split-type wall-mounted air conditioner
CN114076353A (en) Wall-mounted air conditioner indoor unit
CN106196286B (en) Cabinet air-conditioner and mixed wind method
CN213272867U (en) Wall-mounted air conditioner indoor unit
WO2023065693A1 (en) Fresh air fan and air-conditioner indoor unit
CN114076352A (en) Jet device for wall-mounted air conditioner indoor unit and wall-mounted air conditioner indoor unit
WO2023065692A1 (en) Air conditioner indoor unit
CN115143527A (en) Vertical air conditioner indoor unit
CN115143524A (en) Vertical air conditioner indoor unit
CN212431089U (en) Jet device for wall-mounted air conditioner indoor unit and wall-mounted air conditioner indoor unit
WO2023246706A1 (en) Vertical indoor air-conditioning unit
CN106287946A (en) Drainage type cabinet air-conditioner and mixed wind method
CN113864872A (en) Air conditioner indoor unit and air conditioner
CN212431085U (en) Wall-mounted air conditioner indoor unit
CN216591949U (en) Air conditioner indoor unit and air conditioner
CN218119929U (en) Vertical air conditioner indoor unit
CN218119966U (en) Indoor unit of air conditioner
CN213577767U (en) Jet device for cabinet air conditioner indoor unit and cabinet air conditioner indoor unit
CN213272866U (en) Jet device for wall-mounted air conditioner indoor unit and wall-mounted air conditioner indoor unit
CN115143525A (en) Vertical air conditioner indoor unit
CN204943705U (en) A kind of mixed flow air-conditioning
CN116398935A (en) Vertical air conditioner indoor unit and air conditioner

Legal Events

Date Code Title Description
PB01 Publication
PB01 Publication
SE01 Entry into force of request for substantive examination
SE01 Entry into force of request for substantive examination
RJ01 Rejection of invention patent application after publication
RJ01 Rejection of invention patent application after publication

Application publication date: 20220121