CN216693750U - Wall-mounted fresh air conditioner indoor unit and air conditioner - Google Patents

Wall-mounted fresh air conditioner indoor unit and air conditioner Download PDF

Info

Publication number
CN216693750U
CN216693750U CN202122526223.XU CN202122526223U CN216693750U CN 216693750 U CN216693750 U CN 216693750U CN 202122526223 U CN202122526223 U CN 202122526223U CN 216693750 U CN216693750 U CN 216693750U
Authority
CN
China
Prior art keywords
air
fresh air
air outlet
wall
indoor unit
Prior art date
Legal status (The legal status is an assumption and is not a legal conclusion. Google has not performed a legal analysis and makes no representation as to the accuracy of the status listed.)
Active
Application number
CN202122526223.XU
Other languages
Chinese (zh)
Inventor
刘宏宝
王永涛
王晓刚
张鹏
李英舒
Current Assignee (The listed assignees may be inaccurate. Google has not performed a legal analysis and makes no representation or warranty as to the accuracy of the list.)
Qingdao Haier Air Conditioner Gen Corp Ltd
Qingdao Haier Air Conditioning Electric Co Ltd
Haier Smart Home Co Ltd
Original Assignee
Qingdao Haier Air Conditioner Gen Corp Ltd
Qingdao Haier Air Conditioning Electric Co Ltd
Haier Smart Home Co Ltd
Priority date (The priority date is an assumption and is not a legal conclusion. Google has not performed a legal analysis and makes no representation as to the accuracy of the date listed.)
Filing date
Publication date
Application filed by Qingdao Haier Air Conditioner Gen Corp Ltd, Qingdao Haier Air Conditioning Electric Co Ltd, Haier Smart Home Co Ltd filed Critical Qingdao Haier Air Conditioner Gen Corp Ltd
Application granted granted Critical
Publication of CN216693750U publication Critical patent/CN216693750U/en
Active legal-status Critical Current
Anticipated expiration legal-status Critical

Links

Images

Classifications

    • FMECHANICAL ENGINEERING; LIGHTING; HEATING; WEAPONS; BLASTING
    • F24HEATING; RANGES; VENTILATING
    • F24FAIR-CONDITIONING; AIR-HUMIDIFICATION; VENTILATION; USE OF AIR CURRENTS FOR SCREENING
    • F24F1/00Room units for air-conditioning, e.g. separate or self-contained units or units receiving primary air from a central station
    • F24F1/0007Indoor units, e.g. fan coil units
    • F24F1/0011Indoor units, e.g. fan coil units characterised by air outlets
    • F24F1/0014Indoor units, e.g. fan coil units characterised by air outlets having two or more outlet openings
    • FMECHANICAL ENGINEERING; LIGHTING; HEATING; WEAPONS; BLASTING
    • F24HEATING; RANGES; VENTILATING
    • F24FAIR-CONDITIONING; AIR-HUMIDIFICATION; VENTILATION; USE OF AIR CURRENTS FOR SCREENING
    • F24F1/00Room units for air-conditioning, e.g. separate or self-contained units or units receiving primary air from a central station
    • F24F1/0007Indoor units, e.g. fan coil units
    • F24F1/0018Indoor units, e.g. fan coil units characterised by fans
    • F24F1/0022Centrifugal or radial fans
    • FMECHANICAL ENGINEERING; LIGHTING; HEATING; WEAPONS; BLASTING
    • F24HEATING; RANGES; VENTILATING
    • F24FAIR-CONDITIONING; AIR-HUMIDIFICATION; VENTILATION; USE OF AIR CURRENTS FOR SCREENING
    • F24F1/00Room units for air-conditioning, e.g. separate or self-contained units or units receiving primary air from a central station
    • F24F1/0007Indoor units, e.g. fan coil units
    • F24F1/0018Indoor units, e.g. fan coil units characterised by fans
    • F24F1/0025Cross-flow or tangential fans
    • FMECHANICAL ENGINEERING; LIGHTING; HEATING; WEAPONS; BLASTING
    • F24HEATING; RANGES; VENTILATING
    • F24FAIR-CONDITIONING; AIR-HUMIDIFICATION; VENTILATION; USE OF AIR CURRENTS FOR SCREENING
    • F24F13/00Details common to, or for air-conditioning, air-humidification, ventilation or use of air currents for screening
    • F24F13/24Means for preventing or suppressing noise
    • FMECHANICAL ENGINEERING; LIGHTING; HEATING; WEAPONS; BLASTING
    • F24HEATING; RANGES; VENTILATING
    • F24FAIR-CONDITIONING; AIR-HUMIDIFICATION; VENTILATION; USE OF AIR CURRENTS FOR SCREENING
    • F24F7/00Ventilation
    • F24F7/04Ventilation with ducting systems, e.g. by double walls; with natural circulation
    • F24F7/06Ventilation with ducting systems, e.g. by double walls; with natural circulation with forced air circulation, e.g. by fan positioning of a ventilator in or against a conduit
    • F24F7/08Ventilation with ducting systems, e.g. by double walls; with natural circulation with forced air circulation, e.g. by fan positioning of a ventilator in or against a conduit with separate ducts for supplied and exhausted air with provisions for reversal of the input and output systems
    • YGENERAL TAGGING OF NEW TECHNOLOGICAL DEVELOPMENTS; GENERAL TAGGING OF CROSS-SECTIONAL TECHNOLOGIES SPANNING OVER SEVERAL SECTIONS OF THE IPC; TECHNICAL SUBJECTS COVERED BY FORMER USPC CROSS-REFERENCE ART COLLECTIONS [XRACs] AND DIGESTS
    • Y02TECHNOLOGIES OR APPLICATIONS FOR MITIGATION OR ADAPTATION AGAINST CLIMATE CHANGE
    • Y02BCLIMATE CHANGE MITIGATION TECHNOLOGIES RELATED TO BUILDINGS, e.g. HOUSING, HOUSE APPLIANCES OR RELATED END-USER APPLICATIONS
    • Y02B30/00Energy efficient heating, ventilation or air conditioning [HVAC]
    • Y02B30/70Efficient control or regulation technologies, e.g. for control of refrigerant flow, motor or heating

Landscapes

  • Engineering & Computer Science (AREA)
  • Chemical & Material Sciences (AREA)
  • Combustion & Propulsion (AREA)
  • Mechanical Engineering (AREA)
  • General Engineering & Computer Science (AREA)
  • Air-Conditioning Room Units, And Self-Contained Units In General (AREA)
  • Air Filters, Heat-Exchange Apparatuses, And Housings Of Air-Conditioning Units (AREA)
  • Air-Flow Control Members (AREA)
  • Air Conditioning Control Device (AREA)
  • Duct Arrangements (AREA)

Abstract

本实用新型提供了一种壁挂式新风空调室内机及空调器,该壁挂式新风空调室内机包括:机壳;新风装置,设置于机壳内的横向一端,并在其底部形成有第一新风出风口;送风部,与第一新风出风口连接,自第一新风出风口起沿机壳的横向方向延伸形成,并且送风部内形成有一送风风道;送风风道的前侧设置有排风口,以利用排风口向外部送出新风;其中送风风道的底面被配置为使得新风通过排风口向斜上方吹出。本实用新型的方案,通过将与第一新风出风口相连的送风风道的底面配置为使新风通过排风口向斜上方吹出,从而避免了新风直接吹向用户造成用户不适,提高了用户的使用舒适性。

Figure 202122526223

The utility model provides a wall-mounted fresh air air conditioner indoor unit and an air conditioner. The wall-mounted fresh air air conditioner indoor unit comprises: a casing; The air outlet; the air supply part, connected with the first fresh air outlet, extends from the first fresh air outlet along the lateral direction of the casing, and an air supply air duct is formed in the air supply part; the front side of the air supply air duct is provided There is an air outlet to send out fresh air to the outside through the air outlet; wherein the bottom surface of the air supply air duct is configured so that the fresh air is blown out obliquely upward through the air outlet. In the solution of the present invention, by configuring the bottom surface of the air supply air duct connected to the first fresh air outlet so that the fresh air is blown out obliquely upward through the air outlet, the fresh air is prevented from directly blowing to the user, causing discomfort to the user, and the user is improved. of use comfort.

Figure 202122526223

Description

Wall-mounted fresh air conditioner indoor unit and air conditioner
Technical Field
The utility model relates to the field of household appliances, in particular to a wall-mounted fresh air conditioner indoor unit and an air conditioner.
Background
The fresh air conditioner in the prior art is generally a single fresh air outlet, so that the fresh air quantity is small, the fresh air diffusion is slow, and the air supply range is small. In addition, the new trend that the new trend air conditioner blew off generally is along the direct flow direction of horizontal direction indoor, and not only the air-out speed is slow, and the new trend that does not have the heat transfer can exert an influence to indoor temperature moreover to reduce user's use travelling comfort.
SUMMERY OF THE UTILITY MODEL
An object of the present invention is to provide a wall-mounted fresh air conditioner indoor unit and an air conditioner that can solve at least any of the above problems.
The utility model further aims to improve the air supply speed and the air supply range of fresh air of the wall-mounted fresh air conditioner indoor unit and the air conditioner.
The utility model further aims to reduce the influence of fresh air of the wall-mounted fresh air conditioner indoor unit and the air conditioner on the indoor temperature, thereby improving the use comfort of users.
The utility model also aims to improve the fresh air supply quantity of the wall-mounted fresh air conditioner indoor unit and the air conditioner and improve the diffusion uniformity of the fresh air.
In particular, the present invention provides a wall-mounted fresh air conditioner indoor unit, comprising: a housing; the fresh air device is arranged at one transverse end in the shell, and a first fresh air outlet is formed at the bottom of the fresh air device; the air supply part is connected with the first fresh air outlet and formed by extending from the first fresh air outlet along the transverse direction of the shell, and an air supply duct is formed in the air supply part; an air outlet is arranged at the front side of the air supply duct so as to send fresh air to the outside by utilizing the air outlet; wherein the bottom surface of the air supply duct is configured to enable fresh air to be blown out towards the oblique upper side through the air outlet.
Furthermore, the bottom surface of the air supply duct is an inclined surface which is formed by inclining from bottom to top from the side close to the rear wall of the air supply duct to the front.
Furthermore, the top of the shell is also provided with an air inlet; and a heat exchanger is arranged in the shell and used for exchanging heat for the air flowing into the shell through the air inlet.
Furthermore, the front part of the machine shell is provided with an air outlet used for discharging heat exchange airflow in the machine shell; the air outlet is positioned above the air outlet at a certain distance, and fresh air blown out obliquely from the air outlet is mixed with heat exchange airflow blown out from the air outlet.
Further, the air outlet is configured to blow out the heat exchange air passing therethrough obliquely downward.
Furthermore, the fresh air device further comprises a second fresh air outlet, the second fresh air outlet is arranged towards the top of the machine shell, and part of air flow blown out from the second fresh air outlet enters the machine shell from the air inlet and exchanges heat with the heat exchanger.
Further, the air outlet is a long and narrow opening extending along the transverse direction of the air supply part.
Furthermore, a plurality of separators are arranged at intervals at the air outlet to divide the air outlet into a plurality of slit holes and prevent foreign matters from entering the air supply part from the air outlet.
Furthermore, the section of the air supply duct is gradually reduced from one end close to the first fresh air outlet to the other end.
The utility model also provides an air conditioner which comprises any one of the wall-mounted fresh air conditioner indoor units.
According to the wall-mounted fresh air conditioner indoor unit and the air conditioner, the air supply part formed by extending along the transverse direction is arranged at the first fresh air outlet of the fresh air device, the air supply duct is formed in the air supply part, and the air outlet is formed in the front side of the air supply duct, so that the air outlet range of fresh air is enlarged.
Furthermore, according to the wall-mounted fresh air conditioner indoor unit and the air conditioner, the bottom surface of the air supply duct is configured to enable fresh air to be blown out obliquely upwards through the air outlet, so that discomfort of a user caused by the fact that the fresh air is directly blown to the user is avoided, and the use comfort of the user is improved.
Furthermore, according to the wall-mounted fresh air conditioner indoor unit and the air conditioner, the air outlet is arranged above the air outlet at a certain distance, so that fresh air blown out obliquely upwards from the air outlet is mixed with heat exchange air flow discharged from the air outlet. The new trend is indoor flow under heat transfer air current's drive, has not only reduced the influence of new trend to indoor temperature, has improved user's use and has experienced, has improved the diffusion velocity and the diffusion homogeneity of new trend moreover.
Furthermore, according to the wall-mounted fresh air conditioner indoor unit and the air conditioner, the second fresh air outlet is formed in the fresh air device, so that the air outlet path of fresh air is increased, and the air outlet quantity of the fresh air is increased.
Furthermore, according to the wall-mounted fresh air conditioner indoor unit and the air conditioner, the air outlet is arranged to be the elongated opening extending along the transverse direction of the air supply part, so that the air outlet range of fresh air is enlarged, and the air outlet uniformity of the fresh air is improved.
Set up interval distribution's separator in air outlet department, separate the air outlet for a plurality of slit holes, not only avoided the foreign matter to get into the air supply portion through the air outlet inside, improved the air-out homogeneity of new trend moreover.
Furthermore, according to the wall-mounted fresh air conditioner indoor unit and the air conditioner, the section of the air supply duct of the air supply part is reduced from one end close to the first fresh air outlet to the other end, so that the wind resistance of one end, far away from the first fresh air outlet, of the air supply duct is large, fresh air can better flow out from a position close to the first fresh air outlet, and the air outlet uniformity of the fresh air is improved.
The above and other objects, advantages and features of the present invention will become more apparent to those skilled in the art from the following detailed description of specific embodiments thereof, taken in conjunction with the accompanying drawings.
Drawings
Some specific embodiments of the utility model will be described in detail hereinafter, by way of illustration and not limitation, with reference to the accompanying drawings. The same reference numbers in the drawings identify the same or similar elements or components. Those skilled in the art will appreciate that the drawings are not necessarily drawn to scale. In the drawings:
fig. 1 is a schematic block diagram of an air conditioner according to an embodiment of the present invention;
fig. 2 is a schematic front view of a wall-mounted fresh air conditioning indoor unit according to an embodiment of the present invention;
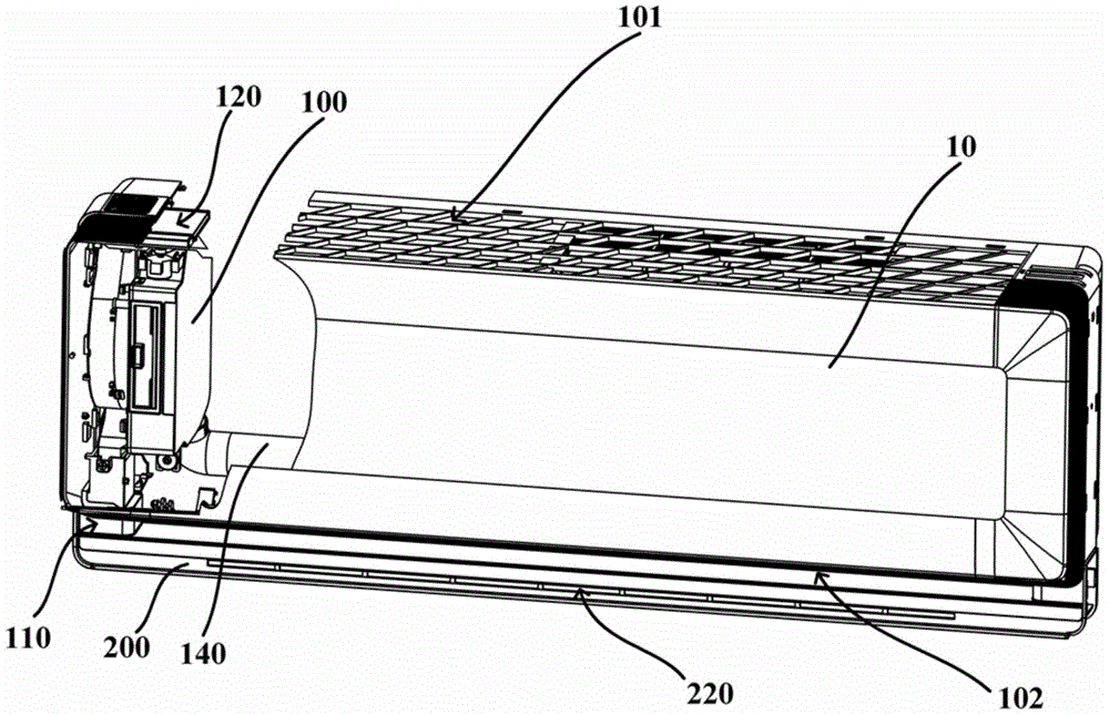
fig. 3 is a schematic structural view of a wall-mounted fresh air conditioner indoor unit according to an embodiment of the present invention, in which a part of a casing and a heat exchanger are hidden;
fig. 4 is a schematic side view of a wall-mounted fresh air conditioning indoor unit according to an embodiment of the present invention;
fig. 5 is a schematic structural view of a fresh air device of a wall-mounted fresh air conditioner indoor unit according to an embodiment of the present invention;
fig. 6 is a schematic structural view of a blowing part of a wall-mounted fresh air conditioning indoor unit according to an embodiment of the present invention;
FIG. 7 is an enlarged partial view of area A of FIG. 6;
FIG. 8 is an enlarged partial view of area B of FIG. 6;
fig. 9 is a schematic structural view of another angle of a blowing part of a wall-mounted fresh air conditioning indoor unit according to an embodiment of the present invention;
fig. 10 is a schematic configuration view of another angle of a blowing part of a wall-mounted fresh air conditioning indoor unit according to an embodiment of the present invention, in which a structure of a bottom surface of the blowing part is hidden;
FIG. 11 is an enlarged partial view of area C of FIG. 10;
fig. 12 is a partially enlarged view of the region D in fig. 10.
Detailed Description
The present invention will be described in detail below with reference to specific embodiments shown in fig. 1-12. These embodiments are not intended to limit the present invention, and structural, methodological, or functional changes made by those skilled in the art according to these embodiments are included in the scope of the present invention.
In the description of the present invention, it is to be understood that the terms "lateral," "upper," "lower," "front," "rear," "top," "bottom," and the like indicate orientations or positional relationships that can be determined with reference to the orientations of the wall-mounted fresh air conditioning indoor unit 011 in a normal use state, and with reference to the orientations or positional relationships shown in the drawings, for example, "front" indicating an orientation means a side of the wall-mounted fresh air conditioning indoor unit 011 that faces a user in a normal use state. This is merely to facilitate description of the utility model and to simplify the description, and does not indicate or imply that the device or element referred to must have a particular orientation, be constructed and operated in a particular orientation, and is therefore not to be considered limiting of the utility model.
Furthermore, the terms "first", "second" and "first" are used for descriptive purposes only and are not to be construed as indicating or implying relative importance or implicitly indicating the number of technical features indicated. Thus, a feature defined as "first" or "second" may explicitly or implicitly include one or more of that feature. In the description of the present invention, "a plurality" means two or more unless specifically defined otherwise.
In the present invention, unless otherwise expressly stated or limited, the terms "connected," "fixed," and the like are to be construed broadly and can, for example, be fixedly connected, detachably connected, or integrally connected; they may be connected directly or indirectly through intervening media, or they may be interconnected between two elements. The specific meanings of the above terms in the present invention can be understood by those skilled in the art according to specific situations.
Fig. 1 is a schematic block diagram of an air conditioner 01 according to one embodiment of the present invention. As shown in fig. 1, the air conditioner 01 of the present embodiment includes a wall-mounted fresh air conditioner indoor unit 011 and a fresh air conditioner outdoor unit 012.
Fig. 2 is a schematic front view of a wall-mounted fresh air conditioner indoor unit 011 according to one embodiment of the present invention. Fig. 3 is a schematic structural view of a wall-mounted fresh air conditioner indoor unit 011 according to an embodiment of the present invention, in which a part of a casing 10 and a heat exchanger are hidden. Fig. 4 is a schematic side view of a wall-mounted fresh air conditioner indoor unit 011 according to one embodiment of the present invention. Fig. 5 is a schematic structural view of a fresh air device 100 of a wall-mounted fresh air conditioner indoor unit 011 according to an embodiment of the present invention. Fig. 6 is a schematic configuration diagram of a blower unit 200 of a wall-mounted fresh air conditioning indoor unit 011 according to an embodiment of the present invention. Fig. 7 is a partially enlarged view of the area a in fig. 6. Fig. 8 is a partially enlarged view of the area B in fig. 6. Fig. 9 is a schematic configuration diagram of another angle of the blower 200 of the wall-mounted fresh air conditioning indoor unit 011 according to an embodiment of the present invention. Fig. 10 is a schematic configuration diagram of another angle of the air blowing part 200 of the wall-mounted fresh air conditioning indoor unit 011 according to an embodiment of the present invention, in which the structure of the bottom surface 211 of the air blowing part 200 is hidden. Fig. 11 is a partially enlarged view of the area C in fig. 10. Fig. 12 is a partially enlarged view of a region D in fig. 10. Here, the air blowing part 200 shown in fig. 10 is a view in which the air blowing part 200 shown in fig. 6 is turned over by a certain angle with its longitudinal direction as an axis, and a bottom surface 211 of the air blowing part 200 is hidden in order to better show the internal structure of the air blowing part 200.
The scheme of this embodiment provides a wall-hanging fresh air conditioner indoor set 011, can include generally: a casing 10, a fresh air device 100 and an air supply part 200.
The fresh air device 100 is disposed at one lateral end of the casing 10, and a first fresh air outlet 110 is formed at the bottom thereof. The air supply part 200 is connected to the first fresh air outlet 110, and is formed by extending from the first fresh air outlet 110 along the transverse direction of the casing 10, and an air supply duct 210 is formed in the air supply part 200. An air outlet 220 is provided at a front side of the air supply duct 210 to supply fresh air to the outside through the air outlet 220. Wherein the bottom surface 211 of the air supply duct 210 is configured to blow out fresh air obliquely upward through the air outlet 220.
According to the scheme of the embodiment, the air supply part 200 extending along the transverse direction is arranged at the first fresh air outlet 110, so that the air outlet range of fresh air is improved. The bottom surface 211 of the air supply duct 210 in the air supply part 200 is configured to enable the fresh air to be blown out obliquely upwards through the air outlet 220, so that the discomfort of a user caused by the fact that the fresh air is directly blown to the user is avoided, and the use experience of the user is further improved.
The air supply part 200 may generally further include a plurality of hooks 240, and the plurality of hooks 240 are spaced apart from the top surface of the air supply part 200, so that the air supply part 200 is fixed to the cabinet 10, which is not only simple in structure, but also convenient to install.
The bottom 211 of the air duct 210 is an inclined surface that is inclined from the bottom to the top from the side near the rear wall 212 of the air duct 210.
In the embodiment, the bottom 211 of the air supply duct 210 is an inclined plane inclined from the rear wall 212 to the front from bottom to top, and the fresh air is guided by the inclined angle of the bottom 211, so that the fresh air is blown out obliquely from bottom to top along the bottom 211 of the air supply duct 210. Wherein, the inclination of inclined plane can set up according to actual demand.
In other embodiments, the air supply duct 210 may also be configured to blow fresh air obliquely upward, including but not limited to configuring the bottom 211 of the air supply duct 210 as an inclined plane. For example, the bottom 211 of the air supply duct 210 may also be provided as an arc surface, wherein the side of the arc surface close to the rear wall 212 is lower than the side far from the rear wall 212, so as to ensure that the fresh air blows obliquely upward.
The top of the casing 10 is also provided with an air inlet 101; and a heat exchanger is further disposed in the casing 10 for exchanging heat of air flowing through the air inlet 101 into the interior of the casing 10.
An air outlet 102 is arranged at the front part of the casing 10 and used for discharging heat exchange airflow in the casing 10; the air outlet 102 is located above the air outlet 220 at a certain distance, and fresh air blown out obliquely upwards from the air outlet 220 is mixed with heat exchange air flow blown out from the air outlet 102.
The scheme of this embodiment sets up air outlet 102 in the top of air exit 220 for air exit 220 exhaust new trend mixes with air outlet 102 exhaust heat transfer air current mutually, thereby has reduced the temperature influence of new trend to the room air, has improved user's use and has experienced.
In addition, the new trend is indoor mixed diffusion under heat transfer air current's drive, has not only improved the ventilation effect of new trend, has improved the diffusion velocity and the diffusion homogeneity of new trend moreover, has further improved user's use and has experienced.
The air outlet 102 is configured to blow out the heat exchange air passing therethrough obliquely downward.
As shown in fig. 4, in the scheme of this embodiment, the air outlet 102 is configured to blow off the heat exchange air flow obliquely below, the air outlet 220 of the air supply unit 200 located below the air outlet 102 is configured to blow off the fresh air obliquely above, and the flow angle of the heat exchange air flow is matched with the flow angle of the fresh air, so that the heat exchange air flow can be better mixed with the fresh air in an intersecting manner, and the air exchange effect of the fresh air is further improved.
The fresh air device 100 further includes a second fresh air outlet 120, the second fresh air outlet 120 is disposed toward the top of the casing 10, and a part of the airflow blown out from the second fresh air outlet 120 enters the casing 10 from the air inlet 101 and exchanges heat with the heat exchanger.
According to the scheme of the embodiment, the fresh air device 100 comprises the second fresh air outlet 120 opposite to the air outlet direction of the first fresh air outlet 110, so that the air outlet path of fresh air is increased, and the air outlet range and the air outlet volume of the fresh air are improved.
In addition, the scheme of this embodiment sets up second fresh air outlet 120 as blowing towards the top of casing 10 for blow to the partial new trend at casing 10 top can get into inside casing 10 through the air intake 101 that is located the casing 10 top, carry out the heat transfer with the inside heat exchanger of casing 10, thereby further reduced the influence of new trend to the room air temperature, and then improved user's use travelling comfort.
The wall-mounted fresh air conditioner indoor unit 011 can also generally include an air door 130, and the air door 130 is disposed at the second fresh air outlet 120 and used for opening and closing the second fresh air outlet 120. The user can control the amount of wind of new trend and the air supply direction of new trend through the switching of control air door 130 to user's use experience has further been improved.
In the solution of this embodiment, the fresh air device 100 may further include a fresh air pipe 140 generally, which is used for communicating with the outdoor environment to convey the outside fresh air to the indoor environment. Wherein the fresh air duct 140 may generally be of a soft construction.
The air outlet 220 is a long and narrow opening extending in the lateral direction of the air blowing part 200.
The scheme of this embodiment sets up exhaust outlet 220 into the rectangular form opening that extends along the transverse direction of air supply unit 200 to the air-out scope of new trend has been increased, and the air-out homogeneity of new trend has been improved.
A plurality of partitions 230 are spaced apart from each other at the air outlet 220 to partition the air outlet 220 into a plurality of slit holes 221, and prevent foreign materials from entering the air supply part 200 through the air outlet 220.
The scheme of this embodiment separates air exit 220 for a plurality of slit holes 221 through setting up separator 230 for the new trend is shunted in air exit 220 department, flows to the outside of casing 10 through each slit hole 221 respectively, has not only improved the air-out homogeneity of new trend, has avoided the foreign matter to pass through in air exit 220 gets into air supply portion 200.
In some preferred embodiments, the number of the slit holes 221 may be set to 9, and the slit holes are uniformly arranged on the blower part 200. In other embodiments, the number of the slit holes 221 may be set to other numbers, including but not limited to 9 (e.g., 8 or 10, etc.), and the specific number of the slit holes 221 may be set according to actual requirements. In addition, the hole pattern of the slit hole 221 may also be set according to practical requirements, including but not limited to rectangular, circular, and elliptical.
In addition, the partition 230 may be provided to have an arc bent toward the side where the fresh air device 100 is located, so as to guide the fresh air to flow toward the slit hole 221. The angle between the flow direction of separator 230 and new trend is the acute angle to reduce the windage, reduce the amount of wind loss of new trend, and make the reposition of redundant personnel that the new trend can be better under each separator 230's effect, and then improved the air-out homogeneity of new trend.
The cross section of the air supply duct 210 gradually tapers from one end near the first fresh air outlet 110 to the other end.
The new trend can flow more towards the direction of keeping away from first fresh air outlet 110 under the effect of fan (the fan is located inside new trend device 100, not shown in the figure) to make the new trend flow out from the place of keeping away from first fresh air outlet 110 mostly, and then lead to the new trend air-out inhomogeneous.
In the embodiment, the cross section of the air supply duct 210 is gradually reduced from one end close to the first fresh air outlet 110 to the other end, so that the wind resistance of the air supply duct 210 increases with the increase of the distance from the first fresh air outlet 110. The resistance that the new trend received in the place that is far away from first new trend air outlet 110 is big more to make the new trend can flow out from the place that is near apart from first new trend air outlet 110, and then improved the homogeneity that the new trend flowed out from air supply unit 200.
As shown in fig. 10 to 12, in some preferred embodiments, the rear wall 212 of the air supply duct 210 is configured as an inclined surface, so that the cross section of the air supply duct 210 is tapered from one end close to the fresh air device 100 to the other end, thereby changing the wind resistance of the air supply duct 210 at different positions, and further improving the uniformity of the outlet air of the fresh air.
In other embodiments, any wall of the air supply duct 210 may be configured as an inclined surface, and the inclined surface is configured to extend obliquely from one end connected with the fresh air device 100 to the other end in a direction gradually approaching the center of the air supply duct 210, so as to make the cross section of the air supply duct 210 gradually taper.
According to the scheme of the embodiment, the bottom surface 211 of the air supply duct 210 connected with the first fresh air outlet 110 is configured to enable fresh air to be blown out obliquely upwards through the air outlet 220, so that the mixing of the fresh air and heat exchange air flow blown out from the air outlet 102 is facilitated, the diffusion speed and the diffusion uniformity of the fresh air are improved, and the use comfort of a user is further improved.
Further, the scheme of this embodiment is through setting up first fresh air outlet 110 and second fresh air outlet 120 simultaneously for the new trend flows out through two fresh air supply outlets simultaneously, has not only increased the air-out scope and the air output of new trend, has reduced the energy consumption and the noise of new trend device 100's fan moreover, has greatly promoted user's use and has experienced.
Thus, it should be appreciated by those skilled in the art that while a number of exemplary embodiments of the utility model have been illustrated and described in detail herein, many other variations or modifications consistent with the principles of the utility model may be directly determined or derived from the disclosure of the present invention without departing from the spirit and scope of the utility model. Accordingly, the scope of the utility model should be understood and interpreted to cover all such other variations or modifications.

Claims (10)

1.一种壁挂式新风空调室内机,其特征在于包括:1. A wall-mounted fresh air conditioner indoor unit is characterized in that comprising: 机壳;chassis; 新风装置,设置于所述机壳内的横向一端,并在其底部形成有第一新风出风口;The fresh air device is arranged at one end of the horizontal direction in the casing, and a first fresh air outlet is formed at the bottom of the fresh air device; 送风部,与所述第一新风出风口连接,自所述第一新风出风口起沿所述机壳的横向方向延伸形成,并且所述送风部内形成有一送风风道;an air supply part, connected to the first fresh air outlet, extending from the first fresh air outlet along the lateral direction of the casing, and an air supply air duct is formed in the air supply part; 所述送风风道的前侧设置有排风口,以利用所述排风口向外部送出新风;其中The front side of the air supply air duct is provided with an air outlet, so as to use the air outlet to send out fresh air to the outside; wherein 所述送风风道的底面被配置为使得新风通过所述排风口向斜上方吹出。The bottom surface of the air supply duct is configured so that fresh air is blown out obliquely upward through the air outlet. 2.根据权利要求1所述的壁挂式新风空调室内机,其特征在于,2. The wall-mounted fresh air conditioner indoor unit according to claim 1, characterized in that, 所述送风风道的底面为一倾斜面,从靠近所述送风风道的后壁的一侧起向前自下向上倾斜形成。The bottom surface of the air supply air duct is an inclined surface, which is formed forward from the bottom and upward from the side close to the rear wall of the air supply air duct. 3.根据权利要求1所述的壁挂式新风空调室内机,其特征在于,3. The wall-mounted fresh air conditioner indoor unit according to claim 1, characterized in that, 所述机壳的顶部还设置有进风口;并且The top of the casing is also provided with an air inlet; and 所述机壳内还设置有换热器,用于对流经所述进风口进入所述机壳内部的空气进行换热。A heat exchanger is also arranged in the casing for exchanging heat for the air flowing into the casing through the air inlet. 4.根据权利要求3所述的壁挂式新风空调室内机,其特征在于,4. The wall-mounted fresh air conditioner indoor unit according to claim 3, characterized in that, 所述机壳的前部设置有出风口,用于排出所述机壳内的换热气流;The front part of the casing is provided with an air outlet for discharging the heat exchange airflow in the casing; 所述出风口位于所述排风口间隔一定距离的上方,且所述排风口向斜上方吹出的新风与所述出风口吹出的换热气流相混合。The air outlet is located above the air outlet at a certain distance, and the fresh air blown out from the air outlet obliquely upward is mixed with the heat exchange airflow blown out of the air outlet. 5.根据权利要求4所述的壁挂式新风空调室内机,其特征在于,5. The wall-mounted fresh air conditioner indoor unit according to claim 4, characterized in that, 所述出风口被配置为使通过其的换热气流向斜下方吹出。The air outlet is configured to blow out the heat exchange airflow passing therethrough obliquely downward. 6.根据权利要求3所述的壁挂式新风空调室内机,其特征在于,6. The wall-mounted fresh air conditioner indoor unit according to claim 3, characterized in that, 所述新风装置还包括第二新风出风口,所述第二新风出风口朝向所述机壳的顶部设置,部分所述第二新风出风口吹出的气流从所述进风口进入所述机壳内,并与所述换热器进行换热。The fresh air device further includes a second fresh air outlet, the second fresh air outlet is arranged towards the top of the casing, and part of the airflow blown out from the second fresh air outlet enters the casing from the air inlet , and exchange heat with the heat exchanger. 7.根据权利要求1所述的壁挂式新风空调室内机,其特征在于,7. The wall-mounted fresh air conditioner indoor unit according to claim 1, characterized in that, 所述排风口为沿所述送风部横向方向延伸的狭长条状开口。The air outlet is a long and narrow strip-shaped opening extending along the lateral direction of the air supply portion. 8.根据权利要求7所述的壁挂式新风空调室内机,其特征在于,8. The wall-mounted fresh air conditioner indoor unit according to claim 7, wherein 所述排风口处间隔设置有多个分隔件,以将所述排风口分隔为多个狭缝孔,并防止异物从所述排风口处进入所述送风部内。The air outlet is provided with a plurality of partitions at intervals, so as to divide the air outlet into a plurality of slit holes and prevent foreign matter from entering the air supply portion from the air outlet. 9.根据权利要求1所述的壁挂式新风空调室内机,其特征在于,9. The wall-mounted fresh air conditioner indoor unit according to claim 1, characterized in that, 所述送风风道的截面自靠近所述第一新风出风口的一端起向另一端渐缩。The section of the air supply air duct tapers from one end close to the first fresh air outlet to the other end. 10.一种空调器,包括:10. An air conditioner comprising: 根据权利要求1至9中任一项所述的壁挂式新风空调室内机。The wall-mounted fresh air conditioner indoor unit according to any one of claims 1 to 9.
CN202122526223.XU 2021-05-20 2021-10-20 Wall-mounted fresh air conditioner indoor unit and air conditioner Active CN216693750U (en)

Applications Claiming Priority (2)

Application Number Priority Date Filing Date Title
CN202110553065 2021-05-20
CN2021105530659 2021-05-20

Publications (1)

Publication Number Publication Date
CN216693750U true CN216693750U (en) 2022-06-07

Family

ID=78996724

Family Applications (20)

Application Number Title Priority Date Filing Date
CN202122528705.9U Active CN216693755U (en) 2021-05-20 2021-10-20 Wall-mounted air conditioner indoor unit
CN202111223075.2A Pending CN113864880A (en) 2021-05-20 2021-10-20 Wall-mounted fresh air conditioner indoor unit and air conditioner
CN202111223097.9A Pending CN113864882A (en) 2021-05-20 2021-10-20 Wall-mounted fresh air conditioner indoor unit and air conditioner
CN202122526527.6U Active CN216693752U (en) 2021-05-20 2021-10-20 Wall-mounted air conditioner indoor unit
CN202111223342.6A Pending CN115388466A (en) 2021-05-20 2021-10-20 Wall-mounted fresh air conditioner indoor unit and air conditioner
CN202111223073.3A Pending CN113959008A (en) 2021-05-20 2021-10-20 Wall-mounted fresh air conditioner indoor unit and air conditioner
CN202122528720.3U Active CN216744602U (en) 2021-05-20 2021-10-20 Wall-mounted air conditioner indoor unit
CN202111221634.6A Active CN113932301B (en) 2021-05-20 2021-10-20 Air conditioner indoor unit with fresh air device and control method thereof
CN202122528702.5U Active CN216693754U (en) 2021-05-20 2021-10-20 Wall-mounted air conditioner indoor unit
CN202111221879.9A Pending CN115388464A (en) 2021-05-20 2021-10-20 Wall-mounted fresh air conditioner indoor unit and air conditioner
CN202122528695.9U Active CN216693753U (en) 2021-05-20 2021-10-20 Wall-mounted air conditioner indoor unit
CN202111223350.0A Pending CN115371138A (en) 2021-05-20 2021-10-20 Machine in new trend fan and air conditioning
CN202111223329.0A Pending CN115388465A (en) 2021-05-20 2021-10-20 Wall-mounted fresh air conditioner indoor unit and air conditioner
CN202122526223.XU Active CN216693750U (en) 2021-05-20 2021-10-20 Wall-mounted fresh air conditioner indoor unit and air conditioner
CN202122526538.4U Active CN216814380U (en) 2021-05-20 2021-10-20 Machine in new trend fan and air conditioning
CN202111221888.8A Pending CN115371137A (en) 2021-05-20 2021-10-20 Machine in new trend fan and air conditioning
CN202122526529.5U Active CN216716378U (en) 2021-05-20 2021-10-20 Wall-mounted air conditioner indoor unit
CN202122526520.4U Active CN216693751U (en) 2021-05-20 2021-10-20 Wall-mounted air conditioner indoor unit
CN202122528751.9U Active CN216814381U (en) 2021-05-20 2021-10-20 Machine in new trend fan and air conditioning
CN202122528722.2U Active CN216744603U (en) 2021-05-20 2021-10-20 Wall-mounted air conditioner indoor unit

Family Applications Before (13)

Application Number Title Priority Date Filing Date
CN202122528705.9U Active CN216693755U (en) 2021-05-20 2021-10-20 Wall-mounted air conditioner indoor unit
CN202111223075.2A Pending CN113864880A (en) 2021-05-20 2021-10-20 Wall-mounted fresh air conditioner indoor unit and air conditioner
CN202111223097.9A Pending CN113864882A (en) 2021-05-20 2021-10-20 Wall-mounted fresh air conditioner indoor unit and air conditioner
CN202122526527.6U Active CN216693752U (en) 2021-05-20 2021-10-20 Wall-mounted air conditioner indoor unit
CN202111223342.6A Pending CN115388466A (en) 2021-05-20 2021-10-20 Wall-mounted fresh air conditioner indoor unit and air conditioner
CN202111223073.3A Pending CN113959008A (en) 2021-05-20 2021-10-20 Wall-mounted fresh air conditioner indoor unit and air conditioner
CN202122528720.3U Active CN216744602U (en) 2021-05-20 2021-10-20 Wall-mounted air conditioner indoor unit
CN202111221634.6A Active CN113932301B (en) 2021-05-20 2021-10-20 Air conditioner indoor unit with fresh air device and control method thereof
CN202122528702.5U Active CN216693754U (en) 2021-05-20 2021-10-20 Wall-mounted air conditioner indoor unit
CN202111221879.9A Pending CN115388464A (en) 2021-05-20 2021-10-20 Wall-mounted fresh air conditioner indoor unit and air conditioner
CN202122528695.9U Active CN216693753U (en) 2021-05-20 2021-10-20 Wall-mounted air conditioner indoor unit
CN202111223350.0A Pending CN115371138A (en) 2021-05-20 2021-10-20 Machine in new trend fan and air conditioning
CN202111223329.0A Pending CN115388465A (en) 2021-05-20 2021-10-20 Wall-mounted fresh air conditioner indoor unit and air conditioner

Family Applications After (6)

Application Number Title Priority Date Filing Date
CN202122526538.4U Active CN216814380U (en) 2021-05-20 2021-10-20 Machine in new trend fan and air conditioning
CN202111221888.8A Pending CN115371137A (en) 2021-05-20 2021-10-20 Machine in new trend fan and air conditioning
CN202122526529.5U Active CN216716378U (en) 2021-05-20 2021-10-20 Wall-mounted air conditioner indoor unit
CN202122526520.4U Active CN216693751U (en) 2021-05-20 2021-10-20 Wall-mounted air conditioner indoor unit
CN202122528751.9U Active CN216814381U (en) 2021-05-20 2021-10-20 Machine in new trend fan and air conditioning
CN202122528722.2U Active CN216744603U (en) 2021-05-20 2021-10-20 Wall-mounted air conditioner indoor unit

Country Status (2)

Country Link
CN (20) CN216693755U (en)
WO (4) WO2023065563A1 (en)

Families Citing this family (8)

* Cited by examiner, † Cited by third party
Publication number Priority date Publication date Assignee Title
CN216693755U (en) * 2021-05-20 2022-06-07 青岛海尔空调器有限总公司 Wall-mounted air conditioner indoor unit
CN114413389A (en) * 2022-01-10 2022-04-29 珠海格力电器股份有限公司 Fresh air device and control method thereof
CN114811926A (en) * 2022-06-02 2022-07-29 珠海格力电器股份有限公司 Flow guide structure and air conditioner indoor unit with same
CN115479311B (en) * 2022-09-20 2025-08-19 青岛海尔空调器有限总公司 Fresh air device, air conditioner indoor unit and air conditioner
CN115507431B (en) * 2022-09-27 2025-03-14 海信空调有限公司 Indoor air conditioner
CN115507432B (en) * 2022-09-27 2025-03-25 海信空调有限公司 Indoor air conditioner
CN116336563A (en) * 2023-03-03 2023-06-27 青岛海尔空调器有限总公司 Indoor unit and fresh air conditioner
CN117515818A (en) * 2023-09-27 2024-02-06 浙江中广电器集团股份有限公司 Fresh air conditioner and fresh air outlet control method

Family Cites Families (58)

* Cited by examiner, † Cited by third party
Publication number Priority date Publication date Assignee Title
DE3315444A1 (en) * 1983-04-28 1984-10-31 Philips Patentverwaltung Gmbh, 2000 Hamburg DEVICE FOR VENTILATING AND HEATING INTERIORS, IN PARTICULAR LIVING ROOMS
KR200241498Y1 (en) * 1999-06-30 2001-09-29 윤종용 structure for inducing fresh air for ceiling type air conditioner
JP4752142B2 (en) * 2001-07-09 2011-08-17 三菱電機株式会社 Indoor unit for air conditioner
CN2676085Y (en) * 2003-12-26 2005-02-02 东风汽车有限公司 Air supply pipeline
KR100734359B1 (en) * 2005-11-18 2007-07-03 엘지전자 주식회사 Indoor unit of air conditioner
KR20090010449A (en) * 2007-07-23 2009-01-30 엘지전자 주식회사 Air conditioner
WO2009021356A1 (en) * 2007-08-13 2009-02-19 Shenzhen Longgang Jinyixin Electronic Factory Centrifugal air blower and fresh air device having the blower
WO2017049540A1 (en) * 2015-09-24 2017-03-30 孙海潮 Humidifying and fresh air exchange indoor unit of split air conditioner
CN205536129U (en) * 2016-01-19 2016-08-31 珠海格力电器股份有限公司 Indoor unit of air conditioner
CN105627442A (en) * 2016-03-16 2016-06-01 沈增友 Vector air supply technology and air duct structure
CN106322647B (en) * 2016-08-17 2019-05-31 青岛海尔空调器有限总公司 Air conditioning exhausting control method
CN106595013B (en) * 2017-01-24 2022-05-24 珠海格力电器股份有限公司 Air conditioner air-out panel and air conditioning equipment
CN106595010A (en) * 2017-01-24 2017-04-26 珠海格力电器股份有限公司 Air guide panel of air conditioner and air conditioning device
CN106839378A (en) * 2017-01-24 2017-06-13 珠海格力电器股份有限公司 Air outlet panel and air conditioning device
CN106949615B (en) * 2017-03-17 2019-06-07 珠海格力电器股份有限公司 Air outlet structure, air outlet method of air conditioner and air conditioner
CN107084482B (en) * 2017-04-13 2020-04-24 青岛海尔空调器有限总公司 Air conditioner indoor wall hanging machine and control method thereof
CN107314522A (en) * 2017-07-31 2017-11-03 广东美的制冷设备有限公司 Air conditioner room unit and air conditioner
CN107388379A (en) * 2017-08-18 2017-11-24 广东美的制冷设备有限公司 Air treatment module and air conditioner
CN107388382B (en) * 2017-08-21 2024-01-23 广东美的制冷设备有限公司 Air conditioner
CN207584912U (en) * 2017-11-10 2018-07-06 青岛海尔空调器有限总公司 The indoor unit of wall-hanging air conditioner
CN108194986A (en) * 2018-01-12 2018-06-22 青岛海尔空调器有限总公司 Hanging air-conditioner indoor machine
CN207936308U (en) * 2018-02-11 2018-10-02 青岛海尔空调器有限总公司 Air conditioner indoor unit
WO2019159241A1 (en) * 2018-02-13 2019-08-22 三菱電機株式会社 Air-conditioning system, air-conditioning control device, air-conditioning control method and program
CN108626837A (en) * 2018-03-05 2018-10-09 中国矿业大学 A kind of pillar balanced ventilation device and method
CN108469063A (en) * 2018-03-12 2018-08-31 青岛海尔空调器有限总公司 Wall-hanging indoor unit of air conditioner
CN108386917B (en) * 2018-04-20 2021-04-20 青岛海尔空调器有限总公司 A fresh air air conditioner indoor unit
CN108562023B (en) * 2018-04-27 2020-12-22 广东美的制冷设备有限公司 Control method of air conditioner, air conditioner and computer readable storage medium
CN208920301U (en) * 2018-07-16 2019-05-31 青岛海尔空调器有限总公司 On-hook in a kind of fresh air conditioner room
CN208920300U (en) * 2018-07-16 2019-05-31 青岛海尔空调器有限总公司 On-hook in fresh air wind guiding component and fresh air conditioner room
CN110887121A (en) * 2018-08-15 2020-03-17 青岛海尔空调器有限总公司 A fresh air air conditioner indoor unit
CN209857189U (en) * 2018-12-26 2019-12-27 美的集团武汉制冷设备有限公司 Air conditioner indoor unit and air conditioner
CN109751736A (en) * 2018-12-29 2019-05-14 广东美的暖通设备有限公司 For the control method of air pipe type air-conditioner, device and air pipe type air-conditioner
CN109915936B (en) * 2019-03-25 2024-05-03 珠海格力电器股份有限公司 Air conditioner indoor unit and air conditioner
CN109990389B (en) * 2019-04-29 2024-05-24 广东美的制冷设备有限公司 Air Conditioner
CN210769539U (en) * 2019-09-12 2020-06-16 北海鑫年风机制造有限公司 Multi-air-duct centrifugal fan
CN110926002B (en) * 2019-11-27 2024-11-26 同济大学 Adjustable flow distributor
CN110986167A (en) * 2019-12-04 2020-04-10 珠海格力电器股份有限公司 Air conditioner indoor unit
CN111043662A (en) * 2019-12-30 2020-04-21 Tcl空调器(中山)有限公司 Machine and new trend air conditioner in new trend air conditioning
CN211601045U (en) * 2019-12-31 2020-09-29 浙江美尔凯特智能厨卫股份有限公司 Air-conditioning system with uniform air flow
CN111412600A (en) * 2020-03-31 2020-07-14 宁波奥克斯电气股份有限公司 Fresh air conditioner control method
CN212132679U (en) * 2020-05-19 2020-12-11 广东美的制冷设备有限公司 Air conditioner
CN212319880U (en) * 2020-05-19 2021-01-08 广东美的制冷设备有限公司 Air conditioner
CN212319902U (en) * 2020-06-11 2021-01-08 广东美的制冷设备有限公司 Fresh air device, floor type air conditioner indoor unit and air conditioner
CN212408873U (en) * 2020-06-30 2021-01-26 广东美的制冷设备有限公司 Machine in new trend module and air conditioning
CN212511442U (en) * 2020-06-30 2021-02-09 广东美的制冷设备有限公司 Air conditioner indoor unit and air conditioner
CN212869984U (en) * 2020-07-31 2021-04-02 海信(山东)空调有限公司 Indoor unit of air conditioner
CN212869983U (en) * 2020-07-31 2021-04-02 海信(山东)空调有限公司 Air conditioner indoor unit and air conditioner
CN212869974U (en) * 2020-07-31 2021-04-02 海信(山东)空调有限公司 Indoor machine of air conditioner
CN212431089U (en) * 2020-08-19 2021-01-29 青岛海尔空调器有限总公司 Jet device for wall-mounted air conditioner indoor unit and wall-mounted air conditioner indoor unit
CN212431090U (en) * 2020-08-19 2021-01-29 青岛海尔空调器有限总公司 Wall-mounted air conditioner indoor unit
CN213272872U (en) * 2020-09-14 2021-05-25 青岛海尔空调器有限总公司 Fresh air air conditioners and cabinet fresh air air conditioners
CN212511461U (en) * 2020-09-30 2021-02-09 广东美的制冷设备有限公司 Air conditioner indoor unit and air conditioner
CN112113276B (en) * 2020-10-15 2022-07-19 青岛海尔空调器有限总公司 Wall-mounted air conditioner indoor unit
CN112432337B (en) * 2020-11-27 2021-11-16 珠海格力电器股份有限公司 Air port position regulating method and device, air conditioner and storage medium
CN112555998A (en) * 2020-12-29 2021-03-26 珠海格力电器股份有限公司 Fresh air device and air conditioner with same
CN112797482A (en) * 2021-02-02 2021-05-14 青岛海尔空调器有限总公司 Indoor unit of air conditioner
CN112902385A (en) * 2021-02-03 2021-06-04 珠海格力电器股份有限公司 Control method, fresh air system and air conditioner
CN216693755U (en) * 2021-05-20 2022-06-07 青岛海尔空调器有限总公司 Wall-mounted air conditioner indoor unit

Also Published As

Publication number Publication date
CN216814380U (en) 2022-06-24
CN113932301A (en) 2022-01-14
CN115388465A (en) 2022-11-25
CN216716378U (en) 2022-06-10
CN115388466A (en) 2022-11-25
WO2023065565A1 (en) 2023-04-27
WO2023065564A1 (en) 2023-04-27
CN113959008A (en) 2022-01-21
CN216744602U (en) 2022-06-14
WO2023065566A1 (en) 2023-04-27
CN113864882A (en) 2021-12-31
CN216814381U (en) 2022-06-24
CN216693751U (en) 2022-06-07
CN216693755U (en) 2022-06-07
WO2023065563A1 (en) 2023-04-27
CN216693752U (en) 2022-06-07
CN113864880A (en) 2021-12-31
CN216693754U (en) 2022-06-07
CN115371138A (en) 2022-11-22
CN216693753U (en) 2022-06-07
CN115371137A (en) 2022-11-22
CN216744603U (en) 2022-06-14
CN113932301B (en) 2023-08-18
CN115388464A (en) 2022-11-25

Similar Documents

Publication Publication Date Title
CN216693750U (en) Wall-mounted fresh air conditioner indoor unit and air conditioner
CN114046563B (en) Air conditioning indoor unit
CN105698267A (en) Wall-hung air conditioner with drainage structure
CN106482213A (en) A kind of mixed flow air-conditioning
CN109340909B (en) Air conditioner indoor unit and air conditioner
CN105698265A (en) Split wall-hung air conditioner with drainage structure
CN109059112A (en) Air conditioner end equipment and air conditioner
CN209246250U (en) Air conditioner indoor unit and air conditioner
CN208920240U (en) Indoor unit of air conditioner
CN105698266A (en) Split wall-hung air conditioner with drainage structure
CN109340908A (en) Air conditioner indoor unit and air conditioner
CN113203124B (en) Wall-mounted air conditioner indoor unit
CN104964341A (en) Air conditioner indoor unit and air conditioner
CN218119966U (en) Indoor unit of air conditioner
CN220205892U (en) Air conditioning indoor unit
CN208566884U (en) Wall-hanging air conditioner indoor unit and air conditioner
CN209944510U (en) Cabinet air conditioner
CN219036816U (en) air conditioner indoor unit
CN214536522U (en) Wall-mounted air conditioner indoor unit
CN217357125U (en) Fresh air conditioner indoor unit and fresh air conditioner
CN216591949U (en) Air conditioner indoor unit and air conditioner
WO2023246547A1 (en) Vertical air conditioner indoor unit
CN213577767U (en) Jet device for cabinet air conditioner indoor unit and cabinet air conditioner indoor unit
CN204943705U (en) A kind of mixed flow air-conditioning
CN109405082A (en) Air conditioner indoor unit and air conditioner

Legal Events

Date Code Title Description
GR01 Patent grant
GR01 Patent grant