CN112593900A - Tower type oil pumping unit - Google Patents

Tower type oil pumping unit Download PDF

Info

Publication number
CN112593900A
CN112593900A CN202011596576.0A CN202011596576A CN112593900A CN 112593900 A CN112593900 A CN 112593900A CN 202011596576 A CN202011596576 A CN 202011596576A CN 112593900 A CN112593900 A CN 112593900A
Authority
CN
China
Prior art keywords
belt
tower
pumping unit
fixing clip
belt fixing
Prior art date
Legal status (The legal status is an assumption and is not a legal conclusion. Google has not performed a legal analysis and makes no representation as to the accuracy of the status listed.)
Pending
Application number
CN202011596576.0A
Other languages
Chinese (zh)
Inventor
田云峰
范者正
Current Assignee (The listed assignees may be inaccurate. Google has not performed a legal analysis and makes no representation or warranty as to the accuracy of the list.)
Daqing Dannuo Petroleum Technology Development Co ltd
Original Assignee
Daqing Dannuo Petroleum Technology Development Co ltd
Priority date (The priority date is an assumption and is not a legal conclusion. Google has not performed a legal analysis and makes no representation as to the accuracy of the date listed.)
Filing date
Publication date
Application filed by Daqing Dannuo Petroleum Technology Development Co ltd filed Critical Daqing Dannuo Petroleum Technology Development Co ltd
Priority to CN202011596576.0A priority Critical patent/CN112593900A/en
Publication of CN112593900A publication Critical patent/CN112593900A/en
Pending legal-status Critical Current

Links

Images

Classifications

    • EFIXED CONSTRUCTIONS
    • E21EARTH OR ROCK DRILLING; MINING
    • E21BEARTH OR ROCK DRILLING; OBTAINING OIL, GAS, WATER, SOLUBLE OR MELTABLE MATERIALS OR A SLURRY OF MINERALS FROM WELLS
    • E21B43/00Methods or apparatus for obtaining oil, gas, water, soluble or meltable materials or a slurry of minerals from wells
    • E21B43/12Methods or apparatus for controlling the flow of the obtained fluid to or in wells
    • E21B43/121Lifting well fluids
    • FMECHANICAL ENGINEERING; LIGHTING; HEATING; WEAPONS; BLASTING
    • F04POSITIVE - DISPLACEMENT MACHINES FOR LIQUIDS; PUMPS FOR LIQUIDS OR ELASTIC FLUIDS
    • F04BPOSITIVE-DISPLACEMENT MACHINES FOR LIQUIDS; PUMPS
    • F04B47/00Pumps or pumping installations specially adapted for raising fluids from great depths, e.g. well pumps
    • FMECHANICAL ENGINEERING; LIGHTING; HEATING; WEAPONS; BLASTING
    • F04POSITIVE - DISPLACEMENT MACHINES FOR LIQUIDS; PUMPS FOR LIQUIDS OR ELASTIC FLUIDS
    • F04BPOSITIVE-DISPLACEMENT MACHINES FOR LIQUIDS; PUMPS
    • F04B47/00Pumps or pumping installations specially adapted for raising fluids from great depths, e.g. well pumps
    • F04B47/14Counterbalancing

Landscapes

  • Engineering & Computer Science (AREA)
  • Life Sciences & Earth Sciences (AREA)
  • Geology (AREA)
  • Mining & Mineral Resources (AREA)
  • Mechanical Engineering (AREA)
  • General Engineering & Computer Science (AREA)
  • Physics & Mathematics (AREA)
  • Environmental & Geological Engineering (AREA)
  • Fluid Mechanics (AREA)
  • General Life Sciences & Earth Sciences (AREA)
  • Geochemistry & Mineralogy (AREA)
  • Structures Of Non-Positive Displacement Pumps (AREA)

Abstract

本发明涉及油田采油技术领域,公开了一种塔架抽油机,包括支撑底座、设置在支撑底座上的塔架、皮带、配重箱和驱动系统,所述的驱动系统与配重箱固定连接,平台上固定安装有前导向轮、后导向轮、前皮带固定夹和后皮带固定夹,塔架平台下方设置有换向动滑轮,驱动系统包括电机和滚筒;皮带一端固定在后皮带固定夹上,皮带另一端自下而上绕过滚筒,接着绕过后导向轮和前导向轮上方,然后自上而下绕过换向动滑轮后固定在前皮带固定夹上。本发明解决了高空作业的危险,在抽油机维修作业时,不需要吊车配合,维修方便,节省了维修时间和费用,工作效率提高;驱动系统和减速装置的重量作用在配重箱上,减少了配重铁的填充,节省资源。

Figure 202011596576

The invention relates to the technical field of oil production in oil fields, and discloses a tower pumping unit, comprising a support base, a tower set on the support base, a belt, a counterweight box and a drive system, wherein the drive system is fixedly connected with the counterweight box, A front guide wheel, a rear guide wheel, a front belt fixing clip and a rear belt fixing clip are fixedly installed on the platform. A reversing pulley is arranged under the tower platform. The driving system includes a motor and a roller; one end of the belt is fixed on the rear belt fixing clip. The other end of the belt goes around the drum from bottom to top, then goes around the rear guide pulley and the top of the front guide pulley, and then goes around the reversing pulley from top to bottom and is fixed on the front belt fixing clip. The invention solves the danger of high-altitude operation, does not need the cooperation of the crane during the maintenance operation of the pumping unit, is convenient for maintenance, saves maintenance time and cost, and improves the work efficiency; the weight of the driving system and the deceleration device acts on the counterweight box, reducing the The filling of the counterweight iron saves resources.

Figure 202011596576

Description

Tower type oil pumping unit
Technical Field
The invention relates to the technical field of oil extraction in oil fields and discloses a tower pumping unit.
Background
The oil field oil extraction mainly adopts mechanical oil extraction equipment, wherein the oil pumping unit mainly comprises a beam pumping unit and a tower pumping unit, the tower pumping unit is widely applied to the performances of simple structure, maintenance-free basically, long stroke, low stroke frequency and large load, but the height of a tower frame of the oil pumping unit is more than ten meters, a driving system of the tower pumping unit is an electric motor, and a power roller with a speed reducing mechanism is arranged on a top platform of the tower pumping unit, in the working process of the tower pumping unit, the driving system needs to be maintained and overhauled frequently, a maintenance worker needs to climb to the top platform which is more than ten meters high, and the space of the top platform is limited and the inconvenience is brought to the maintenance work.
Disclosure of Invention
In order to solve the problem that the maintenance of a driving system and a motor in the background technology needs to be operated by ascending a height, the invention provides the tower type oil pumping unit which is convenient to overhaul, saves counter weight iron and simultaneously reduces the gravity center of the oil pumping unit.
The technical scheme provided by the invention is as follows: a tower frame type oil pumping unit comprises a supporting base, a tower frame arranged on the supporting base, a belt, a weight box and a driving system, wherein the driving system is fixedly connected with the weight box; one end of the belt is fixed on the rear belt fixing clamp, and the other end of the belt winds around the roller from bottom to top, then winds above the rear guide wheel and the front guide wheel, then winds around the reversing movable pulley from top to bottom and then is fixed on the front belt fixing clamp;
the technical scheme is that a steel wire rope core is arranged in the belt, and the length direction of the steel wire rope core is consistent with the length direction of the belt.
The technical scheme is that the surface of the belt is provided with teeth, and the outer surface of the roller is provided with teeth meshed with the teeth on the belt.
The invention has the beneficial effects that:
(1) the driving system is arranged on the weight box, so that the volume and the weight of an upper platform of the tower-type pumping unit are reduced, the center of gravity moves downwards, the pumping unit is safer, when the tower-type pumping unit needs to be overhauled and maintained in the working process, the pumping unit is stopped, the weight system falls to the bottom, the top platform of the pumping unit does not need to be climbed, the danger of high-altitude operation is solved, when the pumping unit is maintained, a crane is not needed to be matched, the maintenance is convenient, the maintenance time and the maintenance cost are saved, and the working efficiency is improved; the weight of the driving system and the speed reducing device acts on the weight box, so that the filling of weight iron is reduced, and resources are saved.
(2) The roller is equivalent to a reversing movable pulley and corresponds to the reversing movable pulley at the wellhead, so that the stroke of the wellhead sucker rod is equal to the lifting height of the weight box.
(3) The stroke and the stroke frequency of the oil pumping unit can be adjusted at will within a set range through the automatic control system.
Drawings
Fig. 1 is a side view of the present invention.
Fig. 2 is a front view of the present invention.
FIG. 3 is a cross-sectional view of the belt of the present invention.
Fig. 4 is a cross-sectional view at a-a in fig. 3.
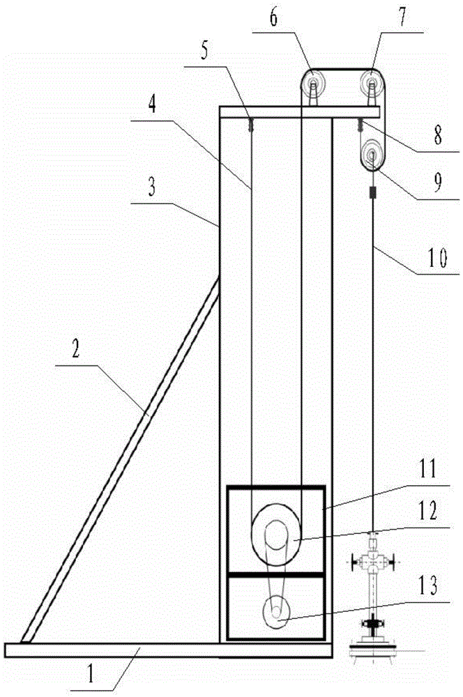
In the figure: 1. a support base; 2. a pull rod support; 3. a tower; 4. a belt; 5. a rear belt fixing clamp; 6. a rear guide wheel; 7. a front guide wheel; 8. a front belt fixing clamp; 9. a reversing movable pulley; 10. a sucker rod; 11. a weight box; 12. a drum; 13. a motor; 401. a wire rope core.
Detailed Description
In order to make the technical problems, technical solutions and advantageous effects to be solved by the present invention more clearly apparent, the present invention is further described in detail below with reference to the accompanying drawings and embodiments. It should be understood that the specific embodiments described herein are merely illustrative of the invention and are not intended to limit the invention.
As shown in fig. 1 and 2, the present embodiment includes a support base 1, a tower 3 disposed on the support base 1, a belt 4, a weight box 11, and a driving system, wherein the support base 1 and the tower 3 use a pull rod to support the weight box 2, and the driving system is fixedly connected to the weight box 11. The weight of a driving system (comprising a motor 13, a speed reducer, a roller 12 and the like) is acted on the weight box 11 innovatively, so that the volume and the weight of an upper platform of a tower-type pumping unit are reduced, the integral center of gravity of a tower 3 is moved downwards, the operation is safer, when maintenance and repair are needed in the working process of the tower-type pumping unit, the pumping unit is stopped, the weight system falls to the bottom, the top platform of the pumping unit does not need to be climbed, the danger of high-altitude operation is solved, when the pumping unit is maintained, a crane does not need to be matched, the maintenance is convenient, the maintenance time and cost are saved, and the working efficiency is improved; meanwhile, the filling of the balance weight iron is reduced, and resources are saved.
A front guide wheel 7, a rear guide wheel 6, a front belt fixing clamp 8 and a rear belt fixing clamp 5 are fixedly mounted on the platform of the tower 3, the front belt fixing clamp 8 is positioned at one end of the tower 3 close to a well mouth, the rear belt fixing clamp 5 is positioned at one end of the tower 3 far away from the well mouth, and the rear guide wheel 6 and the front guide wheel 7 play a role in guiding the belt 4; the front belt fixing clamp 8 and the rear belt fixing clamp 5 play a role in fixing two ends of the belt 4.
A reversing movable pulley 9 is arranged below the platform of the tower 3, and the direction of the belt 4 is changed by the reversing movable pulley 9.
The driving system comprises a motor 13 and a roller 12, in the embodiment, the motor 13 is positioned below the roller 12, and the motor 13 is used as a power source to drive the roller 12 to rotate; the roller 12 acts as a reversing movable pulley corresponding to the reversing movable pulley 9 at the wellhead, thereby ensuring that the stroke from the sucker rod 10 is equal to the lifting height of the weight box 11.
One end of the belt 4 is fixed on the rear belt fixing clamp 5, and the other end of the belt 4 winds around the roller 12 from bottom to top, then winds over the rear guide wheel 6 and the front guide wheel 7, then winds around the reversing movable pulley 9 from top to bottom and then is fixed on the front belt fixing clamp 8; the weight box 11 is slightly heavier than the load of the well head, the motor 13 and the roller 12 with the speed reducing mechanism drive the weight box 11 and the sucker rod 10 to reciprocate through the belt 4. The motor 13 rotates forward to drive the weight box 11 and the driving system to move upwards, the sucker rod 10 moves downwards, the motor 13 rotates reversely, the driving system and the weight box 11 move downwards, and the sucker rod 10 moves upwards.
The motor 13 of the invention is automatically controlled by an automatic control system, and the stroke and the frequency of stroke of the oil pumping unit can be adjusted at will within a set range.
In order to improve the strength of the belt 4, a steel wire rope core 401 is arranged in the belt 4, and the length direction of the steel wire rope core 401 is consistent with the length direction of the belt 4.
In order to avoid the slippage of the roller 12 and the belt 4 when rotating, the surface of the belt 4 is processed with teeth, and the outer surface of the roller 12 is processed with teeth meshed with the teeth on the belt 4, thereby increasing the transmission efficiency and ensuring the stability of the stroke length of the oil pumping unit.

Claims (3)

1.一种塔架式抽油机,包括支撑底座(1)、设置在支撑底座(1)上的塔架(3)、皮带(4)、配重箱(11)和驱动系统,其特征在于:所述的驱动系统与配重箱(11)固定连接,所述的塔架(3)平台上固定安装有前导向轮(7)、后导向轮(6)、前皮带固定夹(8)和后皮带固定夹(5),所述的前皮带固定夹(8)位于靠近井口的塔架(3)一端,所述的后皮带固定夹(5)位于远离井口的塔架(3)一端,塔架(3)平台下方设置有换向动滑轮(9),所述的驱动系统包括电机(13)和滚筒(12),所述的电机(13)作为动力源驱动滚筒(12)转动;1. A tower type oil pumping unit, comprising a support base (1), a tower (3) arranged on the support base (1), a belt (4), a counterweight box (11) and a drive system, characterized in that : the drive system is fixedly connected with the counterweight box (11), and the front guide wheel (7), the rear guide wheel (6), the front belt fixing clip (8) and a rear belt fixing clip (5), the front belt fixing clip (8) is located at one end of the tower (3) close to the wellhead, and the rear belt fixing clip (5) is located at one end of the tower (3) away from the wellhead, A reversing pulley (9) is arranged under the platform of the tower (3), the drive system includes a motor (13) and a roller (12), and the motor (13) is used as a power source to drive the roller (12) to rotate; 所述的皮带(4)一端固定在后皮带固定夹(5)上,皮带(4)另一端自下而上绕过滚筒(12),接着绕过后导向轮(6)和前导向轮(7)上方,然后自上而下绕过换向动滑轮(9)后固定在前皮带固定夹(8)上。One end of the belt (4) is fixed on the rear belt fixing clip (5), and the other end of the belt (4) goes around the drum (12) from bottom to top, and then goes around the rear guide wheel (6) and the front guide wheel (7). ), then go around the reversing pulley (9) from top to bottom and fix it on the front belt fixing clip (8). 2.根据权利要求1所述的一种塔架式抽油机,其特征在于:所述的皮带(4)内设置有钢丝绳芯(401),钢丝绳芯(401)长度方向与皮带(4)长度方向一致。2. A tower type pumping unit according to claim 1, characterized in that: the belt (4) is provided with a steel wire rope core (401), and the length direction of the steel wire rope core (401) is the same as that of the belt (4) The length direction is the same. 3.根据权利要求1或2任意一项所述的一种塔架式抽油机,其特征在于:所述的皮带(4)表面加工有齿牙,所述的滚筒(12)外表面加工有与皮带(4)上的齿牙啮合的齿牙。3. A tower type pumping unit according to any one of claims 1 or 2, characterized in that: the surface of the belt (4) is machined with teeth, and the outer surface of the drum (12) is machined There are teeth that mesh with the teeth on the belt (4).
CN202011596576.0A 2020-12-29 2020-12-29 Tower type oil pumping unit Pending CN112593900A (en)

Priority Applications (1)

Application Number Priority Date Filing Date Title
CN202011596576.0A CN112593900A (en) 2020-12-29 2020-12-29 Tower type oil pumping unit

Applications Claiming Priority (1)

Application Number Priority Date Filing Date Title
CN202011596576.0A CN112593900A (en) 2020-12-29 2020-12-29 Tower type oil pumping unit

Publications (1)

Publication Number Publication Date
CN112593900A true CN112593900A (en) 2021-04-02

Family

ID=75204083

Family Applications (1)

Application Number Title Priority Date Filing Date
CN202011596576.0A Pending CN112593900A (en) 2020-12-29 2020-12-29 Tower type oil pumping unit

Country Status (1)

Country Link
CN (1) CN112593900A (en)

Cited By (2)

* Cited by examiner, † Cited by third party
Publication number Priority date Publication date Assignee Title
CN116575890A (en) * 2023-06-29 2023-08-11 大庆石油管理局有限公司 Tower type oil pumping unit guiding device safety protection structure
CN116696286A (en) * 2023-07-17 2023-09-05 大庆石油管理局有限公司 Bottom driving tower type oil pumping machine

Citations (16)

* Cited by examiner, † Cited by third party
Publication number Priority date Publication date Assignee Title
CN2491601Y (en) * 2001-07-27 2002-05-15 沈阳金田石油机械制造有限公司 Chain belt pumping unit
CN2502007Y (en) * 2001-07-27 2002-07-24 沈阳金田石油机械制造有限公司 Oil punping unit with four wheels
CN2507994Y (en) * 2001-07-27 2002-08-28 沈阳金田石油机械制造有限公司 Drum type pumping unit
CN2627241Y (en) * 2003-06-20 2004-07-21 沈阳金田石油机械制造有限公司 Double-acting type intelligent well pumping unit
CN2849153Y (en) * 2005-10-18 2006-12-20 中国石化集团胜利石油管理局总机械厂 Toothed belt electric machine reversal oil pumping machine
CN101059071A (en) * 2006-12-22 2007-10-24 杨帆 Lifting weight balance beam type oil pump
CN201027534Y (en) * 2007-03-16 2008-02-27 李卫平 Multi-rope double-cylinder compound-wound friction-type oil-pumping machine
CN201202442Y (en) * 2008-06-02 2009-03-04 淄博大通石油机械有限公司 Balance energy-saving oil pumping machine
CN201535155U (en) * 2009-04-21 2010-07-28 北京兰德伟业科技发展有限公司 Permanent magnet motor double-row chain drive-type oil pumping unit
CN201535154U (en) * 2009-04-21 2010-07-28 北京兰德伟业科技发展有限公司 Permanent-magnet motor poly-wedge belt transmission driving type oil extractor
CN202152669U (en) * 2011-06-30 2012-02-29 中国石油天然气集团公司 Direct-drive drum full-balanced pumping unit
CN104329061A (en) * 2014-11-14 2015-02-04 大庆丹诺石油科技开发有限公司 Walking-beam-free type intelligent oil pumping unit
CN105178920A (en) * 2015-10-23 2015-12-23 任丘市立信石油机械制造有限公司 Derrick framed pumping unit
CN204941471U (en) * 2015-07-23 2016-01-06 浙江西传电气科技有限公司 The high-efficiency pumping unit that a kind of belt slows down
CN205382918U (en) * 2015-11-11 2016-07-13 上海兰石重工机械有限公司 Two -way speed governing belt formula beam -pumping unit of long stroke
CN213980765U (en) * 2020-12-29 2021-08-17 大庆丹诺石油科技开发有限公司 Tower type oil pumping unit

Patent Citations (16)

* Cited by examiner, † Cited by third party
Publication number Priority date Publication date Assignee Title
CN2491601Y (en) * 2001-07-27 2002-05-15 沈阳金田石油机械制造有限公司 Chain belt pumping unit
CN2502007Y (en) * 2001-07-27 2002-07-24 沈阳金田石油机械制造有限公司 Oil punping unit with four wheels
CN2507994Y (en) * 2001-07-27 2002-08-28 沈阳金田石油机械制造有限公司 Drum type pumping unit
CN2627241Y (en) * 2003-06-20 2004-07-21 沈阳金田石油机械制造有限公司 Double-acting type intelligent well pumping unit
CN2849153Y (en) * 2005-10-18 2006-12-20 中国石化集团胜利石油管理局总机械厂 Toothed belt electric machine reversal oil pumping machine
CN101059071A (en) * 2006-12-22 2007-10-24 杨帆 Lifting weight balance beam type oil pump
CN201027534Y (en) * 2007-03-16 2008-02-27 李卫平 Multi-rope double-cylinder compound-wound friction-type oil-pumping machine
CN201202442Y (en) * 2008-06-02 2009-03-04 淄博大通石油机械有限公司 Balance energy-saving oil pumping machine
CN201535155U (en) * 2009-04-21 2010-07-28 北京兰德伟业科技发展有限公司 Permanent magnet motor double-row chain drive-type oil pumping unit
CN201535154U (en) * 2009-04-21 2010-07-28 北京兰德伟业科技发展有限公司 Permanent-magnet motor poly-wedge belt transmission driving type oil extractor
CN202152669U (en) * 2011-06-30 2012-02-29 中国石油天然气集团公司 Direct-drive drum full-balanced pumping unit
CN104329061A (en) * 2014-11-14 2015-02-04 大庆丹诺石油科技开发有限公司 Walking-beam-free type intelligent oil pumping unit
CN204941471U (en) * 2015-07-23 2016-01-06 浙江西传电气科技有限公司 The high-efficiency pumping unit that a kind of belt slows down
CN105178920A (en) * 2015-10-23 2015-12-23 任丘市立信石油机械制造有限公司 Derrick framed pumping unit
CN205382918U (en) * 2015-11-11 2016-07-13 上海兰石重工机械有限公司 Two -way speed governing belt formula beam -pumping unit of long stroke
CN213980765U (en) * 2020-12-29 2021-08-17 大庆丹诺石油科技开发有限公司 Tower type oil pumping unit

Cited By (4)

* Cited by examiner, † Cited by third party
Publication number Priority date Publication date Assignee Title
CN116575890A (en) * 2023-06-29 2023-08-11 大庆石油管理局有限公司 Tower type oil pumping unit guiding device safety protection structure
CN116575890B (en) * 2023-06-29 2023-11-21 大庆石油管理局有限公司 Tower type oil pumping unit guiding device safety protection structure
CN116696286A (en) * 2023-07-17 2023-09-05 大庆石油管理局有限公司 Bottom driving tower type oil pumping machine
CN116696286B (en) * 2023-07-17 2023-11-21 大庆石油管理局有限公司 Bottom driving tower type oil pumping machine

Similar Documents

Publication Publication Date Title
CN213171204U (en) Construction equipment hoisting device
CN219239049U (en) Bridge crane with anti-swing function
CN112593900A (en) Tower type oil pumping unit
CN110759212A (en) A mine hoist with high safety
CN213980765U (en) Tower type oil pumping unit
CN208916655U (en) A kind of adjustable counter balance lifting device
CN212954002U (en) Multifunctional tower crane
CN210341634U (en) Viaduct outer wall painting crane
CN210764017U (en) Hoisting machinery device for building
CN109678070B (en) Movable counterweight realizing mechanism of movable arm tower crane
CN114775990B (en) Safety type externally hung operation platform for assembled building
CN212712411U (en) Crane walking locking device
CN211081811U (en) Short direct-drive long-stroke pumping unit without mechanical balance
CN210340178U (en) Low headroom three-in-one internal translational electric hoist
CN211081810U (en) Two-way drive belt rope shared electric energy storage pumping unit
CN222410828U (en) A mobile winch
CN113666274A (en) A kind of building intelligent lifting equipment
CN214456433U (en) Winch lifting device with variable frequency control assembly
CN216515581U (en) Hoist engine for pile driver with winding displacement function
CN220285724U (en) Chain type oil pumping unit
CN221397213U (en) Lifting overhauling device
CN218595947U (en) Hoisting assembly based on crane frequency converter
CN221165762U (en) Double-point crane
CN209778223U (en) Wind power maintenance device with lifting function
CN219839388U (en) Wire drawing mechanism assembly structure of wire drawing machine frame

Legal Events

Date Code Title Description
PB01 Publication
PB01 Publication
SE01 Entry into force of request for substantive examination
SE01 Entry into force of request for substantive examination
RJ01 Rejection of invention patent application after publication

Application publication date: 20210402

RJ01 Rejection of invention patent application after publication