CN110270548B - A medical scalpel cleaning device - Google Patents
A medical scalpel cleaning device Download PDFInfo
- Publication number
- CN110270548B CN110270548B CN201910697450.3A CN201910697450A CN110270548B CN 110270548 B CN110270548 B CN 110270548B CN 201910697450 A CN201910697450 A CN 201910697450A CN 110270548 B CN110270548 B CN 110270548B
- Authority
- CN
- China
- Prior art keywords
- piston
- cleaning
- block
- inner cavity
- cavity
- Prior art date
- Legal status (The legal status is an assumption and is not a legal conclusion. Google has not performed a legal analysis and makes no representation as to the accuracy of the status listed.)
- Active
Links
- 238000004140 cleaning Methods 0.000 title claims abstract description 92
- 239000007788 liquid Substances 0.000 claims abstract description 38
- 230000000903 blocking effect Effects 0.000 claims description 13
- 238000005507 spraying Methods 0.000 claims description 11
- 239000002699 waste material Substances 0.000 claims description 11
- 238000004659 sterilization and disinfection Methods 0.000 claims description 10
- 238000001125 extrusion Methods 0.000 claims description 9
- XLYOFNOQVPJJNP-UHFFFAOYSA-N water Substances O XLYOFNOQVPJJNP-UHFFFAOYSA-N 0.000 claims description 6
- 230000006835 compression Effects 0.000 claims description 5
- 238000007906 compression Methods 0.000 claims description 5
- 238000005201 scrubbing Methods 0.000 claims description 5
- 238000004891 communication Methods 0.000 abstract description 11
- 239000007921 spray Substances 0.000 abstract description 9
- 230000000694 effects Effects 0.000 abstract description 2
- 238000000034 method Methods 0.000 description 3
- 238000001035 drying Methods 0.000 description 2
- 238000012986 modification Methods 0.000 description 2
- 230000004048 modification Effects 0.000 description 2
- 238000001356 surgical procedure Methods 0.000 description 2
- 238000005406 washing Methods 0.000 description 2
- 206010036410 Postoperative wound infection Diseases 0.000 description 1
- 208000031650 Surgical Wound Infection Diseases 0.000 description 1
- 206010048038 Wound infection Diseases 0.000 description 1
- 230000009286 beneficial effect Effects 0.000 description 1
- 239000008280 blood Substances 0.000 description 1
- 210000004369 blood Anatomy 0.000 description 1
- 238000011109 contamination Methods 0.000 description 1
- 230000007547 defect Effects 0.000 description 1
- 238000001914 filtration Methods 0.000 description 1
- 239000012530 fluid Substances 0.000 description 1
- 208000015181 infectious disease Diseases 0.000 description 1
- 230000001681 protective effect Effects 0.000 description 1
- 230000035939 shock Effects 0.000 description 1
- 238000006467 substitution reaction Methods 0.000 description 1
Images
Classifications
-
- A—HUMAN NECESSITIES
- A61—MEDICAL OR VETERINARY SCIENCE; HYGIENE
- A61L—METHODS OR APPARATUS FOR STERILISING MATERIALS OR OBJECTS IN GENERAL; DISINFECTION, STERILISATION OR DEODORISATION OF AIR; CHEMICAL ASPECTS OF BANDAGES, DRESSINGS, ABSORBENT PADS OR SURGICAL ARTICLES; MATERIALS FOR BANDAGES, DRESSINGS, ABSORBENT PADS OR SURGICAL ARTICLES
- A61L2/00—Methods or apparatus for disinfecting or sterilising materials or objects other than foodstuffs or contact lenses; Accessories therefor
- A61L2/02—Methods or apparatus for disinfecting or sterilising materials or objects other than foodstuffs or contact lenses; Accessories therefor using physical phenomena
- A61L2/08—Radiation
- A61L2/10—Ultraviolet radiation
-
- B—PERFORMING OPERATIONS; TRANSPORTING
- B08—CLEANING
- B08B—CLEANING IN GENERAL; PREVENTION OF FOULING IN GENERAL
- B08B1/00—Cleaning by methods involving the use of tools
- B08B1/10—Cleaning by methods involving the use of tools characterised by the type of cleaning tool
- B08B1/14—Wipes; Absorbent members, e.g. swabs or sponges
- B08B1/143—Wipes
-
- B—PERFORMING OPERATIONS; TRANSPORTING
- B08—CLEANING
- B08B—CLEANING IN GENERAL; PREVENTION OF FOULING IN GENERAL
- B08B1/00—Cleaning by methods involving the use of tools
- B08B1/20—Cleaning of moving articles, e.g. of moving webs or of objects on a conveyor
-
- B—PERFORMING OPERATIONS; TRANSPORTING
- B08—CLEANING
- B08B—CLEANING IN GENERAL; PREVENTION OF FOULING IN GENERAL
- B08B13/00—Accessories or details of general applicability for machines or apparatus for cleaning
-
- B—PERFORMING OPERATIONS; TRANSPORTING
- B08—CLEANING
- B08B—CLEANING IN GENERAL; PREVENTION OF FOULING IN GENERAL
- B08B3/00—Cleaning by methods involving the use or presence of liquid or steam
- B08B3/02—Cleaning by the force of jets or sprays
- B08B3/022—Cleaning travelling work
-
- F—MECHANICAL ENGINEERING; LIGHTING; HEATING; WEAPONS; BLASTING
- F26—DRYING
- F26B—DRYING SOLID MATERIALS OR OBJECTS BY REMOVING LIQUID THEREFROM
- F26B21/00—Arrangements or duct systems, e.g. in combination with pallet boxes, for supplying and controlling air or gases for drying solid materials or objects
Landscapes
- Engineering & Computer Science (AREA)
- Health & Medical Sciences (AREA)
- Mechanical Engineering (AREA)
- General Engineering & Computer Science (AREA)
- Epidemiology (AREA)
- Life Sciences & Earth Sciences (AREA)
- Animal Behavior & Ethology (AREA)
- General Health & Medical Sciences (AREA)
- Public Health (AREA)
- Veterinary Medicine (AREA)
- Cleaning By Liquid Or Steam (AREA)
- Apparatus For Disinfection Or Sterilisation (AREA)
Abstract
本发明公开了一种医用手术刀清洗装置,包括清洗机主体和放置板,所述清洗机主体的内腔中设置有清洗液箱,所述清洗液箱对称连通有清洗液管,所述清洗液管上连通有多个连通支管,所述连通支管上设置有喷洒球,所述喷洒球上开设有多个喷洒孔;所述清洗机主体的内腔中固定设置有支撑板,所述支撑板开设的凹槽中活动设置有转动块,所述转动块通过连杆连接有转轴,所述转轴上固定设置有旋转电机,所述放置板的内腔中设置有连通主腔,所述连通主腔和转轴的内腔相通。本发明提供了医用手术刀清洁装置,能够独立地对手术刀进行清洁,并且能够改变对刀柄的夹持位置,使得被夹持处也能得到清洗,清洗后及时干燥消毒,避免二次污染,有效提升整体的清洁效果。
The invention discloses a medical scalpel cleaning device, comprising a cleaning machine main body and a placing plate. A cleaning liquid tank is arranged in the inner cavity of the cleaning machine main body, and a cleaning liquid pipe is symmetrically connected with the cleaning liquid tank. The liquid pipe is connected with a plurality of communication branch pipes, the communication branch pipes are provided with spray balls, and the spray balls are provided with a plurality of spray holes; a support plate is fixed in the inner cavity of the main body of the cleaning machine, and the support plates A rotating block is movably arranged in the groove opened by the plate. The rotating block is connected with a rotating shaft through a connecting rod. A rotating motor is fixed on the rotating shaft. The main cavity is communicated with the inner cavity of the rotating shaft. The invention provides a medical scalpel cleaning device, which can independently clean the scalpel, and can change the clamping position of the knife handle, so that the clamped part can also be cleaned, and the cleaning device can be dried and disinfected in time to avoid secondary pollution. , effectively improve the overall cleaning effect.
Description
技术领域technical field
本发明涉及医疗器械技术领域,具体为一种医用手术刀清洗装置。The invention relates to the technical field of medical instruments, in particular to a cleaning device for medical scalpels.
背景技术Background technique
医院经常需要进行各种手术,手术中需要大批量的手术刀,手术刀残留的大量血迹若不彻底清洗容易给病人造成感染,但是清洗的工作强度非常大,大量手术刀放置在同一清洗箱中清洗,容易使手术刀发生碰撞,导致锋利的手术刀刀尖造成损坏,而且在清洗之后若没有立即进行烘干消毒,会造成手术刀的二次污染,对于现有的手术刀清洗装置,其被夹持部位无法被清洗干净,会影响患者术后的伤口感染。Hospitals often need to carry out various operations, and a large number of scalpels are needed during the operation. If a large amount of blood stains left on the scalpel is not thoroughly cleaned, it will easily cause infection to the patient, but the cleaning work is very intensive, and a large number of scalpels are placed in the same cleaning box. Cleaning, it is easy to cause the scalpel to collide, causing damage to the sharp scalpel tip, and if drying and disinfection is not performed immediately after cleaning, it will cause secondary pollution of the scalpel. For the existing scalpel cleaning device, its The clamped part cannot be cleaned, which will affect the postoperative wound infection of the patient.
现有技术中,申请号为“201711308471.9”的一种医用手术刀清洗装置,包括H型的底座,所述底座顶部中央通过减震装置连接有清洗箱,所述清洗箱顶部从左向右依次设有水泵、清水箱、电机和风机,且电机位于清洗箱顶部中央,所述电机的输出端上安装有转杆,所述转杆外壁均匀设有夹紧装置,且夹紧装置底部安装手术刀,该医用手术刀清洗装置操作方便,将需要清洗的手术刀装夹在夹紧孔内,加紧底座顶部右端设有定位销,起到保护作用,防止相关人员误操作造成手术刀掉落损坏,采用一刀一夹具形式,不仅降低工作强度,还有效避免手术刀在清洗的过程中大量的手术刀发生碰撞,八组结构相同的喷嘴提高了手术刀的清洗效率。In the prior art, a medical scalpel cleaning device with application number "201711308471.9" includes an H-shaped base, and the center of the top of the base is connected with a cleaning box through a shock absorbing device, and the top of the cleaning box is sequentially from left to right. There is a water pump, a clean water tank, a motor and a fan, and the motor is located in the center of the top of the cleaning box. A rotating rod is installed on the output end of the motor. The outer wall of the rotating rod is evenly provided with a clamping device, and the bottom of the clamping device is installed with surgery. This medical scalpel cleaning device is easy to operate. It clamps the scalpel to be cleaned in the clamping hole, and there is a positioning pin on the right end of the top of the tightening base, which plays a protective role and prevents the scalpel from being damaged due to misoperation by the relevant personnel. , Adopting the form of one knife and one fixture, not only reduces the working intensity, but also effectively avoids the collision of a large number of scalpels during the cleaning process. Eight groups of nozzles with the same structure improve the cleaning efficiency of the scalpel.
但是,其在使用过程中,仍然存在较为明显的缺陷:对医疗器械的被夹持部位不能进行清洗和灭菌处理,使得手术刀的清洗消毒不够彻底,会影响患者手术后的伤口感染,使人手术后无法康复。However, during its use, there are still obvious defects: the clamped parts of the medical instruments cannot be cleaned and sterilized, so that the cleaning and disinfection of the scalpel is not thorough enough, which will affect the wound infection of the patient after the operation, causing the People cannot recover after surgery.
发明内容SUMMARY OF THE INVENTION
本发明的目的在于提供一种医用手术刀清洗装置,以解决上述背景技术中提出的问题。The purpose of the present invention is to provide a medical scalpel cleaning device to solve the above-mentioned problems in the background art.
为实现上述目的,本发明提供如下技术方案:To achieve the above object, the present invention provides the following technical solutions:
一种医用手术刀清洗装置,包括清洗机主体和放置板,所述清洗机主体的内腔中设置有清洗液箱,所述清洗液箱对称连通有清洗液管,所述清洗液管上连通有多个连通支管,所述连通支管上设置有喷洒球,所述喷洒球上开设有多个喷洒孔;A medical scalpel cleaning device includes a cleaning machine main body and a placing plate, a cleaning liquid tank is arranged in the inner cavity of the cleaning machine main body, the cleaning liquid tank is symmetrically connected with a cleaning liquid pipe, and the cleaning liquid pipe is connected to the upper part of the cleaning liquid pipe. There are a plurality of communicating branch pipes, the communicating branch pipes are provided with spraying balls, and the spraying balls are provided with a plurality of spraying holes;
所述清洗机主体的内腔中固定设置有支撑板,所述支撑板开设的凹槽中活动设置有转动块,所述转动块通过连杆连接有转轴,所述转轴上固定设置有旋转电机,所述放置板的内腔中设置有连通主腔,所述连通主腔和转轴的内腔相通,所述连通主腔连通有多个活塞支路;A support plate is fixed in the inner cavity of the main body of the cleaning machine, a rotating block is movably arranged in the groove opened by the support plate, the rotating block is connected with a rotating shaft through a connecting rod, and a rotating motor is fixed on the rotating shaft , the inner cavity of the placement plate is provided with a communication main cavity, the communication main cavity is communicated with the inner cavity of the rotating shaft, and the communication main cavity is communicated with a plurality of piston branches;
所述活塞支路的活塞腔中活动设置有活塞块一,所述活塞块一上设置有连接块,所述连接块远离活塞块一的一端连接有承接板,所述承接板上放置有刀柄,所述放置板上开设有多个操作口,所述操作口的两侧对称设置有固定柱,所述固定柱通过压缩弹簧连接有卡块,所述卡块中设置有擦洗海绵,所述擦洗海绵上设置有卡槽,所述卡槽中卡接有刀柄,所述转轴靠近旋转电机的一侧设置有挤压活塞,所述转轴的内腔和挤压活塞的内腔相连通,所述挤压活塞中活动设置有活塞块二,所述活塞块二上固定设置有推杆。A piston block 1 is movably arranged in the piston cavity of the piston branch, a connecting block is arranged on the piston block 1, and an end of the connecting block away from the piston block 1 is connected with a bearing plate, and a knife is placed on the bearing plate. There are a plurality of operation ports on the placing plate, fixed columns are symmetrically arranged on both sides of the operation ports, and the fixed columns are connected with a clamping block through a compression spring. The scrub sponge is provided with a card slot, and a knife handle is clipped in the card slot, a squeeze piston is arranged on the side of the rotating shaft close to the rotating motor, and the inner cavity of the rotating shaft is communicated with the inner cavity of the squeeze piston. , a second piston block is movably arranged in the extruding piston, and a push rod is fixedly arranged on the second piston block.
优选的,所述清洗机主体的侧面固定设置有移动把手,所述清洗机主体的的底面固定设置有多个万向轮。Preferably, a moving handle is fixedly arranged on the side of the main body of the cleaning machine, and a plurality of universal wheels are fixedly arranged on the bottom surface of the main body of the cleaning machine.
优选的,所述活塞块一远离活塞支路的活塞腔的一侧对称设置有阻挡块,所述阻挡块固定设置在活塞支路的内侧壁上。Preferably, a blocking block is symmetrically arranged on one side of the piston block away from the piston cavity of the piston branch, and the blocking block is fixedly arranged on the inner side wall of the piston branch.
优选的,所述活塞块二靠近推杆的一侧对称设置有阻挡块,所述阻挡块固定于挤压活塞的内侧壁上。Preferably, a blocking block is symmetrically arranged on one side of the second piston block close to the push rod, and the blocking block is fixed on the inner side wall of the extrusion piston.
优选的,所述支撑板和放置板上均开设有多个沥水孔,所述支撑板靠近清洗液箱的一端通过导流板连通于废液箱,所述导流板和废液箱的接口处设置有过滤网。Preferably, both the support plate and the placement plate are provided with a plurality of drain holes, one end of the support plate close to the cleaning liquid tank is connected to the waste liquid tank through a baffle plate, and the interface between the baffle plate and the waste liquid tank is connected to the waste liquid tank. There is a filter at the place.
优选的,所述清洗机主体的顶端壁上设置有多个出风管和紫外线消毒灯,所述出风管连通于风机,所述风机固定于清洗机主体的外侧壁上。Preferably, a plurality of air outlet pipes and ultraviolet disinfection lamps are provided on the top wall of the main body of the cleaning machine, and the air outlet pipes are connected to a fan, and the fan is fixed on the outer side wall of the main body of the cleaning machine.
与现有技术相比,本发明的有益效果是:Compared with the prior art, the beneficial effects of the present invention are:
1、该装置中的手术刀是独立分开进行清洗的,可以避免大量的手术刀在同一清洗箱中清洗使得手术刀发生碰撞,导致锋利的手术刀刀尖造成损坏;1. The scalpels in the device are cleaned independently, which can avoid a large number of scalpels being cleaned in the same cleaning box, which will cause the scalpels to collide and cause damage to the sharp scalpel tips;
2、该装置中设置有风机干燥装置和紫外线消毒装置,有效避免清洗后的手术刀形成二次污染;2. The device is equipped with a fan drying device and an ultraviolet disinfection device, which can effectively avoid secondary pollution of the cleaned scalpel;
3、清洗中对手术刀刀柄的夹持部位可以改变和移动,消除刀柄夹持处不能清洗消毒的盲点,使得刀柄的整体都能得到清洁,有效提升清洁力度。3. The clamping part of the scalpel handle can be changed and moved during cleaning, eliminating the blind spot that cannot be cleaned and sterilized at the clamping part of the handle, so that the entire handle can be cleaned, effectively improving the cleaning power.
本发明提供了医用手术刀清洁装置,能够独立地对手术刀进行清洁,并且能够改变对刀柄的夹持位置,使得被夹持处也能得到清洗,清洗后及时干燥消毒,避免二次污染,有效提升整体的清洁效果。The invention provides a medical scalpel cleaning device, which can independently clean the scalpel, and can change the clamping position of the knife handle, so that the clamped part can also be cleaned, and the cleaning device can be dried and disinfected in time to avoid secondary pollution. , effectively improve the overall cleaning effect.
附图说明Description of drawings
图1为本发明的整体结构主视剖面图;Fig. 1 is the front sectional view of the overall structure of the present invention;
图2为本发明的放置板中的夹持装置主视剖面细节图;Fig. 2 is the front cross-sectional detail view of the clamping device in the placing plate of the present invention;
图3为本发明的支撑板和放置板的俯视图;Fig. 3 is the top view of the support plate and the placement plate of the present invention;
图4为本发明的夹持装置俯视细节图。Figure 4 is a top detail view of the clamping device of the present invention.
图中:1清洗机主体、2移动把手、3万向轮、4清洗液箱、5清洗液管、6连通支管、7喷洒球、8喷洒孔、9支撑板、10转动块、11放置板、12转轴、13旋转电机、14连通主腔、15活塞支路、16活塞块一、17连接块、18阻挡块、19承接板、20刀柄、21操作口、22固定柱、23压缩弹簧、24卡块、25擦洗海绵、26卡槽、27挤压活塞、28活塞块二、29推杆、30沥水孔、31导流板、32废液箱、33过滤网、34出风管、35紫外线消毒灯、36风机。In the picture: 1 main body of cleaning machine, 2 moving handle, 3 universal wheel, 4 cleaning liquid tank, 5 cleaning liquid pipe, 6 connecting branch pipe, 7 spraying ball, 8 spraying hole, 9 supporting plate, 10 rotating block, 11 placing plate , 12 rotating shaft, 13 rotating motor, 14 connecting main cavity, 15 piston branch, 16 piston block one, 17 connecting block, 18 blocking block, 19 receiving plate, 20 tool handle, 21 operating port, 22 fixed column, 23 compression spring , 24 card blocks, 25 scrub sponges, 26 card slots, 27 squeeze pistons, 28 piston blocks, 29 push rods, 30 drain holes, 31 deflectors, 32 waste tanks, 33 filters, 34 air outlet pipes, 35 UV disinfection lamps, 36 fans.
具体实施方式Detailed ways
下面将结合本发明实施例中的附图,对本发明实施例中的技术方案进行清楚、完整地描述,显然,所描述的实施例仅仅是本发明一部分实施例,而不是全部的实施例。基于本发明中的实施例,本领域普通技术人员在没有做出创造性劳动前提下所获得的所有其他实施例,都属于本发明保护的范围。The technical solutions in the embodiments of the present invention will be clearly and completely described below with reference to the accompanying drawings in the embodiments of the present invention. Obviously, the described embodiments are only a part of the embodiments of the present invention, but not all of the embodiments. Based on the embodiments of the present invention, all other embodiments obtained by those of ordinary skill in the art without creative efforts shall fall within the protection scope of the present invention.
请参阅图1-4,本发明提供一种技术方案:Please refer to Figures 1-4, the present invention provides a technical solution:
一种医用手术刀清洗装置,包括清洗机主体1和放置板11,清洗机主体1的内腔中设置有清洗液箱4,清洗液箱4中储存有用来对手术刀进行清洁的清洗液,清洗液箱4对称连通有清洗液管5,清洗液管5上连通有多个连通支管6,连通支管6上设置有喷洒球7,喷洒球7上开设有多个喷洒孔8,因为喷洒孔8开设在各个不同的角度,所以清洗液会从不同角度的喷洒孔8中喷出对手术刀进行清洗,有效提升清洁力度。A medical scalpel cleaning device, comprising a cleaning machine main body 1 and a placing
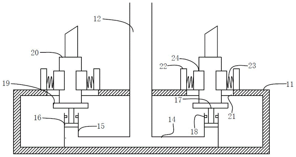
清洗机主体1的内腔中固定设置有支撑板9,支撑板9开设的凹槽中活动设置有转动块10,转动块10可在凹槽中转动而不能脱离凹槽,转动块10通过连杆连接有转轴12,转轴12上固定设置有旋转电机13,旋转电机13可采用5IK120RA-CF、6IK300RGU-CF等其他型号,旋转电机13启动时会带动转轴12随之转动,放置板11的内腔中设置有连通主腔14,连通主腔14和转轴12的内腔相通,连通主腔14连通有多个活塞支路15。A
活塞支路15的活塞腔中活动设置有活塞块一16,活塞块一16上设置有连接块17,连接块17远离活塞块一16的一端连接有承接板19,承接板19上放置有刀柄20,放置板11上开设有多个操作口21,操作口21的两侧对称设置有固定柱22,固定柱22通过压缩弹簧23连接有卡块24,卡块24中设置有擦洗海绵25,擦洗海绵25上设置有卡槽26,卡槽26中卡接有刀柄20,擦洗海绵25用来对刀柄20的夹持部位进行擦洗,转轴12靠近旋转电机13的一侧设置有挤压活塞27,转轴12的内腔和挤压活塞27的内腔相连通,连通主腔14、转轴12的内腔和活塞支路15的内腔相连通,其中填充有活塞液、活塞油等介质,挤压活塞27中活动设置有活塞块二28,活塞块二28上固定设置有推杆29。A piston block one 16 is movably arranged in the piston cavity of the
作为一个优选,清洗机主体1的侧面固定设置有移动把手2,可通过移动把手2推动清洗机主体1,清洗机主体1的的底面固定设置有多个万向轮3,万向轮3的设置可以方便地将清洗机主体1移至各个需要使用的地方。As a preferred option, a moving
作为一个优选,活塞块一16远离活塞支路15的活塞腔的一侧对称设置有阻挡块18,阻挡块18固定设置在活塞支路15的内侧壁上,阻挡块18的作用是防止活塞块一16脱离活塞支路15。As a preferred option, a blocking
作为一个优选,活塞块二28靠近推杆29的一侧对称设置有阻挡块18,阻挡块18固定于挤压活塞27的内侧壁上,阻挡块18的作用是防止活塞块二28脱离挤压活塞27。As a preferred option, a blocking
作为一个优选,支撑板9和放置板11上均开设有多个沥水孔30,支撑板9靠近清洗液箱4的一端通过导流板31连通于废液箱32,清洗后的废液通过沥水孔30流经导流板31,最后流入废液箱32中暂存,导流板31和废液箱32的接口处设置有过滤网33,过滤网33可以对废液进行初步过滤。As a preference, a plurality of drain holes 30 are provided on both the
作为一个优选,清洗机主体1的顶端壁上设置有多个出风管34和紫外线消毒灯35,出风管34连通于风机36,风机36固定于清洗机主体1的外侧壁上,风机36可采用YX-21D-1等其他型号,当风机36启动时,出风管34会吹出风,对清洗后的手术刀进行风干干燥,紫外线消毒灯35对手术刀进行照射消毒,避免二次污染。As a preference, a plurality of air outlet pipes 34 and
工作原理:首先将需要清洁的手术刀固定在夹持装置中,具体地,向靠近固定柱22的方向拨离对称的卡块24,然后将手术刀的刀柄20放置在擦洗海绵25上的卡槽26中,然后松开手,擦洗海绵25和卡块24会在压缩弹簧23的推动作用下紧密夹持住刀柄20,按照上述步骤依次固定好手术刀之后,打开电源开关,水泵带动清洗液箱4中的清洗液依次经过清洗液管5和连通支管6到达喷洒球7,然后从喷洒球7上在不同角度开设的喷洒孔8中喷洒出来,在此期间,旋转电机13带动转轴12发生转动,从而使得放置板11上的待清洁手术刀随之转动,转动过程中不同角度的清洁水柱可以有效冲洗手术刀的各个部位。Working principle: First, fix the scalpel to be cleaned in the clamping device, specifically, pull away from the
在清洗一段时间后,推动推杆29,推杆29会推动活塞块二28向内移动,由于连通主腔14、转轴12的内腔和活塞支路15的内腔都是相连通的,所以当活塞块二28向内移动时,活塞块一16会带动承接板19向上移动,使得承接板19上的刀柄20也在卡槽26中向上移动,在移动的过程中,擦洗海绵25对刀柄20的夹持部位进行了擦洗,使得清洁更加全面彻底。After cleaning for a period of time, push the
在完成清洗后,关闭水泵和旋转电机13,打开紫外线消毒灯35和风机36,紫外线消毒灯35可以对清洁后的手术刀进行照射杀菌消毒,风机36产生的风从出风管34中吹处对手术刀进行干燥,避免二次污染。After cleaning is completed, turn off the water pump and the
尽管已经示出和描述了本发明的实施例,对于本领域的普通技术人员而言,可以理解在不脱离本发明的原理和精神的情况下可以对这些实施例进行多种变化、修改、替换和变型,本发明的范围由所附权利要求及其等同物限定。Although embodiments of the present invention have been shown and described, it will be understood by those skilled in the art that various changes, modifications, and substitutions can be made in these embodiments without departing from the principle and spirit of the invention and modifications, the scope of the present invention is defined by the appended claims and their equivalents.
Claims (6)
Priority Applications (1)
| Application Number | Priority Date | Filing Date | Title |
|---|---|---|---|
| CN201910697450.3A CN110270548B (en) | 2019-07-30 | 2019-07-30 | A medical scalpel cleaning device |
Applications Claiming Priority (1)
| Application Number | Priority Date | Filing Date | Title |
|---|---|---|---|
| CN201910697450.3A CN110270548B (en) | 2019-07-30 | 2019-07-30 | A medical scalpel cleaning device |
Publications (2)
| Publication Number | Publication Date |
|---|---|
| CN110270548A CN110270548A (en) | 2019-09-24 |
| CN110270548B true CN110270548B (en) | 2020-09-01 |
Family
ID=67965732
Family Applications (1)
| Application Number | Title | Priority Date | Filing Date |
|---|---|---|---|
| CN201910697450.3A Active CN110270548B (en) | 2019-07-30 | 2019-07-30 | A medical scalpel cleaning device |
Country Status (1)
| Country | Link |
|---|---|
| CN (1) | CN110270548B (en) |
Families Citing this family (6)
| Publication number | Priority date | Publication date | Assignee | Title |
|---|---|---|---|---|
| CN113245271A (en) * | 2020-10-30 | 2021-08-13 | 远绿新材料科技(江苏)有限公司 | Plastic product cleaning device |
| CN112402035B (en) * | 2020-11-18 | 2021-10-22 | 宁辉 | A cleaning device for a scalpel |
| CN114985337B (en) * | 2022-05-13 | 2024-09-10 | 南京米瑞科新材料科技有限公司 | Double-sided dirt removing equipment based on turnover type light-emitting plate before installation |
| CN116851339B (en) * | 2023-09-04 | 2024-03-26 | 山东大学齐鲁医院 | A device for cleaning blood stains on surgical instruments |
| CN117102143B (en) * | 2023-10-15 | 2024-01-09 | 山东海博橡塑制品有限公司 | Medical instrument rubber product belt cleaning device |
| CN117753722B (en) * | 2024-02-22 | 2024-05-03 | 南通荷塘崔月医疗科技有限公司 | Medical instrument brushing equipment |
Citations (10)
| Publication number | Priority date | Publication date | Assignee | Title |
|---|---|---|---|---|
| JP4046287B2 (en) * | 2004-09-27 | 2008-02-13 | 株式会社Ihiシバウラ | Cleaning sterilizer |
| CN205814452U (en) * | 2016-05-28 | 2016-12-21 | 王�琦 | Scalpel for neurosurgery cleans device |
| CN206867289U (en) * | 2016-12-09 | 2018-01-12 | 高勇 | A kind of medical operating knife cleaning machine |
| CN108043791A (en) * | 2017-12-11 | 2018-05-18 | 李时英 | A kind of medical surgical knife cleaning device and cleaning method |
| CN207412249U (en) * | 2017-03-15 | 2018-05-29 | 王志超 | A kind of scalpel for neurosurgery cleaning device |
| CN108273081A (en) * | 2018-04-16 | 2018-07-13 | 丁赛赛 | A kind of medical surgical knife method for disinfection and sterilization |
| CN108273082A (en) * | 2018-04-16 | 2018-07-13 | 丁赛赛 | A kind of medical surgical knife sterilization device |
| CN108378935A (en) * | 2018-04-08 | 2018-08-10 | 倪菁菁 | A kind of medical surgical knife cleaning appts |
| CN208800464U (en) * | 2018-08-27 | 2019-04-30 | 姜旭 | Surgeon's surgical knife tool cleaning device |
| CN110037810A (en) * | 2019-05-08 | 2019-07-23 | 张志敏 | A kind of Multifunctional surgical cutter cleaning sterilizing device |
-
2019
- 2019-07-30 CN CN201910697450.3A patent/CN110270548B/en active Active
Patent Citations (10)
| Publication number | Priority date | Publication date | Assignee | Title |
|---|---|---|---|---|
| JP4046287B2 (en) * | 2004-09-27 | 2008-02-13 | 株式会社Ihiシバウラ | Cleaning sterilizer |
| CN205814452U (en) * | 2016-05-28 | 2016-12-21 | 王�琦 | Scalpel for neurosurgery cleans device |
| CN206867289U (en) * | 2016-12-09 | 2018-01-12 | 高勇 | A kind of medical operating knife cleaning machine |
| CN207412249U (en) * | 2017-03-15 | 2018-05-29 | 王志超 | A kind of scalpel for neurosurgery cleaning device |
| CN108043791A (en) * | 2017-12-11 | 2018-05-18 | 李时英 | A kind of medical surgical knife cleaning device and cleaning method |
| CN108378935A (en) * | 2018-04-08 | 2018-08-10 | 倪菁菁 | A kind of medical surgical knife cleaning appts |
| CN108273081A (en) * | 2018-04-16 | 2018-07-13 | 丁赛赛 | A kind of medical surgical knife method for disinfection and sterilization |
| CN108273082A (en) * | 2018-04-16 | 2018-07-13 | 丁赛赛 | A kind of medical surgical knife sterilization device |
| CN208800464U (en) * | 2018-08-27 | 2019-04-30 | 姜旭 | Surgeon's surgical knife tool cleaning device |
| CN110037810A (en) * | 2019-05-08 | 2019-07-23 | 张志敏 | A kind of Multifunctional surgical cutter cleaning sterilizing device |
Also Published As
| Publication number | Publication date |
|---|---|
| CN110270548A (en) | 2019-09-24 |
Similar Documents
| Publication | Publication Date | Title |
|---|---|---|
| CN110270548B (en) | A medical scalpel cleaning device | |
| CN204974548U (en) | Ophthalmology medical treatment instrument washs case | |
| CN106668891A (en) | Medical appliance cleaning circulation sterilization drying device | |
| CN109125770A (en) | A kind of Medical appliance decontaminating apparatus | |
| CN104707821A (en) | Energy-saving type medical equipment cleaning and sterilization device | |
| CN112089873A (en) | Dental medical instrument disinfection device | |
| CN107199202A (en) | A kind of cleaning device of medicine equipment | |
| CN108380553A (en) | A kind of cleaning machine for Medical Devices cleaning | |
| CN211244296U (en) | Debridement operation table for general surgery department | |
| CN108325924B (en) | A multifunctional medical tool cleaning device | |
| CN213194743U (en) | Multi-functional ophthalmology medical instrument cleaning equipment | |
| CN118002539B (en) | A medical device instant cleaning device | |
| CN211214549U (en) | Medical instrument disinfection cabinet with quick drying structure | |
| CN109759383B (en) | Medical instrument disinfection device | |
| CN217616654U (en) | Biochemical experiment table convenient to cleaning and disinfecting | |
| CN112676202A (en) | Postoperative medical instrument belt cleaning device | |
| CN211985741U (en) | Multifunctional hand brushing machine for cleaning and disinfecting hands | |
| CN214343604U (en) | Medical instrument disinfecting equipment | |
| CN209334296U (en) | A kind of medical operational tool cleaning device | |
| CN214052873U (en) | A medical laboratory test tube cleaning device | |
| CN108906814A (en) | A kind of construction and decoration emulsion paint plastic barrel processing equipment and automatic processing process | |
| CN112676235A (en) | Cleaning and disinfecting equipment for operating room instruments and using method thereof | |
| CN114543480A (en) | Medical instrument cleaning and drying device | |
| CN210010226U (en) | Tool cleaning and sterilizing device for endoscope chamber | |
| CN113730628A (en) | Metal material surgical instruments disinfection and sterilization device |
Legal Events
| Date | Code | Title | Description |
|---|---|---|---|
| PB01 | Publication | ||
| PB01 | Publication | ||
| SE01 | Entry into force of request for substantive examination | ||
| SE01 | Entry into force of request for substantive examination | ||
| TA01 | Transfer of patent application right | ||
| TA01 | Transfer of patent application right |
Effective date of registration: 20200803 Address after: No. 2, f workshop, No. 18, Yunlong Road, Longhu high tech Zone, Huaibei Economic Development Zone, Anhui Province Applicant after: Huaibei hehuoren Technology Co.,Ltd. Address before: Qianlong Lake Industrial Park, Suixi Town, Suixi County, Huaibei City, Anhui Province Applicant before: HUAIBEI RUJIA MEDICAL TECHNOLOGY Co.,Ltd. |
|
| GR01 | Patent grant | ||
| GR01 | Patent grant | ||
| TR01 | Transfer of patent right | ||
| TR01 | Transfer of patent right |
Effective date of registration: 20241205 Address after: No. 601, Fangxing Building, No. 212 Jianhua South Street, Yuhua District, Shijiazhuang City, Hebei Province, China 050000 Patentee after: Hebei Kunxiang Medical Equipment Sales Co.,Ltd. Country or region after: China Address before: No.2, F-type factory building, No.18, Yunlong Road, Longhu high tech Zone, Huaibei Economic Development Zone, Anhui Province Patentee before: Huaibei hehuoren Technology Co.,Ltd. Country or region before: China |
