CN109866812B - 电器开关柜用装卸滑车 - Google Patents

电器开关柜用装卸滑车 Download PDF

Info

Publication number
CN109866812B
CN109866812B CN201910228530.4A CN201910228530A CN109866812B CN 109866812 B CN109866812 B CN 109866812B CN 201910228530 A CN201910228530 A CN 201910228530A CN 109866812 B CN109866812 B CN 109866812B
Authority
CN
China
Prior art keywords
circuit breaker
plate
switch cabinet
breaker handcart
piece
Prior art date
Legal status (The legal status is an assumption and is not a legal conclusion. Google has not performed a legal analysis and makes no representation as to the accuracy of the status listed.)
Active
Application number
CN201910228530.4A
Other languages
English (en)
Other versions
CN109866812A (zh
Inventor
李振玺
Current Assignee (The listed assignees may be inaccurate. Google has not performed a legal analysis and makes no representation or warranty as to the accuracy of the list.)
YINCHUAN LIHENG ELECTRICAL EQUIPMENT CO Ltd
Original Assignee
YINCHUAN LIHENG ELECTRICAL EQUIPMENT CO Ltd
Priority date (The priority date is an assumption and is not a legal conclusion. Google has not performed a legal analysis and makes no representation as to the accuracy of the date listed.)
Filing date
Publication date
Application filed by YINCHUAN LIHENG ELECTRICAL EQUIPMENT CO Ltd filed Critical YINCHUAN LIHENG ELECTRICAL EQUIPMENT CO Ltd
Priority to CN201910228530.4A priority Critical patent/CN109866812B/zh
Publication of CN109866812A publication Critical patent/CN109866812A/zh
Application granted granted Critical
Publication of CN109866812B publication Critical patent/CN109866812B/zh
Active legal-status Critical Current
Anticipated expiration legal-status Critical

Links

Images

Classifications

    • HELECTRICITY
    • H02GENERATION; CONVERSION OR DISTRIBUTION OF ELECTRIC POWER
    • H02BBOARDS, SUBSTATIONS OR SWITCHING ARRANGEMENTS FOR THE SUPPLY OR DISTRIBUTION OF ELECTRIC POWER
    • H02B11/00Switchgear having carriage withdrawable for isolation

Landscapes

  • Engineering & Computer Science (AREA)
  • Power Engineering (AREA)
  • Trip Switchboards (AREA)
  • Handcart (AREA)

Abstract

一种电器开关柜用装卸滑车,涉及装卸重物用滑车设备技术领域,与电器开关柜配合使用以承载、装卸、运输断路器手车,包括承载装置、支撑装置、移动装置,所述承载装置设置于支撑装置上方,所述支撑装置设置于移动装置上方,所述承载装置用于在与电器开关柜接触时,让断路器手车滑入或滑出并承载滑入的断路器手车,所述承载装置还用于在与电器开关柜脱离时,锁定断路器手车以防止滑动从而保证安全,使转移断路器手车操作变得简单、省时省力,所述支撑装置用于支撑承载装置,所述移动装置用于以在外力的作用下移动。

Description

电器开关柜用装卸滑车
技术领域
本发明涉及装卸重物用滑车设备技术领域,特别涉及一种电器开关柜用装卸滑车。
背景技术
目前使用的电器开关柜中的断路器手车,重量都在150-220公斤左右。每当使用中出现故障,需要修理或定期检修保养时,靠一、二名维修人员用人力将很重的断路器手车移出柜外是很困难的,而开关柜内又没有一种装卸用工具,这样就给维修工作带来很多不便。
为解决这一问题,在专利号为94214777.4的专利中公开了一种电器开关柜用装卸滑车,由可伸缩的内滑道总成,外滑道总成、滑车总成及绞轮总成构成。该发明提供的装卸滑车连接在电器开关柜中,用于装卸柜内的断路器手车,通过绞轮带动钢丝绳吊起断路器手车,利用内滑道的伸缩和滑车的移动,将断路器手车移出柜外,方便了维修,相比于现有技术具有省时间省人力的优点,但是由于该发明在使用时需要将吊钩挂在断路器手车上,用搬手顺时针转动升降螺母,压紧摩擦片、棘轮、使升降螺母、摩擦片、棘轮、摩擦座压合为一体,使其与绞车轴,绞轮一起转动,固定在绞轮上的钢丝绳就绕在绞轮V形槽中,钢丝绳末端的断路器手车被吊起,在棘轮、棘爪和扭力簧的作用下,绞车轴、绞轮只能朝着使吊钩上升的方向转动,将已上升的电器开关停在其间的任意高度而不下滑。重物吊起到一定高度,用手握住内滑道横板拉出内滑道,拉出的最大距离由限位拉杆限定,再用手握住横梁往外拉,滑车总成沿着导向槽向外移动,使其吊起的断路器手车或重物移出开关柜外。但是该实用新型在操作过程中具有以下问题:第一、由于断路器手车非常重,在空中升降具有危险性,一旦吊钩发生故障后果严重;第二、升降过程复杂,在转移断路器手车时浪费了一定的时间;第三、车体没有进行固定,在转移断路器手车时会发生晃动,给工作人员带来不便且具有安全隐患。
发明内容
有鉴于此,有必要提供一种能够保证安全,且操作简单、更加省时省力的电器开关柜用装卸滑车。
一种电器开关柜用装卸滑车,与电器开关柜配合使用以承载、装卸、运输断路器手车,包括承载装置、支撑装置、移动装置,所述承载装置设置于支撑装置上方,所述支撑装置设置于移动装置上方,所述承载装置用于在与电器开关柜接触时,让断路器手车滑入或滑出并在让断路器手车滑入时对其承载和固定,所述承载装置还用于在与电器开关柜脱离时,锁定断路器手车以防止滑动从而保证安全,所述支撑装置用于支撑承载装置,所述移动装置用于以在外力的作用下移动。
本发明的有益效果在于:本发明与电器开关柜配合使用以承载、装卸、运输断路器手车,本发明的承载装置用于在与电器开关柜接触时,让断路器手车滑入或滑出并承载滑入的断路器手车,还用于在与电器开关柜脱离时,锁定断路器手车以防止滑动从而保证安全,使转移断路器手车操作变得简单、省时省力。
附图说明
图1为所述电器开关柜用装卸滑车正视角度下的结构示意图。
图2为所述电器开关柜用装卸滑车后视角度下的结构示意图。
图3为所述电器开关柜用装卸滑车与电器开关柜未接触的状态示意图。
图4为所述电器开关柜用装卸滑车与电器开关柜接触的状态示意图。
图5为所述第二连接板的局部示意图。
图6为所述锁定件的局部示意图。
图7为所述锁定件的结构放大图。
图8为所述锁定件的与电器开关柜未接触的状态示意图。
图9为所述锁定件的与电器开关柜接触的状态示意图。
图10为所述连接固定组件的局部示意图。
图11为所述调整脚的局部示意图。
图12为所述调整脚的结构放大图。
图中:电器开关柜用装卸滑车10、承载装置20、承载滑板21、第一连接板211、第二连接板212、竖直腰孔2121、水平腰孔2122、挡板213、滑道214、第二穿孔215、定位柱22、锁定件23、伸缩阻挡件231、底座2311、弹簧支板23111、竖直弹簧2312、第一斜面体2313、第二斜面体2314、感应作动件232、活动杆2321、水平弹簧2322、椎体2323、连接固定组件24、复位弹簧241、操作杆242、楔形凸起2421、手柄2422、支撑装置30、升降装置31、支撑板32、升降平衡柱33、调整脚34、固定座341、螺杆342、调节螺母343、移动装置40、底板41、脚轮42。
具体实施方式
为了更清楚地说明本发明实施例的技术方案,下面将对实施例中所需要使用的附图作简单的介绍,显而易见地,下面描述中的附图是本发明的一些实施例,对于本领域普通技术人员来讲,在不付出创造性劳动的前提下,还可以根据这些附图获得其他的附图。
参见图1至图4,一种电器开关柜用装卸滑车10,与电器开关柜配合使用以承载、装卸、运输断路器手车,包括承载装置20、支撑装置30、移动装置40,所述承载装置20设置于支撑装置30上方,所述支撑装置30设置于移动装置40上方,所述承载装置20用于在与电器开关柜接触时,让断路器手车滑入或滑出并承载滑入的断路器手车,所述承载装置20还用于在与电器开关柜脱离时,锁定断路器手车以防止滑动从而保证安全,所述支撑装置30用于支撑承载装置20,所述移动装置40用于以在外力的作用下移动。
本发明与电器开关柜配合使用以承载、装卸、运输断路器手车,具体的使用过程为:当人工需要维修电器开关柜或断路器手车时,需要将断路器手车从电器开关柜上面转移下来,此时将电器开关柜用装卸滑车10移动至电器开关柜的正前方,承载装置20与电器开关柜接触时,人工拉动断路器手车,将其滑入承载装置20,然后将电器开关柜用装卸滑车10向后拉出,此时承载装置20与电器开关柜脱离,锁定断路器手车以防止滑动,将电器开关柜用装卸滑车10移动至安全的存放位置。同理,当人工需要将断路器手车从电器开关柜用装卸滑车10上面转移至电器开关柜时,将电器开关柜用装卸滑车10移动至电器开关柜的正前方,承载装置20与电器开关柜接触时,人工推动断路器手车,将其滑出承载装置20进入电器开关柜,然后将电器开关柜用装卸滑车10向后拉出,将电器开关柜用装卸滑车10移动至安全的存放位置。
本发明的有益效果在于:本发明与电器开关柜配合使用以承载、装卸、运输断路器手车,本发明的承载装置20用于在与电器开关柜接触时,让断路器手车滑入或滑出并承载滑入的断路器手车,还用于在与电器开关柜脱离时,锁定断路器手车以防止滑动从而保证安全,使转移断路器手车操作变得简单、省时省力。
所述承载装置20包括承载滑板21、定位柱22、锁定件23,所述承载滑板21位于支撑装置30的上方,以承载断路器手车并对断路器手车的两侧进行阻挡,所述定位柱22设置在承载滑板21上且位于承载滑板21的后端,以对断路器手车的后方进行阻挡,所述锁定件23与承载滑板21连接且位于承载滑板21的前端,以对断路器手车的前方进行阻挡。
参见图5,所述承载滑板21的前端、后端设有向下延伸的第一连接板211,第一连接板211的下端与锁定件23的前端连接,所述第一连接板211上还开有第一穿孔,以供锁定件23的前端自由穿过;所述承载滑板21的左端、右端设有向下延伸的第二连接板212,第二连接板212的下端与锁定件23的后端连接,所述第二连接板212上还开有竖直腰孔2121、水平腰孔2122,所述竖直腰孔2121使锁定件23固定在第二连接板212上并在腰孔竖直方向上运动,所述水平腰孔2122使锁定件23能固定在第二连接板212上并在腰孔水平方向上运动,所述承载滑板21的左端、右端设有向上延伸的挡板213,两个挡板213相平行以对断路器手车的左右两侧进行阻挡;所述左右两侧挡板213的旁边分别设有两个滑道214,滑道214与挡板213相平行,以与断路器手车相匹配方便其滑入或滑出,所述承载滑板21上还开有第二穿孔215,以供锁定件23的顶端自由穿过。
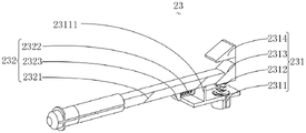
参见图6至图9,所述锁定件23包括伸缩阻挡件231、感应作动件232,所述伸缩阻挡件231的下端固定在第二连接板212上并能在竖直方向上运动,所述伸缩阻挡件231的上端与承载滑板21的第二穿孔215套设连接,并能在承载滑板21的第二穿孔215上下进行运动,所述感应作动件232的前端与第一连接板211的第一穿孔套设连接,所述感应作动件232的后端固定在第二连接板212上并能在水平方向上运动,所述感应作动件232的后端与伸缩阻挡件231连接并为其提供压力,通过改变压力大小来改变伸缩阻挡件231在竖直方向上的位置;所述感应作动件232用于在与电器开关柜接触时,向后运动靠近伸缩阻挡件231,感应作动件232对伸缩阻挡件231的压力增大,伸缩阻挡件231被下压从而伸缩阻挡件231的上端能够位于第二穿孔215之下,让断路器手车滑入或滑出,所述感应作动件232还用于在与电器开关柜脱离时,向前运动远离伸缩阻挡件231,感应作动件232对伸缩阻挡件231的压力减小,伸缩阻挡件231回弹从而伸缩阻挡件231的上端能够位于第二穿孔215之上,从而锁定断路器手车让其无法滑入或滑出。
所述伸缩阻挡件231包括底座2311、竖直弹簧2312、第一斜面体2313、第二斜面体2314,所述底座2311与第二连接板212固定连接,底座2311上还有一弹簧支板23111,弹簧支板23111的方向垂直于底座2311向上,以与感应作动件232连接;竖直弹簧2312的下端与底座2311套设连接,竖直弹簧2312的上端与第一斜面体2313的底面连接,第一斜面体2313的上端与第二斜面体2314的底面连接,所述第一斜面体2313和第二斜面体2314结构相同,第一斜面体2313的底面与第二斜面体2314的底面平行;所述感应作动件232包括活动杆2321、水平弹簧2322,所述活动杆2321的前端与第一连接板211的第一穿孔套设连接,所述活动杆2321的后端与第二斜面体2314的斜面相匹配,以通过压力调节第二斜面体2314的位置,所述活动杆2321上设有一个椎体2323,所述水平弹簧2322的前端与椎体2323连接,所述水平弹簧2322的后端与底座2311上的弹簧支板23111连接。
当活动杆2321的前端碰到电器开关柜,活动杆2321向后运动,活动杆2321的后端对第一斜面体2313产生压力,第一斜面体2313向下运动,此时水平弹簧2322受到压缩,与第一斜面体2313固定连接的第二斜面体2314也随着第一斜面体2313同步向下运动,此时竖直弹簧2312受到压缩,当第二斜面体2314低于第二穿孔215时,断路器手车能够在承载滑板21上与电器开关柜之间自由移动;当活动杆2321的一端离开电器开关柜时,此时水平弹簧2322恢复弹性形变使活动杆2321远离第一斜面体2313,活动杆2321的另一端不对第一斜面体2313产生压力,此时竖直弹簧2312恢复弹性形变使第一斜面体2313向上运动,与第一斜面体2313固定连接的第二斜面体2314也向上运动,第二斜面体2314高于第二穿孔215时,锁定断路器手车让其无法滑入或滑出。
参见图10,所述承载装置20还包括连接固定组件24,所述连接固定组件24包括复位弹簧241、操作杆242,所述复位弹簧241的一端固定在承载滑板21的底面上,复位弹簧241的另一端与操作杆242连接,以为操作杆242提供回复力,所述操作杆242的前端有一楔形凸起2421,所述楔形凸起2421套设于第一连接板211上,所述楔形凸起2421能够与电器开关柜上的凹槽卡扣连接,所述操作杆242的后设有手柄2422,通过手柄2422为操作杆242提供与回复力反方向的拉力,使操作杆242与电器开关柜分离。
当电器开关柜用装卸滑车10的承载装置20与电器开关柜接触时,操作杆242设有楔凸起的一端刚好穿过电器开关柜上面的一个凹槽,由于楔形凸起2421的楔形尖角能够刚好与凹槽卡住,直接在电器开关柜用装卸滑车10前后的方向上用力无法将所述楔形凸起2421拔出,即楔形凸起2421与电器开关柜上的凹槽卡扣连接,此时电器开关柜用装卸滑车10相当于被锁死,使得在转移断路开关时电器开关柜用装卸滑车10保持固定,具有安全性。当人工通过手柄2422在电器开关柜用装卸滑车10的左右方向上,向与楔形凸起2421方向相反的方向用力,复位弹簧241为操作杆242提供与回复力反方向的拉力,楔形凸起2421的楔形尖角与凹槽分离,操作杆242设有楔凸起的一端从凹槽中脱离,电器开关柜用装卸滑车10与电器开关柜分开。
所述移动装置40包括底板41、脚轮42,所述脚轮42位于底板41下方,以在外力的作用下移动;所述脚轮42包括定向轮和万向轮,所述万向轮上设有固定踏板,踩下以对支撑装置30进行固定。
在一较佳实施方式中,电器开关柜用装卸滑车10一般设计为四个轮子,前面的两个轮子为定向轮,后面的两个轮子为万向轮,这样容易将人体施加给推车转向的力更好的吸收,更利于车体行进转向,在支撑架的底面上横向安装有转轴,万向轮连接在转轴上,万向轮纵向连接脚轮42踏板,横向连接搭扣板;支撑架的底面上横向安装第二轴,所述第二轴上定位安装旋转套,挡板213、固定踏板分别垂直固定连接在所述旋转套上,所述挡板213外沿设有凹形口,挡板213与所述搭扣板垂向相交,所述固定踏板通过弹簧连接支撑架;电器开关柜用装卸滑车10处于移动状态时,所述搭扣板嵌入挡板213凹形口内,万向轮在重力作用下,被凹形口限定,形成凹形口、万向轮轴、万向轮与第一轴连接点的三点定位,从而使万向轮被支撑,实现电器开关柜用装卸滑车10移动;当电器开关柜用装卸滑车10需要停止移动且固定时,作业人员踩一次固定踏板,使搭扣板从挡板213凹形口内离开,电器开关柜用装卸滑车10在重力作用下下压,万向轮向上旋转,不再支撑电器开关柜用装卸滑车10,而支腿开始接触地面支撑电器开关柜用装卸滑车10。
所述支撑装置30包括升降装置31、支撑板32、四个升降平衡柱33,所述升降装置31的底端固定在底板41的顶面中心上,所述升降装置31的顶端与支撑板32的底面中心连接,以支持固定支撑板32,所述四个升降平衡柱33的底端分别固定于底板41的顶面的四个角上,所述四个升降平衡柱33的顶端分别固定于支撑板32的底面的四个角上,以对支撑板32起平衡作用,所述升降平衡柱33为多级套设管道,能根据支撑板32的高度进行升降调节。
所述支撑板32主要由升降装置31来支撑,四个升降平衡柱33起到稳定的作用,因为升降装置31位于支撑板32的中央,支撑板32的四个角需要升降平衡柱33的稳定使得他们能够保证在同一条平面上。
所述升降装置31包括蜗轮丝杆升降机,所述蜗轮丝杆升降机包括箱体、蜗轮、蜗杆、丝杆,所述箱体的底部设置在底板41的中央,所述蜗轮、蜗杆设置在在箱体内部,所述蜗轮与蜗杆啮合连接,使蜗轮随着蜗杆的转动而旋转,所述蜗轮中心设有内螺纹,内螺纹与丝杆相匹配,以带动丝杆上下移动;所述蜗杆的一端设有手柄2422,旋转手柄2422以带动蜗轮旋转;所述丝杆的下端套设于蜗轮中心,所述丝杆的上端与支撑板32固定连接,以对支撑板32进行支撑。
升降装置31有许多选择,如电动升降机、剪叉式升降平台等等,涡轮丝杆升降机是一种基础起重部件,具有结构紧凑、体积小、重量轻、无噪音、安装方便、使用灵活、功能多、配套形式多、可靠性高、使用寿命长等许多优点。涡轮丝杆升降机的动力源广泛,可以单台或组合使用,能按一定程序准确地控制调整提升或推进的高度,可以用电动机或其它动力直接带动,也可以手动。它有不同的结构形式和装配形式,且提升高度可按用户的要求选择,本发明中采用手动的方式进行控制,操作简单,为节省人力可以采用电动或气动的方式进行带动。
参见图11至图12,所述支撑板32上设有调整脚34,所述调整脚34的底端位于支撑板32的顶面,所述调整脚34的顶端与承载装置20的底面连接,以支撑承载装置20并对承载装置20的高度进行微调;所述调整脚34包括固定座341、螺杆342、调节螺母343,所述螺杆342的底端套设于固定座341中,且螺杆342不能转动,所述调节螺母343与螺杆342螺纹连接,通过旋转调节螺母343使螺杆342上下移动,即根据需要对承载装置20进行不同高度的调整。
调整脚34的作用在于微调,当人工通过视觉初步调整好升降装置31的高度,此时断路开关装卸平台的高度可能和电器开关柜存在微小的差异,使得断路开关装卸平台无法和电器开关柜密切连接形成可供断路器手车转移的平面,此时通过对调整脚34的高度进行调整,实现高度的精确化。具体的操作是通过旋转电器开关柜用装卸滑车10前方的一个调整脚34的调节螺母343,将其拧松,螺杆342的顶端与断路开关装卸平台固定,螺杆342的底端在底座2311中进行上下的活动,使得断路开关装卸平台随着进行高低的调整,当高度合适的时候拧紧调节螺母343,并依次对剩下三个调整脚34进行调节,最终保持断路开关装卸平台与地面平行即可。
本发明实施例装置中的模块或单元可以根据实际需要进行合并、划分和删减。
以上所揭露的仅为本发明较佳实施例而已,当然不能以此来限定本发明之权利范围,本领域普通技术人员可以理解实现上述实施例的全部或部分流程,并依本发明权利要求所作的等同变化,仍属于发明所涵盖的范围。

Claims (8)

1.一种电器开关柜用装卸滑车,与电器开关柜配合使用以承载、装卸、运输断路器手车,其特征在于:包括承载装置、支撑装置、移动装置,所述承载装置设置于支撑装置上方,所述支撑装置设置于移动装置上方,所述承载装置用于在与电器开关柜接触时,让断路器手车滑入或滑出并承载滑入的断路器手车,所述承载装置还用于在与电器开关柜脱离时,锁定断路器手车以防止滑动从而保证安全,所述支撑装置用于支撑承载装置,所述移动装置用于以在外力的作用下移动:所述承载装置包括承载滑板、定位柱、锁定件,所述承载滑板位于支撑装置的上方,以承载断路器手车并对断路器手车的两侧进行阻挡,所述定位柱设置在承载滑板上且位于承载滑板的后端,以对断路器手车的后方进行阻挡,所述锁定件与承载滑板连接且位于承载滑板的前端,以对断路器手车的前方进行阻挡;所述承载滑板的前端、后端设有向下延伸的第一连接板,第一连接板的下端与锁定件的前端连接,所述第一连接板上还开有第一穿孔,以供锁定件的前端自由穿过;所述承载滑板的左端、右端设有向下延伸的第二连接板,第二连接板的下端与锁定件的后端连接,所述第二连接板上还开有竖直腰孔、水平腰孔,所述竖直腰孔使锁定件固定在第二连接板上并在腰孔竖直方向上运动,所述水平腰孔使锁定件能固定在第二连接板上并在腰孔水平方向上运动,所述承载滑板的左端、右端设有向上延伸的挡板,两个挡板相平行以对断路器手车的左右两侧进行阻挡;所述左右两侧挡板的旁边分别设有两个滑道,滑道与挡板相平行,以与断路器手车相匹配方便其滑入或滑出,所述承载滑板上还开有第二穿孔,以供锁定件的顶端自由穿过。
2.如权利要求1所述的电器开关柜用装卸滑车,其特征在于:所述锁定件包括伸缩阻挡件、感应作动件,所述伸缩阻挡件的下端固定在第二连接板上并能在竖直方向上运动,所述伸缩阻挡件的上端与承载滑板的第二穿孔套设连接,并能在承载滑板的第二穿孔上下进行运动,所述感应作动件的前端与第一连接板的第一穿孔套设连接,所述感应作动件的后端固定在第二连接板上并能在水平方向上运动,所述感应作动件的后端与伸缩阻挡件连接并为其提供压力,通过改变压力大小来改变伸缩阻挡件在竖直方向上的位置;所述感应作动件用于在与电器开关柜接触时,向后运动靠近伸缩阻挡件,感应作动件对伸缩阻挡件的压力增大,伸缩阻挡件被下压从而伸缩阻挡件的上端能够位于第二穿孔之下,让断路器手车滑入或滑出,所述感应作动件还用于在与电器开关柜脱离时,向前运动远离伸缩阻挡件,感应作动件对伸缩阻挡件的压力减小,伸缩阻挡件回弹从而伸缩阻挡件的上端能够位于第二穿孔之上,从而锁定断路器手车让其无法滑入或滑出。
3.如权利要求2所述的电器开关柜用装卸滑车,其特征在于:所述伸缩阻挡件包括底座、竖直弹簧、第一斜面体、第二斜面体,所述底座与第二连接板固定连接,底座上还有一弹簧支板,弹簧支板的方向垂直于底座向上,以与感应作动件连接;竖直弹簧的下端与底座套设连接,竖直弹簧的上端与第一斜面体的底面连接,第一斜面体的上端与第二斜面体的底面连接,所述第一斜面体和第二斜面体结构相同,第一斜面体的底面与第二斜面体的底面平行;所述感应作动件包括活动杆、水平弹簧,所述活动杆的前端与第一连接板的第一穿孔套设连接,所述活动杆的后端与第二斜面体的斜面相匹配,以通过压力调节第二斜面体的位置,所述活动杆上设有一个椎体,所述水平弹簧的前端与椎体连接,所述水平弹簧的后端与底座上的弹簧支板连接。
4.如权利要求1所述的电器开关柜用装卸滑车,其特征在于:所述承载装置还包括连接固定组件,所述连接固定组件包括复位弹簧、操作杆,所述复位弹簧的一端固定在承载滑板的底面上,复位弹簧的另一端与操作杆连接,以为操作杆提供回复力,所述操作杆的前端有一楔形凸起,所述楔形凸起套设于第一连接板上,所述楔形凸起能够与电器开关柜上的凹槽卡扣连接,所述操作杆的后设有手柄,通过手柄为操作杆提供与回复力反方向的拉力,使操作杆与电器开关柜分离。
5.如权利要求1所述的电器开关柜用装卸滑车,其特征在于:所述移动装置包括底板、脚轮,所述脚轮位于底板下方,以在外力的作用下移动;所述脚轮包括定向轮和万向轮,所述万向轮上设有固定踏板,踩下以对支撑装置进行固定。
6.如权利要求5所述的电器开关柜用装卸滑车,其特征在于:所述支撑装置包括升降装置、支撑板、四个升降平衡柱,所述升降装置的底端固定在底板的顶面中心上,所述升降装置的顶端与支撑板的底面中心连接,以支持固定支撑板,所述四个升降平衡柱的底端分别固定于底板的顶面的四个角上,所述四个升降平衡柱的顶端分别固定于支撑板的底面的四个角上,以对支撑板起平衡作用,所述升降平衡柱为多级套设管道,能根据支撑板的高度进行升降调节。
7.如权利要求6所述的电器开关柜用装卸滑车,其特征在于:所述升降装置包括蜗轮丝杆升降机,所述蜗轮丝杆升降机包括箱体、蜗轮、蜗杆、丝杆,所述箱体的底部设置在底板的中央,所述蜗轮、蜗杆设置在箱体内部,所述蜗轮与蜗杆啮合连接,使蜗轮随着蜗杆的转动而旋转,所述蜗轮中心设有内螺纹,内螺纹与丝杆相匹配,以带动丝杆上下移动;所述蜗杆的一端设有手柄,旋转手柄以带动蜗轮旋转;所述丝杆的下端套设于蜗轮中心,所述丝杆的上端与支撑板固定连接,以对支撑板进行支撑。
8.如权利要求7所述的电器开关柜用装卸滑车,其特征在于:所述支撑板上设有调整脚,所述调整脚的底端位于支撑板的顶面,所述调整脚的顶端与承载装置的底面连接,以支撑承载装置并对承载装置的高度进行微调;所述调整脚包括固定座、螺杆、调节螺母,所述螺杆的底端套设于固定座中,且螺杆不能转动,所述调节螺母与螺杆螺纹连接,通过旋转调节螺母使螺杆上下移动,即根据需要对承载装置进行不同高度的调整。
CN201910228530.4A 2019-03-25 2019-03-25 电器开关柜用装卸滑车 Active CN109866812B (zh)

Priority Applications (1)

Application Number Priority Date Filing Date Title
CN201910228530.4A CN109866812B (zh) 2019-03-25 2019-03-25 电器开关柜用装卸滑车

Applications Claiming Priority (1)

Application Number Priority Date Filing Date Title
CN201910228530.4A CN109866812B (zh) 2019-03-25 2019-03-25 电器开关柜用装卸滑车

Publications (2)

Publication Number Publication Date
CN109866812A CN109866812A (zh) 2019-06-11
CN109866812B true CN109866812B (zh) 2021-06-18

Family

ID=66921254

Family Applications (1)

Application Number Title Priority Date Filing Date
CN201910228530.4A Active CN109866812B (zh) 2019-03-25 2019-03-25 电器开关柜用装卸滑车

Country Status (1)

Country Link
CN (1) CN109866812B (zh)

Families Citing this family (13)

* Cited by examiner, † Cited by third party
Publication number Priority date Publication date Assignee Title
CN110203634B (zh) * 2019-06-23 2025-01-03 上海有个机器人有限公司 智能搬运设备的承载装置
CN110707576B (zh) * 2019-10-28 2022-04-19 河南中烟工业有限责任公司 一种可移动的高压真空断路器装卸专用平台
CN110745170A (zh) * 2019-11-04 2020-02-04 国家电网有限公司 一种可伸缩式档案手推车
CN110723495B (zh) * 2019-11-14 2024-07-16 山东新希望六和集团有限公司 一种笼养禽类运输装置
CN111355181B (zh) * 2019-12-30 2024-12-31 盛道(中国)电气有限公司 一种用于开关柜的新型下电压互感器转运车
CN111674441A (zh) * 2020-06-23 2020-09-18 中建八局第一建设有限公司 一种施工现场瓷砖搬运装置
CN111922973B (zh) * 2020-08-17 2022-07-08 中国南方电网有限责任公司超高压输电公司昆明局 一种用于立式断路器液压机构拆装的便携工具
CN112278039B (zh) * 2020-12-04 2025-02-25 国网山东省电力公司枣庄供电公司 一种手车开关液压升降转运装置
CN114044043A (zh) * 2021-11-29 2022-02-15 中国南方电网有限责任公司超高压输电公司天生桥局 断路器移动装置
CN115207826A (zh) * 2022-07-29 2022-10-18 国网河南省电力公司济源供电公司 开关柜手车拉出回装辅助装置
CN115459126A (zh) * 2022-08-27 2022-12-09 国网新疆电力有限公司乌鲁木齐供电公司 一种可多位置试验的开关柜断路器转运车
CN115676338A (zh) * 2022-08-30 2023-02-03 广西电网有限责任公司贵港供电局 一种开关手车电动装卸装置
CN115241768A (zh) * 2022-09-01 2022-10-25 江苏康盛电气集团有限责任公司 一种便拆式配电柜基座

Citations (4)

* Cited by examiner, † Cited by third party
Publication number Priority date Publication date Assignee Title
CN201161595Y (zh) * 2007-12-10 2008-12-10 河南森源电气股份有限公司 一种断路器手车转运车
CN202463861U (zh) * 2012-01-31 2012-10-03 安徽省电力公司芜湖供电公司 金属铠装开关转运小车
CN203406540U (zh) * 2013-08-29 2014-01-22 常熟开关制造有限公司(原常熟开关厂) 中置柜转运车
CN206783233U (zh) * 2017-05-18 2017-12-22 三明亿力森达电气设备有限公司 一种电力开关柜断路器手车的可调式转运车

Patent Citations (4)

* Cited by examiner, † Cited by third party
Publication number Priority date Publication date Assignee Title
CN201161595Y (zh) * 2007-12-10 2008-12-10 河南森源电气股份有限公司 一种断路器手车转运车
CN202463861U (zh) * 2012-01-31 2012-10-03 安徽省电力公司芜湖供电公司 金属铠装开关转运小车
CN203406540U (zh) * 2013-08-29 2014-01-22 常熟开关制造有限公司(原常熟开关厂) 中置柜转运车
CN206783233U (zh) * 2017-05-18 2017-12-22 三明亿力森达电气设备有限公司 一种电力开关柜断路器手车的可调式转运车

Also Published As

Publication number Publication date
CN109866812A (zh) 2019-06-11

Similar Documents

Publication Publication Date Title
CN109866812B (zh) 电器开关柜用装卸滑车
CN205811377U (zh) 多功能手车断路器检修平台
US9045321B2 (en) Load transport system and method
US3215402A (en) Jack
CN102315600A (zh) 手车式断路器设备检修车
CN113548607B (zh) 智能断路器升降检修平台车
CN205168564U (zh) 中置柜断路器自动化转运工具
CN206985646U (zh) 一种可全方位移动的升降小车
JP2959751B2 (ja) ホイールドーリー
CN113860219A (zh) 一种车载货物随车装卸叉车及其工作方法
CN106430022A (zh) 一种电力施工用重物举升装置
CN107293979A (zh) 互感器更换及装运辅助装置
CN204167750U (zh) 一种10kV高压柜开关小车转运车
CN113955688B (zh) 一种建筑工程用具有偏移定位和防坠落的升降机
CN106564818A (zh) 一种电力吊装装置
CN207149987U (zh) 高压开关柜互感器用升降推车
KR20150112457A (ko) 다기능 트롤리
KR20130036871A (ko) 하역용 운반기구
CN206742713U (zh) 一种35kV电流互感器、电压互感器运输安装手车
CN218810129U (zh) 一种机械设备安装辅助架
CN111779951A (zh) 一种安全底座及移动式设备
CN115864201A (zh) 一种35千伏pt手车转检修用操作装置
CN115977409A (zh) 一种高层建筑卸料平台及卸料方法
CN105480823A (zh) 一种便移式施工升降机
CN220467495U (zh) 一种稳定性好的航空用升降架

Legal Events

Date Code Title Description
PB01 Publication
PB01 Publication
SE01 Entry into force of request for substantive examination
SE01 Entry into force of request for substantive examination
GR01 Patent grant
GR01 Patent grant