CN102689977A - 一种复合悬浮载体—催化臭氧氧化净化废水方法及反应器 - Google Patents
一种复合悬浮载体—催化臭氧氧化净化废水方法及反应器 Download PDFInfo
- Publication number
- CN102689977A CN102689977A CN2012101783423A CN201210178342A CN102689977A CN 102689977 A CN102689977 A CN 102689977A CN 2012101783423 A CN2012101783423 A CN 2012101783423A CN 201210178342 A CN201210178342 A CN 201210178342A CN 102689977 A CN102689977 A CN 102689977A
- Authority
- CN
- China
- Prior art keywords
- ozone
- water
- carrier
- composite suspension
- gac
- Prior art date
- Legal status (The legal status is an assumption and is not a legal conclusion. Google has not performed a legal analysis and makes no representation as to the accuracy of the status listed.)
- Pending
Links
- CBENFWSGALASAD-UHFFFAOYSA-N Ozone Chemical compound [O-][O+]=O CBENFWSGALASAD-UHFFFAOYSA-N 0.000 title claims abstract description 109
- 230000003647 oxidation Effects 0.000 title claims abstract description 53
- 238000007254 oxidation reaction Methods 0.000 title claims abstract description 53
- 239000002351 wastewater Substances 0.000 title claims abstract description 37
- 238000000034 method Methods 0.000 title claims abstract description 34
- 238000000746 purification Methods 0.000 title abstract description 11
- 150000001875 compounds Chemical class 0.000 title description 3
- 238000006555 catalytic reaction Methods 0.000 title 1
- OKTJSMMVPCPJKN-UHFFFAOYSA-N Carbon Chemical compound [C] OKTJSMMVPCPJKN-UHFFFAOYSA-N 0.000 claims abstract description 141
- XLYOFNOQVPJJNP-UHFFFAOYSA-N water Substances O XLYOFNOQVPJJNP-UHFFFAOYSA-N 0.000 claims abstract description 91
- 230000003197 catalytic effect Effects 0.000 claims abstract description 77
- 239000000725 suspension Substances 0.000 claims abstract description 75
- 239000002131 composite material Substances 0.000 claims abstract description 64
- XEEYBQQBJWHFJM-UHFFFAOYSA-N Iron Chemical compound [Fe] XEEYBQQBJWHFJM-UHFFFAOYSA-N 0.000 claims abstract description 23
- 239000002957 persistent organic pollutant Substances 0.000 claims abstract description 22
- 239000010949 copper Substances 0.000 claims abstract description 19
- 230000008569 process Effects 0.000 claims abstract description 16
- RYGMFSIKBFXOCR-UHFFFAOYSA-N Copper Chemical compound [Cu] RYGMFSIKBFXOCR-UHFFFAOYSA-N 0.000 claims abstract description 7
- 229910052802 copper Inorganic materials 0.000 claims abstract description 7
- 239000010941 cobalt Substances 0.000 claims abstract description 6
- 229910017052 cobalt Inorganic materials 0.000 claims abstract description 6
- GUTLYIVDDKVIGB-UHFFFAOYSA-N cobalt atom Chemical compound [Co] GUTLYIVDDKVIGB-UHFFFAOYSA-N 0.000 claims abstract description 6
- 229910052742 iron Inorganic materials 0.000 claims abstract description 6
- WPBNNNQJVZRUHP-UHFFFAOYSA-L manganese(2+);methyl n-[[2-(methoxycarbonylcarbamothioylamino)phenyl]carbamothioyl]carbamate;n-[2-(sulfidocarbothioylamino)ethyl]carbamodithioate Chemical compound [Mn+2].[S-]C(=S)NCCNC([S-])=S.COC(=O)NC(=S)NC1=CC=CC=C1NC(=S)NC(=O)OC WPBNNNQJVZRUHP-UHFFFAOYSA-L 0.000 claims abstract description 6
- 230000000694 effects Effects 0.000 claims abstract description 4
- 150000002816 nickel compounds Chemical class 0.000 claims abstract description 4
- PXHVJJICTQNCMI-UHFFFAOYSA-N nickel Substances [Ni] PXHVJJICTQNCMI-UHFFFAOYSA-N 0.000 claims description 17
- 239000011572 manganese Substances 0.000 claims description 12
- 239000012876 carrier material Substances 0.000 claims description 11
- 238000011049 filling Methods 0.000 claims description 11
- 229910052751 metal Inorganic materials 0.000 claims description 9
- 239000002184 metal Substances 0.000 claims description 9
- 239000000463 material Substances 0.000 claims description 8
- 238000001035 drying Methods 0.000 claims description 6
- 238000012423 maintenance Methods 0.000 claims description 6
- 239000000203 mixture Substances 0.000 claims description 4
- 239000000126 substance Substances 0.000 claims description 4
- 229910052799 carbon Inorganic materials 0.000 claims description 3
- 238000013461 design Methods 0.000 claims description 3
- 229910021645 metal ion Inorganic materials 0.000 claims description 3
- 239000004480 active ingredient Substances 0.000 claims description 2
- 238000002360 preparation method Methods 0.000 claims 2
- 239000007787 solid Substances 0.000 claims 2
- 238000010521 absorption reaction Methods 0.000 claims 1
- 238000011109 contamination Methods 0.000 claims 1
- 239000006185 dispersion Substances 0.000 claims 1
- 239000012467 final product Substances 0.000 claims 1
- 239000000796 flavoring agent Substances 0.000 claims 1
- 235000019634 flavors Nutrition 0.000 claims 1
- 238000011835 investigation Methods 0.000 claims 1
- 239000010808 liquid waste Substances 0.000 claims 1
- 239000011159 matrix material Substances 0.000 claims 1
- 238000012545 processing Methods 0.000 claims 1
- 230000000630 rising effect Effects 0.000 claims 1
- 150000003839 salts Chemical class 0.000 claims 1
- 238000006385 ozonation reaction Methods 0.000 abstract description 33
- 239000010842 industrial wastewater Substances 0.000 abstract description 9
- 235000020188 drinking water Nutrition 0.000 abstract description 6
- 239000003651 drinking water Substances 0.000 abstract description 6
- 239000005416 organic matter Substances 0.000 abstract description 5
- 231100000419 toxicity Toxicity 0.000 abstract description 4
- 230000001988 toxicity Effects 0.000 abstract description 4
- 239000008399 tap water Substances 0.000 abstract description 3
- 235000020679 tap water Nutrition 0.000 abstract description 3
- 239000010865 sewage Substances 0.000 description 10
- 239000003054 catalyst Substances 0.000 description 8
- 230000006378 damage Effects 0.000 description 6
- 239000003344 environmental pollutant Substances 0.000 description 6
- 231100000719 pollutant Toxicity 0.000 description 6
- 239000012266 salt solution Substances 0.000 description 6
- 238000010586 diagram Methods 0.000 description 5
- IJGRMHOSHXDMSA-UHFFFAOYSA-N Atomic nitrogen Chemical compound N#N IJGRMHOSHXDMSA-UHFFFAOYSA-N 0.000 description 4
- 230000009916 joint effect Effects 0.000 description 4
- 239000000243 solution Substances 0.000 description 4
- 238000004065 wastewater treatment Methods 0.000 description 4
- 238000005273 aeration Methods 0.000 description 3
- XKMRRTOUMJRJIA-UHFFFAOYSA-N ammonia nh3 Chemical compound N.N XKMRRTOUMJRJIA-UHFFFAOYSA-N 0.000 description 3
- 238000004043 dyeing Methods 0.000 description 3
- 229910052759 nickel Inorganic materials 0.000 description 3
- 208000014451 palmoplantar keratoderma and congenital alopecia 2 Diseases 0.000 description 3
- 238000007639 printing Methods 0.000 description 3
- 239000010802 sludge Substances 0.000 description 3
- OAICVXFJPJFONN-UHFFFAOYSA-N Phosphorus Chemical compound [P] OAICVXFJPJFONN-UHFFFAOYSA-N 0.000 description 2
- 230000009471 action Effects 0.000 description 2
- 239000011575 calcium Substances 0.000 description 2
- 239000011651 chromium Substances 0.000 description 2
- 238000000354 decomposition reaction Methods 0.000 description 2
- 238000009792 diffusion process Methods 0.000 description 2
- 238000005516 engineering process Methods 0.000 description 2
- 230000007613 environmental effect Effects 0.000 description 2
- 230000003301 hydrolyzing effect Effects 0.000 description 2
- 230000014759 maintenance of location Effects 0.000 description 2
- 229910052757 nitrogen Inorganic materials 0.000 description 2
- 150000002894 organic compounds Chemical class 0.000 description 2
- 230000020477 pH reduction Effects 0.000 description 2
- 229910052698 phosphorus Inorganic materials 0.000 description 2
- 239000011574 phosphorus Substances 0.000 description 2
- 238000001179 sorption measurement Methods 0.000 description 2
- OYPRJOBELJOOCE-UHFFFAOYSA-N Calcium Chemical compound [Ca] OYPRJOBELJOOCE-UHFFFAOYSA-N 0.000 description 1
- VYZAMTAEIAYCRO-UHFFFAOYSA-N Chromium Chemical compound [Cr] VYZAMTAEIAYCRO-UHFFFAOYSA-N 0.000 description 1
- QPLDLSVMHZLSFG-UHFFFAOYSA-N Copper oxide Chemical compound [Cu]=O QPLDLSVMHZLSFG-UHFFFAOYSA-N 0.000 description 1
- 239000005751 Copper oxide Substances 0.000 description 1
- MYMOFIZGZYHOMD-UHFFFAOYSA-N Dioxygen Chemical compound O=O MYMOFIZGZYHOMD-UHFFFAOYSA-N 0.000 description 1
- PWHULOQIROXLJO-UHFFFAOYSA-N Manganese Chemical compound [Mn] PWHULOQIROXLJO-UHFFFAOYSA-N 0.000 description 1
- ZLMJMSJWJFRBEC-UHFFFAOYSA-N Potassium Chemical compound [K] ZLMJMSJWJFRBEC-UHFFFAOYSA-N 0.000 description 1
- 229910010413 TiO 2 Inorganic materials 0.000 description 1
- 230000001154 acute effect Effects 0.000 description 1
- QVGXLLKOCUKJST-UHFFFAOYSA-N atomic oxygen Chemical compound [O] QVGXLLKOCUKJST-UHFFFAOYSA-N 0.000 description 1
- 229910052791 calcium Inorganic materials 0.000 description 1
- 238000006243 chemical reaction Methods 0.000 description 1
- 229910052804 chromium Inorganic materials 0.000 description 1
- 230000007665 chronic toxicity Effects 0.000 description 1
- 231100000160 chronic toxicity Toxicity 0.000 description 1
- 239000003426 co-catalyst Substances 0.000 description 1
- 238000004939 coking Methods 0.000 description 1
- 238000007796 conventional method Methods 0.000 description 1
- 229910000431 copper oxide Inorganic materials 0.000 description 1
- ARUVKPQLZAKDPS-UHFFFAOYSA-L copper(II) sulfate Chemical class [Cu+2].[O-][S+2]([O-])([O-])[O-] ARUVKPQLZAKDPS-UHFFFAOYSA-L 0.000 description 1
- 230000007812 deficiency Effects 0.000 description 1
- 238000011161 development Methods 0.000 description 1
- 238000007599 discharging Methods 0.000 description 1
- 231100000507 endocrine disrupting Toxicity 0.000 description 1
- 238000005265 energy consumption Methods 0.000 description 1
- 235000003891 ferrous sulphate Nutrition 0.000 description 1
- 239000011790 ferrous sulphate Substances 0.000 description 1
- 238000001914 filtration Methods 0.000 description 1
- 239000012847 fine chemical Substances 0.000 description 1
- 239000007789 gas Substances 0.000 description 1
- 230000007674 genetic toxicity Effects 0.000 description 1
- 231100000025 genetic toxicology Toxicity 0.000 description 1
- 230000036541 health Effects 0.000 description 1
- 229910001385 heavy metal Inorganic materials 0.000 description 1
- 150000002391 heterocyclic compounds Chemical class 0.000 description 1
- 238000005470 impregnation Methods 0.000 description 1
- 150000002500 ions Chemical class 0.000 description 1
- BAUYGSIQEAFULO-UHFFFAOYSA-L iron(2+) sulfate (anhydrous) Chemical compound [Fe+2].[O-]S([O-])(=O)=O BAUYGSIQEAFULO-UHFFFAOYSA-L 0.000 description 1
- 229910000359 iron(II) sulfate Inorganic materials 0.000 description 1
- 239000010985 leather Substances 0.000 description 1
- 229910052748 manganese Inorganic materials 0.000 description 1
- 150000002739 metals Chemical class 0.000 description 1
- 239000007800 oxidant agent Substances 0.000 description 1
- 230000033116 oxidation-reduction process Effects 0.000 description 1
- 230000001590 oxidative effect Effects 0.000 description 1
- 229910052760 oxygen Inorganic materials 0.000 description 1
- 239000001301 oxygen Substances 0.000 description 1
- 239000002245 particle Substances 0.000 description 1
- 231100000614 poison Toxicity 0.000 description 1
- 239000011591 potassium Substances 0.000 description 1
- 229910052700 potassium Inorganic materials 0.000 description 1
- 239000004576 sand Substances 0.000 description 1
- 238000009287 sand filtration Methods 0.000 description 1
- 238000005245 sintering Methods 0.000 description 1
- 239000002910 solid waste Substances 0.000 description 1
- JBQYATWDVHIOAR-UHFFFAOYSA-N tellanylidenegermanium Chemical compound [Te]=[Ge] JBQYATWDVHIOAR-UHFFFAOYSA-N 0.000 description 1
- 239000003440 toxic substance Substances 0.000 description 1
- 229910052723 transition metal Inorganic materials 0.000 description 1
- 150000003624 transition metals Chemical class 0.000 description 1
- 239000002912 waste gas Substances 0.000 description 1
Images
Landscapes
- Treatment Of Water By Oxidation Or Reduction (AREA)
Abstract
一种复合悬浮载体—催化臭氧氧化净化废水方法及反应器,所述的复合悬浮载体,是以悬浮活性炭为载体,在悬浮活性炭上负载有铜、铁、锰、钴、镍化合物作为活性组分;将活性炭复合悬浮载体置于水处理工艺中的催化臭氧氧化反应器内,进水连续运行,构建以活性炭为载体的多相非均相催化氧化体系,提高臭氧选择性氧化废水中有机污染物的能力和臭氧的利用效率,去除废水中有机污染物、色、嗅、味的效果;它适用于微污染饮用水原水预氧化处理和有机工业废水的深度处理,在有机工业废水的应用中尤其适宜于有机物浓度高、可生化性差、色度高的难生物降解有机废水二级生物处理出水的深度处理,可大幅度削减废水的生物毒性、有机污染物和色度,水质感官接近自来水,达到深度处理有机废水的目的。
Description
技术领域
本发明涉及的是一种活性炭复合悬浮载体及催化臭氧氧化净化废水的方法及反应器,属于水处理技术领域。
背景技术
随着经济的迅猛发展,各个工业门类越来越细化,所产生的工业废水也多种多样,诸如印染废水、制革废水、焦化废水、石化废水、精细化工废水等,这些有机工业废水中污染物成份极其复杂,表现为有机物含量高、可生化性差、色度深、水质变化复杂,一些废水甚至还含有毒害物质,常规方法很难实现深度处理要求。这些废水如不经妥善处理排入水体,将会对环境产生很大的危害,尤其是对饮用水源的危害,以及潜在危害极大。
上述没有得到深度处理的工业废水,通过废水、废气、固废等形式排放进入环境介质的有机化合污染物越来越多,而且不断增加。其中有些有机化合污染物不可生物降解特性,在环境介质中长期存留并蓄积,表现为急性生物毒性、慢性毒性、遗传毒性、内分泌干扰毒性,与水体中天然的有机物混合,污染人类的饮用水水源,将持续的威胁和损害人类的健康。
臭氧预氧化-生物活性炭深度处理饮用水,已被国内外广范接受和应用,臭氧高级氧化深度污废水,也逐渐在污废水处理领域得到应用。但却存在臭氧氧化有机污染物速度慢、臭氧利用效率低等问题,直接导致臭氧氧化用于水处理领域运行成本高,限制其在污废水处理方面的应用。
目前,为了提高臭氧氧化有机污染物速率和利用效率低,中国专利CN1223523C公开了活性炭催化臭氧氧化-生物活性炭净化水中污染物的方法;中国专利CN101664681A公布了蜂窝陶粒浸泡硝酸铜干燥、焙烧而成负载型催化剂,以过度金属Cu的氧化物作为活性组成,用于催化臭氧处理废水;中国专利CN101863589A公布了过滤-臭氧氧化塔-内循环曝气生物滤池深度处理污水方法,臭氧催化氧化塔的催化剂以固定床形式存在,催化剂为金属离子负载型Cu/TiO2/Al2臭氧催化剂;中国专利CN101580294A公布了一种以铜为活性组分,钾为助催化剂负载在活性炭上制备多相催化氧化剂的方法;中国专利CN101664681B公开了将铜的氧化物烧结到陶粒上制备臭氧催化剂的方法。这些公开专利中均未涉及将载体设置为悬浮形式;没有考虑到臭氧催化氧化过程中选择性氧化问题;忽略填充的催化剂载体对微孔扩散器释放臭氧微气泡的影响,臭氧微气泡在与填充的催化剂载体接触时凝结成大气泡,降低臭氧与水的有效接触。
发明内容
本发明的目的在于克服现有技术存在的不足,而提供一种能提高臭氧选择性氧化废水中有机污染物的能力和臭氧利用效率的活性炭复合悬浮载体及催化臭氧氧化反应器及净化废水方法。
本发明的目的是通过如下技术方案来完成的,一种活性炭复合悬浮载体,它以悬浮活性炭为载体,在该悬浮活性炭上负载有铜、铁、锰、钴、镍化合物作为活性组分。
所述的悬浮活性炭是以活性炭为基体,辅助其它材质制成可悬浮于水体的载体材料,并在该载体材料选择性地浸渍有一定比例的Cu2+、Fe2+、Mn2+、Co2+、Ni2+低价水溶性金属盐溶液,经干燥处理后与臭氧接触而制成的具有催化活性功能的活性炭复合悬浮载体。
一种安装有如上所述活性炭复合悬浮载体的催化臭氧氧化反应器,它至少包括有一器体,其特征在于所述的器体内安置有具有催化臭氧氧化功能的活性炭复合悬浮载体,在活性炭复合悬浮载体下部通过微孔扩散装置连通外部的臭氧发生器,位于活性炭复合悬浮载体上方的器体上设置有进水口,并连接外部的进水通道,位于活性炭复合悬浮载体下方的器体上设置有出水口,并连接外部的出水通道或相连于边置的带有出水管的器体或储水容器,在所述器体的上部通道管道连接有一可将器体内溢出的残余臭氧进行吸附或分解的臭氧破坏装置。
所述的器体内的有效水深H>3.0m,HRT>5.0min,臭氧的投加量在0.01kg.臭氧/kg.COD以上;活性炭复合悬浮载体在器体内的填充率为20%~70%,
所述的器体至少是由两级串联组成。
一种利用如上所述的催化臭氧氧化反应器进行净化废水方法,该方法按以下步骤进行:
1)调研分析待处理水质水量,确定有机污染的含量,评估可疑有机物污染物化学组分和生物特性,设计催化臭氧氧化反应器在净水工艺流程中的位置,催化臭氧氧化反应器内的有效水深(H>3.0m)和水力停留时间,(HRT>5.0min);
2)选择活性炭悬浮载体材料的规格,确定催化活性活性炭复合悬浮载体在催化臭氧氧化反应器的填充率(20%~70%);
3)根据水质特性,配制含有Cu2+、Fe2+、Mn2+、Co2+、Ni2+等一种或多种低价金属离子水溶性溶液,浸渍活性炭悬浮载体材料,干燥处理后与臭氧接触,制备具有催化活性功能的活性炭复合悬浮载体,填充催化臭氧氧化反应器;
4)催化臭氧氧化反应器连续进水,投加臭氧,活性炭复合悬浮载体在臭氧微气泡的作用悬浮游弋,在水、臭氧、活性炭复合悬浮载体的共同作用下,构建以活性炭为载体的多相非均相催化氧化体系,提高臭氧选择性氧化废水中有机污染物的能力和臭氧的利用效率,去除废水中有机污染物、色、嗅、味的效果,臭氧投加量在0.01kg.臭氧/kg.COD以上;
5)催化臭氧氧化反应器的出水即完成臭氧多相非均相催化氧化处理,既可完成净水工艺流程,也可进一步设置空气吹脱、跌水释放以及其它方式去除水中的溶解性臭氧后,采用曝气生物滤池等其它生物处理方法强化处理;
6)催化臭氧氧化反应器内溢出的残余臭氧时,通过设置吸附或分解的臭氧破坏装置,处理水、臭氧、活性炭复合悬浮载体的共同作用后溢出的残留臭氧;
7)活性炭复合悬浮载体的后期维护,无须频繁更换,维护过程中更新流失或破损部分活性炭复合悬浮载体,维持其在催化臭氧氧化反应器内的填充率即可。
本发明利用活性炭悬浮载体材料,有选择性的浸渍Cu2+、Fe2+、Mn2+、Co2+、Ni2+等低价水溶性金属盐溶液制备具有选择性催化活性活性炭复合悬浮载体,构建多相非均相催化氧化体系,提高臭氧选择性氧化废水中有机污染物的能力和臭氧的利用效率,解决现有臭氧催化氧化技术中臭氧利用率低,运行成本高的问题,提供一种更有效的多相催化臭氧氧化技术。
本发明将活性炭复合悬浮载体置于水处理工艺中的催化臭氧氧化反应器内,进水连续运行,构建以活性炭为载体的多相非均相催化氧化体系,提高臭氧选择性氧化废水中有机污染物的能力和臭氧的利用效率,去除废水中有机污染物、色、嗅、味的效果。
本发明适用于微污染饮用水原水预氧化处理和有机工业废水的深度处理,在有机工业废水的应用中尤其适宜于有机物浓度高、可生化性差、色度高的难生物降解有机废水二级生物处理出水的深度处理,可大幅度削减废水的生物毒性、有机污染物和色度,水质感官接近自来水,达到深度处理有机废水的目的。
附图说明
图1 是本发明所述的催化臭氧氧化反应器的结构示意图。
图2是本发明所述的另一种催化臭氧氧化反应器结构示意图。
图3是本发明所述的再一种催化臭氧氧化反应器结构示意图。
图4是本发明所述的又一种催化臭氧氧化反应器结构示意图。
图5是本发明出水水质对比图表示意图。
具体实施方式
下面将结合附图及具体实施例对本发明作详细的介绍:本发明所述的活性炭复合悬浮载体,它以悬浮活性炭为载体,在该悬浮活性炭上负载有铜、铁、锰、钴、镍化合物作为活性组分。
所述的悬浮活性炭是以活性炭为基体,辅助其它材质制成可悬浮于水体的载体材料,并在该载体材料选择性地浸渍有一定比例的Cu2+、Fe2+、Mn2+、Co2+、Ni2+低价水溶性金属盐溶液,经干燥处理后与臭氧接触而制成的具有催化活性功能的活性炭复合悬浮载体。
本发明所述的活性炭复合悬浮载体,通过定向选择浸渍Cu2+、Fe2+、Mn2+、Co2+、Ni2+等低价水溶性金属盐溶液,制备具有选择性催化活性活性炭复合悬浮载体,填充于催化臭氧氧化反应器内,在水、臭氧、活性炭复合悬浮载体的共同作用下,构建以活性炭为载体的多相非均相催化氧化体系,主要作用包括一下几个方面:
1)一定填充比例的活性炭复合悬浮载体以悬浮方式置放,可避免微孔扩散器释放臭氧微在与填充的催化剂载体接触时凝结成大气泡,使臭氧与水的有效接触,提高臭氧的利用效率;
2)在制备活性炭复合悬浮载体时,根据水质差异,定向选择浸渍Cu2+、Fe2+、Mn2+、Co2+、Ni2+等低价水溶性金属盐溶液,使具有催化活性的铜、铁、锰、钴、镍等化合物定向负载在活性炭上,形成复合催化载体,提高臭氧的氧化还原电位,使臭氧氧化有机物趋于可控,并提高臭氧的氧化能力和氧化效率;
3)制备活性炭复合悬浮载体流程简单灵活,能耗低,在浸渍Cu2+、Fe2+、Mn2+、Co2+、Ni2+等低价水溶性金属盐溶液后,仅需干燥处理后与臭氧接触即可。
本发明提出根据有机污染物组分的不同,在悬浮活性炭载体材料上有选择负载铜、铁、锰、钴、镍等化合物,在水、臭氧、活性炭复合悬浮载体的共同作用下构建以活性炭为载体的多相非均相催化氧化体系,提高臭氧选择性氧化废水中有机污染物的能力和臭氧的利用效率,去除废水中有机污染物、色、嗅、味的效果。拓展了催化臭氧的应用范围,于微污染饮用水原水预氧化处理和有机工业废水的深度处理,使臭氧氧化有机物趋于可控,提高臭氧氧化有机物的能力,减少臭氧消耗量,降低臭氧氧化净化水质的成本。
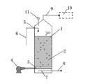
图1所示,一种安装有如上所述活性炭复合悬浮载体的催化臭氧氧化反应器,它包括:至少有一器体1,所述的器体1内安置有具有催化臭氧氧化功能的活性炭复合悬浮载体2,在活性炭复合悬浮载体2下部通过微孔扩散装置3连通外部的臭氧发生器4,位于活性炭复合悬浮载体2上方的器体上设置有进水口5,并连接外部的进水通道6,位于活性炭复合悬浮载体2下方的器体上设置有出水口7,并连接外部的出水通道8;在所述器体1的上部通过管道9连接有一可将器体1内溢出的残余臭氧进行吸附或分解的臭氧破坏装置10。另外器体1上部设置有安全阀11。
本发明所述器体1内的有效水深H>3.0m,HRT>5.0min,臭氧的投加量在0.01kg.臭氧/kg.COD以上;活性炭复合悬浮载体在器体1内的填充率为20%~70%。
图2所示的是本发明的另一实施例结构示意图,与图1所示的结构相比,区别仅在于器体1的边上设置有带有出水管12的储水容器13(可与器体一体制成),器体1下部的出水口7在底部连通于所述的储水容器13。
图3所示的是本发明的再一个实施例结构示意图,它由两个器体1并排串联组成两级反应器,与图2所示结构相比,储水容器13用一个内安装有活性炭复合悬浮载体2的器体1代替,两个器体1并排布置成一体且结构相同,出水口位于两级器体的上部,而在两级器体的边上再置有一储水容器13,储水容器的出水口14设置在侧底部。
图4所示的结构表示的是在图3所示结构基础上,通过管道连通有一曝气生物滤池单元,从储水容器13的侧底部出水口14通过生物滤池进水管15通入曝气生物滤池单元16,所述的曝气生物滤池单元16底部设置有一布水器17,上面通过承托层18安装有滤层19,在曝气生物滤池单元16的上部设置有集水槽20,并在集水槽20上设置有出水孔21。
本发明所述的活性炭复合悬浮载体—多相催化臭氧氧化深度净化废水方法按以下步骤实现:
1)调研分析待处理水质水量,确定有机污染的含量,评估可疑有机物污染物化学组分和生物特性,设计催化臭氧氧化反应器在净水工艺流程中的位置,催化臭氧氧化反应器内的有效水深(H>3.0m)和水力停留时间,(HRT>5.0min);
2)选择活性炭悬浮载体材料的规格,确定催化活性活性炭复合悬浮载体在催化臭氧氧化反应器的填充率(20%~70%);
3)根据水质特性,配制含有Cu2+、Fe2+、Mn2+、Co2+、Ni2+等一种或多种低价金属离子水溶性溶液,浸渍活性炭悬浮载体材料,干燥处理后与臭氧接触,制备具有催化活性功能的活性炭复合悬浮载体,填充催化臭氧氧化反应器;
4)催化臭氧氧化反应器连续进水,投加臭氧,活性炭复合悬浮载体在臭氧微气泡的作用悬浮游弋,在水、臭氧、活性炭复合悬浮载体的共同作用下,构建以活性炭为载体的多相非均相催化氧化体系,提高臭氧选择性氧化废水中有机污染物的能力和臭氧的利用效率,去除废水中有机污染物、色、嗅、味的效果,臭氧投加量在0.01kg.臭氧/kg.COD以上;
5)催化臭氧氧化反应器的出水即完成臭氧多相非均相催化氧化处理,既可完成净水工艺流程,也可进一步设置空气吹脱、跌水释放以及其它方式去除水中的溶解性臭氧后,采用曝气生物滤池等其它生物处理方法强化处理;
6)催化臭氧氧化反应器内溢出的残余臭氧时,通过设置吸附或分解的臭氧破坏装置,处理水、臭氧、活性炭复合悬浮载体的共同作用后溢出的残留臭氧;
7)活性炭复合悬浮载体的后期维护,无须频繁更换,维护过程中更新流失或破损部分活性炭复合悬浮载体,维持其在催化臭氧氧化反应器内的填充率即可。
实施例1
利用如图3所示的催化臭氧氧化反应器,作为某制革印染工业园区污水处理厂CASS出水深度净化装置的臭氧氧化单元(图4所示)。
该污水处理厂,由进水水质为COD 500~700 mg/L、氨氮35~50 mg/L、总氮40~65 mg/L、总磷2.0~5.0 mg/L、色度80~200。由于该污水厂的进水全部为制革印染工业废水,企业在排放废水前,多已经过了好氧生物法进行了预处理,进水有机污染物以杂环类化合物为主,可生化性差极差,色度较高,含有铬(Cr)、铁(Fe)、锰(Mn)、镍(Ni)、铅(Pb)、锌(Zn)、钙(Ca)等多种金属或重金属离子,该污水处理厂采用“水解酸化+CASS”工艺处理,在水解酸化池HRT 9.0h,厌氧污泥的质量浓度为0.80g/L;CASS池污泥的质量浓度为4.0g/L ,进水曝气-沉淀-排水-闲置按照4h-2h-1h-1h运行,污泥龄控制在21d, 单池标准需氧量为4500 kg[O2]/d, 经处理后的出水水质为COD 70~150 mg/L、氨氮≤8 mg/L、总磷 ≤1.5mg/L、总氮20~40 mg/L、色度 20~80 mg/L,达到不到《城镇污水处理厂污染物排放标准》(GB18918-2002)的一级A标准,
该污水厂为了实现深度处理目标,以其出水为待处理水,设计了规模为120 t/d,采用“砂滤—多相催化臭氧氧化—曝气生物滤池”工艺的废水深度处理示范工程,作为8万吨规模项目的技术依据。具体实施步骤如下:
1)设计待处理水经砂滤后,进入催化臭氧氧化反应器,催化臭氧氧化反应器内置30%的活性炭复合悬浮载体,两级串联,有效水深7.0m,一级水力停留时间15min,出水经跌曝释放水中残留臭氧后进入曝气生物滤池强化处理,曝气生物滤池出水排放;
2)选取球状活性炭悬浮材料作为载体,配制饱和硫酸铜溶液,加入1mol/L的Co(NO3)2,浸渍活性炭悬浮载体材料,干燥处理后与臭氧接触6h,完成制备活性炭复合悬浮载体过程,填充于催化臭氧氧化反应器;
3)催化臭氧氧化反应器连续进水,流量5t/h,采用纯氧气制备臭氧,通过微孔扩散器扩散与废水逆向接触,臭氧投加量20mg/L,活性炭复合悬浮载体处于悬浮游弋状态,出水接近无色状态;
4)催化臭氧氧化反应器的出水经过跌落过程后,进入曝气生物滤池,曝气生物滤池采用鹅卵石作为承托层,颗粒活性炭滤料,滤层厚度为1.5m,滤料粒径为2~3mm,滤速2~3mm/s,曝气量的汽水比为3~4,滤池出水排放;
5)催化臭氧氧化反应器内溢出的尾气,收集后通入盛有硫酸亚铁溶液的反应罐内;
6)曝气生物滤池出水水质达到《城镇污水处理厂污染物排放标准》(GB18918 -2002)的一级标准A标准,COD ≤50 mg/L,氨氮≤1 mg/L、TP ≤0.5mg/L、SS ≤10mg/L,水质感官接近自来水,达到《生活杂用水水质标准》(CJ/T 48-1999)的回用要求(见图5)。
Claims (6)
1.一种复合悬浮载体,其特征在于它以悬浮活性炭为载体,在该悬浮活性炭上负载有铜、铁、锰、钴、镍化合物作为活性组分,是活性炭复合悬浮载体。
2.根据权利要求1所述的活性炭复合悬浮载体,其特征在于所述的悬浮活性炭是以活性炭为基体,辅助其它材质制成可悬浮于水体的载体材料,并在该载体材料选择性地浸渍有一定比例的Cu2+、Fe2+、Mn2+、Co2+、Ni2+低价水溶性金属盐溶液,经干燥处理后与臭氧接触而制成的具有催化活性功能的活性炭复合悬浮载体。
3.一种安装有如权利要求1或2所述活性炭复合悬浮载体的催化臭氧氧化反应器,它至少包括有一器体,其特征在于所述的器体内安置有具有催化臭氧氧化功能的活性炭复合悬浮载体,在活性炭复合悬浮载体下部通过微孔扩散装置连通外部的臭氧发生器,位于活性炭复合悬浮载体上方的器体上设置有进水口,并连接外部的进水通道,位于活性炭复合悬浮载体下方的器体上设置有出水口,并连接外部的出水通道或相连于边置的带有出水管的器体或储水容器,在所述器体的上部通道管道连接有一可将器体内溢出的残余臭氧进行吸附或分解的臭氧破坏装置。
4.根据权利要求3所述的催化臭氧氧化反应器,其特征在于所述的器体内的有效水深H>3.0m,HRT>5.0min,臭氧的投加量在0.01kg.臭氧/kg.COD以上;活性炭复合悬浮载体在器体内的填充率为20%~70%。
5.根据权利要求3或4所述的催化臭氧氧化反应器,其特征在于所述的器体至少是由两级串联组成。
6.一种利用如权利要求3或4或5所述的催化臭氧氧化反应器进行净化废水方法,该方法按以下步骤进行:
1)调研分析待处理水质水量,确定有机污染的含量,评估可疑有机物污染物化学组分和生物特性,设计催化臭氧氧化反应器在净水工艺流程中的位置,催化臭氧氧化反应器内的有效水深(H>3.0m)和水力停留时间,(HRT>5.0min);
2)选择活性炭悬浮载体材料的规格,确定催化活性活性炭复合悬浮载体在催化臭氧氧化反应器的填充率(20%~70%);
3)根据水质特性,配制含有Cu2+、Fe2+、Mn2+、Co2+、Ni2+等一种或多种低价金属离子水溶性溶液,浸渍活性炭悬浮载体材料,干燥处理后与臭氧接触,制备具有催化活性功能的活性炭复合悬浮载体,填充催化臭氧氧化反应器;
4)催化臭氧氧化反应器连续进水,投加臭氧,活性炭复合悬浮载体在臭氧微气泡的作用悬浮游弋,在水、臭氧、活性炭复合悬浮载体的共同作用下,构建以活性炭为载体的多相非均相催化氧化体系,提高臭氧选择性氧化废水中有机污染物的能力和臭氧的利用效率,去除废水中有机污染物、色、嗅、味的效果,臭氧投加量在0.01kg.臭氧/kg.COD以上;
5)催化臭氧氧化反应器的出水即完成臭氧多相非均相催化氧化处理,既可完成净水工艺流程,也可进一步设置空气吹脱、跌水释放以及其它方式去除水中的溶解性臭氧后,采用曝气生物滤池等其它生物处理方法强化处理;
6)催化臭氧氧化反应器内溢出的残余臭氧时,通过设置吸附或分解的臭氧破坏装置,处理水、臭氧、活性炭复合悬浮载体的共同作用后溢出的残留臭氧;
7)活性炭复合悬浮载体的后期维护,无须频繁更换,维护过程中更新流失或破损部分活性炭复合悬浮载体,维持其在催化臭氧氧化反应器内的填充率即可。
Priority Applications (1)
| Application Number | Priority Date | Filing Date | Title |
|---|---|---|---|
| CN2012101783423A CN102689977A (zh) | 2012-06-01 | 2012-06-01 | 一种复合悬浮载体—催化臭氧氧化净化废水方法及反应器 |
Applications Claiming Priority (1)
| Application Number | Priority Date | Filing Date | Title |
|---|---|---|---|
| CN2012101783423A CN102689977A (zh) | 2012-06-01 | 2012-06-01 | 一种复合悬浮载体—催化臭氧氧化净化废水方法及反应器 |
Publications (1)
| Publication Number | Publication Date |
|---|---|
| CN102689977A true CN102689977A (zh) | 2012-09-26 |
Family
ID=46855736
Family Applications (1)
| Application Number | Title | Priority Date | Filing Date |
|---|---|---|---|
| CN2012101783423A Pending CN102689977A (zh) | 2012-06-01 | 2012-06-01 | 一种复合悬浮载体—催化臭氧氧化净化废水方法及反应器 |
Country Status (1)
| Country | Link |
|---|---|
| CN (1) | CN102689977A (zh) |
Cited By (12)
| Publication number | Priority date | Publication date | Assignee | Title |
|---|---|---|---|---|
| CN104118929A (zh) * | 2014-07-02 | 2014-10-29 | 江苏中金环保科技有限公司 | 一种臭氧催化反应冷轧废水处理器 |
| CN104926034A (zh) * | 2015-06-11 | 2015-09-23 | 武汉钢铁(集团)公司 | 臭氧催化氧化组合生物滤池处理焦化废水工艺和装置 |
| CN106045005A (zh) * | 2016-08-08 | 2016-10-26 | 苏州希克曼物联技术有限公司 | 一种复相催化臭氧氧化有机物协同充氧的设备及方法 |
| CN108568294A (zh) * | 2018-04-13 | 2018-09-25 | 哈尔滨工业大学 | 一种轻质颗粒状臭氧催化氧化材料、其制备办法及利用该材料催化氧化的反应装置 |
| CN109081421A (zh) * | 2018-08-06 | 2018-12-25 | 河北科技大学 | 一种非均相臭氧催化氧化处理制药废水的装置及工艺 |
| WO2020122808A1 (en) * | 2018-12-12 | 2020-06-18 | Sembcorp Industries Ltd | A metal doped catalyst |
| CN111302477A (zh) * | 2018-12-12 | 2020-06-19 | 中蓝连海设计研究院有限公司 | 深度处理石化废水二级生化出水的装置与方法 |
| CN111410376A (zh) * | 2020-04-26 | 2020-07-14 | 工大环境股份有限公司 | 一种用于工业园区废水催化水解预处理方法 |
| CN112225308A (zh) * | 2020-10-09 | 2021-01-15 | 江苏南大华兴环保科技股份公司 | 一种基于臭氧氧化技术处理生物毒性废水的装置及方法 |
| CN112607844A (zh) * | 2021-01-26 | 2021-04-06 | 山西远航环境科技股份有限公司 | 臭氧复合活性炭纳米二氧化钛处理有机废水的装置 |
| CN115466009A (zh) * | 2022-09-01 | 2022-12-13 | 上海莲立环境有限公司 | 市政污泥水热碳化压滤液纳管达标处理工艺及其处理系统 |
| CN116239211A (zh) * | 2023-05-11 | 2023-06-09 | 天津群峰环保科技有限公司 | 一种光伏废水处理系统及处理方法 |
Citations (5)
| Publication number | Priority date | Publication date | Assignee | Title |
|---|---|---|---|---|
| CN101041503A (zh) * | 2007-03-20 | 2007-09-26 | 哈尔滨工业大学 | 一种臭氧催化氧化强化去除水中氨氮的方法 |
| CN101648135A (zh) * | 2008-08-14 | 2010-02-17 | 赢创德固赛有限责任公司 | 一种用于将芳香族卤代硝基化合物选择性氢化为芳香族卤化胺的催化剂及其制备方法 |
| KR100954205B1 (ko) * | 2008-06-17 | 2010-04-21 | 울산과학대학 산학협력단 | 오존 탈취반응용 복합촉매의 제조방법 |
| CN102381812A (zh) * | 2011-09-30 | 2012-03-21 | 浙江清华长三角研究院 | 一种利用o3催化氧化深度处理难生物降解有机废水的方法及装置 |
| CN202237744U (zh) * | 2011-08-12 | 2012-05-30 | 宁波大学 | 一种活性炭床与低温等离子体一体化有机废气净化装置 |
-
2012
- 2012-06-01 CN CN2012101783423A patent/CN102689977A/zh active Pending
Patent Citations (5)
| Publication number | Priority date | Publication date | Assignee | Title |
|---|---|---|---|---|
| CN101041503A (zh) * | 2007-03-20 | 2007-09-26 | 哈尔滨工业大学 | 一种臭氧催化氧化强化去除水中氨氮的方法 |
| KR100954205B1 (ko) * | 2008-06-17 | 2010-04-21 | 울산과학대학 산학협력단 | 오존 탈취반응용 복합촉매의 제조방법 |
| CN101648135A (zh) * | 2008-08-14 | 2010-02-17 | 赢创德固赛有限责任公司 | 一种用于将芳香族卤代硝基化合物选择性氢化为芳香族卤化胺的催化剂及其制备方法 |
| CN202237744U (zh) * | 2011-08-12 | 2012-05-30 | 宁波大学 | 一种活性炭床与低温等离子体一体化有机废气净化装置 |
| CN102381812A (zh) * | 2011-09-30 | 2012-03-21 | 浙江清华长三角研究院 | 一种利用o3催化氧化深度处理难生物降解有机废水的方法及装置 |
Cited By (18)
| Publication number | Priority date | Publication date | Assignee | Title |
|---|---|---|---|---|
| CN104118929A (zh) * | 2014-07-02 | 2014-10-29 | 江苏中金环保科技有限公司 | 一种臭氧催化反应冷轧废水处理器 |
| CN104926034A (zh) * | 2015-06-11 | 2015-09-23 | 武汉钢铁(集团)公司 | 臭氧催化氧化组合生物滤池处理焦化废水工艺和装置 |
| CN106045005A (zh) * | 2016-08-08 | 2016-10-26 | 苏州希克曼物联技术有限公司 | 一种复相催化臭氧氧化有机物协同充氧的设备及方法 |
| CN106045005B (zh) * | 2016-08-08 | 2023-10-20 | 苏州希克曼物联技术有限公司 | 一种复相催化臭氧氧化有机物协同充氧的设备及方法 |
| CN108568294A (zh) * | 2018-04-13 | 2018-09-25 | 哈尔滨工业大学 | 一种轻质颗粒状臭氧催化氧化材料、其制备办法及利用该材料催化氧化的反应装置 |
| CN109081421A (zh) * | 2018-08-06 | 2018-12-25 | 河北科技大学 | 一种非均相臭氧催化氧化处理制药废水的装置及工艺 |
| CN111302477B (zh) * | 2018-12-12 | 2022-03-18 | 中蓝连海设计研究院有限公司 | 深度处理石化废水二级生化出水的装置与方法 |
| CN113396013A (zh) * | 2018-12-12 | 2021-09-14 | 胜科工业有限公司 | 金属掺杂催化剂 |
| CN111302477A (zh) * | 2018-12-12 | 2020-06-19 | 中蓝连海设计研究院有限公司 | 深度处理石化废水二级生化出水的装置与方法 |
| WO2020122808A1 (en) * | 2018-12-12 | 2020-06-18 | Sembcorp Industries Ltd | A metal doped catalyst |
| CN111410376A (zh) * | 2020-04-26 | 2020-07-14 | 工大环境股份有限公司 | 一种用于工业园区废水催化水解预处理方法 |
| CN111410376B (zh) * | 2020-04-26 | 2022-07-19 | 工大环境股份有限公司 | 一种用于工业园区废水催化水解预处理方法 |
| CN112225308A (zh) * | 2020-10-09 | 2021-01-15 | 江苏南大华兴环保科技股份公司 | 一种基于臭氧氧化技术处理生物毒性废水的装置及方法 |
| CN112225308B (zh) * | 2020-10-09 | 2021-05-18 | 江苏南大华兴环保科技股份公司 | 一种基于臭氧氧化技术处理生物毒性废水的装置及方法 |
| CN112607844A (zh) * | 2021-01-26 | 2021-04-06 | 山西远航环境科技股份有限公司 | 臭氧复合活性炭纳米二氧化钛处理有机废水的装置 |
| CN115466009A (zh) * | 2022-09-01 | 2022-12-13 | 上海莲立环境有限公司 | 市政污泥水热碳化压滤液纳管达标处理工艺及其处理系统 |
| CN115466009B (zh) * | 2022-09-01 | 2024-11-08 | 上海莲立环境有限公司 | 市政污泥水热碳化压滤液纳管达标处理工艺及其处理系统 |
| CN116239211A (zh) * | 2023-05-11 | 2023-06-09 | 天津群峰环保科技有限公司 | 一种光伏废水处理系统及处理方法 |
Similar Documents
| Publication | Publication Date | Title |
|---|---|---|
| CN102689977A (zh) | 一种复合悬浮载体—催化臭氧氧化净化废水方法及反应器 | |
| Babaei et al. | Combined landfill leachate treatment methods: an overview | |
| Zheng et al. | Treatment technologies for organic wastewater | |
| CN102936083B (zh) | 一种同时脱除废水中难降解有机物和总氮的装置及方法 | |
| CN101708935B (zh) | 集装箱洗箱废水的处理方法 | |
| CN106927628A (zh) | 微电解—芬顿—egsb—a/o—bco—baf—混凝处理制药废水工艺 | |
| CN102775029A (zh) | 城镇污水深度处理系统及方法 | |
| Fang et al. | Recent advances of landfill leachate treatment | |
| CN101693569A (zh) | 一种高效的臭氧催化氧化装置 | |
| CN102659287A (zh) | 一种煤化工废水处理的联合方法 | |
| Xie et al. | Treatment of mature landfill leachate by biofilters and Fenton oxidation | |
| KR20180101572A (ko) | 폐수 처리 공정 및 시설 | |
| CN107117767A (zh) | 一种石油化工废水的处理方法 | |
| CN105174632A (zh) | 超声强化内电解耦合生物法处理船舶污水的装置及方法 | |
| CN106256787A (zh) | 一种炼化污水催化臭氧氧化处理方法 | |
| CN103663842A (zh) | 一种乙烯废碱液的深度处理方法 | |
| CN106145571A (zh) | 一种化工废水处理站尾水深度处理系统及处理方法 | |
| Xiang et al. | A Review on Landfill Leachate Treatment Technologies: Comparative Analysis of Methods and Process Innovation. | |
| CN112939352A (zh) | 一种工业园区综合污水的处理方法 | |
| CN105439368A (zh) | 一种乙烯废碱液的深度处理方法 | |
| CN102964010B (zh) | 一种生物难降解污水的深度处理方法 | |
| CN105330099A (zh) | 一种一体式废水处理装置及石化二级出水处理方法 | |
| CN106810017B (zh) | 一种难降解工业有机废水深度处理装置及工艺 | |
| CN203959998U (zh) | 一种工业难降解废水的深度处理系统 | |
| CN109574386A (zh) | 一种香料废水处理系统 |
Legal Events
| Date | Code | Title | Description |
|---|---|---|---|
| C06 | Publication | ||
| PB01 | Publication | ||
| C10 | Entry into substantive examination | ||
| SE01 | Entry into force of request for substantive examination | ||
| C12 | Rejection of a patent application after its publication | ||
| RJ01 | Rejection of invention patent application after publication |
Application publication date: 20120926 |