CN101798846A - Modularization assembled house - Google Patents
Modularization assembled house Download PDFInfo
- Publication number
- CN101798846A CN101798846A CN201010109817A CN201010109817A CN101798846A CN 101798846 A CN101798846 A CN 101798846A CN 201010109817 A CN201010109817 A CN 201010109817A CN 201010109817 A CN201010109817 A CN 201010109817A CN 101798846 A CN101798846 A CN 101798846A
- Authority
- CN
- China
- Prior art keywords
- house
- adiabatic
- floor
- top board
- puigging
- Prior art date
- Legal status (The legal status is an assumption and is not a legal conclusion. Google has not performed a legal analysis and makes no representation as to the accuracy of the status listed.)
- Granted
Links
- 238000005452 bending Methods 0.000 claims description 20
- 238000010276 construction Methods 0.000 claims description 10
- 239000000463 material Substances 0.000 claims description 6
- 229910000831 Steel Inorganic materials 0.000 claims description 5
- 230000002787 reinforcement Effects 0.000 claims description 5
- 239000010959 steel Substances 0.000 claims description 5
- 230000015572 biosynthetic process Effects 0.000 claims description 4
- 238000005728 strengthening Methods 0.000 claims description 4
- 239000006261 foam material Substances 0.000 claims description 3
- 210000001364 upper extremity Anatomy 0.000 claims description 3
- 229910001335 Galvanized steel Inorganic materials 0.000 claims description 2
- 239000004568 cement Substances 0.000 claims description 2
- 239000008397 galvanized steel Substances 0.000 claims description 2
- 229910052602 gypsum Inorganic materials 0.000 claims description 2
- 239000010440 gypsum Substances 0.000 claims description 2
- 238000002955 isolation Methods 0.000 claims description 2
- ZLNQQNXFFQJAID-UHFFFAOYSA-L magnesium carbonate Chemical compound [Mg+2].[O-]C([O-])=O ZLNQQNXFFQJAID-UHFFFAOYSA-L 0.000 claims description 2
- 229910000021 magnesium carbonate Inorganic materials 0.000 claims description 2
- 235000014380 magnesium carbonate Nutrition 0.000 claims description 2
- 239000001095 magnesium carbonate Substances 0.000 claims description 2
- 238000007789 sealing Methods 0.000 claims description 2
- 238000002485 combustion reaction Methods 0.000 claims 1
- 125000002485 formyl group Chemical class [H]C(*)=O 0.000 claims 1
- 238000004134 energy conservation Methods 0.000 abstract description 2
- 230000007613 environmental effect Effects 0.000 abstract description 2
- 238000003780 insertion Methods 0.000 abstract description 2
- 230000037431 insertion Effects 0.000 abstract description 2
- 230000001351 cycling effect Effects 0.000 abstract 1
- 238000009413 insulation Methods 0.000 description 5
- 238000004519 manufacturing process Methods 0.000 description 5
- 238000010923 batch production Methods 0.000 description 4
- 238000010586 diagram Methods 0.000 description 4
- 239000006260 foam Substances 0.000 description 4
- 238000009434 installation Methods 0.000 description 4
- 239000002131 composite material Substances 0.000 description 3
- 238000005187 foaming Methods 0.000 description 3
- 239000012141 concentrate Substances 0.000 description 2
- 230000002265 prevention Effects 0.000 description 2
- 239000000853 adhesive Substances 0.000 description 1
- 238000005266 casting Methods 0.000 description 1
- 239000003795 chemical substances by application Substances 0.000 description 1
- 230000008878 coupling Effects 0.000 description 1
- 238000010168 coupling process Methods 0.000 description 1
- 238000005859 coupling reaction Methods 0.000 description 1
- 238000005034 decoration Methods 0.000 description 1
- 238000005516 engineering process Methods 0.000 description 1
- 239000012530 fluid Substances 0.000 description 1
- 238000000034 method Methods 0.000 description 1
- 238000000465 moulding Methods 0.000 description 1
- NJPPVKZQTLUDBO-UHFFFAOYSA-N novaluron Chemical compound C1=C(Cl)C(OC(F)(F)C(OC(F)(F)F)F)=CC=C1NC(=O)NC(=O)C1=C(F)C=CC=C1F NJPPVKZQTLUDBO-UHFFFAOYSA-N 0.000 description 1
- 238000012856 packing Methods 0.000 description 1
- -1 phenolic aldehyde Chemical class 0.000 description 1
- 239000000565 sealant Substances 0.000 description 1
- 230000009466 transformation Effects 0.000 description 1
Images
Landscapes
- Building Environments (AREA)
Abstract
The invention discloses modularization assembled house, which comprises the following templates: floors, roofs, wallboards and corner columns, wherein the roofs, the floors and the corner columns are connected by bolts to form the structure of a house; and upper and lower grooves of the roofs and the floors are insertion connection with the wallboards to form walls of the house. In the modularization assembled house, the elements of the house are simplified into standard element templates which can be produced in specialized factories completely and then transported to a spot to be assembled quickly, so the modularization assembled house has the characteristics of environmental protection, energy conservation, convenient assembly and disassembly and high cycling rate.
Description
Technical field
The present invention relates to assembled house, relate in particular to a kind of modularization assembled house that is easy to suitability for industrialized production and assembly unit.
Background technology
Existing assembling (prefabricated) house roughly is divided into five kinds of forms such as wooden beam plated construction, lightweight steel construction, plank frame, case structure and composite material combination construction.The assembled housing of preceding two kinds of forms, structure division batch production production degree is higher, and member is more, can satisfy the needs of building low story dwelling and villa.But building foundation part and fitting-up partly be unable to do without wet trade, the assemble method complexity, and the duration is still longer, and cost is higher relatively.
The plank frame house component is few, standardization level is high and most of member batch production is produced.Domestic plank frame house mostly is movable plank house, and is too simple and easy, and safety, fire prevention, insulation, heat-proof quality are all not good, and first floor floor must be excavated ground and be carried out wet trade, can only be used for temporary use, as builder's temporary shed, and Site Office etc.
The case structure house generally on the basis of container body, is continued to use traditional building finishing technological transformation and is formed lodgeable house.This mobile house good integrity, but the more container characteristic that kept of outward appearance, the influence of spatial design subject container modulus is bigger.The FCL cost of transportation is high and be difficult to promote at a distance on a large scale.
The composite material mixed structure housing is various informative, have lightweight, energy-conservation, be convenient to characteristics such as batch production manufacturing and assembling, but mostly be personalized product.
Therefore, how to develop a kind of batch production manufacturing, transportation in bulk, the modularization assembling, lightweight, energy-saving and environmental protection, fire prevention, safety, and the assembled house of relative low price is a problem that needs to be resolved hurrily in the industry.
Summary of the invention
The objective of the invention is to solve above-mentioned problems of the prior art, design a kind of modularization assembled house.This modularization assembled house adopts standardized module, concentrates on factory and produces in batches, is transported to then on the spot and installs, and uses flexible, easy installation and removal, and insulation preferably, sound insulation and fireproof performance are arranged simultaneously, structural safety, reliable.
The technical solution used in the present invention is a kind of modularization assembled house of design, and this house comprises following standard module:
The floor, adopt closed-in construction, comprise adiabatic puigging, be arranged on longitudinal and transverse reinforcement keel in the middle of the adiabatic puigging, be arranged on the panel of adiabatic puigging upper and lower surface and be embedded in the C type bending structural beams of floor periphery, the upper surface on this floor is along the inboard groove that forms of C type bending structural beams, ponding is set leads the through hole of letting out usefulness at interval in the groove, and floor four jiaos of C types bending structural beams upper limb is provided with the erection bolt hole;
Top board, adopt closed-in construction, the C type bending structural beams that comprises adiabatic puigging, is arranged on the panel of adiabatic puigging upper and lower surface and is embedded in roof perimeter, the soffit of this top board is along the inboard groove that forms of C type bending structural beams, and four jiaos of C types of top board bending structural beams lower edge is provided with the erection bolt hole;
Wallboard comprises adiabatic puigging and the panel that is arranged on adiabatic puigging both side surface, according to different requirement of strength, also can or place all around and strengthen keel in the wallboard centre;
Corner post comprises the cylinder of right angle section and the cylinder bolt installing plate at two ends up and down, can be divided into built in type corner post and outer-installed type corner post according to the different corner posts of purposes.
Be connected to form the structure in house between described top board, floor and the corner post by bolt, downward groove is pegged graft and is fixed on described wallboard upper end and the top board, and the groove that makes progress on wallboard lower end and the floor is pegged graft fixing, the body of wall in formation house.
Compared with prior art, the present invention has the following advantages:
1, each member in house is modularizing member, can concentrate on specialized plant produced.Site requirements is low, and assembling is simple, and convenient disassembly can repeatedly mobile dismounting, recycles the rate height.
2, the modularization manufacturing of lightweight, thermal insulation, sound insulation value and member is finished synchronously, guaranteed fireproof performance by the unitary construction method, no cold bridge, the energy-conserving and environment-protective performance is very outstanding.
3, be applicable to purposes such as office that holiday village, motel, tourist court, frontier sentry, open-air engineering, disaster relief etc. are fixing, semifixed or lodging.
Description of drawings
Below in conjunction with drawings and Examples the present invention is described in further detail, wherein:
Fig. 1 is a schematic perspective view of the present invention;
Fig. 2 is the longitudinal profile schematic diagram in house of the present invention;
Fig. 3 is a body of wall horizontal profile schematic diagram of the present invention;
Fig. 4 is the grafting groove schematic diagram on floor of the present invention;
Fig. 5 is the grafting groove schematic diagram of top board of the present invention;
Fig. 6 A is an outer-installed type corner post schematic cross-section of the present invention
Fig. 6 B is a built in type corner post schematic cross-section of the present invention
Fig. 7 is a scheme of installation of strengthening keel in the adiabatic isolation layer in length and breadth.
The specific embodiment
As shown in Figure 1, the modularization assembled house of the present invention's design comprises following basic module: floor 1, wallboard 2, top board 4 and the corner post between top board and floor 3.Above the top board 4 members such as various roof trusses, roofing can also be installed.Below the floor 1 the structure carriage can be set, make house earth surface have the stable structure performance.Can perforate inlay door and window on the wallboard 2, also can directly constitute a wall in house, at this moment, use tap bolt to be connected with wallboard or corner post around this door and window, and seal with fluid sealant with door and window.
As Fig. 2 and shown in Figure 4, closed-in construction is adopted on floor 1, comprising: adiabatic puigging 11, be arranged on longitudinal and transverse reinforcement keel 5 (as shown in Figure 7) in the middle of the adiabatic puigging, be arranged on the panel 10 and 12 and the C type bending structural beams 16 that is embedded in the floor periphery of adiabatic puigging upper and lower surface.The upper surface 10 on this floor 1 is along the C type bending structural beams 16 inboard grooves upwards that form, and ponding is set leads the through hole 15 of letting out usefulness at interval in the groove, and floor four jiaos of C types bending structural beams upper limb is provided with the erection bolt hole.
As Fig. 2 and shown in Figure 5, top board 4 adopts closed-in construction, comprise: adiabatic puigging 41, be arranged on the panel 40 and 42 and the C type bending structural beams 46 that is embedded in roof perimeter of adiabatic puigging upper and lower surface, the soffit 42 of this top board 4 is along the downward groove of C type bending structural beams 46 inboard formation, and four jiaos of C types of top board bending structural beams, 46 lower edges are provided with the erection bolt hole.When the assembly unit multistoried building, the top board in lower floor house constitutes the floor in house, upper strata, at this moment, in the middle of the adiabatic puigging of top board 4 longitudinal and transverse reinforcement keel 5 can be set also.
As shown in Figure 2, wallboard 2 comprises: adiabatic puigging 21 and the panel 22 that is arranged on adiabatic puigging both side surface.According to different requirement of strength, also can or place all around and strengthen keel 5 in the wallboard centre.But the wallboard integral foam forms the large format integral wall, and also can separately foam forms the small breadth wallboard, is assembled into complete body of wall then.
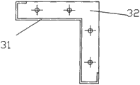
As shown in Figure 3, corner post comprises: the cylinder 31 of right angle section and from the cylinder bolt installing plate 32 of two ends bending up and down.Can be divided into built in type corner post (Fig. 6 A) and outer-installed type corner post (Fig. 6 B) according to the different corner posts of purposes.
Described adiabatic puigging expanded material surface covers fully by the sheet material (panel) that does not fire or difficulty is fired, peg graft by groove and the wallboard reserved on top board, the floor, guarantee that expanded material and indoor and outdoor burning things which may cause a fire disaster are isolated fully, thereby form the fireproof performance of integral house.The panel 10,12,40,42 and 22 of floor, top board, wallboard both sides can use cement fibrolite plate (CCA), magnesite plate, gypsum plank, color steel, galvanized steel plain sheet etc., and the assembly unit seam place of floor, top board and wallboard can be provided with sealing joint strip and seal.
Top board, floor and wallboard can be determined the thickness and the density of adiabatic puigging foaming body according to the building requirement of strength design, determine to strengthen the having or not of keel, cross dimensions size and spacing.
The plate face of top board, floor, wallboard can use materials such as waterproof, decoration to carry out after-treatment according to the architectural design requirement.
Can adopt C type, I shape steel to make to strengthening keel 5 in length and breadth in the adiabatic puigging.For making things convenient for the moulding by casting of foaming body, vertically on keel 51 or the lateral keel 52 rectangle or round hole 53 can be set, as shown in Figure 7.
In one embodiment of the invention, groove that makes progress on the floor 1 and wallboard 2 lower ends are pegged graft fixing, the upper end of downward groove and wallboard is pegged graft fixingly on the top board 4, and the bolton on four jiaos on the installing plate by outer-installed type corner post two ends about in the of 3 and top board, floor forms the house.Concrete steps are as follows during installation:
The first step is laid the frame floor on the simple and easy at the scene pedestal, and (or bolt) fixed in leveling;
In second step, corner post is installed and is utilized bolt for four jiaos on the frame floor;
The 3rd step, the wallboard of the inboard insertion of groove and corner post all around on the floor;
The 4th step, four corner post upper ends the ceiling that the frame top board constitutes the house is installed, simultaneously the wallboard upper end is inserted the groove of frame roof perimeter, with bolt that the corner post upper end is fixed-type with the frame top board.
Each element precast that the present invention will constitute the house becomes a plurality of basic modules, and these modules can be installed flexibly according to instructions for use, and composite assembly becomes single cabin, disjunctor house, multistoried building, and is very convenient.And each coupling part is detachable, and whole house module can be repeatedly, reuse.In addition, can also for additional member such as mobile house installation step, balcony, sunshade and indoor equipmenies, make this house function abundanter according to the function needs.
Claims (8)
1. modularization assembled house is characterized in that this house comprises following modules:
The floor, adopt closed-in construction, comprise adiabatic puigging, be arranged on longitudinal and transverse reinforcement keel in the middle of the adiabatic puigging, be arranged on the panel of adiabatic puigging upper and lower surface and be embedded in the C type bending structural beams of floor periphery, the upper surface on this floor is along the inboard groove that forms of C type bending structural beams, ponding is set leads the through hole of letting out usefulness at interval in the groove, and floor four jiaos of C types bending structural beams upper limb is provided with the erection bolt hole;
Top board, adopt closed-in construction, the C type bending structural beams that comprises adiabatic puigging, is arranged on the panel of adiabatic puigging upper and lower surface and is embedded in roof perimeter, the soffit of this top board is along the inboard groove that forms of C type bending structural beams, and four jiaos of C types of top board bending structural beams lower edge is provided with the erection bolt hole;
Wallboard comprises adiabatic puigging and the panel that is arranged on adiabatic puigging both side surface;
Corner post comprises the cylinder of right angle section and the cylinder bolt installing plate at two ends up and down;
Be connected to form the structure in house between described top board, floor and the corner post by bolt, downward groove is pegged graft and is fixed on described wallboard upper end and the top board, and the groove that makes progress on wallboard lower end and the floor is pegged graft fixing, the body of wall in formation house.
2. modularization assembled house as claimed in claim 1 is characterized in that: described corner post adopts built in type structure or outer-installed type structure.
3. modularization assembled house as claimed in claim 1 is characterized in that: be provided with in length and breadth to strengthening keel in the adiabatic isolation layer of described top board.
4. modularization assembled house as claimed in claim 1 is characterized in that: in the middle of the described wallboard or be provided with the reinforcement keel all around.
5. modularization assembled house as claimed in claim 1 is characterized in that: the adiabatic puigging in described floor, top board and the wallboard is a lightweight foam material, comprises EPS, XPS, PU or pnenolic aldehyde foam material.
6. modularization assembled house as claimed in claim 1 is characterized in that: the panel of described floor, top board and wallboard both sides adopts cement fibrolite plate (CCA), magnesite plate, gypsum plank, color steel, galvanized steel plain sheet, does not fire or difficult combustion sheet material.
7. as claim 1 or 3 described modularization assembled houses, it is characterized in that: making to strengthening keel employing C type or I shape steel in length and breadth in the adiabatic puigging, it is provided with rectangle or round hole.
8. modularization assembled house as claimed in claim 1 is characterized in that: the junction of described floor, top board and body of wall is provided with sealing joint strip.
Priority Applications (1)
| Application Number | Priority Date | Filing Date | Title |
|---|---|---|---|
| CN2010101098174A CN101798846B (en) | 2010-02-05 | 2010-02-05 | Modularization assembled house |
Applications Claiming Priority (1)
| Application Number | Priority Date | Filing Date | Title |
|---|---|---|---|
| CN2010101098174A CN101798846B (en) | 2010-02-05 | 2010-02-05 | Modularization assembled house |
Publications (2)
| Publication Number | Publication Date |
|---|---|
| CN101798846A true CN101798846A (en) | 2010-08-11 |
| CN101798846B CN101798846B (en) | 2011-12-28 |
Family
ID=42594673
Family Applications (1)
| Application Number | Title | Priority Date | Filing Date |
|---|---|---|---|
| CN2010101098174A Expired - Fee Related CN101798846B (en) | 2010-02-05 | 2010-02-05 | Modularization assembled house |
Country Status (1)
| Country | Link |
|---|---|
| CN (1) | CN101798846B (en) |
Cited By (10)
| Publication number | Priority date | Publication date | Assignee | Title |
|---|---|---|---|---|
| CN102108793A (en) * | 2011-02-11 | 2011-06-29 | 李欣 | Detachable mobile theatre |
| CN102691352A (en) * | 2012-06-05 | 2012-09-26 | 重庆骐驰科技有限公司 | Modular integrated house |
| CN105064506A (en) * | 2015-08-04 | 2015-11-18 | 卢乐平 | Assembled movable house |
| CN106150134A (en) * | 2016-07-07 | 2016-11-23 | 长沙理工大学 | Area and shape adjustable beamless light container house |
| WO2017076070A1 (en) * | 2015-11-06 | 2017-05-11 | 中建钢构有限公司 | Integrated-assembly steel structure building |
| CN107571385A (en) * | 2017-09-20 | 2018-01-12 | 贵州大学 | A kind of assembly type drying device |
| CN108301642A (en) * | 2018-02-07 | 2018-07-20 | 华北水利水电大学 | A kind of prefabricated buildings building structure and its construction method |
| CN108590025A (en) * | 2018-04-28 | 2018-09-28 | 国际竹藤中心 | A bamboo green prefabricated house and its construction method |
| CN111719701A (en) * | 2020-06-14 | 2020-09-29 | 胡令江 | Wall detachable assembled building |
| CN113319540A (en) * | 2021-07-02 | 2021-08-31 | 湖北吉国装饰工程有限公司 | Zinc steel pipe product container manufacturing process |
Family Cites Families (1)
| Publication number | Priority date | Publication date | Assignee | Title |
|---|---|---|---|---|
| CN201850647U (en) * | 2010-02-05 | 2011-06-01 | 杜海平 | Modular assembly house |
-
2010
- 2010-02-05 CN CN2010101098174A patent/CN101798846B/en not_active Expired - Fee Related
Cited By (12)
| Publication number | Priority date | Publication date | Assignee | Title |
|---|---|---|---|---|
| CN102108793A (en) * | 2011-02-11 | 2011-06-29 | 李欣 | Detachable mobile theatre |
| CN102691352A (en) * | 2012-06-05 | 2012-09-26 | 重庆骐驰科技有限公司 | Modular integrated house |
| CN105064506A (en) * | 2015-08-04 | 2015-11-18 | 卢乐平 | Assembled movable house |
| WO2017076070A1 (en) * | 2015-11-06 | 2017-05-11 | 中建钢构有限公司 | Integrated-assembly steel structure building |
| CN106150134A (en) * | 2016-07-07 | 2016-11-23 | 长沙理工大学 | Area and shape adjustable beamless light container house |
| CN106150134B (en) * | 2016-07-07 | 2018-06-05 | 长沙理工大学 | Area and shape adjustable beamless light container house |
| CN107571385A (en) * | 2017-09-20 | 2018-01-12 | 贵州大学 | A kind of assembly type drying device |
| CN108301642A (en) * | 2018-02-07 | 2018-07-20 | 华北水利水电大学 | A kind of prefabricated buildings building structure and its construction method |
| CN108590025A (en) * | 2018-04-28 | 2018-09-28 | 国际竹藤中心 | A bamboo green prefabricated house and its construction method |
| CN108590025B (en) * | 2018-04-28 | 2023-11-07 | 国际竹藤中心 | Bamboo green assembled house and construction method thereof |
| CN111719701A (en) * | 2020-06-14 | 2020-09-29 | 胡令江 | Wall detachable assembled building |
| CN113319540A (en) * | 2021-07-02 | 2021-08-31 | 湖北吉国装饰工程有限公司 | Zinc steel pipe product container manufacturing process |
Also Published As
| Publication number | Publication date |
|---|---|
| CN101798846B (en) | 2011-12-28 |
Similar Documents
| Publication | Publication Date | Title |
|---|---|---|
| CN101798846B (en) | Modularization assembled house | |
| EP3752689B1 (en) | Prefabricated insulated building panel with at least one cured cementitious layer bonded to insulation | |
| US10767369B2 (en) | Reinforced concrete building structures and methods for making same | |
| US8607523B2 (en) | Building that uses composite light-weight panels for structure and a construction method therefor | |
| US20050247013A1 (en) | Reinforced polymer panel and method for building construction | |
| CN102561513A (en) | Unit cabin type building system | |
| US20170191266A1 (en) | A self-bearing prefabricated construction element and a method of erecting external building walls of prefabricated construction elements | |
| CN101460686A (en) | Building panels with support members extending partially through the panels and method therefor | |
| CN201850647U (en) | Modular assembly house | |
| CN105951998B (en) | A kind of integrated assembled type dwelling house system and its construction method | |
| CN211286074U (en) | Self-heat-insulation system for prefabricated light high-strength foam concrete filled wallboard outer wall | |
| CN105756369A (en) | Heat insulation and decoration integrated fabricated building with built-in structural framework and construction method thereof | |
| US20220403653A1 (en) | Prefabricated building panels and methods for constructing buildings | |
| CN111927249B (en) | Integral prefabricated embedded bay window, connecting node and manufacturing method | |
| CN116241011B (en) | A concrete frame wall panel based on polyurethane casting abdominal cavity and its manufacturing method | |
| CN207032468U (en) | Assembled architecture | |
| CN109162359A (en) | For the assembling type steel structure module faced and built of constructing | |
| AU2019290033B2 (en) | Wall panel | |
| CN205776780U (en) | Integrated assembled type dwelling house system | |
| CN212358583U (en) | Integrated assembly type frame structure building system | |
| CN116837989A (en) | Construction method of composite wall body of brick | |
| CN211622736U (en) | Industrial assembled house | |
| CN111088858A (en) | A recyclable prefabricated gable and its connecting structure | |
| US20230374786A1 (en) | Modular panels and system for using said panels | |
| CN201738446U (en) | Unit modularization house |
Legal Events
| Date | Code | Title | Description |
|---|---|---|---|
| C06 | Publication | ||
| PB01 | Publication | ||
| C10 | Entry into substantive examination | ||
| SE01 | Entry into force of request for substantive examination | ||
| C14 | Grant of patent or utility model | ||
| GR01 | Patent grant | ||
| CF01 | Termination of patent right due to non-payment of annual fee | ||
| CF01 | Termination of patent right due to non-payment of annual fee |
Granted publication date: 20111228 Termination date: 20190205 |