WO2023112593A1 - 光源装置 - Google Patents

光源装置 Download PDF

Info

Publication number
WO2023112593A1
WO2023112593A1 PCT/JP2022/042760 JP2022042760W WO2023112593A1 WO 2023112593 A1 WO2023112593 A1 WO 2023112593A1 JP 2022042760 W JP2022042760 W JP 2022042760W WO 2023112593 A1 WO2023112593 A1 WO 2023112593A1
Authority
WO
WIPO (PCT)
Prior art keywords
light
light emitting
source device
light source
regions
Prior art date
Legal status (The legal status is an assumption and is not a legal conclusion. Google has not performed a legal analysis and makes no representation as to the accuracy of the status listed.)
Ceased
Application number
PCT/JP2022/042760
Other languages
English (en)
French (fr)
Japanese (ja)
Inventor
典正 ▲吉▼田
強志 岡久
Current Assignee (The listed assignees may be inaccurate. Google has not performed a legal analysis and makes no representation or warranty as to the accuracy of the list.)
Nichia Corp
Original Assignee
Nichia Corp
Priority date (The priority date is an assumption and is not a legal conclusion. Google has not performed a legal analysis and makes no representation as to the accuracy of the date listed.)
Filing date
Publication date
Application filed by Nichia Corp filed Critical Nichia Corp
Priority to CN202280082367.5A priority Critical patent/CN118401778A/zh
Priority to JP2023567634A priority patent/JPWO2023112593A1/ja
Publication of WO2023112593A1 publication Critical patent/WO2023112593A1/ja
Priority to US18/740,900 priority patent/US12352409B2/en
Anticipated expiration legal-status Critical
Ceased legal-status Critical Current

Links

Images

Classifications

    • FMECHANICAL ENGINEERING; LIGHTING; HEATING; WEAPONS; BLASTING
    • F21LIGHTING
    • F21VFUNCTIONAL FEATURES OR DETAILS OF LIGHTING DEVICES OR SYSTEMS THEREOF; STRUCTURAL COMBINATIONS OF LIGHTING DEVICES WITH OTHER ARTICLES, NOT OTHERWISE PROVIDED FOR
    • F21V14/00Controlling the distribution of the light emitted by adjustment of elements
    • F21V14/02Controlling the distribution of the light emitted by adjustment of elements by movement of light sources
    • FMECHANICAL ENGINEERING; LIGHTING; HEATING; WEAPONS; BLASTING
    • F21LIGHTING
    • F21LLIGHTING DEVICES OR SYSTEMS THEREOF, BEING PORTABLE OR SPECIALLY ADAPTED FOR TRANSPORTATION
    • F21L4/00Electric lighting devices with self-contained electric batteries or cells
    • FMECHANICAL ENGINEERING; LIGHTING; HEATING; WEAPONS; BLASTING
    • F21LIGHTING
    • F21SNON-PORTABLE LIGHTING DEVICES; SYSTEMS THEREOF; VEHICLE LIGHTING DEVICES SPECIALLY ADAPTED FOR VEHICLE EXTERIORS
    • F21S2/00Systems of lighting devices, not provided for in main groups F21S4/00 - F21S10/00 or F21S19/00, e.g. of modular construction
    • FMECHANICAL ENGINEERING; LIGHTING; HEATING; WEAPONS; BLASTING
    • F21LIGHTING
    • F21VFUNCTIONAL FEATURES OR DETAILS OF LIGHTING DEVICES OR SYSTEMS THEREOF; STRUCTURAL COMBINATIONS OF LIGHTING DEVICES WITH OTHER ARTICLES, NOT OTHERWISE PROVIDED FOR
    • F21V14/00Controlling the distribution of the light emitted by adjustment of elements
    • FMECHANICAL ENGINEERING; LIGHTING; HEATING; WEAPONS; BLASTING
    • F21LIGHTING
    • F21VFUNCTIONAL FEATURES OR DETAILS OF LIGHTING DEVICES OR SYSTEMS THEREOF; STRUCTURAL COMBINATIONS OF LIGHTING DEVICES WITH OTHER ARTICLES, NOT OTHERWISE PROVIDED FOR
    • F21V14/00Controlling the distribution of the light emitted by adjustment of elements
    • F21V14/006Controlling the distribution of the light emitted by adjustment of elements by means of optical elements, e.g. films, filters or screens, being rolled up around a roller
    • FMECHANICAL ENGINEERING; LIGHTING; HEATING; WEAPONS; BLASTING
    • F21LIGHTING
    • F21VFUNCTIONAL FEATURES OR DETAILS OF LIGHTING DEVICES OR SYSTEMS THEREOF; STRUCTURAL COMBINATIONS OF LIGHTING DEVICES WITH OTHER ARTICLES, NOT OTHERWISE PROVIDED FOR
    • F21V14/00Controlling the distribution of the light emitted by adjustment of elements
    • F21V14/06Controlling the distribution of the light emitted by adjustment of elements by movement of refractors
    • FMECHANICAL ENGINEERING; LIGHTING; HEATING; WEAPONS; BLASTING
    • F21LIGHTING
    • F21VFUNCTIONAL FEATURES OR DETAILS OF LIGHTING DEVICES OR SYSTEMS THEREOF; STRUCTURAL COMBINATIONS OF LIGHTING DEVICES WITH OTHER ARTICLES, NOT OTHERWISE PROVIDED FOR
    • F21V14/00Controlling the distribution of the light emitted by adjustment of elements
    • F21V14/08Controlling the distribution of the light emitted by adjustment of elements by movement of the screens or filters
    • FMECHANICAL ENGINEERING; LIGHTING; HEATING; WEAPONS; BLASTING
    • F21LIGHTING
    • F21VFUNCTIONAL FEATURES OR DETAILS OF LIGHTING DEVICES OR SYSTEMS THEREOF; STRUCTURAL COMBINATIONS OF LIGHTING DEVICES WITH OTHER ARTICLES, NOT OTHERWISE PROVIDED FOR
    • F21V9/00Elements for modifying spectral properties, polarisation or intensity of the light emitted, e.g. filters
    • F21V9/30Elements containing photoluminescent material distinct from or spaced from the light source
    • F21V9/32Elements containing photoluminescent material distinct from or spaced from the light source characterised by the arrangement of the photoluminescent material
    • FMECHANICAL ENGINEERING; LIGHTING; HEATING; WEAPONS; BLASTING
    • F21LIGHTING
    • F21VFUNCTIONAL FEATURES OR DETAILS OF LIGHTING DEVICES OR SYSTEMS THEREOF; STRUCTURAL COMBINATIONS OF LIGHTING DEVICES WITH OTHER ARTICLES, NOT OTHERWISE PROVIDED FOR
    • F21V9/00Elements for modifying spectral properties, polarisation or intensity of the light emitted, e.g. filters
    • F21V9/40Elements for modifying spectral properties, polarisation or intensity of the light emitted, e.g. filters with provision for controlling spectral properties, e.g. colour, or intensity
    • F21V9/45Elements for modifying spectral properties, polarisation or intensity of the light emitted, e.g. filters with provision for controlling spectral properties, e.g. colour, or intensity by adjustment of photoluminescent elements
    • GPHYSICS
    • G03PHOTOGRAPHY; CINEMATOGRAPHY; ANALOGOUS TECHNIQUES USING WAVES OTHER THAN OPTICAL WAVES; ELECTROGRAPHY; HOLOGRAPHY
    • G03BAPPARATUS OR ARRANGEMENTS FOR TAKING PHOTOGRAPHS OR FOR PROJECTING OR VIEWING THEM; APPARATUS OR ARRANGEMENTS EMPLOYING ANALOGOUS TECHNIQUES USING WAVES OTHER THAN OPTICAL WAVES; ACCESSORIES THEREFOR
    • G03B11/00Filters or other obturators specially adapted for photographic purposes
    • GPHYSICS
    • G03PHOTOGRAPHY; CINEMATOGRAPHY; ANALOGOUS TECHNIQUES USING WAVES OTHER THAN OPTICAL WAVES; ELECTROGRAPHY; HOLOGRAPHY
    • G03BAPPARATUS OR ARRANGEMENTS FOR TAKING PHOTOGRAPHS OR FOR PROJECTING OR VIEWING THEM; APPARATUS OR ARRANGEMENTS EMPLOYING ANALOGOUS TECHNIQUES USING WAVES OTHER THAN OPTICAL WAVES; ACCESSORIES THEREFOR
    • G03B15/00Special procedures for taking photographs; Apparatus therefor
    • G03B15/02Illuminating scene
    • GPHYSICS
    • G03PHOTOGRAPHY; CINEMATOGRAPHY; ANALOGOUS TECHNIQUES USING WAVES OTHER THAN OPTICAL WAVES; ELECTROGRAPHY; HOLOGRAPHY
    • G03BAPPARATUS OR ARRANGEMENTS FOR TAKING PHOTOGRAPHS OR FOR PROJECTING OR VIEWING THEM; APPARATUS OR ARRANGEMENTS EMPLOYING ANALOGOUS TECHNIQUES USING WAVES OTHER THAN OPTICAL WAVES; ACCESSORIES THEREFOR
    • G03B15/00Special procedures for taking photographs; Apparatus therefor
    • G03B15/02Illuminating scene
    • G03B15/03Combinations of cameras with lighting apparatus; Flash units
    • G03B15/05Combinations of cameras with electronic flash apparatus; Electronic flash units
    • GPHYSICS
    • G03PHOTOGRAPHY; CINEMATOGRAPHY; ANALOGOUS TECHNIQUES USING WAVES OTHER THAN OPTICAL WAVES; ELECTROGRAPHY; HOLOGRAPHY
    • G03BAPPARATUS OR ARRANGEMENTS FOR TAKING PHOTOGRAPHS OR FOR PROJECTING OR VIEWING THEM; APPARATUS OR ARRANGEMENTS EMPLOYING ANALOGOUS TECHNIQUES USING WAVES OTHER THAN OPTICAL WAVES; ACCESSORIES THEREFOR
    • G03B21/00Projectors or projection-type viewers; Accessories therefor
    • G03B21/14Details
    • GPHYSICS
    • G03PHOTOGRAPHY; CINEMATOGRAPHY; ANALOGOUS TECHNIQUES USING WAVES OTHER THAN OPTICAL WAVES; ELECTROGRAPHY; HOLOGRAPHY
    • G03BAPPARATUS OR ARRANGEMENTS FOR TAKING PHOTOGRAPHS OR FOR PROJECTING OR VIEWING THEM; APPARATUS OR ARRANGEMENTS EMPLOYING ANALOGOUS TECHNIQUES USING WAVES OTHER THAN OPTICAL WAVES; ACCESSORIES THEREFOR
    • G03B21/00Projectors or projection-type viewers; Accessories therefor
    • G03B21/14Details
    • G03B21/20Lamp housings
    • G03B21/2006Lamp housings characterised by the light source
    • G03B21/2013Plural light sources
    • GPHYSICS
    • G03PHOTOGRAPHY; CINEMATOGRAPHY; ANALOGOUS TECHNIQUES USING WAVES OTHER THAN OPTICAL WAVES; ELECTROGRAPHY; HOLOGRAPHY
    • G03BAPPARATUS OR ARRANGEMENTS FOR TAKING PHOTOGRAPHS OR FOR PROJECTING OR VIEWING THEM; APPARATUS OR ARRANGEMENTS EMPLOYING ANALOGOUS TECHNIQUES USING WAVES OTHER THAN OPTICAL WAVES; ACCESSORIES THEREFOR
    • G03B7/00Control of exposure by setting shutters, diaphragms or filters, separately or conjointly
    • G03B7/16Control of exposure by setting shutters, diaphragms or filters, separately or conjointly in accordance with both the intensity of the flash source and the distance of the flash source from the object, e.g. in accordance with the "guide number" of the flash bulb and the focusing of the camera
    • G03B7/17Selection of modes in flash units by exposure control arrangements
    • HELECTRICITY
    • H04ELECTRIC COMMUNICATION TECHNIQUE
    • H04NPICTORIAL COMMUNICATION, e.g. TELEVISION
    • H04N23/00Cameras or camera modules comprising electronic image sensors; Control thereof
    • H04N23/56Cameras or camera modules comprising electronic image sensors; Control thereof provided with illuminating means
    • HELECTRICITY
    • H05ELECTRIC TECHNIQUES NOT OTHERWISE PROVIDED FOR
    • H05BELECTRIC HEATING; ELECTRIC LIGHT SOURCES NOT OTHERWISE PROVIDED FOR; CIRCUIT ARRANGEMENTS FOR ELECTRIC LIGHT SOURCES, IN GENERAL
    • H05B45/00Circuit arrangements for operating light-emitting diodes [LED]
    • HELECTRICITY
    • H05ELECTRIC TECHNIQUES NOT OTHERWISE PROVIDED FOR
    • H05BELECTRIC HEATING; ELECTRIC LIGHT SOURCES NOT OTHERWISE PROVIDED FOR; CIRCUIT ARRANGEMENTS FOR ELECTRIC LIGHT SOURCES, IN GENERAL
    • H05B47/00Circuit arrangements for operating light sources in general, i.e. where the type of light source is not relevant
    • H05B47/10Controlling the light source
    • H05B47/105Controlling the light source in response to determined parameters
    • HELECTRICITY
    • H05ELECTRIC TECHNIQUES NOT OTHERWISE PROVIDED FOR
    • H05BELECTRIC HEATING; ELECTRIC LIGHT SOURCES NOT OTHERWISE PROVIDED FOR; CIRCUIT ARRANGEMENTS FOR ELECTRIC LIGHT SOURCES, IN GENERAL
    • H05B47/00Circuit arrangements for operating light sources in general, i.e. where the type of light source is not relevant
    • H05B47/10Controlling the light source
    • H05B47/155Coordinated control of two or more light sources
    • HELECTRICITY
    • H05ELECTRIC TECHNIQUES NOT OTHERWISE PROVIDED FOR
    • H05BELECTRIC HEATING; ELECTRIC LIGHT SOURCES NOT OTHERWISE PROVIDED FOR; CIRCUIT ARRANGEMENTS FOR ELECTRIC LIGHT SOURCES, IN GENERAL
    • H05B47/00Circuit arrangements for operating light sources in general, i.e. where the type of light source is not relevant
    • H05B47/10Controlling the light source
    • H05B47/16Controlling the light source by timing means
    • FMECHANICAL ENGINEERING; LIGHTING; HEATING; WEAPONS; BLASTING
    • F21LIGHTING
    • F21YINDEXING SCHEME ASSOCIATED WITH SUBCLASSES F21K, F21L, F21S and F21V, RELATING TO THE FORM OR THE KIND OF THE LIGHT SOURCES OR OF THE COLOUR OF THE LIGHT EMITTED
    • F21Y2115/00Light-generating elements of semiconductor light sources
    • F21Y2115/10Light-emitting diodes [LED]
    • GPHYSICS
    • G03PHOTOGRAPHY; CINEMATOGRAPHY; ANALOGOUS TECHNIQUES USING WAVES OTHER THAN OPTICAL WAVES; ELECTROGRAPHY; HOLOGRAPHY
    • G03BAPPARATUS OR ARRANGEMENTS FOR TAKING PHOTOGRAPHS OR FOR PROJECTING OR VIEWING THEM; APPARATUS OR ARRANGEMENTS EMPLOYING ANALOGOUS TECHNIQUES USING WAVES OTHER THAN OPTICAL WAVES; ACCESSORIES THEREFOR
    • G03B2215/00Special procedures for taking photographs; Apparatus therefor
    • G03B2215/05Combinations of cameras with electronic flash units
    • G03B2215/0564Combinations of cameras with electronic flash units characterised by the type of light source
    • G03B2215/0567Solid-state light source, e.g. LED, laser

Definitions

  • the present disclosure relates to a light source device.
  • Patent Literature 1 discloses a configuration in which a plurality of phosphor members are arranged in optical paths of light emitted by a plurality of light emitting elements.
  • a light source device is required to emit light that has been toned to a predetermined color.
  • An object of the embodiments of the present disclosure is to provide a light source device capable of irradiating light that has been toned into a predetermined color.
  • a light source device includes: a plurality of light emitting units each including a light emitting surface; one or a plurality of first regions capable of extracting light of a first chromaticity; An optical member including one or a plurality of second regions capable of extracting dichroic light and transmitting or passing the light emitted by the light emitting unit, and the light emitting surface and the optical member are arranged to face each other.
  • a first moving mechanism for relatively moving the plurality of light emitting units and the optical member; a light emission control unit for controlling light emission of each of the plurality of light emitting units; and a first movement control for controlling the operation of the first moving mechanism.
  • the light emission control unit controls each of the plurality of light emitting units to emit the light within a predetermined period of time
  • the first movement control unit controls the light emission within the predetermined period of time.
  • the plurality of light emitting units and the optical member are controlled to move relative to each other.
  • a light source device capable of emitting light that has been toned into a predetermined color.
  • FIG. 2 is a cross-sectional view taken along line IA-IA of FIG. 1;
  • FIG. 11 is a cross-sectional view showing a modification of a plurality of light emitting parts;
  • FIG. 2 is a cross-sectional view taken along line IB-IB of FIG. 1;
  • 4 is a cross-sectional view showing the light source device after the optical members have moved from the state shown in FIG. 3;
  • FIG. 2 is a block diagram showing a functional configuration example of a controller in the light source device of FIG. 1;
  • FIG. 2 is a timing chart showing a first example of operation of the light source device of FIG.
  • FIG. 1 2 is a diagram showing an example of light emitted by the light source device of FIG. 1 in state A;
  • FIG. 2 is a diagram showing an example of light emitted by the light source device of FIG. 1 in state B;
  • FIG. FIG. 9 is a diagram showing an example of mixed-color light obtained by mixing the irradiation lights of FIGS. 7 and 8;
  • 2 is a diagram of an example of light emitted from a part of the light emitting units of the light source device of FIG. 1 in state A;
  • FIG. 2 is a diagram of an example of light emitted from a part of the light emitting units of the light source device of FIG. 1 in state B;
  • FIG. 12 is a diagram showing an example of mixed-color light obtained by mixing the irradiation light of FIGS. 10 and 11; It is a sectional view showing an example of composition of a light source device concerning the 1st modification of a 1st embodiment. It is a sectional view showing an example of composition of a light source device concerning the 2nd modification of a 1st embodiment.
  • 3 is a timing chart showing a second example of the operation of the light source device of FIG. 1; It is a top view which shows the structural example of the light source device which concerns on 2nd Embodiment.
  • FIG. 17 is a cross-sectional view taken along line XVI-XVI of FIG.
  • FIG. 16; 18 is a cross-sectional view showing the light source device after the optical members have moved from the state shown in FIG. 17;
  • FIG. 17 is a timing chart showing a first example of the operation of the light source device of FIG. 16;
  • FIG. 17 is a diagram showing an example of light emitted by the light source device of FIG. 16 in state C;
  • FIG. 17 is a diagram showing an example of light emitted by the light source device of FIG. 16 in state D;
  • FIG. 22 is a diagram showing an example of mixed-color light obtained by mixing the irradiation lights of FIGS. 20 and 21;
  • FIG. 17 is a diagram of an example of light emitted from a part of the light emitting units of the light source device of FIG. 16 in state C;
  • FIG. 17 is a diagram of an example of light emitted from a part of the light emitting units of the light source device of FIG. 16 in state D;
  • FIG. 25 is a diagram showing an example of mixed-color light obtained by mixing the irradiation lights of FIGS. 23 and 24; It is a sectional view showing an example of composition of a light source device concerning the 1st modification of a 2nd embodiment. It is a sectional view showing an example of composition of a light source device concerning the 2nd modification of a 2nd embodiment. 17 is a timing chart showing a second example of the operation of the light source device of FIG. 16; It is a top view which shows the structural example of the light source device which concerns on the 3rd modification of 2nd Embodiment.
  • FIG. 25 is a diagram showing an example of mixed-color light obtained by mixing the irradiation lights of FIGS. 23 and 24; It is a sectional view showing an example of composition of a light source device concerning the 1st modification of a 2nd
  • FIG. 30 is a diagram showing an example of light emitted by the light source device of FIG. 29 in state E;
  • FIG. 30 is a diagram showing an example of light emitted by the light source device of FIG. 29 in state F;
  • FIG. 32 is a diagram showing an example of mixed-color light obtained by mixing the irradiation lights of FIGS. 30 and 31;
  • FIG. FIG. 30 is a diagram of an example of light emitted from a part of the light emitting units of the light source device of FIG. 29 in state E;
  • FIG. 30 is a diagram of an example of light emitted from a part of the light emitting units of the light source device of FIG. 29 in state F;
  • FIG. 35 is a diagram showing an example of mixed-color light obtained by mixing the irradiation light of FIGS. 33 and 34;
  • FIG. FIG. 11 is a plan view illustrating the configuration of an optical member in a light source device according to a fourth modified example of the second embodiment;
  • 37 is a diagram showing an example of light emitted by the light source device of FIG. 36 in state G;
  • FIG. 37 is a diagram showing an example of light emitted by the light source device of FIG. 36 in state H;
  • FIG. 37 is a diagram showing an example of light emitted by the light source device of FIG. 36 in state I.
  • FIG. FIG. 40 is a diagram showing an example of mixed-color light obtained by mixing the irradiation lights of FIGS. 37 to 39;
  • FIG. 37 is a diagram of an example of light emitted from a part of the light emitting units of the light source device of FIG. 36 in state G;
  • FIG. 37 is a diagram of an example of light emitted from a part of the light emitting units of the light source device of FIG. 36 in state H;
  • FIG. 37 is a diagram of an example of light emitted from a part of the light emitting units of the light source device of FIG. 36 in state I;
  • FIG. 44 is a diagram showing an example of mixed-color light obtained by mixing the irradiation lights of FIGS. 41 to 43;
  • FIG. 11 is a plan view illustrating the configuration of an optical member in a light source device according to a fifth modified example of the second embodiment;
  • 46 is a diagram showing an example of light emitted by the light source device of FIG. 45 in state J;
  • FIG. 46 is a diagram showing an example of light emitted by the light source device of FIG. 45 in state K;
  • FIG. 46 is a diagram showing an example of light emitted by the light source device of FIG. 45 in state L;
  • FIG. 46 is a diagram showing an example of light emitted by the light source device of FIG. 45 in state M;
  • FIG. FIG. 50 is a diagram showing an example of mixed-color light obtained by mixing the irradiation lights of FIGS. 46 to 49;
  • FIG. 46 is a diagram of an example of light emitted from a part of the light emitting units of the light source device of FIG. 45 in state J; 46 is a diagram of an example of light emitted from a part of the light emitting units of the light source device of FIG. 45 in state K; FIG. FIG. 46 is a diagram of an example of light emitted from a part of the light emitting units of the light source device of FIG. 45 in state L; FIG. 46 is a diagram of an example of light emitted from a part of the light emitting units of the light source device of FIG. 45 in state M; FIG. 55 is a diagram showing an example of mixed-color light obtained by mixing the irradiation lights of FIGS. 51 to 54; FIG.
  • FIG. 57 is a cross-sectional view along the LVI-LVI line in FIG. 56; 58 is a cross-sectional view showing the light source device after the optical member has been moved from the state of FIG. 57;
  • FIG. 57 is a diagram showing an example of light emitted by the light source device of FIG. 56 in state P;
  • FIG. 57 is a diagram showing an example of light emitted by the light source device of FIG. 56 in state Q;
  • FIG. FIG. 61 is a diagram showing an example of mixed-color light obtained by mixing the irradiation light of FIGS. 59 and 60;
  • FIG. 57 is a diagram of an example of light emitted from a part of the light emitting units of the light source device of FIG. 56 in state P;
  • FIG. 57 is a diagram of an example of light emitted from a part of the light emitting units of the light source device of FIG. 56 in state Q;
  • FIG. 64 is a diagram showing an example of mixed-color light obtained by mixing the irradiation lights of FIGS. 62 and 63;
  • FIG. It is a sectional view showing an example of composition of a light source device concerning the 1st modification of a 3rd embodiment. It is a sectional view showing an example of composition of a light source device concerning the 2nd modification of a 3rd embodiment.
  • FIG. 11 is a plan view showing a configuration example of a light source device according to a third modified example of the third embodiment; It is a top view which shows the structural example of the light source device which concerns on 4th Embodiment.
  • FIG. 68 is a cross-sectional view taken along line LXVII-LXVII of FIG. 67; 68 is a plan view showing part of the light source device of FIG. 67 in state R;
  • FIG. 68 is a plan view showing part of the light source device of FIG. 67 in state S;
  • FIG. 68 is a plan view showing part of the light source device of FIG. 67 in state T;
  • FIG. 68 is a plan view showing part of the light source device of FIG. 67 in state U;
  • FIG. 68 is a cross-sectional view taken along line LXVII-LXVII of FIG. 67; 68 is a plan view showing part of the light source device of FIG. 67 in state R;
  • FIG. 68
  • FIG. 68 is a plan view showing part of the light source device of FIG. 67 in state V;
  • FIG. FIG. 68 is a diagram showing an example of light emitted by the light source device of FIG. 67 in state R;
  • FIG. 68 is a diagram showing an example of light emitted by the light source device of FIG. 67 in state S;
  • FIG. 68 is a diagram showing an example of light emitted by the light source device of FIG. 67 in state T;
  • 68 is a diagram showing an example of light emitted by the light source device of FIG. 67 in state U;
  • FIG. FIG. 68 is a diagram showing an example of light emitted by the light source device of FIG. 67 in state V;
  • FIG. 79 is a diagram showing an example of mixed-color light obtained by mixing the irradiation lights of FIGS. 74 to 78;
  • FIG. FIG. 68 is a diagram of an example of light emitted from a part of the light emitting units of the light source device of FIG. 67 in state R;
  • FIG. 68 is a diagram of an example of light emitted from a part of the light emitting units of the light source device of FIG. 67 in state S;
  • FIG. 68 is a diagram of an example of light emitted from a part of the light emitting units of the light source device of FIG. 67 in state T;
  • FIG. 68 is a diagram of an example of light emitted from a part of the light emitting units of the light source device of FIG.
  • FIG. 68 is a diagram of an example of light emitted from a part of the light emitting units of the light source device of FIG. 67 in state V;
  • FIG. 85 is a diagram showing an example of mixed-color light obtained by mixing the irradiation lights of FIGS. 80 to 84; It is a top view which shows the structural example of the light source device which concerns on the modification of 4th Embodiment. It is a sectional view showing an example of composition of a light source device concerning a 5th embodiment.
  • 88 is a block diagram showing a functional configuration example of a control unit in the light source device of FIG. 87; FIG. It is a top view which shows the 1st modification of the optical member which concerns on embodiment.
  • 90 is a cross-sectional view along line LXXXIX-LXXXIX of FIG. 89; It is a top view which shows the 2nd modification of the optical member which concerns on embodiment.
  • 92 is a plan view of the optical member of FIG. 91 in state AB;
  • FIG. 92 is a plan view of the optical member of FIG. 91 in state AA;
  • a light source device according to an embodiment of the present disclosure will be described in detail with reference to the drawings.
  • the form shown below is an example of a light source device for embodying the technical idea of this embodiment, and is not limited to the following.
  • the dimensions, materials, shapes, relative arrangements, etc. of the constituent parts described in the embodiments are not intended to limit the scope of the present disclosure, but are merely illustrative examples. It's nothing more than Note that the sizes, positional relationships, etc. of members shown in each drawing may be exaggerated for clarity of explanation. Further, in the following description, the same names and symbols indicate the same or homogeneous members, and detailed description thereof will be omitted as appropriate.
  • An end view showing only a cut surface may be used as a cross-sectional view.
  • directions may be indicated by the X-axis, Y-axis, and Z-axis.
  • a Y-direction along the Z-axis indicates a direction perpendicular to the X-direction
  • a Z-direction along the Z-axis indicates a direction perpendicular to both the X-direction and the Y-direction.
  • the X direction is an example of a first direction
  • the Y direction is an example of a second direction crossing the first direction.
  • the direction in which the arrow points in the X direction is indicated as +X direction or +X side
  • the direction opposite to +X direction is indicated as -X direction or -X side
  • the direction in which the arrow points in Y direction is indicated as +Y direction or +Y side
  • the direction opposite to the +Y direction is referred to as the -Y direction or the -Y side
  • the direction in which the arrow points in the Z direction is referred to as +Z direction or +Z side
  • the direction opposite to +Z direction is referred to as -Z direction or -Z side.
  • the surface of the object viewed from the +Z direction or the +Z side is referred to as the "upper surface”
  • the surface of the object viewed from the -Z direction or the -Z side is referred to as the "lower surface”.
  • the plurality of light emitting units included in the light source device emit light toward the +Z side.
  • the light emitted by the light emitting unit may be indicated by an arrow such as a solid line or a broken line.
  • the light source device relatively moves the plurality of light emitting units and the optical member included in the light source device along the X direction or along both the X direction and the Y direction.
  • a planar view in the terminology of the embodiments refers to viewing an object from the Z direction. However, these do not limit the orientation of the light source device during use, and the orientation of the light source device is arbitrary.
  • the optical axes of the plurality of light emitting units are along the Z axis.
  • along the X-axis, Y-axis and Z-axis includes that an object has an inclination within ⁇ 10° with respect to these axes.
  • a light source device includes: a plurality of light emitting units each including a light emitting surface; have.
  • the optical member includes one or more first regions capable of extracting light of a first chromaticity, one or more second regions capable of extracting light of a second chromaticity different from the first chromaticity, and transmit or pass the light emitted by the light emitting portion.
  • the light source device also has a control section including a light emission control section that controls light emission of each of the plurality of light emission sections, and a first movement control section that controls the operation of the first movement mechanism.
  • the light emission control section controls each of the plurality of light emitting sections to emit light within a predetermined period
  • the first movement control section controls the plurality of light emitting sections and the optical member to relatively move within the predetermined period. do.
  • the phrase “light passes through an optical member” means that the light emitted from a light-emitting unit enters the optical member, is wavelength-converted, and is emitted from the optical member. , the light emitted from the light emitting part is incident on the optical member and emitted from the optical member without being wavelength-converted.
  • Light passing through an optical member means light whose wavelength is not intentionally converted. Therefore, the first region or the second region included in the optical member may be a passing portion that allows the light emitted by the light emitting portion to pass therethrough. Also, the passing portion may be a through hole.
  • the light source device controls the light emission of the plurality of light emitting units and the relative movement between the plurality of light emitting units and the optical member within a predetermined period, thereby controlling the first region of the light emitted by the plurality of light emitting units.
  • the ratio of the amount of light of the first chromaticity that is transmitted or passed through and the amount of light of the second chromaticity that is transmitted or passed through the second region is adjusted within a predetermined period.
  • the light of the first chromaticity and the light of the second chromaticity are time-averaged within a predetermined period of time, and the colors are mixed, so that light that has been toned into a predetermined color can be emitted.
  • toning means adjusting the color of light.
  • the light source device is used, for example, as a flash light source for an imaging device, and the predetermined period is the exposure period (shutter open period) of the imaging device equipped with the light source device.
  • the light source device irradiates light that has been adjusted to a predetermined color within the exposure period, thereby making it possible to perform photographing under the illuminating light of the predetermined color.
  • the configuration and functions of the light source device will be described in detail, taking as an example a light source device mounted on a smartphone and used as a flash light source for an imaging device provided on the smartphone.
  • Imaging devices include a camera that captures still images, a video camera that captures moving images, and the like.
  • the exposure period of the imaging device is used as an example of the predetermined period, but the imaging cycle of the imaging device may be the predetermined period.
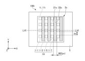
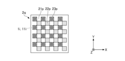
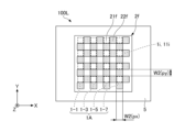
  • FIG. 1 is a plan view showing an example of the configuration of the light source device 100.
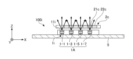
  • FIG. 2A is a cross-sectional view taken along line IA-IA in FIG. 1.
  • FIG. 2B is a cross-sectional view showing a modification of a plurality of light emitting units;
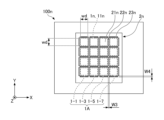
  • FIG. 3 is a cross-sectional view taken along line IB--IB of FIG. 4 is a cross-sectional view showing an example of the light source device after the optical members have moved from the state shown in FIG. 3.
  • FIG. FIG. 5 is a block diagram showing an example of the functional configuration of the controller 4 in the light source device 100. As shown in FIG.
  • the light source device 100 has a plurality of light emitting units 1, an optical member 2, a first moving mechanism 3, and a control unit 4.
  • the light source device 100 is held in a housing that accommodates the plurality of light emitting units 1, the optical member 2, and the first moving mechanism 3, or in an opening formed in the housing. It may have a transparent portion or the like. It should be noted that the term "transparent" preferably means that the light transmittance of the light from the light emitting section 1 is 80% or more.
  • Each of the plurality of light emitting units 1 is formed in a substantially rectangular shape in plan view, and is mounted on the +Z side surface (in other words, the upper surface) of the light emitting unit mounting substrate 5 .
  • the light source device 100 has a total of 64 light-emitting units 1 in which eight light-emitting units 1 are arranged in the X direction and eight light-emitting units 1 are arranged in the Y direction.
  • the arrangement and the number of light emitting units 1 are not limited to this. At least two light emitting units 1 are sufficient, and the arrangement and number of light emitting units 1 can be changed as appropriate according to the application of the light source device 100 and the like.
  • the length along each of the X direction and the Y direction of the light emitting section 1, in other words, the length of one side of the light emitting section 1 is, for example, 200 ⁇ m or more and 1000 ⁇ m or less.
  • Each of the plurality of light-emitting portions 1 has a light-emitting surface 11 and emits light toward the optical member 2 provided on the +Z side of the light-emitting portion 1 .
  • the light emitting surface 11 refers to the main light extraction surface of the light emitting section 1 .
  • An LED (Light Emitting Diode) or the like can be used for the light emitting section 1 .
  • the light emitted by the light emitting unit 1 is preferably white light, but may be monochromatic light.
  • the light emitted by the light emitting unit 1 can be appropriately selected. Since the light-emitting portion 1 and the light-emitting surface 11 overlap when viewed from above, the reference numerals for the light-emitting portion 1 and the reference numerals for the light-emitting surface 11 are both shown in FIG. In the following also, when two or more items substantially match or overlap each other, reference numerals may be written together.
  • all the light emitting units 1 are arranged inside the optical member 2 (inside the outer shape of the optical member 2) in plan view. From the viewpoint of the light emission characteristics of the light source device 100, the narrower the distance between the light emitting portions 1, the better. However, since there is a limit to the spacing at which the plurality of light-emitting units 1 can be mounted, in order to achieve both good light emission characteristics and the spacing at which the plurality of light-emitting units 1 can be mounted, light emission The interval between the portions 1 is preferably 10 ⁇ m or more and 200 ⁇ m or less, preferably 20 ⁇ m or more and 50 ⁇ m or less.
  • the light-emitting unit 1 is placed on the +Z-side surface of the light-emitting unit mounting board 5 with the surface on the +Z side as the light-emitting surface 11 and the surface opposite to the light-emitting surface 11 as the mounting surface. be.
  • the light-emitting portion 1 includes a light-emitting element 12, a translucent member 14 provided on the +Z side surface of the light-emitting element 12, and a side surface of the light-emitting element 12 except for the +Z-side surface of the translucent member 14. and a covering member 15 covering the side surface of the optical member 14 .
  • At least a pair of positive and negative electrodes 13 is preferably provided on the surface of the light emitting element 12 opposite to the light emitting surface 11 .
  • the shape of the light emitting surface 11 in plan view is substantially rectangular, but may be substantially circular, substantially elliptical, or polygonal such as substantially triangular or substantially hexagonal.
  • the light emitting element 12 is preferably made of various semiconductors such as III-V group compound semiconductors and II-VI group compound semiconductors.
  • the semiconductor it is preferable to use a nitride semiconductor such as InXAlYGa1 - X - YN (0 ⁇ X, 0 ⁇ Y, X+Y ⁇ 1). , InGaAlN, etc. can also be used.
  • the emission peak wavelength of the light emitting element 12 is preferably 400 nm or more and 530 nm or less, more preferably 420 nm or more and 490 nm or less, and 450 nm or more and 475 nm or less, from the viewpoints of luminous efficiency, excitation of the wavelength conversion substance, color mixing relationship with light emission, and the like. much more preferable.
  • the translucent member 14 is, for example, a substantially rectangular plate-like member in plan view, and is provided so as to cover the top surface of the light emitting element 12 .
  • the translucent member 14 can be formed using a translucent resin material or an inorganic material such as ceramics or glass.
  • Thermosetting resins such as silicone resins, silicone-modified resins, epoxy resins, epoxy-modified resins, and phenol resins can be used as the resin material.
  • silicone resins or modified resins thereof, which are excellent in light resistance and heat resistance are suitable.
  • the translucency here preferably means that 60% or more of the light from the light emitting element 12 is transmitted.
  • the translucent member 14 can be made of thermoplastic resin such as polycarbonate resin, acrylic resin, methylpentene resin, polynorbornene resin, or the like.
  • the translucent member 14 may contain a wavelength converting substance that converts the wavelength of at least part of the light from the light diffusing member or the light emitting element 12 in the above resin.
  • a resin and a wavelength converting substance include a resin material, ceramics, glass, or the like containing a wavelength converting substance, a sintered body of a wavelength converting substance, and the like.
  • the translucent member 14 may be a multi-layered one in which a resin layer containing a wavelength converting substance or a light diffusing member is arranged on the ⁇ Z side surfaces of a molding made of resin, ceramics, glass or the like.
  • Examples of the wavelength conversion material contained in the translucent member 14 include yttrium-aluminum-garnet-based phosphors (eg, Y3 ( Al, Ga) 5O12 :Ce), lutetium-aluminum-garnet-based phosphors ( For example, Lu 3 (Al, Ga) 5 O 12 :Ce), terbium-aluminum-garnet-based phosphors (e.g., Tb 3 (Al, Ga) 5 O 12 :Ce), CCA-based phosphors (e.g., Ca 10 ( PO4 ) 6Cl2 :Eu), SAE phosphors ( e.g.
  • chlorosilicate phosphors e.g. Ca8MgSi4O16Cl2 : Eu
  • nitrides phosphors fluoride phosphors
  • phosphors having a perovskite structure e.g. CsPb(F,Cl,Br,I) 3
  • quantum dot phosphors e.g. CdSe, InP, AgInS 2 or AgInSe 2 ), etc.
  • nitride phosphors examples include ⁇ -sialon phosphors (eg, (Si, Al) 3 (O, N) 4 :Eu), ⁇ -sialon phosphors (eg, Ca(Si, Al) 12 (O , N) 16 :Eu), SLA-based phosphors (eg, SrLiAl 3 N 4 :Eu), CASN-based phosphors (eg, CaAlSiN 3 :Eu) and SCASN-based phosphors (eg, (Sr, Ca)AlSiN 3 :Eu), etc.
  • ⁇ -sialon phosphors eg, (Si, Al) 3 (O, N) 4 :Eu
  • ⁇ -sialon phosphors eg, Ca(Si, Al) 12 (O , N) 16 :Eu
  • SLA-based phosphors eg, SrLiAl 3 N
  • fluoride-based phosphors examples include KSF-based phosphors (e.g., K 2 SiF 6 :Mn) and KSAF-based phosphors (e.g., K 2 (Si, Al) F 6 :Mn). and MGF-based phosphors (eg, 3.5MgO ⁇ 0.5MgF 2 ⁇ GeO 2 :Mn).
  • KSF-based phosphors e.g., K 2 SiF 6 :Mn
  • KSAF-based phosphors e.g., K 2 (Si, Al) F 6 :Mn
  • MGF-based phosphors eg, 3.5MgO ⁇ 0.5MgF 2 ⁇ GeO 2 :Mn.
  • the phosphors described above are particles. Also, one of these wavelength converting substances can be used alone, or two or more of these wavelength converting substances can be used in combination.
  • the KSAF-based phosphor may have a composition represented by the following formula (I). M2 [ SipAlqMnrFs ] ( I )
  • M represents an alkali metal and may contain at least K.
  • Mn may be a tetravalent Mn ion.
  • p, q, r and s may satisfy 0.9 ⁇ p+q+r ⁇ 1.1, 0 ⁇ q ⁇ 0.1, 0 ⁇ r ⁇ 0.2, 5.9 ⁇ s ⁇ 6.1.
  • 0.95 ⁇ p+q+r ⁇ 1.05 or 0.97 ⁇ p+q+r ⁇ 1.03, 0 ⁇ q ⁇ 0.03, 0.002 ⁇ q ⁇ 0.02 or 0.003 ⁇ q ⁇ 0.015 , 0.005 ⁇ r ⁇ 0.15, 0.01 ⁇ r ⁇ 0.12 or 0.015 ⁇ r ⁇ 0.1, 5.92 ⁇ s ⁇ 6.05 or 5.95 ⁇ s ⁇ 6.025 can be
  • K2 [ Si0 . 939 Al 0.014 Mn 0.047 F 5.986 With such a KSAF-based phosphor, it is possible to obtain red light emission with high brightness and a narrow half-value width of the emission peak wavelength.
  • the light source device 100 uses a blue light-emitting element as the light-emitting element 12, and the translucent member 14 contains a wavelength conversion substance that converts the wavelength of the light emitted from the light-emitting element 12 into yellow, thereby emitting white light. do.
  • titanium oxide barium titanate, aluminum oxide, silicon oxide, or the like can be used as the light diffusion member included in the translucent member 14.
  • the covering member 15 is a member that covers the side surfaces of the light emitting element 12 and the translucent member 14 and directly or indirectly covers the side surfaces of the light emitting element 12 and the translucent member 14 .
  • the upper surface of the translucent member 14 is exposed from the covering member 15 and serves as the light emitting surface 11 of the light emitting section 1 .
  • the covering member 15 may be separated between the adjacent light emitting units 1 .
  • the covering member 15 is preferably made of a member with high light reflectance in order to improve the light extraction efficiency.
  • a resin material containing a light-reflecting substance such as a white pigment can be used.
  • Light-reflecting substances include titanium oxide, zinc oxide, magnesium oxide, magnesium carbonate, magnesium hydroxide, calcium carbonate, calcium hydroxide, calcium silicate, magnesium silicate, barium titanate, barium sulfate, aluminum hydroxide, aluminum oxide, Zirconium oxide, silicon oxide and the like can be mentioned, and it is preferable to use one of these alone or in combination of two or more of them.
  • the resin material it is preferable to use a resin material whose main component is a thermosetting resin such as epoxy resin, epoxy-modified resin, silicone resin, silicone-modified resin, or phenol resin as the base material.
  • the covering member 15 may be configured by a member having translucency to visible light, if necessary.
  • the plurality of light emitting units 1 may include a translucent member 14 that is common to two or more of the plurality of light emitting elements 12, as shown in FIG. 2B.
  • the light-emitting portion 1 includes a light-emitting element 12, a translucent member 14 provided on the +Z side surface of the light-emitting element 12, and a side surface of the light-emitting element 12 except for the +Z-side surface of the translucent member 14. and a covering member 15 covering the lower surface of the optical member 14 .
  • the light-emitting surface 11 is a region substantially equal to the light-emitting element 12 in plan view, and refers to the main light extraction surface of the light-emitting portion 1 (in other words, the translucent member 14).
  • the light-emitting part mounting board 5 is, for example, a plate-shaped member having a substantially rectangular shape in a plan view, and is a board provided with wiring on which a light-emitting element and various electric elements can be mounted.
  • the light-emitting unit mounting substrate 5 preferably has wiring 51 arranged on at least one of its surface and inside.
  • the light-emitting unit mounting board 5 and the light-emitting unit 1 are electrically connected by connecting the wiring 51 and at least the pair of positive and negative electrodes 13 of the light-emitting unit 1 through the conductive adhesive member 52. do.
  • the wiring 51 of the light-emitting unit mounting board 5 is set according to the configuration and size of the electrodes 13 of the light-emitting unit 1 .
  • the light-emitting unit mounting substrate 5 preferably uses an insulating material as a base material, preferably uses a material that does not easily transmit the light emitted from the light-emitting unit 1 and external light, and uses a material that has a certain strength. is preferred.
  • the light-emitting unit mounting substrate 5 is made of ceramics such as alumina, aluminum nitride, mullite, silicon nitride, phenol resin, epoxy resin, polyimide resin, BT resin (bismaleimide triazine resin), polyphthalamide resin, and the like. It can be configured as a material.
  • the wiring 51 can be made of at least one of copper, iron, nickel, tungsten, chromium, aluminum, silver, gold, titanium, palladium, rhodium, or alloys thereof.
  • a layer of silver, platinum, aluminum, rhodium, gold, or an alloy thereof may be provided on the surface layer of the wiring 51 from the viewpoint of the wettability and light reflectivity of the conductive adhesive member 52 .
  • the optical member 2 includes one first region 21 capable of extracting light of a first chromaticity and a region 21 capable of extracting light of a second chromaticity different from the first chromaticity.
  • One second region 22 is included, and the light emitted by the plurality of light emitting units 1 is transmitted or passed therethrough.
  • the optical member 2 is, for example, a plate member having a substantially rectangular outer shape in plan view.
  • the planar shape of the optical member 2 is not limited to a substantially rectangular shape, and may be a substantially circular shape, a substantially elliptical shape, or a substantially polygonal shape such as a substantially triangular shape or a substantially hexagonal shape. good.
  • the thickness of the optical member 2 along the Z direction is, for example, 100 ⁇ m or more and 1000 ⁇ m or less.
  • the first region 21 and the second region 22 are provided side by side in the optical member 2 along the X direction, and each region has a substantially rectangular outer shape in plan view.
  • the optical member 2 has one first region 21 and one second region 22 arranged so as to face the light emitting surface 11 .
  • a distance in the Z direction between the optical member 2 and the light emitting surface 11 is, for example, 100 ⁇ m or more and 1000 ⁇ m or less.
  • the first region 21 of the optical member 2 overlaps the light emitting surfaces 11 of the plurality of light emitting portions 1 in plan view.
  • the width W1 is the width of each of the first region 21 and the second region 22 in the X direction.
  • the width W1 of each of the first region 21 and the second region 22 in the X direction is preferably substantially equal.
  • the first region 21 includes a translucent member that allows the light emitted by the light emitting element 12 to pass therethrough.
  • the translucency here is preferably such that 60% or more of the light from the light emitting section 1 is transmitted.
  • the first region 21 can extract light of the first wavelength that has passed through the translucent member in the first region 21 as light of the first chromaticity.
  • the first chromaticity light is, for example, white light.
  • the second region 22 contains a wavelength conversion substance that converts the light emitted by the light emitting section 1 into light of the second chromaticity.
  • the second region 22 can extract the light converted by the wavelength conversion substance as light of the second chromaticity.
  • the second region 22 may be a member containing a wavelength converting substance using a resin such as silicone, glass, ceramics, or the like as a base material, or a member having a wavelength converting substance printed on the surface of a molded body such as glass. may be a sintered body of
  • the wavelength conversion substance is a member that absorbs at least part of the primary light emitted by the light emitting element and emits secondary light with a wavelength different from that of the primary light.
  • a wavelength conversion substance one of the wavelength conversion substances similar to the translucent member 14 described above is used alone, or two or more of these wavelength conversion substances are combined. can be used
  • First moving mechanism 3 As shown in FIGS. 1, 3, and 4, the first moving mechanism 3 is provided on the +Z side surface of the light emitting unit mounting board 5, and moves the optical member 2 and the plurality of light emitting units 1 in the X direction. It is an electromagnetic actuator for relative movement.
  • the X direction is a direction substantially parallel to the light emitting surface 11 and a direction substantially parallel to the +Z side surface of the light emitting unit mounting substrate 5 .
  • the first moving mechanism 3 has a frame portion 31 , an N pole magnet 32 , an S pole magnet 33 , a base portion 34 , a spring 35 and a coil 36 .
  • the frame part 31 is a substantially rectangular frame-shaped member in plan view.
  • the frame portion 31 supports the optical member 2 by arranging the optical member 2 inside in plan view and bonding the outer surface of the optical member 2 and the inner surface 311 of the frame portion 31 with an adhesive member or the like. .
  • the frame portion 31 is configured including a resin material, a metal material, or the like. It is preferable that the frame portion 31 includes a color material such as black on its surface or inside that can absorb the light emitted by the light emitting portion 1 . With this configuration, the frame portion 31 can absorb the light that has passed through the optical member 2 and leaked to the frame portion 31 side.
  • the N pole magnet 32 and the S pole magnet 33 are quadrangular prism-shaped members made of metal material or the like.
  • the N pole magnet 32 is magnetized to the N pole
  • the S pole magnet 33 is magnetized to the S pole.
  • the N pole magnet 32 and the S pole magnet 33 form a pair, and two pairs of the N pole magnet 32 and the S pole magnet 33 are fixed inside two sides of the frame portion 31 substantially perpendicular to the X direction.
  • the N pole magnet 32 and the S pole magnet 33 need only be fixed to the frame 31.
  • the N pole magnet 32 and the S pole magnet 33 may be fixed to a surface such as the outer surface of the frame 31 by an adhesive member or the like, or may be fixed to a recess provided in the frame 31. It may be accommodated and fixed with an adhesive member or the like.
  • the N pole magnet 32 is a generic term for two N pole magnets
  • the S pole magnet 33 is a generic term for two S pole magnets.
  • the number of N pole magnets 32 and S pole magnets 33 is not limited to two, and may be any number.
  • the base portion 34 is a substantially rectangular frame-shaped member in plan view.
  • the base portion 34 is fixed on the +Z side surface of the light-emitting portion mounting board 5 so that the optical member 2 is disposed inside in plan view.
  • the platform 34 movably mounts the frame 31 on the +Z side surface.
  • a wall portion 341 is provided on the outside portion of the base portion 34 , that is, the portion of the base portion 34 opposite to the side facing the optical member 2 .
  • the spring 35 is an elastic member that can expand and contract along the X direction.
  • the material of the spring 35 is not particularly limited, and a metal material, a resin material, or the like can be used.
  • the springs 35 include two springs, and the springs are provided at symmetrical positions with the optical member 2 interposed therebetween.
  • Spring 35 is a generic term for two springs. Note that the number of springs 35 is not limited to two, and may be any number.
  • One end of the spring 35 is connected to the outer surface of the frame portion 31 and the other end is connected to the wall portion 341 of the base portion 34 .
  • the frame portion 31 is movable on the mounting surface of the base portion 34 together with the optical member 2 .
  • the spring 35 restricts the movement of the frame 31 so that it does not move too much, and gives the frame 31 a restoring force to return it to the initial position.
  • the coil 36 is a member that can conduct current, and is configured by winding a wire or the like in a spiral or spiral shape.
  • Coil 36 includes two coils, and coil 36 is a generic term for two coils. Each of the two coils is paired with each set of two north pole magnets 32 and south pole magnets 33 . Each of the two coils is arranged on the opposite side of each set of the two N pole magnets 32 and S pole magnets 33 with the wall portion 341 and the spring 35 interposed therebetween, and is fixed on the +Z side surface of the light emitting portion mounting board 5 . be done.
  • the number of coils 36 is not limited to two, and may be any number according to the number of N-pole magnets 32 and S-pole magnets 33 .
  • an electromagnetic force 361 is generated by the actions of the N pole magnet 32, the S pole magnet 33 and the coil 36 according to the right-hand rule.
  • the electromagnetic force 361 acts on the frame portion 31, the frame portion 31 moves to the -X side where the electromagnetic force 361 acts.
  • the first moving mechanism 3 moves the optical member 2 to the -X side by a distance substantially equal to the width W1, so that the plurality of light emitting units 1 in FIG. It is possible to switch between state A, which is included in the view, and state B, in which the plurality of light emitting units 1 in FIG. 4 are included in one second region 22 in plan view.
  • the magnitude of the electromagnetic force 361 changes according to the amount of the drive current i flowing through the coil 36, and the amount of movement of the frame portion 31 changes. Also, the direction of the electromagnetic force 361 changes according to the direction of the drive current i flowing through the coil 36, and the direction in which the frame portion 31 moves changes. For example, when the drive current i flows in the direction opposite to the direction in which the drive current i shown in FIG. 4 flows, the frame portion 31 moves in the +X direction.
  • the first moving mechanism 3 can switch the state B to the state A by moving the optical member 2 in the +X direction by a distance substantially equal to the width W1.
  • an electromagnetic actuator is exemplified as the first moving mechanism 3, but the driving method of the first moving mechanism 3 is not limited to this. can also be used.
  • the control unit 4 is an electric circuit that is electrically connected to the multiple light emitting units 1 and the first moving mechanism 3 by wire or wirelessly, and controls the operations of the multiple light emitting units 1 and the first moving mechanism 3 .
  • the control unit 4 supplies drive signals to each of the plurality of light emitting units 1 and the first moving mechanism 3 via the light emitting unit mounting board 5 .
  • the installation position of the control unit 4 is not particularly limited, and the control unit 4 may be remotely arranged with respect to the plurality of light emitting units 1 and the first moving mechanism 3 when connecting wirelessly.
  • the control unit 4 has a light emission control unit 41, a first movement control unit 42, and a timing acquisition unit 43.
  • the control unit 4 realizes the functions of the light emission control unit 41, the first movement control unit 42, and the timing acquisition unit 43 by an electric circuit, and also implements some or all of these functions by a central processing unit (CPU). It can also be realized by The control unit 4 may implement these functions with a plurality of circuits or a plurality of processors.
  • the light emission control unit 41 controls light emission of each of the plurality of light emitting units 1 .
  • the light emission control unit 41 performs control for selecting the light emitting unit 1 to emit light from among the plurality of light emitting units 1 .
  • the light emission control unit 41 controls the amount of light emitted from each of the plurality of light emitting units 1 by controlling at least one of the driving current, driving voltage, and light emitting period of each of the plurality of light emitting units 1 .
  • the first movement control section 42 controls the operation of the first movement mechanism 3 .
  • the first movement control section 42 controls the operation of the first movement mechanism 3 by controlling the amount and direction of the drive current i applied to the coil 36 .
  • the first movement control unit performs control so that the state A and the state B are established within the exposure period of the imaging device.
  • the timing acquisition unit 43 acquires timing information such as signals indicating the start and end of the exposure period in the imaging device from the smartphone.
  • the light emission control section 41 and the first movement control section 42 can perform control according to the timing information acquired by the timing acquisition section 43 .
  • FIG. 6 is a timing chart illustrating the operation of the light source device 100.
  • FIG. FIG. 6 shows an exposure signal Ss indicating the exposure timing of an imaging device equipped with the light source device 100, a light emission signal So indicating the light emission timing of the light emitting unit 1, and an X position signal SX indicating the position of the optical member 2 in the X direction. , indicates.
  • the vertical axis of So in FIG. 6 is the current value.
  • all 64 light emitting units 1 perform the same operation. However, the 64 light emitting units 1 do not necessarily have to perform the same operation, and can operate independently.
  • the exposure period Ts is a period during which the electronic shutter of the imaging device is open.
  • the exposure period Ts is, for example, 1/30 [second] or 1/60 [second].
  • the electronic shutter opens at the timing when the exposure signal Ss is turned on, and closes at the timing when the exposure signal Ss is turned off.
  • the light emitting periods Tn1 and Tn2 are periods (in other words, time) during which the light emitting section 1 emits light (in other words, lights up).
  • the non-light emitting period Tf is a period during which the light emitting section 1 does not emit light (in other words, turns off).
  • the light emitting unit 1 emits light at the timing when the light emission signal So is turned on, and the light emitting unit 1 does not emit light at the timing when the light emission signal So is turned off.
  • the moving period Tx1 is a period during which the first moving mechanism 3 moves the optical member 2 along the -X direction.
  • the X position signal SX is constant and the optical member 2 is stopped.
  • the movement in the movement period Tx1 corresponds to the movement from state A to state B of the optical member 2 .
  • the light source device 100 causes the light emission control unit 41 to cause the light emission unit 1 to emit light in the light emission period Tn1.
  • the state of the optical member 2 is state A in which the plurality of light emitting portions 1 are contained in one first region 21 in plan view, and the optical member 2 is stopped.
  • the light source device 100 causes the first movement control section 42 to move the optical member 2 in the -X direction by a distance substantially equal to the width W1.
  • the light source device 100 causes the light emitting control section 41 to cause the light emitting section 1 to emit no light.
  • the optical member 2 stops after moving in the -X direction by a distance substantially equal to the width W1.
  • the light source device 100 causes the light emission control section 41 to cause the light emission section 1 to emit light.
  • the state of the optical member 2 is state B in which the plurality of light emitting portions 1 are contained in one second region 22 in plan view, and the optical member 2 is stopped.
  • the light source device 100 is in the state A in which the plurality of light emitting units 1 are included in one first region 21 in plan view, and the state A in which the plurality of light emitting units 1 are included in one second region 21 within the exposure period Ts. It is possible to switch between the state B that is included in the area 22 in plan view.
  • FIGS. 7 to 12 are diagrams for explaining irradiation light emitted from the light source device 100 to the irradiated region 200.
  • FIG. FIG. 7 is a diagram showing an example of irradiation light in state A before the optical member 2 moves.
  • FIG. 8 is a diagram showing an example of irradiation light in state B after the optical member 2 has moved.
  • FIG. 9 is a diagram showing an example of mixed-color light obtained by mixing the irradiation lights of FIGS. 7 and 8. In FIG.
  • FIG. 10 is a diagram showing an example of light emitted from a portion of the plurality of light emitting units 1 in state A before the optical member 2 moves.
  • FIG. 11 is a diagram showing an example of light emitted from some of the plurality of light emitting units 1 in state B after the optical member 2 has moved.
  • FIG. 12 is a diagram showing an example of mixed-color light obtained by mixing the irradiation lights of FIGS. 10 and 11. In FIG. 7 to 12 show irradiation light when the region 200 to be irradiated is viewed from the light source device 100 side.
  • Mixed light refers to light in which multiple chromaticities of light are mixed.
  • the mixed-color light in this embodiment is light in which light of the first chromaticity and light of the second chromaticity are mixed.
  • the color of the irradiated light 201 is the first chromaticity. chromaticity.
  • the irradiated region 200 is irradiated with the light of the second chromaticity that is emitted by the light emitting unit 1, wavelength-converted by the second region 22, and transmitted.
  • Color is second chromaticity.
  • the mixed-color light 203 shown in FIG. 9 is a mixture of light of the first chromaticity that has passed through the first region 21 and light of the second chromaticity that has been wavelength-converted and transmitted by the second region 22 within the exposure period Ts. It is time-averaged and mixed light.
  • the color of the mixed color light 203 can be adjusted by adjusting the ratio of the light amount of the irradiation light 201 and the light amount of the irradiation light 202 within the exposure period Ts.
  • the light source device 100 irradiates the mixed color light 203 closer to the first chromaticity than the second chromaticity. can.
  • the light source device 100 can irradiate the mixed color light 203 closer to the second chromaticity than the first chromaticity.
  • the second chromaticity can be obtained.
  • Mixed-color light 203 closer to the first chromaticity can be emitted.
  • the light source device 100 is closer to the second chromaticity than the first chromaticity when the driving current of the light emitting unit 1 in the irradiation of the irradiation light 202 is larger than the driving current of the light emitting unit 1 in the irradiation of the irradiation light 201.
  • Mixed color light 203 can be emitted.
  • the light source device 100 may adjust the driving power of the light emitting section 1 within the exposure period Ts.
  • the light source device 100 controls the relative movement between the plurality of light emitting units 1 and the optical member 2 and the light emission of the plurality of light emitting units 1 within the exposure period Ts, thereby controlling the light of the first chromaticity, Either the light of the second chromaticity or the mixed light of the first chromaticity and the second chromaticity can be irradiated. Further, the light source device 100 can arbitrarily change the mixed color light of the first chromaticity and the second chromaticity from near the first chromaticity to near the second chromaticity.
  • the color of the mixed light of the first chromaticity and the second chromaticity is an example of the predetermined color.
  • the light source device 100 controls the light emission control unit 41 to select the light emitting unit 1 to emit light from among the plurality of light emitting units 1, and controls at least one of the drive current and the light emission period of each of the plurality of light emitting units 1. can also be controlled. 10 to 12, the light source device 100 can partially illuminate the illuminated area 200 with the mixed color light 203a of the toned illumination lights 201a and 202a.
  • the term "partial irradiation" means that a part of the irradiated region 200 is partially irradiated with light from the light source device 100. As shown in FIG. The light source device 100 can arbitrarily change the position of partial irradiation within the irradiated region 200 .
  • the light emitted by each of the plurality of light emitting units 1 is not limited to irradiating a rectangular area in the irradiated area 200, and may irradiate a circular or elliptical area. That is, FIGS. 7 to 12 show an example in which the irradiated light 201, 202, 201a and 202a and the mixed light 203 and 203a are rectangular regions in the irradiated region 200, but the invention is not limited to this. Moreover, the light emitted by each of the plurality of light emitting units 1 may partially overlap with the light emitted by adjacent light emitting units 1 .
  • a light source device is required to irradiate light that has been toned into a predetermined color within a predetermined period.
  • a configuration for toning for example, it is conceivable to separately provide a light emitting section that emits light of the first chromaticity and a light emitting section that emits light of the second chromaticity.
  • the size of the light-emitting portions is doubled or more, resulting in an increase in the size of the light source device and an increase in the number of parts.
  • it is difficult to match the optical axes of the two types of light emitting units there is a concern that color unevenness may occur in the emitted light.
  • the light source device has light emitting units that emit light of a first chromaticity and light emitting units that emit light of a second chromaticity that are alternately arranged. If provided, the light emitting unit that emits the light of the first chromaticity and the light emitting unit that emits the light of the second chromaticity are combined into one division, so the number of the light emitting units that is twice the number of divisions is required. Therefore, the size of the light source device is increased, and the number of parts is increased.
  • the light source device 100 has a plurality of light emitting units 1 each including a light emitting surface 11 . Further, the light source device 100 includes one first region 21 capable of extracting light of a first chromaticity and one second region 22 capable of extracting light of a second chromaticity different from the first chromaticity. and has an optical member 2 that transmits or allows the light emitted by the light emitting section 1 to pass therethrough. Further, the light source device 100 includes a first moving mechanism 3 for relatively moving the plurality of light emitting units 1 and the optical member 2 so that the light emitting surface 11 and the optical member 2 face each other, and controls the light emission of each of the plurality of light emitting units 1. and a control unit 4 including a light emission control unit 41 that controls the operation of the first movement mechanism 3 and a first movement control unit 42 that controls the operation of the first movement mechanism 3 .
  • the light emission control unit 41 controls each of the plurality of light emitting units 1 to emit light within the exposure period Ts (predetermined period), and the first movement control unit 42 controls the plurality of light emitting units 1 and It controls to move relative to the optical member 2 .
  • the light source device 100 controls the light emission of the plurality of light emitting units 1 and the relative movement between the plurality of light emitting units 1 and the optical member 2 within the exposure period Ts.
  • the ratio of the light amount of the first chromaticity light transmitted or passed through the first region 21 and the light amount of the second chromaticity light transmitted or passed through the second region 22 within the exposure period Ts is adjusted.
  • the light of the first chromaticity and the light of the second chromaticity are time-averaged and mixed within the exposure period Ts, and the light mixed with the first chromaticity and the second chromaticity is toned into a predetermined color. Irradiation is possible.
  • the light source device 100 can irradiate light that has been toned into a predetermined color within the exposure period Ts using only one type of light emitting unit.
  • the light source device 100 does not have two types of light emitting units, such as a light emitting unit that emits light of the first chromaticity and a light emitting unit that emits light of the second chromaticity. can be avoided.
  • the light source device 100 can irradiate not only mixed light of the first chromaticity and the second chromaticity, but also light of the first chromaticity and the second chromaticity.
  • the optical member 2 containing the wavelength converting substance is illustrated, the optical member 2 may contain a color filter instead of the wavelength converting substance.
  • the configuration in which the optical member 2 is moved by the first moving mechanism 3 has been illustrated, a configuration in which a plurality of light emitting units 1 are moved may be employed.
  • the light emission control unit 41 performs control for selecting the light emitting unit 1 to emit light from among the plurality of light emitting units 1, and controls at least the driving current, the driving voltage, or the light emitting period of each of the plurality of light emitting units 1. By controlling one, the amount of light emitted from each of the plurality of light emitting units 1 is controlled. Thereby, the light source device 100 can partially irradiate the toned light.
  • the optical member 2 has one first region 21 and one second region 22 , which are arranged so as to face the light emitting surface 11 .
  • the first movement control unit 42 controls the state A in which the plurality of light emitting units 1 are included in one first region 21 in plan view, and the state A in which the plurality of light emitting units 1 are included in one second region. 22 in plan view.
  • the light source device 100 can emit at least one of light of the first chromaticity, light of the second chromaticity, or mixed light of the first chromaticity and the second chromaticity.
  • the light of the first chromaticity is extracted from the first region 21 and the light of the second chromaticity is extracted from the second region 22.
  • the light of the second chromaticity is extracted from the first region 21.
  • the optical member 2 can also be configured to extract light of the first chromaticity from the second region 22 .
  • FIG. 13 is a cross-sectional view showing an example of the configuration of a light source device 100a according to the first modified example of the first embodiment.
  • the light source device 100 a has a first lens 6 and a housing 7 in addition to the configuration of the light source device 100 .
  • the first lens 6 is an example of a lens that irradiates light emitted by the plurality of light emitting units 1 and transmitted or passed through the optical member 2 .
  • the first lens 6 irradiates the irradiated region 200 on the +Z side of the light source device 100 with the light transmitted or passed through the optical member 2 .
  • the first lens 6 has a first convex surface 61 protruding toward the light emitting unit 1 ( ⁇ Z side) and a second convex surface 62 projecting toward the side opposite to the light emitting unit 1 (+Z side). It is a biconvex single lens containing The radius of curvature of the first convex surface 61 is larger than the radius of curvature of the second convex surface 62 . Further, the first lens 6 is formed in a substantially circular shape in plan view. The first lens 6 is held with the second convex surface 62 inserted into the opening 71 formed in the housing 7 .
  • the shortest distance in the Z direction between the first lens 6 and the optical member 2 is, for example, 100 ⁇ m or more and 1500 ⁇ m or less.
  • the first lens 6 is not limited to this configuration, and may be a concave lens, a meniscus lens, or a combination lens or the like composed of a plurality of lenses.
  • the radius of curvature of the first convex surface 61 is preferably larger than the radius of curvature of the second convex surface 62, but the size of the radius of curvature of the first lens 6, the thickness of the lens, and the like can be changed as appropriate.
  • the shape of the first lens 6 in a plan view is not limited to a substantially circular shape, and may be a substantially polygonal shape such as a substantially elliptical shape, a substantially rectangular shape, or a substantially triangular shape.
  • the light-emitting surfaces 11 of all the light-emitting portions 1 are arranged inside the first lens 6 (inside the outer shape of the first lens 6) in plan view.
  • the first lens 6 has optical transparency with respect to the light emitted by the light emitting unit 1, and includes at least one of a resin material such as polycarbonate resin, acrylic resin, silicone resin, epoxy resin, or a glass material.
  • a resin material such as polycarbonate resin, acrylic resin, silicone resin, epoxy resin, or a glass material.
  • optical transparency refers to the property of allowing 60% or more of the light from the light emitting section 1 to pass therethrough.
  • the housing 7 is a box-shaped member that can house the light emitting unit 1, the optical member 2, and the first moving mechanism 3 inside, and is substantially rectangular in plan view. A portion of the housing of the smartphone in which the light source device 100 is mounted may be the housing 7 .
  • the housing 7 has an opening 71 and a first lens holding portion 72 .
  • the opening 71 is formed in a substantially circular shape in plan view.
  • the opening 71 is preferably formed larger than the second convex surface 62 in plan view so that the second convex surface 62 is exposed.
  • the ⁇ Z side surface of the first lens holding portion 72 is fixed to the +Z side surface of the light emitting portion mounting board 5 by an adhesive member or the like.
  • the housing 7 is preferably made of a light-shielding member, and contains filler such as a light reflecting member and a light absorbing member so as to limit the light distribution direction of the light emitted from the plurality of light emitting units 1. It is preferable to include a resin material or the like that has been formed.
  • the light source device 100a further includes the first lens 6 that emits light that has passed through or passed through the optical member 2 .
  • the first moving mechanism 3 relatively moves the optical member 2 with respect to the plurality of light emitting units 1 and the first lens 6 so that the light emitting surface 11 and the optical member 2 face each other. Thereby, the light source device 100 a can collect the light from the plurality of light emitting units 1 by the first lens 6 and efficiently irradiate the irradiated region 200 with the light.
  • FIG. 14 is a cross-sectional view showing an example of the configuration of a light source device 100b according to the second modified example of the first embodiment.
  • the light source device 100b has a plurality of light emitting elements 12 and an optical member 2b.
  • the light emitting element 12 is an example of a light emitting section.
  • the light emitting element 12 is mounted on the +Z side surface of the light emitting part mounting board 5 .
  • the light emitting element 12 emits blue light as an example.
  • the optical member 2b has one first region 21a and one second region 22.
  • the first region 21a contains a wavelength conversion substance and can extract light with a chromaticity different from the second chromaticity.
  • the light source device 100b can efficiently excite the wavelength conversion substance contained in the optical member 2 by including the light emitting element 12 that emits light of a short wavelength, for example.
  • FIG. 15 is a timing chart showing a second example of the operation of the light source device 100.
  • the light emission signal So continues to be in the ON state even during the movement period Tx1, and the plurality of light emitting units 1 continue to emit light without becoming non-light emitting.
  • the light source device 100 can also cause the light emitting section 1 to emit light during the movement period Tx1 in this way. By not providing a period in which the light emitting unit 1 does not emit light in the movement period Tx1, the amount of light emitted from the light source device 100 can be increased. However, from the viewpoint of suppressing the color change of the irradiated light during the movement of the optical member 2 and adjusting the color more accurately, it is preferable that the light emitting unit 1 of the light source device 100 does not emit light during the movement period Tx1.
  • the light source device 100c has an optical member 2c.
  • the optical member 2c has a plurality of first regions 21c capable of extracting light of a first chromaticity and a plurality of second regions 22c capable of extracting light of a second chromaticity.
  • the plurality of first regions 21 c and the plurality of second regions 22 c are arranged alternately along the X direction so as to face the plurality of light emitting surfaces 11 .
  • a plurality of second regions 22c of the optical member 2c contain a wavelength converting material.
  • the width of each of the plurality of first regions 21c along the X direction and the width of each of the plurality of second regions 22c along the X direction are equal, and both have a width W2.
  • the configuration of the first region 21c is similar to that of the first region 21 described above, and the configuration of the second region 22c is similar to that of the second region 22 described above.
  • state C which is the state before the optical member 2c moves, as shown in FIGS. , 1-3, 1-5, and 1-7, each of which is included in a first luminous section array group 1A faces the second region 22c.
  • a plurality of light emitting unit columns included in a second light emitting unit column group 1B consisting of a light emitting unit column 1-2, a light emitting unit column 1-4, a light emitting unit column 1-6, and a light emitting unit column 1-8
  • the light emitting units 1 face the first regions 21c, respectively.
  • state D which is the state after the optical member 2c has moved in the ⁇ X direction by a distance substantially equal to the width W2 from the state in FIG.
  • a plurality of light-emitting portions 1 included in the light-emitting portion row group 1A each face the first region 21c.
  • the light emitting units 1 included in the second light emitting unit row group 1B face the second region 22c.
  • the first moving mechanism 3 moves the optical member 2c toward the -X side by a distance substantially equal to the width W2, so that a plurality of predetermined light emitting portions among the plurality of light emitting portions 1 are moved.
  • state C in which the predetermined light-emitting portion is included in the second region 22c in plan view
  • state D in which the predetermined light emitting portion is included in the plurality of first regions 21c in plan view.
  • the first movement control section 42 in the control section 4 performs control so that the state C and the state D are established within the exposure period Ts.
  • the plurality of light emitting units 1 included in the first light emitting unit array group 1A are examples of predetermined light emitting units.
  • the light source device 100c has a total of 64 light-emitting units 1 in which eight light-emitting units 1 are arranged in the X direction and eight light-emitting units 1 are arranged in the Y direction. It is not limited to this. At least two light emitting units 1 are required along the X direction, and the arrangement and number of the light emitting units 1 can be appropriately changed according to the application of the light source device 100c.
  • the optical member 2c has a configuration in which a total of nine regions, that is, four first regions 21c and five second regions 22c are arranged along the X direction.
  • the numbers of the regions 21 c and the second regions 22 c can be appropriately changed according to the number of the light emitting units 1 .
  • FIG. 19 is a timing chart showing a first example of the operation of the light source device 100c.
  • the first light emission signal So1 is a signal indicating the light emission timing of the light emitting units 1 included in the first light emitting unit row group 1A.
  • the light emitting periods Tn11 and Tn12 are periods during which the light emitting sections 1 included in the first light emitting section row group 1A emit light (in other words, light up).
  • the non-light emitting period Tf13 is a period during which the light emitting sections 1 included in the first light emitting section row group 1A do not emit light (in other words, are turned off).
  • the second light emission signal So2 is a signal indicating the light emission timing of the light emitting units 1 included in the second light emitting unit row group 1B.
  • the light emitting periods Tn21 and Tn22 are periods during which the light emitting sections 1 included in the second light emitting section row group 1B emit light (in other words, light up).
  • the non-light emitting period Tf23 is a period during which the light emitting sections 1 included in the second light emitting section row group 1B do not emit light (in other words, turn off).
  • the light source device 100c is controlled by the light emission control unit 41 in the light emission period Tn11 and the light emission period Tn21. and the light-emitting units 1 included in the second light-emitting unit array group 1B are caused to emit light.
  • the state of the optical member 2c is such that the light-emitting portions 1 included in the first light-emitting portion row group 1A among the plurality of light-emitting portions 1 are included in the plurality of second regions 22c in plan view. is C.
  • the light-emitting portions 1 included in the second light-emitting portion row group 1B among the plurality of light-emitting portions 1 are included in the plurality of first regions 21c in plan view.
  • the optical member 2c is stopped.
  • the light source device 100c causes the first movement control section 42 to move the optical member 2c in the -X direction by a distance substantially equal to the width W1.
  • the light source device 100c controls the light emission control unit 41 to control the light emitting units 1 included in the first light emitting unit array group 1A and the second light emitting unit array group 1B, respectively. to non-luminous.
  • the optical member 2c stops after moving in the -X direction by a distance substantially equal to the width W1.
  • the light source device 100c causes the light emission control section 41 to cause the light emission sections 1 included in the first light emission section array group 1A and the second light emission section array group 1B to emit light.
  • the state of the optical member 2c is a state in which the light-emitting portions 1 included in the first light-emitting portion row group 1A among the plurality of light-emitting portions 1 are included in the plurality of first regions 21c in plan view. is D.
  • the light-emitting portions 1 included in the second light-emitting portion row group 1B among the plurality of light-emitting portions 1 are included in the plurality of second regions 22c in plan view.
  • the optical member 2c is stopped.
  • the light emitting units 1 included in the first light emitting unit array group 1A among the plurality of light emitting units 1 are included in the plurality of second regions 22c in plan view during the exposure period Ts. and state D in which the light-emitting portions 1 included in the first light-emitting portion row group 1A are included in the plurality of first regions 21c in plan view.
  • the light emitting units 1 included in the second light emitting unit row group 1B among the plurality of light emitting units 1 are included in the plurality of first regions 21c in plan view during the exposure period Ts. It is possible to switch between state C and state D in which the light emitting units 1 included in the second light emitting unit row group 1B are included in the plurality of second regions 22c in plan view.
  • FIGS. 20 to 25 are diagrams for explaining irradiation light emitted from the light source device 100c to the irradiated region 200.
  • FIG. FIG. 20 is a diagram showing an example of irradiation light in state C before the optical member 2c moves.
  • FIG. 21 is a diagram showing an example of irradiation light in state D after the optical member 2c has moved.
  • FIG. 22 is a diagram showing an example of mixed-color light obtained by mixing the irradiation lights of FIGS. 20 and 21.
  • FIG. 20 is a diagram showing an example of irradiation light in state C before the optical member 2c moves.
  • FIG. 21 is a diagram showing an example of irradiation light in state D after the optical member 2c has moved.
  • FIG. 22 is a diagram showing an example of mixed-color light obtained by mixing the irradiation lights of FIGS. 20 and 21.
  • FIG. 20 is a diagram showing an example of irradiation light in state C before
  • FIG. 23 is a diagram showing an example of light emitted from some of the plurality of light emitting units 1 in state C before the optical member 2c moves.
  • FIG. 24 is a diagram showing an example of light emitted from some of the plurality of light emitting units 1 in state D after the optical member 2c has moved.
  • FIG. 25 is a diagram showing an example of mixed-color light obtained by mixing the irradiation lights of FIGS. 23 and 24. In FIG.
  • the irradiation light 204 of the first chromaticity and the irradiation light 205 of the second chromaticity are irradiated to the irradiated region 200 .
  • the irradiation light 204 of the first chromaticity and the irradiation light 205 of the second chromaticity are irradiated to the irradiated region 200 .
  • the mixed-color light 206 shown in FIG. 22 is a mixture of light of the first chromaticity that has passed through the first region 21c and light of the second chromaticity that has been wavelength-converted and transmitted by the second region 22c during the exposure period Ts. It is time-averaged and mixed light.
  • the color of the mixed color light 206 can be adjusted by adjusting the ratio of the light amount of the irradiation light 204 and the light amount of the irradiation light 205 within the exposure period Ts.
  • the light source device 100c irradiates the mixed light 206 closer to the first chromaticity than the second chromaticity. can.
  • the light source device 100c can irradiate the mixed color light 206 closer to the second chromaticity than the first chromaticity.
  • the second chromaticity is obtained.
  • Mixed-color light 206 closer to the first chromaticity can be emitted.
  • the light source device 100c if the driving current of the light emitting unit 1 in the irradiation of the irradiation light 205 is larger than the driving current of the light emitting unit 1 in the irradiation of the irradiation light 204, the chromaticity is closer to the second chromaticity than the first chromaticity. Mixed color light 206 can be emitted. Note that the light source device 100c may adjust the driving power of the light emitting section 1 within the exposure period Ts.
  • the light source device 100c controls the relative movement between the plurality of light-emitting units 1 and the optical member 2c and the light emission of the plurality of light-emitting units 1 within the exposure period Ts. Either the light of the second chromaticity or the mixed light of the first chromaticity and the second chromaticity can be irradiated. Further, the light source device 100c can arbitrarily change the mixed light of the first chromaticity and the second chromaticity from near the first chromaticity to near the second chromaticity.
  • the light source device 100c controls the selection of the light emitting unit 1 to emit light from among the plurality of light emitting units 1 by the light emission control unit 41, and controls at least one of the driving current and the light emitting period of each of the plurality of light emitting units 1. can also be controlled.
  • the light source device 100c can partially illuminate the illuminated area 200 with the mixed color light 206a of the toned illumination lights 204a and 205a, as shown in FIGS.
  • the light source device 100c can arbitrarily change the position of the partial irradiation within the irradiated region 200 .
  • the optical member 2c has a plurality of first regions 21c and a plurality of second regions 22c.
  • the plurality of first regions 21 c and the plurality of second regions 22 c are alternately arranged along the X direction (first direction) so as to face the plurality of light emitting surfaces 11 .
  • the plurality of light emitting units 1 are arranged along at least the X direction.
  • the first movement control unit 42 moves the light emitting units 1 (predetermined light emitting units) included in the first light emitting unit row group 1A out of the plurality of light emitting units 1 into the plurality of second regions 22c. Control is performed so that state C is included in plan view, and state D is included in plan view in which the light emitting units 1 included in the first light emitting unit array group 1A are included in the plurality of first regions 21c. .
  • the width W2 can be made narrower than the width W1.
  • the relative movement distance of the optical member 2c by the first moving mechanism 3 can be shortened.
  • the light source device 100c is miniaturized by shortening the relative movement distance of the optical member 2c, and stabilizes the operation by suppressing disturbance or the like during the relative movement of the light source device 100c. variation can be reduced. Further, the light source device 100c can avoid the exposure period Ts from becoming longer. Other effects are the same as those of the first embodiment.
  • FIG. 26 is a cross-sectional view showing an example of the configuration of a light source device 100d according to the first modified example of the second embodiment.
  • the light source device 100 d has a first lens 6 and a housing 7 in addition to the configuration of the light source device 100 .
  • the first lens 6 emits light that has passed through or passed through the optical member 2c.
  • the first moving mechanism 3 relatively moves the optical member 2c with respect to the plurality of light emitting units 1 and the first lens 6 so that the light emitting surface 11 and the optical member 2c face each other. It is preferable that the light-emitting surfaces 11 of all the light-emitting portions 1 are arranged inside the first lens 6 (inside the outline of the first lens 6) in plan view.
  • the light source device 100d can collect the light from the plurality of light emitting units 1 and efficiently irradiate the irradiated region 200 with the light.
  • FIG. 27 is a cross-sectional view showing an example of the configuration of a light source device 100e according to the second modified example of the second embodiment.
  • the light source device 100e has a plurality of light emitting elements 12 and an optical member 2e.
  • the optical member 2 e has multiple first regions 21 a and multiple second regions 22 .
  • the first region 21a contains a wavelength conversion substance and can extract light with a chromaticity different from the second chromaticity.
  • the light source device 100e can efficiently excite the wavelength conversion substance contained in the optical member 2 by including the light emitting element 12 that emits light of a short wavelength, for example.
  • FIG. 28 is a timing chart showing a second example of operation of the light source device 100c.
  • the current value A12 of the first light emission signal So1 during the light emission period Tn12 is lower than the current value A11 of the first light emission signal So1 during the light emission period Tn11.
  • the amount of light of the second chromaticity in the state C is greater than the amount of light of the first chromaticity in the state D.
  • the current value A21 of the second light emission signal So2 during the light emission period Tn21 is lower than the current value A22 of the second light emission signal So2 during the light emission period Tn22.
  • the amount of light of the second chromaticity in the state D becomes larger than the amount of light of the first chromaticity in the state C.
  • the mixed color light 206 has a color closer to the second chromaticity than the first chromaticity.
  • the light source device 100c can irradiate toned light by controlling the driving currents of the plurality of light emitting units 1.
  • FIG. 29 is a plan view showing an example of the configuration of a light source device 100f according to the third modified example of the second embodiment.
  • the light source device 100f has an optical member 2f.
  • the optical member 2f has a plurality of first regions 21f capable of extracting light of a first chromaticity and a plurality of second regions 22f capable of extracting light of a second chromaticity.
  • the plurality of first regions 21f and the plurality of second regions 22f are arranged alternately along each of the X direction and the Y direction so as to face the light emitting surface 11 .
  • the plurality of first regions 21f and the plurality of second regions 22f are arranged so as to be adjacent to each other in the X direction and the Y direction.
  • the first regions 21f are 36 regions in total, with 4 or 5 arranged along the X direction and 4 or 5 arranged along the Y direction.
  • Four or five second regions 22f are arranged along the X direction and four or five are arranged along the Y direction, for a total of 36 regions.
  • the configuration of the first region 21f is similar to that of the first region 21 described above, and the configuration of the second region 22f is similar to that of the second region 22 described above.
  • the width of each of the plurality of first regions 21f along the X direction and the width of each of the plurality of second regions 22f along the X direction are equal, and both have a width W2.
  • the width of each of the plurality of first regions 21f along the Y direction and the width of each of the plurality of second regions 22f along the Y direction are equal, and both have a width W2.
  • the width in the X direction and the width in the Y direction of the plurality of first regions 21f and the plurality of second regions 22f may be different from each other.
  • the "width W2" is only described uniformly for the sake of convenience, and the same width is not assumed in each embodiment.
  • the first moving mechanism 3 switches between state E and state F by moving the optical member 2f in the X direction by a distance substantially equal to the width W2.
  • state E some of the light emitting units 1 included in the first light emitting unit column group 1A arranged in the Y direction are included in the plurality of first regions 21f in plan view, and the first light emission is performed.
  • the other light emitting units 1 included in the row group 1A are included in the plurality of second regions 22f in plan view.
  • Some of the light-emitting units 1 included in the first light-emitting unit row group 1A correspond to the second, fourth, sixth, and eight light-emitting units 1 counted from the +Y direction side.
  • Other light emitting units 1 included in group 1A correspond to the first, third, fifth and seventh light emitting units 1 counted from the +Y direction side.
  • state E some of the light emitting units 1 included in the second light emitting unit row group 1B arranged in the Y direction are included in the plurality of second regions 22f in plan view, and the In this state, other light emitting units 1 included in the two light emitting unit row group 1B are included in the plurality of first regions 21f in plan view.
  • Some of the light emitting units 1 included in the second light emitting unit row group 1B correspond to the second, fourth, sixth, and eight light emitting units 1 counted from the +Y direction side, and Other light emitting units 1 included in the group 1B correspond to the first, third, fifth and seventh light emitting units 1 counted from the +Y direction side.
  • state F some of the light emitting units 1 included in the first light emitting unit column group 1A arranged in the Y direction are included in the plurality of second regions 22f in plan view, and are included in the first light emitting unit column group 1A.
  • state F some of the light emitting units 1 included in the second light emitting unit column group 1B arranged in the Y direction are included in the plurality of first regions 21f in plan view, and are included in the second light emitting unit column group 1B.
  • the first movement control section 42 in the control section 4 performs control so that the state E and the state F occur within the exposure period Ts.
  • a part of the light emitting units 1 included in the first light emitting unit row group 1A among the plurality of light emitting units 1 is an example of a predetermined light emitting unit.
  • the light source device 100f has a total of 64 light-emitting units 1 in which eight light-emitting units 1 are arranged in the X direction and eight light-emitting units 1 are arranged in the Y direction. It is not limited to this. At least two light emitting units 1 are required along the X direction and at least two light emitting units 1 are required along the Y direction. .
  • the number of the first regions 21f and the second regions 22f in the optical member 2f can also be appropriately changed according to the number of the light emitting units 1.
  • FIGS. 30 to 35 are diagrams for explaining irradiation light emitted from the light source device 100f to the irradiated region 200.
  • FIG. FIG. 30 is a diagram showing an example of irradiation light in state E before the optical member 2f moves.
  • FIG. 31 is a diagram showing an example of irradiation light in state F after the optical member 2f has moved.
  • FIG. 32 is a diagram showing an example of mixed-color light obtained by mixing the irradiation lights of FIGS. 30 and 31.
  • FIG. 30 is a diagram showing an example of irradiation light in state E before the optical member 2f moves.
  • FIG. 31 is a diagram showing an example of irradiation light in state F after the optical member 2f has moved.
  • FIG. 32 is a diagram showing an example of mixed-color light obtained by mixing the irradiation lights of FIGS. 30 and 31.
  • FIG. 33 is a diagram showing an example of light emitted from some of the plurality of light emitting units 1 in state E before the optical member 2f moves.
  • FIG. 34 is a diagram showing an example of light emitted from some of the plurality of light emitting units 1 in state F after the optical member 2f has moved.
  • FIG. 35 is a diagram showing an example of mixed-color light obtained by mixing the irradiation lights of FIGS. 33 and 34. In FIG.
  • the irradiation light 207 of the first chromaticity and the irradiation light 208 of the second chromaticity are irradiated to the irradiated region 200 so as to be adjacent to each other in the X direction and the Y direction.
  • the illumination light 207 of the first chromaticity and the illumination light 208 of the second chromaticity are adjacent to each other in the X direction and the Y direction, and their positions are reversed from those in the state E. Then, the irradiated region 200 is irradiated.
  • Mixed-color light 209 shown in FIG. 32 is a combination of light of the first chromaticity that has passed through the first region 21c and light of the second chromaticity that has been wavelength-converted and transmitted by the second region 22c during the exposure period Ts. It is time-averaged and mixed light.
  • the color of the mixed light 209 can be adjusted by adjusting the ratio of the light intensity of the irradiation light 207 and the light intensity of the irradiation light 208 within the exposure period Ts.
  • the light source device 100f irradiates the mixed color light 209 closer to the first chromaticity than the second chromaticity. can.
  • the light source device 100f can irradiate the mixed color light 209 closer to the second chromaticity than the first chromaticity.
  • the second chromaticity can be obtained.
  • Mixed-color light 209 closer to the first chromaticity can be emitted.
  • the chromaticity is closer to the second chromaticity than the first chromaticity.
  • Mixed color light 209 can be emitted.
  • the light source device 100 f may control the power values of the plurality of light emitting units 1 .
  • the light source device 100f controls the relative movement between the plurality of light-emitting units 1 and the optical member 2f and the light emission of the plurality of light-emitting units 1 within the exposure period Ts. Either the light of the second chromaticity or the mixed light of the first chromaticity and the second chromaticity can be irradiated. The light source device 100f can arbitrarily change the mixed light of the first chromaticity and the second chromaticity from near the first chromaticity to near the second chromaticity.
  • the light source device 100f controls the selection of the light emitting unit 1 to emit light from among the plurality of light emitting units 1 by the light emission control unit 41, and controls at least one of the driving current and the light emitting period of each of the plurality of light emitting units 1. can also be controlled.
  • the light source device 100f can partially illuminate the illuminated area 200 with the mixed color light 209a of the toned illumination lights 207a and 208a, as shown in FIGS.
  • the light source device 100f can arbitrarily change the position of the partial irradiation within the irradiated region 200 .
  • a plurality of first regions 21c and a plurality of second regions 22c are alternately arranged along the X direction and the Y direction so as to face the light emitting surface 11.
  • relative movement of the optical member 2f by the first moving mechanism 3 may be in either the X direction or the Y direction. Also, the relative movement distance can be made shorter than the width W1.
  • FIG. 36 is a plan view showing an example of the configuration of the optical member 2g in the light source device 100g according to the fourth modified example of the second embodiment.
  • the optical member 2g includes a plurality of first regions 21g capable of extracting light of a first chromaticity, a plurality of second regions 22g capable of extracting light of a second chromaticity, and a light of a third chromaticity. and a plurality of third regions 23g.
  • the plurality of first regions 21g, the plurality of second regions 22g, and the plurality of third regions 23g are arranged alternately along each of the X direction and the Y direction so as to face the light emitting surface 11. As shown in FIG.
  • the configuration of the first region 21g is similar to that of the first region 21 described above, and the configuration of the second region 22g is similar to that of the second region 22 described above.
  • the third region 23 includes a wavelength conversion substance and can extract light of a third chromaticity different from each of the first chromaticity and the second chromaticity.
  • the width along the X direction of each of the plurality of first regions 21g, the width along the X direction of each of the plurality of second regions 22g, and the width along the X direction of each of the plurality of third regions 23g are equal. also has width W2.
  • the optical member 2g can be moved along the X direction by the first moving mechanism 3. As shown in FIG.
  • state G which is the state before the optical member 2g is moved, among the plurality of light emitting units 1, the light emitting unit row 1-1, the light emitting unit row 1-4, and the light emitting units 1 are arranged in the Y direction.
  • a plurality of light-emitting portions 1 included in the third light-emitting portion column group 1C consisting of columns 1-7 each face the first region 21g.
  • the plurality of light-emitting units 1 included in the fourth light-emitting unit row group 1D consisting of the light-emitting unit row 1-2, the light-emitting unit row 1-5, and the light-emitting unit row 1-8 each have a second It faces the region 22g.
  • the plurality of light emitting portions 1 included in the fifth light emitting portion column group 1E including the light emitting portion column 1-3 and the light emitting portion column 1-6 face the third region 23g.
  • state H which is the state after the optical member 2g has moved in the ⁇ X direction by a distance substantially equal to the width W2 from the state of FIG.
  • a plurality of light-emitting units 1 included in the three-light-emitting unit row group 1C each face the second region 22g.
  • the light emitting units 1 included in the fourth light emitting unit row group 1D face the third region 23g.
  • the light emitting units 1 included in the fifth light emitting unit row group 1E face the first region 21g.
  • state I which is a state after the first movement and the second movement in which the optical member 2g is moved in the ⁇ X direction by a distance substantially equal to the width W2
  • the plurality of light emitting units 1 included in the third light emitting unit row group 1C respectively face the third region 23g.
  • the light emitting units 1 included in the fourth light emitting unit row group 1D face the first region 21g.
  • the light emitting units 1 included in the fifth light emitting unit row group 1E face the second region 22g.
  • the first moving mechanism 3 moves the optical member 2g in the -X direction twice by a distance substantially equal to the width W2, so that the state G, the state H, and the state I are changed. , switch.
  • State G is a state in which some of the plurality of light emitting portions 1 included in the third light emitting portion row group 1C are included in the plurality of first regions 21g in plan view.
  • State H is a state in which some of the plurality of light emitting portions 1 included in the third light emitting portion row group 1C are included in the plurality of second regions 22g in plan view.
  • State I is a state in which some of the plurality of light emitting portions 1 included in the third light emitting portion row group 1C are included in the plurality of third regions 23g in plan view.
  • the first movement control section 42 in the control section 4 performs control so that the state G, the state H, and the state I are established within the exposure period Ts.
  • the plurality of light emitting units 1 included in the third light emitting unit row group 1C are examples of predetermined light emitting units.
  • FIGS. 37 to 44 are diagrams for explaining irradiation light emitted from the light source device 100g to the irradiated region 200.
  • FIG. FIG. 37 is a diagram showing an example of irradiation light in state G before the optical member 2g moves.
  • FIG. 38 is a diagram showing an example of irradiation light in state H after the optical member 2g has moved the first time.
  • FIG. 39 is a diagram showing an example of irradiation light in state I after the optical member 2g has moved to the second position.
  • FIG. 40 is a diagram showing an example of mixed-color light obtained by mixing the irradiation lights of FIGS. 37 to 39.
  • FIG. 41 is a diagram showing an example of light emitted from some of the plurality of light emitting units 1 in state G before the optical member 2g moves.
  • FIG. 42 is a diagram showing an example of light emitted from some of the plurality of light emitting units 1 in state H after the optical member 2g has moved the first time.
  • FIG. 43 is a diagram showing an example of light emitted from some of the plurality of light emitting units 1 in state I after the optical member 2g has moved to the second position.
  • FIG. 44 is a diagram showing an example of mixed-color light obtained by mixing the irradiation lights of FIGS. 41 to 43.
  • FIG. 41 is a diagram showing an example of light emitted from some of the plurality of light emitting units 1 in state G before the optical member 2g moves.
  • FIG. 42 is a diagram showing an example of light emitted from some of the plurality of light emitting units 1 in state H after the optical member 2g has moved the first time.
  • FIG. 43 is a
  • first chromaticity illumination light 210, second chromaticity illumination light 211, and third chromaticity illumination light 212 are repeated in this order from the +X direction to the ⁇ X direction. , and irradiated onto the irradiated region 200 .
  • the illumination light 211 of the second chromaticity, the illumination light 212 of the third chromaticity, and the illumination light 210 of the first chromaticity are repeated in this order from the +X direction to the ⁇ X direction. , and irradiated onto the irradiated region 200 .
  • the illumination light 212 of the third chromaticity, the illumination light 210 of the first chromaticity, and the illumination light 211 of the second chromaticity are repeated in this order from the +X direction to the ⁇ X direction. , and irradiated onto the irradiated region 200 .
  • the mixed-color light 213 shown in FIG. 40 includes, within the exposure period Ts, the first chromaticity light transmitted through the first region 21g, the second chromaticity light wavelength-converted by the second region 22g, and the third region 22g.
  • the third chromaticity light wavelength-converted by 23g and the third chromaticity light are time-averaged and mixed.
  • the color of the mixed color light 213 can be adjusted by adjusting the ratio of the light amount of the irradiation light 210, the light amount of the irradiation light 211, and the light amount of the irradiation light 212 within the exposure period Ts.
  • the light source device 100g controls the relative movement between the plurality of light emitting units 1 and the optical member 2g and the light emission of the plurality of light emitting units 1 within the exposure period Ts, thereby controlling the light of the first chromaticity and the light of the second chromaticity. Any one of chromaticity light, third chromaticity light, or mixed color light of first, second and third chromaticity can be emitted. Further, the light source device 100g can arbitrarily change the color of the mixed light to one close to the first chromaticity, one close to the second chromaticity, and one close to the third chromaticity.
  • the light source device 100g controls the selection of the light emitting unit 1 to emit light from among the plurality of light emitting units 1 by the light emission control unit 41, and controls at least one of the driving current and the light emitting period of each of the plurality of light emitting units 1. can also be controlled.
  • the light source device 100g can partially illuminate the illuminated area 200 with the mixed color light 213a of the toned illumination lights 210a, 211a, and 212a, as shown in FIGS.
  • the light source device 100g can arbitrarily change the position of the partial irradiation within the irradiated region 200 .
  • the light source device 100g can irradiate a combination of light with three chromaticities, and can further increase the degree of freedom in color toning.
  • FIG. 45 is a plan view showing an example of the configuration of the optical member 2h in the light source device 100h according to the fifth modified example of the second embodiment.
  • the plurality of light emitting units 1 and the optical member 2h can be relatively moved in both the X direction and the Y direction by the first moving mechanism 3.
  • the first movement control section 42 can control relative movement between the optical member 2h and the plurality of light emitting sections 1 in the X direction and the Y direction.
  • the optical member 2h includes a plurality of first regions 21h capable of extracting light of a first chromaticity, a plurality of second regions 22h capable of extracting light of a second chromaticity, and a light of a third chromaticity. and a plurality of third regions 23h.
  • the plurality of first regions 21h, the plurality of second regions 22h, and the plurality of third regions 23h are arranged alternately along each of the X direction and the Y direction so as to face the light emitting surface 11 .
  • the configuration of the first region 21h is similar to that of the first region 21 described above, the configuration of the second region 22h is similar to that of the second region 22 described above, and the configuration of the third region 23h is similar to that of the third region 23h described above. Similar to region 23g.
  • the width along the X direction of each of the plurality of first regions 21h, the width along the X direction of each of the plurality of second regions 22h, and the width along the X direction of each of the plurality of third regions 23h are equal. also has width W2.
  • the width along the Y direction of each of the plurality of first regions 21h, the width along the Y direction of each of the plurality of second regions 22h, and the width along the Y direction of each of the plurality of third regions 23h are also equal. , have a width W2 which is equal to the width along the X direction described above.
  • the optical member 2h can be moved along the X direction and the Y direction by the first moving mechanism 3. As shown in FIG.
  • state J which is the state before the optical member 2h is moved, among the plurality of light emitting portions 1, the light emitting portion row 1-1, the light emitting portion row 1-3, the light emitting portion row 1-3, which are the rows of the light emitting portions 1 arranged in the Y direction.
  • a part of the light emitting units 1 included in the sixth light emitting unit column group 1F consisting of the columns 1-5 and the light emitting unit columns 1-7 faces the second region 22h, and the other light emitting units included in the sixth light emitting unit column group 1F
  • the light-emitting portion 1 of is opposed to the first region 21h.
  • Some of the light-emitting units 1 included in the sixth light-emitting unit row group 1F correspond to the first, third, fifth and seventh light-emitting units 1 counted from the +Y direction side, and the sixth light-emitting unit row Other light emitting units 1 included in the group 1F correspond to the second, fourth, sixth, and eight light emitting units 1 counted from the +Y direction side.
  • a seventh light emitting unit row group 1G consisting of light emitting unit row 1-2, light emitting unit row 1-4, light emitting unit row 1-6, and light emitting unit row 1-8. facing the first region 21h, and the other light emitting sections 1 included in the seventh light emitting section row group 1G face the third region 23h.
  • Some of the light emitting units 1 included in the seventh light emitting unit row group 1G correspond to the first, third, fifth and seventh light emitting units 1 counted from the +Y direction side
  • the seventh light emitting unit row Other light emitting units 1 included in the group 1G correspond to the second, fourth, sixth, and eight light emitting units 1 counted from the +Y direction side.
  • state K which is a state after the optical member 2h has moved in the ⁇ X direction by a distance substantially equal to the width W2 from the state of FIG.
  • Some of the light emitting units 1 included in the six light emitting unit column group 1F face the first region 21h, and the other light emitting units 1 included in the sixth light emitting unit column group 1F face the third region 23h.
  • some light emitting units 1 included in the seventh light emitting unit array group 1G face the second region 22h, and other light emitting units included in the seventh light emitting unit array group 1G. 1 faces the first region 21h.
  • state L which is a state after the optical member 2h has moved in the +Y direction by a distance substantially equal to the width W2 after the first movement
  • the second movement is performed.
  • Some of the light emitting units 1 included in the six light emitting unit column group 1F face the third region 23h, and the other light emitting units 1 included in the sixth light emitting unit column group 1F face the first region 21h.
  • some light emitting units 1 included in the seventh light emitting unit array group 1G face the first region 21h, and other light emitting units included in the seventh light emitting unit array group 1G. 1 faces the second region 22h.
  • state M which is a state after the optical member 2h has moved in the +X direction by a distance substantially equal to the width W2 after the second movement
  • the third Some of the light emitting units 1 included in the six light emitting unit column group 1F face the first region 21h
  • the other light emitting units 1 included in the sixth light emitting unit column group 1F face the second region 22h.
  • some light emitting units 1 included in the seventh light emitting unit array group 1G face the third region 23h
  • other light emitting units included in the seventh light emitting unit array group 1G. 1 faces the first region 21h.
  • the first moving mechanism 3 moves the optical member 2h in the ⁇ X direction, the +Y direction, and the +X direction by a distance substantially equal to the width W2, three times in total, so that the state J and State K, state L, and state M are switched.
  • State J is a state in which some of the plurality of light emitting portions 1 included in the sixth light emitting portion row group 1F are included in the plurality of second regions 22h in plan view.
  • State K is a state in which some of the plurality of light emitting portions 1 included in the sixth light emitting portion row group 1F are included in the plurality of first regions 21h in plan view.
  • State L is a state in which some of the plurality of light emitting portions 1 included in the sixth light emitting portion row group 1F are included in the plurality of third regions 23h in plan view.
  • State M is a state in which some of the plurality of light emitting portions 1 included in the sixth light emitting portion row group 1F are included in the plurality of first regions 21h in plan view.
  • the first movement control unit 42 in the control unit 4 performs control so that the state J, the state K, the state L, and the state M are achieved within the exposure period Ts.
  • Some of the light emitting units 1 included in the sixth light emitting unit row group 1F are examples of predetermined light emitting units.
  • FIGS. 46 to 55 are diagrams for explaining irradiation light emitted from the light source device 100h to the irradiated region 200.
  • FIG. FIG. 46 is a diagram showing an example of irradiation light in state J before the optical member 2h moves.
  • FIG. 47 is a diagram showing an example of irradiation light in state K after the optical member 2h has moved the first time.
  • FIG. 48 is a diagram showing an example of irradiation light in state L after the optical member 2h has moved to the second position.
  • FIG. 49 is a diagram showing an example of irradiation light in state M after the optical member 2h has moved to the third position.
  • FIG. 50 is a diagram showing an example of mixed-color light obtained by mixing the irradiation lights of FIGS. 46 to 49.
  • FIG. 51 is a diagram showing an example of light emitted from some of the plurality of light emitting units 1 in state J before the optical member 2h moves.
  • FIG. 52 is a diagram showing an example of light emitted from some of the plurality of light emitting units 1 in state K after the optical member 2h has moved the first time.
  • FIG. 53 is a diagram showing an example of light emitted from some of the plurality of light emitting units 1 in state L after the optical member 2h has moved to the second position.
  • FIG. 54 is a diagram showing an example of light emitted from some of the plurality of light emitting units 1 in state M after the optical member 2h has moved to the third position.
  • FIG. 55 is a diagram showing an example of mixed-color light obtained by mixing the irradiation lights of FIGS. 51 to 54.
  • FIG. 51 is a diagram showing an example of mixed-color light obtained by mixing the irradiation lights of FIGS. 51 to 54.
  • the irradiation light 214 of the first chromaticity, the irradiation light 215 of the second chromaticity, and the irradiation light 216 of the third chromaticity are irradiated onto the irradiated region 200 .
  • the irradiated region 200 is irradiated with the irradiation light 214 of the first chromaticity, the irradiation light 215 of the second chromaticity, and the irradiation light 216 of the third chromaticity.
  • the irradiation light 214 of the first chromaticity, the irradiation light 215 of the second chromaticity, and the irradiation light 216 of the third chromaticity are irradiated onto the irradiated region 200 .
  • the irradiation light 214 of the first chromaticity, the irradiation light 215 of the second chromaticity, and the irradiation light 216 of the third chromaticity are irradiated onto the irradiated region 200 .
  • the mixed-color light 217 shown in FIG. 50 is composed of light of the first chromaticity transmitted through the first region 21h, light of the second chromaticity wavelength-converted by the second region 22h, and light of the third region 22h within the exposure period Ts.
  • the third chromaticity light wavelength-converted by 23h is time-averaged and mixed.
  • the color of the mixed color light 217 can be adjusted by adjusting the ratio of the light amount of the irradiation light 214, the light amount of the irradiation light 215, and the light amount of the irradiation light 216 within the exposure period Ts.
  • the light source device 100h controls the relative movement between the plurality of light emitting units 1 and the optical member 2h and the light emission of the plurality of light emitting units 1 within the exposure period Ts, thereby controlling the light of the first chromaticity and the light of the second chromaticity. Any one of chromaticity light, third chromaticity light, or mixed color light of first, second and third chromaticity can be emitted. Also, the light source device 100h can arbitrarily change the color of the mixed light to one close to the first chromaticity, one close to the second chromaticity, and one close to the third chromaticity.
  • the light source device 100h controls the light emission control unit 41 to select the light emitting unit 1 to emit light from among the plurality of light emitting units 1, and controls at least one of the driving current and the light emitting period of each of the plurality of light emitting units 1. can also be controlled. As a result, the light source device 100h can partially illuminate the illuminated area 200 with the mixed color light 217a of the toned illumination lights 214a, 215a and 216a, as shown in FIGS. The light source device 100h can arbitrarily change the position of partial irradiation within the irradiated region 200 .
  • the light source device 100h can irradiate a combination of light of three chromaticities, and can further increase the degree of freedom in color toning.
  • the degree of freedom of relative movement of the optical member is high compared to the case where the optical member moves only in the X direction, so the degree of freedom of color toning can be increased.
  • the light source device 100h can reduce the difference in the relative movement distance for switching the chromaticity, particularly when performing color matching using three or more colors, making it easier to perform color matching.
  • FIG. 56 is a plan view showing an example of the configuration of a light source device 100i according to the third embodiment.
  • 57 is a cross-sectional view taken along line LVI--LVI in FIG. 56.
  • FIG. FIG. 58 is a sectional view showing the light source device 100i after the optical member 2c has moved from the state shown in FIG.
  • the light source device 100i has a plurality of light emitting portions 1i.
  • Each of the plurality of light emitting parts 1i includes a light emitting surface 11i.
  • the configuration of the light emitting section 1i is the same as that of the light emitting section 1 described above.
  • the plurality of light emitting portions 1i are arranged along the X direction while having a first interval px between the light emitting portions 1i adjacent to each other along the X direction.
  • the first interval px is substantially equal to the width W2 of either the first region 21c or the second region 22c along the X direction.
  • “substantially equivalent” does not require exact equality, but means that a difference that is generally recognized as an error is allowed. A difference generally recognized as an error is, for example, a difference of 1/5 or less of the width W2. This point also applies to the case where the term “substantially equivalent” is used hereinafter.
  • the first spacing px is preferably 50 ⁇ m or more and 2000 ⁇ m or less, more preferably 200 ⁇ m or more and 1000 ⁇ m or less.
  • the plurality of light emitting portions 1i are arranged along the Y direction while having a second interval py between the light emitting portions 1i adjacent to each other along the Y direction.
  • the second spacing py is substantially equal to the width of either the first region 21c or the second region 22c along the Y direction.
  • the second spacing py is preferably 50 ⁇ m or more and 2000 ⁇ m or less, more preferably 200 ⁇ m or more and 1000 ⁇ m or less.
  • it is preferable that the first interval px and the second interval py have approximately the same length.
  • state Q which is a state after the optical member 2c has moved in the ⁇ X direction by a distance substantially equal to the width W2 from the state of FIG.
  • a plurality of light-emitting portions 1i included in the light-emitting portion row group 1A each face the second region 22c.
  • the first moving mechanism 3 switches between the state P and the state Q by moving the optical member 2c to the -X side by a distance substantially equal to the width W2.
  • State P is a state in which the plurality of light-emitting portions 1i included in the first light-emitting portion row group 1A among the plurality of light-emitting portions 1 are included in the plurality of first regions 21c in plan view.
  • State Q is a state in which the plurality of light-emitting portions 1i included in the first light-emitting portion row group 1A among the plurality of light-emitting portions 1i are included in the plurality of second regions 22c in plan view.
  • the first movement control section 42 in the control section 4 performs control so that the state P and the state Q are established within the exposure period Ts.
  • the plurality of light emitting units 1i included in the first light emitting unit array group 1A are examples of predetermined light emitting units.
  • FIGS. 59 to 64 are diagrams for explaining irradiation light emitted from the light source device 100i to the irradiated region 200.
  • FIG. FIG. 59 is a diagram showing an example of light emitted by the light source device 100i before the optical member 2c is moved.
  • FIG. 60 is a diagram showing an example of light emitted by the light source device 100i after the optical member 2c has moved.
  • FIG. 61 is a diagram showing an example of mixed-color light obtained by mixing the irradiation lights of FIGS. 59 and 60.
  • FIG. 62 is a diagram showing an example of light emitted from a part of the light emitting units 1i in the light source device 100i before the optical member 2c moves.
  • FIG. 63 is a diagram showing an example of light emitted from some of the light emitting units 1i in the light source device 100i after the optical member 2c has been moved.
  • FIG. 64 is a diagram showing an example of mixed-color light obtained by mixing the irradiation lights of FIGS. 62 and 63. In FIG.
  • the irradiation light 218 of the first chromaticity is irradiated onto the irradiated region 200.
  • the irradiated region 200 is irradiated with the irradiation light 219 of the second chromaticity.
  • Mixed-color light 220 shown in FIG. 61 is composed of light of the first chromaticity that has passed through the first region 21c and light of the second chromaticity that has been wavelength-converted and transmitted by the second region 22c during the exposure period Ts. It is time-averaged and mixed.
  • the color of the mixed color light 220 can be adjusted by adjusting the ratio of the light amount of the irradiation light 218 and the light amount of the irradiation light 219 within the exposure period Ts.
  • the light source device 100i controls the selection of the light emitting unit 1i to emit light from among the plurality of light emitting units 1i by the light emission control unit 41, and controls at least one of the drive current and the light emission period of each of the plurality of light emitting units 1i. can also be controlled.
  • the light source device 100i can partially illuminate the illuminated area 200 with the mixed color light 220a of the toned illumination lights 218a and 219a, as shown in FIGS.
  • the light source device 100i can arbitrarily change the position of partial irradiation within the irradiated region 200 .
  • the plurality of light emitting units 1i have the first spacing px between the light emitting units 1i adjacent to each other along the X direction (first direction). Lined up.
  • the first spacing px is substantially equal to the width W2 of either the first region 21c or the second region 22c along the X direction.
  • the plurality of light-emitting portions 1i are arranged along the X-direction while having the first spacing px between the light-emitting portions 1i adjacent to each other along the X-direction.
  • the first spacing px is substantially equal to the width W2 of either the first region 21c or the second region 22c along the X direction
  • the second spacing py is the width W2 of either the first region 21c or the second region 22c along the Y direction. It is substantially the same as the width W2 of either one of the second regions 22c.
  • the distance between the plurality of light emitting units 1i can be increased according to the first distance px and the second distance py, so that the plurality of light emitting units 1i can be easily mounted and the light source device 100i can be manufactured easily.
  • FIG. 65 is a cross-sectional view showing an example of the configuration of a light source device 100j according to the first modified example of the third embodiment.
  • the light source device 100j has a first lens 6 .
  • the light source device 100j differs from the light source device 100d only in that the light source device 100j has a light-emitting portion 1i, and has the same effect as the light source device 100d.
  • FIG. 66A is a cross-sectional view showing an example of the configuration of a light source device 100k according to the second modified example of the third embodiment.
  • the light source device 100k has a plurality of light emitting elements 12i.
  • the light source device 100k differs from the light source device 100e only in that it has a plurality of light emitting elements 12i, and has the same effects as the light source device 100e.
  • FIG. 66B is a plan view showing an example of the configuration of a light source device 100L according to the third modified example of the third embodiment.
  • the light source device 100L has an optical member 2f and a plurality of light emitting portions 1i.
  • the optical member 2f has a plurality of first regions 21f and a plurality of second regions 22f.
  • the plurality of first regions 21f and the plurality of second regions 22f are arranged alternately along each of the X direction and the Y direction so as to face the light emitting surface 11i.
  • the first movement control unit 42 arranges the plurality of light emitting units 1 included in the first light emitting unit row group 1A among the plurality of light emitting units 1i to the plurality of first light emitting units 1i within the exposure period Ts.
  • a state in which a plurality of light-emitting portions 1i included in the first light-emitting portion row group 1A among the plurality of light-emitting portions 1i are included in a plurality of second regions 22f in plan view. Contained states and controls to be.
  • the plurality of light emitting portions 1i are arranged along the X direction while having a first interval px between the light emitting portions 1i adjacent to each other along the X direction, and are arranged adjacent to each other along the Y direction. They are arranged along the Y direction while having a second interval py between 1i.
  • the first spacing px is approximately equal to the width W2 of either the first region 21f or the second region 22f along the X direction
  • the second spacing py is the width of the first region 21f along the Y direction.
  • it is substantially the same as the width W2 of either one of the second regions 22f.
  • the distance between the plurality of light emitting units 1i can be increased according to the first distance px and the second distance py, so that the plurality of light emitting parts 1i can be easily mounted and the light source device 100L can be manufactured easily.
  • a plurality of first regions 21f or a plurality of second regions 22f are alternately arranged along the X direction and the Y direction so as to face the light emitting surface 11i. Therefore, relative movement of the optical member 2f by the first movement mechanism 3 may be in either the X direction or the Y direction, and the relative movement distance can be made shorter than the width W1.
  • FIG. 67 is a plan view showing an example of the configuration of a light source device 100m according to the fourth embodiment.
  • 68 is a cross-sectional view taken along line LXVII--LXVII in FIG. 67.
  • the light source device 100m has a plurality of light emitting units 1m and an optical member 2m.
  • Each of the plurality of light emitting parts 1m includes a light emitting surface 11m.
  • the configuration of the light emitting section 1m is the same as that of the light emitting section 1 described above.
  • the width wd of the light emitting surface 11m along the X direction is greater than the width W3 of the second region 22m along the X direction.
  • the optical member 2m includes a first region 21m and a second region 22m.
  • Each of the four first regions 21m is a row of the light-emitting portions 1m arranged in the Y direction among the plurality of light-emitting portions 1m. It faces row 1-7.
  • the five second regions 22m are arranged so as to sandwich the light-emitting portion row 1-1, the light-emitting portion row 1-3, the light-emitting portion row 1-5, and the light-emitting portion row 1-7, respectively.
  • the configuration of the first region 21m is similar to that of the first region 21 described above, and the configuration of the second region 22m is similar to that of the second region 22 described above.
  • the optical member 2m can be moved along the X direction by the first moving mechanism 3. As shown in FIG.
  • FIGS. 69 to 73 are diagrams explaining movement of the optical member 2m in the light source device 100m by the first movement mechanism 3.
  • FIG. 69 is a plan view showing part of the light source device of FIG. 67 in state R.
  • FIG. 70 is a plan view showing part of the light source device of FIG. 67 in state S.
  • FIG. 71 is a plan view showing part of the light source device of FIG. 67 in state T.
  • FIG. 72 is a plan view showing part of the light source device of FIG. 67 in state U.
  • FIG. 73 is a plan view showing part of the light source device of FIG. 67 in state V.
  • FIG. 69 is a plan view showing part of the light source device of FIG. 67 in state R.
  • FIG. 70 is a plan view showing part of the light source device of FIG. 67 in state S.
  • FIG. 71 is a plan view showing part of the light source device of FIG. 67 in state T.
  • FIG. 72 is a plan
  • FIGS. 69 to 73 show the positional relationship between the light emitting surface 11m and the second region 22m due to the movement of the optical member 2m.
  • FIGS. 69 to 73 show how the second region 22m moves from the +X side toward the ⁇ X side when the light emitting surface 11m is viewed from the +Z side during the exposure period Ts.
  • FIGS. 74 to 85 are diagrams for explaining irradiation light emitted from the light source device 100m to the irradiated region 200.
  • FIG. 74 is a diagram showing an example of light emitted by the light source device 100m in state R.
  • FIG. 75 is a diagram showing an example of light emitted by the light source device 100m in state S.
  • FIG. 76 is a diagram showing an example of light emitted by the light source device 100m in state T.
  • FIG. 77 is a diagram showing an example of light emitted by the light source device 100m in state U.
  • FIG. 78 is a diagram showing an example of light emitted by the light source device 100m in state V.
  • FIG. FIG. 79 is a diagram showing an example of mixed-color light obtained by mixing the irradiation lights of FIGS. 74 to 78.
  • FIG. 80 is a diagram showing an example of light emitted from a part of the light emitting units 1m in the light source device 100m in the state R.
  • FIG. 81 is a diagram showing an example of light emitted from some of the light emitting units 1m in the light source device 100m in state S.
  • FIG. 82 is a diagram showing an example of light emitted from some of the light emitting units 1m in the light source device 100m in the state T.
  • FIG. 83 is a diagram showing an example of light emitted from a part of the light emitting units 1m in the light source device 100m in state U.
  • FIG. 84 is a diagram showing an example of light emitted from a part of the light emitting units 1m in the light source device 100m in state V.
  • FIG. FIG. 85 is a diagram showing an example of mixed-color light obtained by mixing the irradiation lights of FIGS. 80 to 84.
  • the irradiation light 221 of the first chromaticity is irradiated onto the irradiated region 200.
  • the second region 22m is positioned between the light emitting surfaces 11m, so the irradiated region 200 is not irradiated with the irradiation light 221 of the second chromaticity.
  • state S as shown in FIG. 75, the irradiation light 221 of the first chromaticity and the irradiation light 222 of the second chromaticity are irradiated onto the irradiated region 200 .
  • state T as shown in FIG. 76, the irradiation light 221 of the first chromaticity and the irradiation light 222 of the second chromaticity are irradiated to the irradiated region 200 .
  • state U as shown in FIG. 77, the irradiation light 221 of the first chromaticity and the irradiation light 222 of the second chromaticity are irradiated to the irradiated region 200 .
  • the irradiation light 222 of the second chromaticity is included in the irradiation light 221 of the first chromaticity.
  • the position of the irradiation light 222 of the second chromaticity changes according to the state transition.
  • state V as shown in FIG. 78, the irradiation light 221 of the first chromaticity is irradiated to the irradiated region 200.
  • the second region 22m is positioned between the light emitting surfaces 11m after moving to the -X side, so the irradiated region 200 is not irradiated with the irradiation light 221 of the second chromaticity.
  • the mixed color light 223 shown in FIG. 79 is obtained by time-averaging the first chromaticity light transmitted through the first region 21m and the second chromaticity light wavelength-converted by the second region 22m within the exposure period Ts. It is a mixed color.
  • the color of the mixed light 223 can be adjusted by adjusting the ratio of the light amount of the irradiation light 221 and the light amount of the irradiation light 222 within the exposure period Ts.
  • the light source device 100m can control the selection of the light emitting unit 1m to emit light from among the plurality of light emitting units 1m by the light emission control unit 41, and can also control the light emitting period of each of the plurality of light emitting units 1m.
  • the light source device 100m can partially illuminate the illuminated area 200 with the mixed color light 223a of the illumination light 221a and the illumination light 222a, as shown in FIGS.
  • the light source device 100m can arbitrarily change the position of the partial irradiation within the irradiated region 200 .
  • the width wd of the light emitting surface 11m along the X direction is larger than the width W3 of the second region 22m along the X direction.
  • the light source device 100m causes the first moving mechanism 3 to move the optical member 2m at a predetermined speed in the X direction while constantly causing the light emitting portion 1m to emit light during the exposure period Ts.
  • the light of the first chromaticity and the light of the second chromaticity are time-averaged and mixed. can be irradiated to Compared with the light source device 100i shown in the third embodiment, the light source device 100m can reduce the distance between the light emitting portions 1m and enlarge the light emitting surface 11m.
  • the light source device 100m selects the width W3 of the second region 22m and the moving speed of the optical member 2m, and changes the light emitting unit 1m in the state R before moving the optical member 2m and the state V after moving the optical member 2m.
  • the color of the mixed-color light 223 can also be adjusted by adjusting the light emission period, so the degree of freedom in color toning can be improved.
  • the width wd of the light emitting surface 11m is greater than the width W3 of the second region 22m in this embodiment, the width wd of the light emitting surface 11m may be greater than the width of the first region 21m good.
  • FIG. 86 is a plan view showing an example of the configuration of a light source device 100n according to a modified example of the fourth embodiment.
  • the light source device 100n has a plurality of light emitting units 1n and an optical member 2n.
  • Each of the plurality of light emitting parts 1n includes a light emitting surface 11n.
  • the configuration of the light emitting portion 1n is the same as that of the light emitting portion 1 described above.
  • the optical member 2n includes a plurality of first regions 21n capable of extracting light of a first chromaticity, a plurality of second regions 22n capable of extracting light of a second chromaticity, and a light of a third chromaticity. and a plurality of third regions 23n.
  • a plurality of substantially rectangular second regions 22n are arranged so that short sides extend along the X direction and long sides extend along the Y direction.
  • a plurality of substantially rectangular third regions 23n are arranged with long sides along the X direction and short sides along the Y direction.
  • One first region 21n faces one light emitting surface 11n, is sandwiched between two second regions 22n in the X direction, and is sandwiched between two third regions 23n in the Y direction. That is, one first region 21n has a substantially square shape surrounded by two second regions 22n and two third regions 23n.
  • the width wd of the light emitting surface 11n along the X direction is greater than the width W3 of the second region 22n along the X direction, and the width wd of the light emitting surface 11n along the Y direction is greater than the width W3 of the third region 22n along the Y direction.
  • 23n is larger than the width W4.
  • the configuration of the first region 21n is similar to that of the first region 21 described above
  • the configuration of the second region 22n is similar to that of the second region 22 described above
  • the configuration of the third region 23n is similar to that of the third region 23n described above. Similar to region 23g.
  • the optical member 2m can be moved in both the X direction and the Y direction by the first moving mechanism 3 or the like.
  • the light source device 100n can irradiate the region 200 to be irradiated with light in which the first chromaticity and the second chromaticity are mixed, and moves the optical member 2m along the Y direction.
  • the illuminated region 200 can be illuminated.
  • the light source device 100n can reduce the distance between the light emitting portions 1n and enlarge the light emitting surface 11n. Moreover, since colors can be mixed using three types of chromaticity, ie, the first chromaticity, the second chromaticity, and the third chromaticity, the degree of freedom in color matching can be further improved.
  • width wd of the light emitting surface 11n along the X direction is greater than the width of either the first region 21n or the second region 22n along the X direction, and the width wd of the light emitting surface 11n along the Y direction. may be greater than the width W of either the first region 21n or the third region 23n along the Y direction.
  • FIG. 87 is a cross-sectional view showing an example of the configuration of a light source device 100o according to the fifth embodiment.
  • the light source device 100o has a plurality of light emitting units 1i, an optical member 2c, a first lens 6, a first moving mechanism 3, a second moving mechanism 8, and a controller 4o.
  • Each of the plurality of light-emitting portions 1i includes a light-emitting surface 11i.
  • the plurality of light emitting portions 1i are arranged along the X direction while having a first interval px between the light emitting surfaces 11i adjacent to each other along the X direction.
  • the light source device 100o may further include a second lens 63 and a second lens holding portion 64.
  • the second lens 63 converges the light that has passed through the optical member 2 c toward the first lens 6 .
  • the second lens holding portion 64 supports the second lens 63 .
  • the second moving mechanism 8 relatively moves the plurality of light emitting parts 1i and the first lens 6 along the X direction so that the light emitting surface 11i and the first lens 6 face each other.
  • the configuration of the second moving mechanism 8 is the same as that of the first moving mechanism 3 described above, except that the object to be moved is different.
  • the transparent part 9 is arranged inside the opening 71 of the housing 7 .
  • the transparent portion 9 overlaps the plurality of light emitting portions 1i and the optical member 2 in plan view.
  • the transparent portion 9 is a plate-like member that includes a resin material or a glass material that is optically transparent to at least the light emitted by the light emitting portion 1i, and that is substantially circular in plan view.
  • the transparent portion 9 is arranged on the +Z side of the first lens 6 and is supported in a state of entering the opening 71 of the housing 7 .
  • the transparent portion 9 allows the light emitted from the first lens 6 to pass therethrough. After being emitted from the first lens 6, the light transmitted through the transparent portion 9 becomes the irradiation light from the light source device 100o. Note that the transparent portion 9 may be adhered to the housing 7 by an adhesive member or the like.
  • FIG. 88 is a block diagram showing an example of the functional configuration of the controller 4o of the light source device 100o.
  • the controller 4 o has a second movement controller 44 that controls the operation of the second movement mechanism 8 .
  • the second movement control unit 44 performs control to relatively move the plurality of light emitting units 1i and the first lens 6 along the X direction within the exposure period Ts.
  • the distance over which the plurality of light-emitting portions 1i and the first lens 6 move relative to each other in the X direction is equal to or greater than the first interval px or the width wd of the light-emitting surface 11i in the X direction, whichever is shorter. .
  • a dark area which is a low-illuminance area, is generated.
  • the light source device 100o relatively moves the first lens 6 and the plurality of light emitting units 1i by the second moving mechanism 8 within the exposure period Ts, thereby increasing the illuminance of the region corresponding to the first interval px in the irradiated region 200. can be obtained.
  • the light source device 100o can artificially increase the number of the light emitting units 1i in light irradiation within the exposure period Ts. As a result, it is possible to reduce the low illuminance region of the irradiation light corresponding to the first interval px, thereby reducing the illuminance unevenness caused by the light source device 100o. In addition, it is possible to provide the light source device 100o capable of controlling the region in which the toned light is partially irradiated in the region 200 to be irradiated. Furthermore, since the number of divisions of the irradiated region 200 can be increased, natural partial irradiation light can be obtained.
  • the light source device 100o can be modified as follows. That is, the second moving mechanism 8 can relatively move the plurality of light emitting units 1i and the first lens 6 along each of the X direction and the Y direction so that the light emitting surface 11i and the first lens 6 face each other. .
  • the plurality of light-emitting portions 1i are arranged along the X-direction while having a first interval px between the light-emitting surfaces 11i adjacent along the X-direction. They are arranged along the Y direction with a second interval py therebetween.
  • the second movement control unit 44 performs control to relatively move the plurality of light emitting units 1i and the first lens 6 along each of the X direction and the Y direction within the exposure period Ts.
  • the distance over which the plurality of light emitting units 1i and the first lens 6 move relative to each other in the X direction is equal to or greater than the first interval px or the width wd of the light emitting surface 11i in the X direction, whichever is shorter. is.
  • the distance over which the plurality of light emitting units 1i and the first lens 6 move relative to each other along the Y direction is equal to or greater than the second interval py or the width wd of the light emitting surface 11i along the Y direction, whichever is shorter. is.
  • the number of light-emitting units 1i can be pseudo-increased not only in the X direction but also in the Y direction in the irradiation of light within the exposure period Ts. It is possible to provide a light source device 100o capable of controlling a region to partially irradiate the . In addition, since the number of divisions of the irradiated region 200 can be increased in the Y direction in addition to the X direction, more natural partial irradiation light can be obtained.
  • FIG. 90 is a cross-sectional view along LXXXIX-LXXXIX in FIG. 89.
  • the optical member 2p includes a translucent substrate 20, a plurality of first regions 21p capable of extracting light of a first chromaticity, and a region 21p capable of extracting light of a second chromaticity. and a plurality of second regions 22p.
  • the light-transmitting substrate 20 is a plate-shaped member containing a resin material such as polycarbonate, a glass material, or the like.
  • the second region 22p is composed of a paint, a pigment, a color filter, or the like formed on the +Z side surface of the translucent substrate 20 .
  • the first region 21p is a region other than the region where the second region 22p is formed in the translucent substrate 20 in plan view.
  • the second region 22p may be formed on the surface of the translucent substrate 20 on the -Z side.
  • FIG. 91 is a plan view showing a second modified example of the optical member according to the embodiment.
  • the optical member 2q includes a plurality of first regions 21q capable of extracting light of a first chromaticity, a plurality of second regions 22q capable of extracting light of a second chromaticity, and a light of a third chromaticity. and a plurality of third regions 23q.
  • the first region 21q, the second region 22q, and the third region 23q are substantially square in plan view, and one first region 21q is sandwiched between two second regions 22q in the X direction and two regions in the Y direction. It is arranged so as to be sandwiched between the third regions 23q.
  • the first region 21q is, for example, a region through which light from a plurality of light emitting units 1i is passed.
  • the second region 22q and the third region 23q include different wavelength conversion members, and convert the light from the plurality of light emitting units 1i into light of mutually different chromaticities.
  • the first chromaticity is white
  • the second chromaticity is orange
  • the third chromaticity is red.
  • a plurality of light-emitting portions 1i are provided on the -Z side of the optical member 2q.
  • the first spacing px is the spacing between the light emitting sections 1i adjacent in the X direction
  • the second spacing py is the spacing between the light emitting sections 1i adjacent in the Y direction.
  • the light emitting surface 11i of the light emitting portion 1i is preferably substantially equal to or smaller than the first region 21q, the second region 22q and the third region 23q.
  • the optical member 2q can be moved in both the X direction and the Y direction by the first moving mechanism 3. As shown in FIG.
  • state AA the plurality of light-emitting portions 1i overlap the first region 21p in plan view, and this state is referred to as state AA.
  • FIG. 92 is a plan view showing the optical member 2q in state AB.
  • State AB is a state in which the optical member 2q has moved relative to the light emitting surface 11i in the -X direction from state AA.
  • FIG. 93 is a plan view showing the optical member 2q in state AC.
  • State AC is a state in which the optical member 2q has moved relative to the light emitting surface 11i in the +Y direction from state AA.
  • the degree of freedom in relative movement of the optical member is high compared to the case where the optical member moves only in the X direction, so the degree of freedom in color toning can be increased.
  • the difference in the relative movement distance for switching chromaticity can be reduced, making it easier to perform toning.
  • Numerals such as ordinal numbers and quantities used in the description of the embodiments are all examples for specifically describing the technology of the present disclosure, and the present disclosure is not limited to the exemplified numbers.
  • connection relationship between the components is an example for specifically describing the technology of the present disclosure, and the connection relationship for realizing the function of the present disclosure is not limited to this.
  • the light source device of the present disclosure can irradiate toned light, it can be suitably used for lighting, camera flashes, in-vehicle headlights, and the like.
  • the light source device of the present disclosure is not limited to these uses.
  • a plurality of light-emitting portions each including a light-emitting surface, one or more first regions capable of extracting light of a first chromaticity, and light of a second chromaticity different from the first chromaticity an optical member that transmits or passes the light emitted by the light emitting unit, and the plurality of light emitting units such that the light emitting surface and the optical member are opposed to each other; and the optical member, a light emission control section for controlling light emission of each of the plurality of light emitting sections, and a first movement control section for controlling the operation of the first movement mechanism.
  • the light emission control unit selects the light emitting unit to emit light from among the plurality of light emitting units, and controls at least one of a driving current, a driving voltage, and a light emitting period of each of the plurality of light emitting units.
  • the light source device according to ⁇ Item 1>, wherein the amount of light emitted from each of the plurality of light emitting units is controlled by.
  • the optical member has one of the first regions and one of the second regions, and the one of the first regions and the one of the second regions are arranged so as to face the light emitting surface.
  • the first movement control unit controls, within the predetermined period, a state in which the plurality of light emitting units are included in one of the first areas in a plan view, and a state in which the plurality of light emitting units are included in one of the first regions.
  • the light source device according to ⁇ Claim 1> or ⁇ Claim 2>, wherein the light source device is controlled so as to be included in two regions in plan view.
  • the optical member has a plurality of the first regions and a plurality of the second regions, and the plurality of the first regions and the plurality of the second regions are the plurality of the light emitting surfaces. are alternately arranged along a first direction so as to face each other, the plurality of light emitting units are arranged along at least the first direction, and the first movement control unit, within the predetermined period, A state in which predetermined light emitting portions of the plurality of light emitting portions are included in the plurality of first regions in plan view, and a state in which the predetermined light emitting portions are included in the plurality of second regions in plan view. 3.
  • the light source device according to any one of ⁇ Item 1> to ⁇ Item 3>, wherein the light source device is controlled so as to be in a state in which the light source device is in a state where the light source device is in a state where the light source device is placed.
  • ⁇ Claim 5> In ⁇ Claim 4>, the plurality of light emitting units are arranged along the first direction while having a first space between the light emitting units adjacent to each other along the first direction. It is the described light source device.
  • ⁇ Claim 6> The light source device according to ⁇ Claim 5>, wherein the first spacing is substantially equal to the width of either the first region or the second region along the first direction.
  • ⁇ Claim 7> The width of the light emitting surface along the first direction is greater than the width of either the first region or the second region along the first direction.
  • ⁇ Item 8> A lens for irradiating the light that has passed through or passed through the optical member is further provided, and the first moving mechanism includes the plurality of light emitting units and the optical member such that the light emitting surface and the optical member face each other.
  • the light source device according to any one of ⁇ Item 1> to ⁇ Item 7>, wherein the optical member is moved relative to the lens.
  • the optical member has a plurality of the first regions and a plurality of the second regions, and the plurality of the first regions and the plurality of the second regions face the light emitting surface. , the first regions and the second regions are alternately arranged along the first direction, and the plurality of the light emitting surfaces and the lenses are arranged along the first direction so as to face each other.
  • a second moving mechanism for relatively moving the light emitting unit and the lens is further provided, the control unit further includes a second movement control unit for controlling the operation of the second moving mechanism, and the plurality of light emitting units are , the light emitting surfaces adjacent to each other along the first direction are arranged along the first direction with a first space therebetween, and the second movement control unit controls, within the predetermined period, the The plurality of light emitting units and the lens are controlled to move relative to each other along a first direction, and the distance by which the plurality of light emitting units and the lens relatively move along the first direction is the first direction.
  • the light source device wherein the distance is equal to or greater than either the interval or the width of the light emitting surface along the first direction, whichever is shorter.
  • the optical member has a plurality of the first regions and a plurality of the second regions, and the plurality of the first regions and the plurality of the second regions face the light emitting surface. are arranged alternately along a first direction and a second direction that intersects with the first direction, and the plurality of light emitting units are arranged along each of the first direction and the second direction.
  • the first movement control unit controls, within the predetermined period, a state in which a predetermined light emitting unit among the plurality of light emitting units is included in the plurality of first regions in a plan view;
  • the light source device according to any one of ⁇ Item 1> to ⁇ Item 3>, wherein the light source device is controlled so that the portion is included in the plurality of second regions in plan view.
  • the plurality of light emitting units are arranged along the first direction with a first space between the light emitting units adjacent to each other along the first direction, and are arranged in the second direction. 11.
  • the light source device according to ⁇ Item 10>, wherein the light emitting units are arranged along the second direction while having a second space between the light emitting units adjacent to each other.
  • ⁇ Item 12> The first distance is substantially equal to the width of either the first region or the second region along the first direction, and the second distance is the width along the second direction. 12.
  • the light source device according to ⁇ Item 11>, wherein the width of either the first area or the second area is substantially the same.
  • the optical member further includes one or more third regions capable of extracting light of a third chromaticity, and the width of the light emitting surface along the first direction is and the width of the light emitting surface along the second direction is greater than the width of either the first region or the second region, and the width of the light emitting surface along the second direction is the first region or the third region along the second direction.
  • the light source device according to ⁇ Item 10> or ⁇ Item 11>, wherein the width is greater than the width of either one of ⁇ Item 10> and ⁇ Item 11>.
  • a lens for irradiating the light that has passed through or passed through the optical member is further provided, and the first moving mechanism includes the plurality of light emitting units and the optical member such that the light emitting surface and the optical member face each other.
  • the light source device according to any one of ⁇ Item 10> to ⁇ Item 13>, wherein the optical member is moved relative to the lens.
  • the apparatus further includes a second moving mechanism that relatively moves the plurality of light emitting units and the lens along the first direction and the second direction so that the light emitting surface and the lens face each other.
  • control unit further includes a second movement control unit that controls the operation of the second movement mechanism, and the plurality of light emitting units are arranged between the light emitting surfaces adjacent to each other along the first direction. They are arranged along the first direction with one interval, and are arranged along the second direction with a second interval between the light emitting units adjacent to each other along the second direction.
  • the second movement control section performs control to relatively move the plurality of light emitting sections and the lens along each of the first direction and the second direction within the predetermined period; The distance by which the plurality of light emitting units and the lens move relative to each other in one direction is equal to or greater than the first distance or the width of the light emitting surface in the first direction, whichever is shorter.
  • the light source device is a flash light source used in an imaging device, and the predetermined period is equal to either one of an imaging cycle or an exposure period of the imaging device. > is the light source device according to any one of the above.

Landscapes

  • Physics & Mathematics (AREA)
  • Engineering & Computer Science (AREA)
  • General Engineering & Computer Science (AREA)
  • General Physics & Mathematics (AREA)
  • Spectroscopy & Molecular Physics (AREA)
  • Multimedia (AREA)
  • Signal Processing (AREA)
  • Led Device Packages (AREA)
  • Non-Portable Lighting Devices Or Systems Thereof (AREA)
PCT/JP2022/042760 2021-12-14 2022-11-17 光源装置 Ceased WO2023112593A1 (ja)

Priority Applications (3)

Application Number Priority Date Filing Date Title
CN202280082367.5A CN118401778A (zh) 2021-12-14 2022-11-17 光源装置
JP2023567634A JPWO2023112593A1 (enExample) 2021-12-14 2022-11-17
US18/740,900 US12352409B2 (en) 2021-12-14 2024-06-12 Light source device

Applications Claiming Priority (4)

Application Number Priority Date Filing Date Title
JP2021202741 2021-12-14
JP2021-202741 2021-12-14
JP2022097577 2022-06-16
JP2022-097577 2022-06-16

Related Child Applications (1)

Application Number Title Priority Date Filing Date
US18/740,900 Continuation US12352409B2 (en) 2021-12-14 2024-06-12 Light source device

Publications (1)

Publication Number Publication Date
WO2023112593A1 true WO2023112593A1 (ja) 2023-06-22

Family

ID=86774067

Family Applications (1)

Application Number Title Priority Date Filing Date
PCT/JP2022/042760 Ceased WO2023112593A1 (ja) 2021-12-14 2022-11-17 光源装置

Country Status (3)

Country Link
US (1) US12352409B2 (enExample)
JP (1) JPWO2023112593A1 (enExample)
WO (1) WO2023112593A1 (enExample)

Citations (4)

* Cited by examiner, † Cited by third party
Publication number Priority date Publication date Assignee Title
JP2011249316A (ja) * 2010-03-30 2011-12-08 Mitsubishi Chemicals Corp 発光装置
JP2012009155A (ja) * 2010-06-22 2012-01-12 Asahi Rubber Inc 波長変換カバー、波長変換カバーを用いた照明装置、及び波長変換カバーを用いた照明装置の照明色変換方法
JP2012178319A (ja) * 2011-02-28 2012-09-13 Jvc Kenwood Corp 照明装置および表示装置
JP2016510159A (ja) * 2013-08-02 2016-04-04 コーニンクレッカ フィリップス エヌ ヴェKoninklijke Philips N.V. 演色評価数を調整可能なランプ及び照明器具

Family Cites Families (13)

* Cited by examiner, † Cited by third party
Publication number Priority date Publication date Assignee Title
JP3367498B2 (ja) 1992-08-28 2003-01-14 ペンタックス株式会社 スチルビデオカメラ及びストロボ装置
US5485201A (en) 1992-08-28 1996-01-16 Asahi Kogaku Kogyo Kabushiki Kaisha Fill-in light emitting apparatus and still video camera
JP3989302B2 (ja) 2002-05-24 2007-10-10 オリンパス株式会社 照明装置及びプロジェクタ装置
JP4539901B2 (ja) 2002-08-05 2010-09-08 富士フイルム株式会社 面順次発光ストロボ付きデジタルカメラ
JP2008186777A (ja) 2007-01-31 2008-08-14 Seiko Instruments Inc 照明装置及びこれを備える表示装置
JP2009131616A (ja) 2007-11-07 2009-06-18 Fujifilm Corp 撮像システム、撮像方法、およびプログラム
US7667180B2 (en) 2007-11-07 2010-02-23 Fujifilm Corporation Image capturing system, image capturing method, and recording medium
EP2057935B1 (en) 2007-11-09 2016-01-06 FUJIFILM Corporation Image capturing system, image capturing method, and program
JP5349899B2 (ja) 2007-11-09 2013-11-20 富士フイルム株式会社 撮像システムおよびプログラム
KR101429704B1 (ko) * 2008-01-31 2014-08-12 삼성디스플레이 주식회사 파장변환 부재, 이를 포함하는 광원 어셈블리 및 액정 표시장치
US10012361B2 (en) * 2010-11-15 2018-07-03 Adl, Inc. Multi-spectral variable focus illuminator
RU2631554C2 (ru) 2012-03-09 2017-09-25 Филипс Лайтинг Холдинг Б.В. Светоизлучающее устройство с регулируемым цветом
JP2017199454A (ja) 2014-08-06 2017-11-02 株式会社キャラベル 発光ダイオードを利用した照明装置

Patent Citations (4)

* Cited by examiner, † Cited by third party
Publication number Priority date Publication date Assignee Title
JP2011249316A (ja) * 2010-03-30 2011-12-08 Mitsubishi Chemicals Corp 発光装置
JP2012009155A (ja) * 2010-06-22 2012-01-12 Asahi Rubber Inc 波長変換カバー、波長変換カバーを用いた照明装置、及び波長変換カバーを用いた照明装置の照明色変換方法
JP2012178319A (ja) * 2011-02-28 2012-09-13 Jvc Kenwood Corp 照明装置および表示装置
JP2016510159A (ja) * 2013-08-02 2016-04-04 コーニンクレッカ フィリップス エヌ ヴェKoninklijke Philips N.V. 演色評価数を調整可能なランプ及び照明器具

Also Published As

Publication number Publication date
US20240328600A1 (en) 2024-10-03
JPWO2023112593A1 (enExample) 2023-06-22
US12352409B2 (en) 2025-07-08

Similar Documents

Publication Publication Date Title
KR102139291B1 (ko) 발광장치
JP6367526B2 (ja) 複数の方向に出光可能な発光ダイオードチップを形成するためのサファイア基板、発光ダイオードチップ、及び発光装置
JP6002362B2 (ja) 発光素子及びそれを用いたライトユニット
CN1913151B (zh) 用于闪光和自动聚焦应用的发光二极管模块
US20050116635A1 (en) Multiple LED source and method for assembling same
EP1729350A2 (en) Light emitting diode package
CN108242442A (zh) 发光装置
JP2011129916A (ja) 発光素子及びそれを用いたライトユニット
JP2017011259A (ja) 発光装置
WO2015019537A1 (ja) 照明装置、車両およびその制御方法
KR101655463B1 (ko) 발광소자 패키지 및 이를 구비한 라이트 유닛
CN115247758A (zh) 发光装置
WO2023112593A1 (ja) 光源装置
US20250123538A1 (en) Light emitting module
US20250151485A1 (en) Light-emitting module
US12410904B2 (en) Light emitting module
CN119894202A (zh) 发光模块以及智能电话
CN118401778A (zh) 光源装置
JP2024050405A (ja) 発光モジュール
JP7670980B2 (ja) 発光モジュール
WO2024053465A1 (ja) 発光モジュール
US20250180188A1 (en) Light-emitting module
US20240339573A1 (en) Light-emitting device
US12130541B2 (en) Flash LED modules
JP2025072296A (ja) 発光モジュール、およびスマートフォン

Legal Events

Date Code Title Description
121 Ep: the epo has been informed by wipo that ep was designated in this application

Ref document number: 22907124

Country of ref document: EP

Kind code of ref document: A1

WWE Wipo information: entry into national phase

Ref document number: 202280082367.5

Country of ref document: CN

Ref document number: 2023567634

Country of ref document: JP

WWE Wipo information: entry into national phase

Ref document number: 202447050236

Country of ref document: IN

NENP Non-entry into the national phase

Ref country code: DE

122 Ep: pct application non-entry in european phase

Ref document number: 22907124

Country of ref document: EP

Kind code of ref document: A1