WO2021256309A1 - アンテナ装置 - Google Patents

アンテナ装置 Download PDF

Info

Publication number
WO2021256309A1
WO2021256309A1 PCT/JP2021/021496 JP2021021496W WO2021256309A1 WO 2021256309 A1 WO2021256309 A1 WO 2021256309A1 JP 2021021496 W JP2021021496 W JP 2021021496W WO 2021256309 A1 WO2021256309 A1 WO 2021256309A1
Authority
WO
WIPO (PCT)
Prior art keywords
plate
short
conductor plate
main plate
antenna device
Prior art date
Legal status (The legal status is an assumption and is not a legal conclusion. Google has not performed a legal analysis and makes no representation as to the accuracy of the status listed.)
Ceased
Application number
PCT/JP2021/021496
Other languages
English (en)
French (fr)
Japanese (ja)
Inventor
祐次 角谷
正和 池田
健一郎 三治
智和 宮下
亮三 藤井
賢志 浦辺
博道 内藤
Current Assignee (The listed assignees may be inaccurate. Google has not performed a legal analysis and makes no representation or warranty as to the accuracy of the list.)
Denso Corp
Original Assignee
Denso Corp
Priority date (The priority date is an assumption and is not a legal conclusion. Google has not performed a legal analysis and makes no representation as to the accuracy of the date listed.)
Filing date
Publication date
Application filed by Denso Corp filed Critical Denso Corp
Priority to CN202180043063.3A priority Critical patent/CN115769438A/zh
Publication of WO2021256309A1 publication Critical patent/WO2021256309A1/ja
Priority to US17/972,133 priority patent/US12183973B2/en
Anticipated expiration legal-status Critical
Ceased legal-status Critical Current

Links

Images

Classifications

    • HELECTRICITY
    • H01ELECTRIC ELEMENTS
    • H01QANTENNAS, i.e. RADIO AERIALS
    • H01Q13/00Waveguide horns or mouths; Slot antennas; Leaky-waveguide antennas; Equivalent structures causing radiation along the transmission path of a guided wave
    • H01Q13/08Radiating ends of two-conductor microwave transmission lines, e.g. of coaxial lines, of microstrip lines
    • HELECTRICITY
    • H01ELECTRIC ELEMENTS
    • H01QANTENNAS, i.e. RADIO AERIALS
    • H01Q9/00Electrically-short antennas having dimensions not more than twice the operating wavelength and consisting of conductive active radiating elements
    • H01Q9/04Resonant antennas
    • H01Q9/0407Substantially flat resonant element parallel to ground plane, e.g. patch antenna
    • H01Q9/0421Substantially flat resonant element parallel to ground plane, e.g. patch antenna with a shorting wall or a shorting pin at one end of the element
    • HELECTRICITY
    • H01ELECTRIC ELEMENTS
    • H01QANTENNAS, i.e. RADIO AERIALS
    • H01Q1/00Details of, or arrangements associated with, antennas
    • H01Q1/50Structural association of antennas with earthing switches, lead-in devices or lightning protectors
    • HELECTRICITY
    • H01ELECTRIC ELEMENTS
    • H01QANTENNAS, i.e. RADIO AERIALS
    • H01Q5/00Arrangements for simultaneous operation of antennas on two or more different wavebands, e.g. dual-band or multi-band arrangements
    • H01Q5/30Arrangements for providing operation on different wavebands
    • H01Q5/307Individual or coupled radiating elements, each element being fed in an unspecified way
    • H01Q5/314Individual or coupled radiating elements, each element being fed in an unspecified way using frequency dependent circuits or components, e.g. trap circuits or capacitors
    • H01Q5/328Individual or coupled radiating elements, each element being fed in an unspecified way using frequency dependent circuits or components, e.g. trap circuits or capacitors between a radiating element and ground

Definitions

  • the antenna device in particular, regarding the technology for adjusting the polarization characteristics of the two types of polarized waves while reducing the height.
  • Patent Document 1 discloses an antenna that transmits and receives two radio waves having different planes of polarization.
  • a microstrip antenna forms a directivity in the zenith direction
  • a monopole antenna for linearly polarized light forms a directivity in the horizontal direction.
  • an antenna device using 0th-order resonance a flat plate-shaped main plate that is connected to the outer conductor of the feeding cable and functions as a ground, and a feeding point are provided so as to face the main plate and at an arbitrary position.
  • an antenna device including a flat plate-shaped conductor plate and a short-circuit portion for electrically connecting the main plate and the conductor plate for example, Patent Document 2.
  • the polarization ratio is an example of polarization characteristics.
  • the polarization characteristics include the relative orientation of the plane of polarization.
  • the antenna disclosed in Patent Document 1 includes a monopole antenna as an antenna for linearly polarized waves. Since the linearly polarized wave antenna needs to have a length of about 1/4 wavelength, it is difficult to reduce the height.
  • the antenna device disclosed in Patent Document 2 is a low profile antenna device. However, with the configuration as it is disclosed in Patent Document 2, it is only possible to radiate vertically polarized waves in the plane direction parallel to the conductor plate and the main plate, and it is not possible to radiate two radio waves having different planes of polarization. Therefore, as a matter of course, the antenna device disclosed in Patent Document 2 cannot adjust the polarization characteristics of two radio waves having different planes of polarization as it is.
  • the present disclosure has been made based on this circumstance, and an object thereof is to provide an antenna device capable of adjusting the polarization characteristics of two radio waves having different planes of polarization while reducing the height. To do.
  • the main plate which is a flat conductor member, A flat plate-shaped conductor member installed at a predetermined distance from the main plate, and an opposed conductor plate that is electrically connected to the feeder line. It is equipped with a plurality of short-circuit pins for electrically connecting the facing conductor plate and the main plate.
  • the plurality of short-circuit pins extend to the conductor plate plane, one end of which is a plane including the opposing conductor plate, and the other end to the main plate plane, which is a plane including the main plate.
  • One or more of the plurality of short-circuit pins is an antenna device that connects the facing conductor plate and the main plate.
  • the antenna that connects the main plate and the opposing conductor plate with a short-circuit pin and supplies power to the opposing conductor plate emits radio waves whose plane of polarization is perpendicular to the main plate and the opposing conductor plate. It is a low-profile 0th-order resonant antenna that can be used.
  • the connection position of the short-circuit pin with respect to the opposing conductor plate changes, the radiation characteristics in the direction perpendicular to the opposing conductor plate change.
  • This antenna device has a plurality of short-circuit pins. Naturally, the positions of the plurality of short-circuit pins are different from each other with respect to the facing conductor plate. Therefore, the short-circuit pin that actually connects the opposing conductor plate and the main plate is selected from the plurality of short-circuit pins, and the opposed conductor plate and the main plate are actually connected by one or more of the plurality of short-circuit pins. By doing so, the radiation characteristics in the direction perpendicular to the facing conductor plate can be adjusted.
  • FIG. 2 is a sectional view taken along line IV-IV of FIG.
  • FIG. 1 is a perspective view showing the configuration of the antenna device 10 of the present embodiment.
  • FIG. 2 is a plan view of the antenna device 10.
  • the antenna device 10 includes a main plate 11, a support plate 12, a counter conductor plate 13, and a plurality of short-circuit pins 14.
  • the main plate 11 is a plate-shaped conductor member made of a conductor such as copper.
  • the main plate 11 is provided along the lower side surface of the support plate 12.
  • the plate shape here also includes a thin film shape such as a metal foil. That is, the main plate 11 may be a pattern formed on the surface of a resin plate such as a printed wiring board by electroplating or the like.
  • the main plate 11 is electrically connected to the outer conductor of the coaxial cable to provide a ground potential (in other words, a ground potential).
  • the connection means an electrical connection.
  • the main plate 11 is formed in a rectangular shape in a plan view. However, the shape of the main plate 11 is not limited to a rectangle.
  • the main plate 11 preferably has a line-symmetrical shape (hereinafter referred to as a two-way line-symmetrical shape) with each of the two straight lines orthogonal to each other as the axis of symmetry.
  • the two-way axisymmetric shape refers to a figure that is axisymmetric with a certain straight line as the axis of symmetry and is also axisymmetric with respect to other straight lines orthogonal to the straight line.
  • the bidirectional axisymmetric shape includes, for example, an oval shape, a rectangle, a circle, a square, a regular hexagon, a regular octagon, a rhombus, and the like.
  • the main plate 11 is preferably formed to have a diameter larger than a circle having one wavelength.
  • the X-axis shown in FIG. 1 and the like represents the longitudinal direction of the main plate 11, the Y-axis represents the lateral direction of the main plate 11, and the Z-axis is an axis perpendicular to the XY plane.
  • An example of the installation posture of the antenna device 10 is a posture in which the Z axis is in the vertical direction on the roof of the vehicle. Further, the antenna device 10 may be installed on the side surface of the vehicle so that the XY plane is along the side surface of the vehicle.
  • the support plate 12 is a rectangular flat plate member.
  • the support plate 12 plays a role of arranging the main plate 11 and the opposing conductor plate 13 facing each other at a predetermined distance.
  • the support plate 12 is formed to have substantially the same size as the main plate 11 in a plan view.
  • the support plate 12 is realized by using a dielectric having a predetermined relative permittivity.
  • a dielectric having a predetermined relative permittivity for example, a printed circuit board using a glass epoxy resin or the like as a base material can be used.
  • the support plate 12 is realized by using a glass epoxy resin having a relative permittivity of 4.3.
  • the thickness of the support plate 12 By adjusting the thickness of the support plate 12, the distance between the opposing conductor plate 13 and the main plate 11 can be adjusted, and at the same time, the length of the short-circuit pin 14 can be adjusted.
  • the frequency of the radio wave transmitted and received by the antenna device 10 changes, as will be described later.
  • the specific value of the thickness of the support plate 12 may be appropriately determined by simulation or test so that the frequency of the radio wave transmitted and received by the antenna device 10 becomes a desired frequency.
  • the thickness of the support plate 12 is, for example, about 1 to 3 mm. This thickness is much shorter than 1/10 of the wavelength of the radio wave transmitted and received by the antenna device 10.
  • a configuration in which a resin as a support plate 12 is filled between the main plate 11 and the opposing conductor plate 13 is adopted, but the present invention is not limited to this.
  • the space between the main plate 11 and the opposing conductor plate 13 may be hollow or vacuum. Further, the resin and the space may be combined.
  • the facing conductor plate 13 is a plate-shaped conductor member made of a conductor such as copper. As described above, the plate shape here also includes a thin film shape such as copper foil.
  • the facing conductor plate 13 is arranged so as to face the main plate 11 via the support plate 12. Similar to the main plate 11, the opposed conductor plate 13 may also have a pattern formed on the surface of a resin plate such as a printed wiring board.
  • the parallelism here is not limited to perfect parallelism. It may be tilted from several degrees to ten degrees. That is, it may include a state of being substantially parallel (so-called substantially parallel state).
  • the opposed conductor plate 13 is formed to have a size that forms a capacitance that resonates in parallel at a predetermined target frequency with the inductance provided by the short-circuit pin 14.
  • the target frequency refers to the frequency to be transmitted / received.
  • the area of the opposing conductor plate 13 may be appropriately designed to provide the desired capacitance (and thus to operate at the target frequency).
  • the opposed conductor plate 13 is electrically formed in a square shape having a side of 12 mm. Considering the wavelength shortening effect of the support plate 12, the length of one side of the opposed conductor plate 13 of 12 mm electrically corresponds to 0.2 ⁇ . Of course, the length of one side of the opposed conductor plate 13 can be changed as appropriate.
  • the shape of the opposing conductor plate 13 is square here as an example, the planar shape of the opposing conductor plate 13 may be circular, regular octagon, regular hexagon, or the like as another configuration. Further, the opposed conductor plate 13 may have a rectangular shape, an oblong shape, or the like. The opposed conductor plate 13 preferably has a bidirectional axisymmetric shape. Further, the opposed conductor plate 13 is more preferably a point-symmetrical figure such as a circle, a square, a rectangle, or a parallelogram.
  • the facing conductor plate 13 may be provided with a slit or may have rounded corners.
  • the edge portion of the opposed conductor plate 13 may be partially or wholly formed in a meander shape.
  • the bidirectionally symmetric shape also includes a shape having minute irregularities (about several mm) on the edge thereof. The unevenness provided on the edge of the opposed conductor plate 13 to the extent that it does not affect the operation can be ignored and handled.
  • the technical idea for the planar shape of the opposed conductor plate 13 is the same for the above-mentioned main plate 11.
  • a feeder line 15 is connected to the facing conductor plate 13.
  • the position where the feeder line 15 is connected to the opposed conductor plate 13 is on a line that passes through the center of the opposed conductor plate 13 and divides the opposed conductor plate 13 in half.
  • the straight lines Lx and Ly are lines that pass through the center of the opposed conductor plate 13 and divide the opposed conductor plate 13 in half. The intersection of these two straight lines Lx and Ly is the center of the opposed conductor plate 13.
  • the position where the feeder line 15 is connected to the opposed conductor plate 13 may be provided at a position where the input / output impedance with respect to the opposed conductor plate 13 matches.
  • the position where the feeder line 15 is connected to the opposed conductor plate 13 is, for example, the edge portion or the central region of the opposed conductor plate 13.
  • the electromagnetic coupling method is a feeding method using an electromagnetic coupling between a microstrip line for feeding and an opposed conductor plate 13.
  • the facing conductor plate 13 is arranged to face the main plate 11 in a posture in which one set of opposite sides is parallel to the X axis and the other set of opposite sides are parallel to the Y axis. Further, in the present embodiment, the opposed conductor plate 13 is arranged so that the center of the main plate 11 and the center of the opposed conductor plate 13 overlap each other in a plan view.
  • the short-circuit pin 14 is a conductive member that connects the main plate 11 and the facing conductor plate 13.
  • the short-circuit pin 14 is realized by using a via provided on the printed circuit board as the support plate 12, for example.
  • the short-circuit pin 14 may be realized by using a conductive pin.
  • the antenna device 10 includes three short-circuit pins 14A, 14B, and 14C.
  • the short-circuit pin 14A is arranged at the center of the opposed conductor plate 13.
  • the other two short-circuit pins 14B and 14C are separated from the feeder line 15 on a straight line Lx that divides the opposed conductor plate 13 into two equal parts, passing through the center of the opposed conductor plate 13 and the point where the feeder line 15 is connected. It is located in the direction.
  • the main plate 11 has a slit 16 at a portion where the short-circuit pin 14 is located. It is formed. Therefore, the short-circuit pin 14 and the main plate 11 are not directly connected to each other.
  • the slit 16 has a rectangular shape as shown in FIG.
  • the short-circuit pins 14A, 14B, and 14C vertically penetrate the support plate 12, and one end thereof is in contact with the opposing conductor plate 13.
  • the surface on the support plate 12 side is defined as the conductor plate plane 17.
  • One end of the short-circuit pins 14A, 14B, and 14C extends to the conductor plate plane 17.
  • the other end of the short circuit pins 14A, 14B, 14C protrudes from the support plate 12.
  • the surface of the main plate 11 on the support plate 12 side is defined as the main plate plane 18.
  • the ends of the short-circuit pins 14A, 14B, and 14C on the main plate 11 side exceed the main plate plane 18 and are at the same position as the exposed surface of the main plate 11.
  • the end of the short-circuit pin 14C on the main plate 11 side and the main plate 11 are connected by a conductive tape 19. Therefore, the short-circuit pin 14C conducts the main plate 11 and the facing conductor plate 13. However, since the other short-circuit pins 14A and 14B are not connected to the main plate 11, these short-circuit pins 14A and 14B do not connect the main plate 11 and the facing conductor plate 13.
  • the vertical polarization of the main plate refers to a radio wave in which the vibration direction of the electric field is perpendicular to the main plate 11 and the opposing conductor plate 13.
  • the vertical polarization of the main plate refers to the polarization perpendicular to the ground (that is, the normal vertical polarization).
  • the propagation direction of the vertical electric field when the short-circuit pin 14A is connected to the main plate 11 will be described.
  • the radiation characteristic in the direction parallel to the main plate is omnidirectional (in other words, omnidirectional). That is, the main beam of the antenna device 10 is formed in all directions (that is, parallel to the main plate) from the central region of the opposed conductor plate 13 toward the edge portion.
  • the short-circuit pin 14A is arranged at the center of the opposite conductor plate 13, the current flowing through the opposite conductor plate 13 is symmetrical with respect to the short-circuit pin 14. Therefore, in the opposed conductor plate 13, the radio wave in the antenna height direction generated by the current flowing in a certain direction from the center of the conductor plate is canceled by the radio wave generated by the current flowing in the opposite direction.
  • the antenna device 10 does not radiate radio waves in the direction perpendicular to the main plate 11 (hereinafter, the vertical direction of the main plate).
  • the vertical direction of the main plate corresponds to the positive direction of the Z axis in FIG. 5 and the like.
  • FIG. 6 shows the current flowing through the opposed conductor plate 13 when the short-circuit pin 14C is connected to the main plate 11.
  • the short-circuit pin 14C is short-circuited with the opposed conductor plate 13 at a position deviated from the center of the opposed conductor plate 13. Therefore, as shown in FIG. 6A, the symmetry of the current distribution flowing through the opposed conductor plate 13 is broken.
  • the radio waves radiated by the current component in the X-axis direction remain uncancelled. That is, since the short-circuit pin 14C is arranged at a position deviated from the center of the opposed conductor plate 13 in the X-axis direction, linearly polarized light whose electric field vibration direction is parallel to the X-axis (hereinafter referred to as X-axis parallel polarized light) is generated. , Is radiated upward from the opposing conductor plate 13. Since the current component in the Y-axis direction maintains symmetry, the linearly polarized waves in which the electric field oscillates in the Y-axis direction cancel each other out. Therefore, the Y-axis parallel polarization radiated from the opposing conductor plate 13 is at a negligible level.
  • each short-circuit pin 14 is connected to the main plate 11 or where each short-circuit pin 14A, 14B, 14C is arranged may be appropriately designed based on the simulation.
  • the positions of the plurality of short-circuit pins 14 are determined so that the required radiation gain of linearly polarized waves in the vertical direction of the main plate can be obtained. Then, when the antenna device 10 is actually used, the main plate 11 and the opposing conductor plate 13 are provided from the plurality of short-circuit pins 14 so that the radiation gain of linearly polarized light in the vertical direction of the main plate becomes a desired radiation gain. Select the short-circuit pin 14 that short-circuits with.
  • the short-circuit pin 14 is located farther from the center of the opposed conductor plate 13, so that the cross-sectional area of the surface perpendicular to the axial direction increases.
  • the reason for this is as follows.
  • the antenna device 10 radiates an electric field generated by parallel resonance into space.
  • the inductance in this parallel resonance is a combination of the inductance of the short-circuit pin 14 and the inductance when a current flows through the opposite conductor plate 13 when the short-circuit pin 14 is located at a position deviated from the center of the opposite conductor plate 13.
  • the cross-sectional area of the short-circuit pin 14 is increased as the distance from the center of the opposed conductor plate 13 increases.
  • the antenna device 10 performs LC parallel resonance at a resonance frequency determined by the inductance provided by the short-circuit pin 14 and the like and the capacitance between the opposite conductor plate 13 and the main plate 11. It emits vertically polarized waves.
  • the thickness between the main plate 11 and the opposed conductor plate 13 is the thickness of the antenna device 10, which is much shorter than 1/10 of the wavelength of the radio wave transmitted and received by the antenna device 10. Therefore, the antenna device 10 can be made low in height.
  • the antenna device 10 includes three short-circuit pins 14A, 14B, and 14C having different distances from the center of the opposed conductor plate 13.
  • the three short-circuiting pins 14 do not connect the main plate 11 and the opposing conductor plate 13 as they are, and the short-circuiting pins 14 connecting the main plate 11 and the opposing conductor plate 13 can be selected by the conductive tape 19.
  • the position where the opposing conductor plate 13 is short-circuited with the main plate 11 can be changed.
  • the radiation gain of linearly polarized light in the vertical direction of the main plate can be adjusted, it is possible to adjust the polarization ratios of two cross-polarized light, that is, the vertical polarization of the main plate in the parallel direction of the main plate and the linearly polarized light in the vertical direction of the main plate.
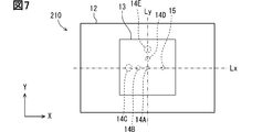
  • the antenna device 210 shown in FIG. 7 includes two short-circuit pins 14D and 14E in addition to the three short-circuit pins 14A, 14B and 14C included in the antenna device 10 of the first embodiment.
  • the surface of the antenna device 210 on the main plate 11 side is not shown, slits 16 are also formed around the short-circuit pins 14D and 14E. Therefore, the short-circuit pins 14D and 14E are also not directly connected to the main plate 11.
  • the short-circuit pins 14D and 14E have the same distance and cross-sectional area from the center of the facing conductor plate 13 as the short-circuit pins 14B and 14C, respectively.
  • the antenna device 210 can adjust the polarization ratio between the vertical polarization of the main plate in the parallel direction of the main plate and the linearly polarized light in the vertical direction of the main plate. In addition, it is possible to select whether the plane of polarization of linearly polarized light in the vertical direction of the main plate is a plane parallel to the X-axis or a plane parallel to the Y-axis.
  • the position where the short-circuit pin 14 is connected to the opposed conductor plate 13 is not limited to the straight lines Lx and Ly that bisect the opposed conductor plate 13.
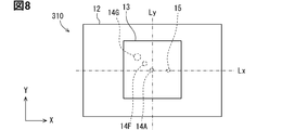
  • the antenna device 310 shown in FIG. 8 includes two short-circuit pins 14F and 14G in addition to the short-circuit pin 14A included in the antenna device 10 of the first embodiment. These two short-circuit pins 14F and 14G are connected to the opposing conductor plate 13 on a straight line at equidistant distances from the straight line Lx and the straight line Ly.
  • the short-circuit pin 14 and the main plate 11 are selectively connected by the conductive tape 19.
  • the member connecting the short-circuit pin 14 and the main plate 11 is not limited to the conductive tape 19.
  • the switch 20 connects the end of each short-circuit pin 14 on the main plate 11 side to the main plate 11. By doing so, by selecting the switch 20 to be turned on, the short-circuit pin 14 for connecting the main plate 11 and the opposed conductor plate 13 can be selected.
  • the short-circuit pin 14 can be connected to the main plate 11 by various methods (for example, solder).
  • ⁇ Modification 1> In the embodiments described so far, a plurality of short-circuiting pins 14 having different distances from the center of the opposed conductor plate 13 are provided. However, only a plurality of short-circuit pins 14 having different directions from the center of the opposed conductor plate 13 toward the end of the short-circuit pin 14 on the opposite conductor plate 13 side but having the same distance from the center of the opposed conductor plate 13 are provided. May be.
  • the antenna device 210 of FIG. 7 may include only the short-circuit pin 14C and the short-circuit pin 14E, or may include only the short-circuit pin 14B and the short-circuit pin 14D.
  • the number of short-circuit pins 14 is two.
  • the number of the short-circuit pins 14 may be a plurality, and the number is not limited to two or three, and may be four or more.
  • the polarization plane of linearly polarized waves in the vertical direction of the main plate is selected depending on which of the short-circuiting pins 14 connecting the main plate 11 and the opposite conductor plate 13 is provided.
  • the orientation can be adjusted.
  • the orientation of the plane of polarization is also one of the polarization characteristics.
  • the slit 16 is one and its shape is rectangular.
  • the slit may be divided into a plurality of parts, and the shape of the slit is not limited to a rectangle.
  • the slit 16 may be provided for each short-circuit pin 14. Further, the shape of the slit may be circular.
  • each short-circuit pin 14 is not directly connected to the main plate 11 at the end on the main plate 11 side, but is connected to the opposite conductor plate 13 at the end on the opposite conductor plate 13 side.
  • the end of each short-circuit pin 14 on the main plate 11 side is connected to the main plate 11, and the end on the opposite conductor plate 13 side and the opposite conductor plate 13 are selectively connected. You may.
  • any one of the short-circuit pins 14 is connected to the main plate 11.
  • two or more short circuit pins 14 may be connected to the main plate 11 at the same time.
  • the short-circuit pin 14 may be connected to the opposed conductor plate 13 at a position closer to the feeder line 15 than the center of the opposed conductor plate 13.

Landscapes

  • Waveguide Aerials (AREA)
PCT/JP2021/021496 2020-06-17 2021-06-07 アンテナ装置 Ceased WO2021256309A1 (ja)

Priority Applications (2)

Application Number Priority Date Filing Date Title
CN202180043063.3A CN115769438A (zh) 2020-06-17 2021-06-07 天线装置
US17/972,133 US12183973B2 (en) 2020-06-17 2022-10-24 Antenna device

Applications Claiming Priority (2)

Application Number Priority Date Filing Date Title
JP2020104775A JP7294248B2 (ja) 2020-06-17 2020-06-17 アンテナ装置
JP2020-104775 2020-06-17

Related Child Applications (1)

Application Number Title Priority Date Filing Date
US17/972,133 Continuation US12183973B2 (en) 2020-06-17 2022-10-24 Antenna device

Publications (1)

Publication Number Publication Date
WO2021256309A1 true WO2021256309A1 (ja) 2021-12-23

Family

ID=79196090

Family Applications (1)

Application Number Title Priority Date Filing Date
PCT/JP2021/021496 Ceased WO2021256309A1 (ja) 2020-06-17 2021-06-07 アンテナ装置

Country Status (4)

Country Link
US (1) US12183973B2 (enExample)
JP (1) JP7294248B2 (enExample)
CN (1) CN115769438A (enExample)
WO (1) WO2021256309A1 (enExample)

Families Citing this family (3)

* Cited by examiner, † Cited by third party
Publication number Priority date Publication date Assignee Title
TW202406221A (zh) * 2022-04-19 2024-02-01 美商元平台技術有限公司 用於增強型跨身體鏈路的分佈式單極天線
US12021319B2 (en) * 2022-04-19 2024-06-25 Meta Platforms Technologies, Llc Distributed monopole antenna for enhanced cross-body link
JP2024104178A (ja) * 2023-01-23 2024-08-02 株式会社Soken アンテナ装置

Citations (3)

* Cited by examiner, † Cited by third party
Publication number Priority date Publication date Assignee Title
JP2005039756A (ja) * 2003-06-27 2005-02-10 Hitachi Kokusai Electric Inc アンテナ装置
US20100194663A1 (en) * 2007-10-19 2010-08-05 Board Of Trustees Operating Michigan State University Variable frequency patch antenna
JP2019068176A (ja) * 2017-09-29 2019-04-25 株式会社Soken アンテナ装置

Family Cites Families (3)

* Cited by examiner, † Cited by third party
Publication number Priority date Publication date Assignee Title
JP4121424B2 (ja) 2003-06-25 2008-07-23 マスプロ電工株式会社 2偏波共用アンテナ
JP6552791B2 (ja) * 2014-07-03 2019-07-31 株式会社Soken アンテナ装置
JP6658439B2 (ja) 2016-10-05 2020-03-04 株式会社Soken アンテナ装置

Patent Citations (3)

* Cited by examiner, † Cited by third party
Publication number Priority date Publication date Assignee Title
JP2005039756A (ja) * 2003-06-27 2005-02-10 Hitachi Kokusai Electric Inc アンテナ装置
US20100194663A1 (en) * 2007-10-19 2010-08-05 Board Of Trustees Operating Michigan State University Variable frequency patch antenna
JP2019068176A (ja) * 2017-09-29 2019-04-25 株式会社Soken アンテナ装置

Also Published As

Publication number Publication date
JP2021197691A (ja) 2021-12-27
CN115769438A (zh) 2023-03-07
US20230039277A1 (en) 2023-02-09
US12183973B2 (en) 2024-12-31
JP7294248B2 (ja) 2023-06-20

Similar Documents

Publication Publication Date Title
US9698487B2 (en) Array antenna
US9660340B2 (en) Multiband antenna
US12183973B2 (en) Antenna device
JP2015111763A (ja) 偏波ダイバーシチ用アンテナ及び無線通信装置
JP7028212B2 (ja) アンテナ装置
JP2002359515A (ja) M型アンテナ装置
US12278435B2 (en) Miniature antenna with omnidirectional radiation field
US11196166B2 (en) Antenna device
JP6953807B2 (ja) アンテナ装置
KR102099162B1 (ko) 안테나 장치
JP2022125863A (ja) アンテナ装置
US11721908B2 (en) Antenna structure with wide beamwidth
US9722311B2 (en) Antenna device with continuous bending structure and application system using the same
JP7425554B2 (ja) アンテナ装置
JP2022124234A (ja) 無線通信機
WO2022038995A1 (ja) アンテナ装置
JP7790362B2 (ja) アンテナ装置
US12444844B2 (en) Antenna mounting system
US11757192B2 (en) Antenna device with patch including a slit
JP7608660B2 (ja) アンテナ装置
WO2025004928A1 (ja) アンテナ素子、アンテナアレイおよびアンテナモジュール
WO2024071311A1 (ja) 車両用アンテナ装置
JP2024173949A (ja) アンテナ装置
WO2022190876A1 (ja) アンテナ
WO2021261455A1 (ja) アンテナ装置

Legal Events

Date Code Title Description
121 Ep: the epo has been informed by wipo that ep was designated in this application

Ref document number: 21825380

Country of ref document: EP

Kind code of ref document: A1

NENP Non-entry into the national phase

Ref country code: DE

122 Ep: pct application non-entry in european phase

Ref document number: 21825380

Country of ref document: EP

Kind code of ref document: A1