WO2021246343A1 - 吸気ダクト - Google Patents

吸気ダクト Download PDF

Info

Publication number
WO2021246343A1
WO2021246343A1 PCT/JP2021/020549 JP2021020549W WO2021246343A1 WO 2021246343 A1 WO2021246343 A1 WO 2021246343A1 JP 2021020549 W JP2021020549 W JP 2021020549W WO 2021246343 A1 WO2021246343 A1 WO 2021246343A1
Authority
WO
WIPO (PCT)
Prior art keywords
wall
peripheral wall
intake duct
opening
main pipe
Prior art date
Legal status (The legal status is an assumption and is not a legal conclusion. Google has not performed a legal analysis and makes no representation as to the accuracy of the status listed.)
Ceased
Application number
PCT/JP2021/020549
Other languages
English (en)
French (fr)
Japanese (ja)
Inventor
剛士 谷口
Current Assignee (The listed assignees may be inaccurate. Google has not performed a legal analysis and makes no representation or warranty as to the accuracy of the list.)
Toyoda Iron Works Co Ltd
Original Assignee
Toyoda Iron Works Co Ltd
Priority date (The priority date is an assumption and is not a legal conclusion. Google has not performed a legal analysis and makes no representation as to the accuracy of the date listed.)
Filing date
Publication date
Application filed by Toyoda Iron Works Co Ltd filed Critical Toyoda Iron Works Co Ltd
Publication of WO2021246343A1 publication Critical patent/WO2021246343A1/ja
Anticipated expiration legal-status Critical
Ceased legal-status Critical Current

Links

Images

Classifications

    • FMECHANICAL ENGINEERING; LIGHTING; HEATING; WEAPONS; BLASTING
    • F02COMBUSTION ENGINES; HOT-GAS OR COMBUSTION-PRODUCT ENGINE PLANTS
    • F02MSUPPLYING COMBUSTION ENGINES IN GENERAL WITH COMBUSTIBLE MIXTURES OR CONSTITUENTS THEREOF
    • F02M35/00Combustion-air cleaners, air intakes, intake silencers, or induction systems specially adapted for, or arranged on, internal-combustion engines
    • F02M35/10Air intakes; Induction systems
    • FMECHANICAL ENGINEERING; LIGHTING; HEATING; WEAPONS; BLASTING
    • F02COMBUSTION ENGINES; HOT-GAS OR COMBUSTION-PRODUCT ENGINE PLANTS
    • F02MSUPPLYING COMBUSTION ENGINES IN GENERAL WITH COMBUSTIBLE MIXTURES OR CONSTITUENTS THEREOF
    • F02M35/00Combustion-air cleaners, air intakes, intake silencers, or induction systems specially adapted for, or arranged on, internal-combustion engines
    • F02M35/14Combined air cleaners and silencers
    • YGENERAL TAGGING OF NEW TECHNOLOGICAL DEVELOPMENTS; GENERAL TAGGING OF CROSS-SECTIONAL TECHNOLOGIES SPANNING OVER SEVERAL SECTIONS OF THE IPC; TECHNICAL SUBJECTS COVERED BY FORMER USPC CROSS-REFERENCE ART COLLECTIONS [XRACs] AND DIGESTS
    • Y02TECHNOLOGIES OR APPLICATIONS FOR MITIGATION OR ADAPTATION AGAINST CLIMATE CHANGE
    • Y02TCLIMATE CHANGE MITIGATION TECHNOLOGIES RELATED TO TRANSPORTATION
    • Y02T10/00Road transport of goods or passengers
    • Y02T10/10Internal combustion engine [ICE] based vehicles
    • Y02T10/12Improving ICE efficiencies

Definitions

  • This disclosure relates to the intake duct of an internal combustion engine.
  • Patent Document 1 discloses an intake system of an internal combustion engine having a cylindrical intake duct.
  • the intake duct has an upstream end in the intake flow direction that opens toward the outside. Then, the air sucked into the internal combustion engine, so-called intake air, is taken in from the upstream end of the intake duct, passes through the inside of the intake duct, and is supplied to the internal combustion engine.
  • the intake duct of an internal combustion engine In the intake duct of an internal combustion engine, intake noise caused by the pulsation of intake air passing through the inside becomes a problem.
  • the intake duct has an opening that opens outward to take in air inside. Therefore, it is inevitable that sound (noise) is radiated from the inside of the intake duct to the outside through this opening, and this radiated sound contributes to the intake noise.
  • sound noise
  • the purpose of the present disclosure is to provide an intake duct capable of suppressing intake noise with a simple structure.
  • the intake duct includes a tubular main pipe portion having an axis extending in the first direction, and a peripheral wall which is an end pipe portion and has an axis extending in a second direction intersecting the first direction.
  • the peripheral wall is provided with an end pipe portion to which the base end of the main pipe portion is connected.
  • the peripheral wall is an opening that penetrates the peripheral wall, and has an opening in which the inside of the end pipe portion communicates with the inside of the main pipe portion through the opening.
  • the peripheral wall has two wall portions facing each other, and the distance from the opening is narrower as the distance between the two wall portions is narrower.
  • the front view of the upper member provided with the intake duct which concerns on embodiment.
  • the front view which shows the end tube part and the periphery thereof in the upper member of FIG. 1 in an enlarged manner.
  • the front view of the intake duct of FIG. The plan view of the intake duct of FIG. FIG. 4 is a cross-sectional view taken along the line 6-6 of FIG. A graph showing the sound pressure measurement results.
  • the intake duct 20 is integrally formed with the upper member 10.
  • the upper member 10 is the upper part of the radiator core support having a square frame shape.
  • the radiator core support is provided at the front of the vehicle in such a manner that the radiator is arranged and supported inside.
  • the upper member 10 has an upper portion 11 and side portions 12R and 12L.
  • the upper portion 11 extends in the vehicle width direction and the vehicle front-rear direction.
  • the vehicle width direction (horizontal direction in FIG. 1) is the first direction
  • the vehicle front-rear direction (direction perpendicular to the paper surface in FIG. 1) is the second direction.
  • the second direction intersects (orthogonally) the first direction.
  • the vertical direction of the vehicle is a third direction that intersects (orthogonally) both the first direction and the second direction.
  • the side portion 12R extends downward from the first end (right end in FIG. 1) of the upper portion 11.
  • the side portion 12L extends downward from the second end (left end in FIG. 1) of the upper portion 11.
  • a vertical wall portion 13 projecting upward is provided on the upper portion of the upper portion 11.
  • the vertical wall portion 13 extends in the vehicle width direction and the vertical direction.
  • the intake duct 20 is integrally formed with the vertical wall portion 13.
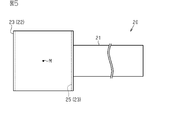
  • the intake duct 20 has a cylindrical main pipe portion 21 and an end pipe portion 22.
  • the main pipe portion 21 is arranged at an intermediate position in the vertical direction of the vertical wall portion 13.
  • the tubular main pipe portion 21 has an axis extending in the first direction.
  • the holding portion 14 extends in the second direction from the end region (left end region in FIG. 1) of the standing wall portion 13 in the vehicle width direction.
  • the holding portion 14 has a rectangular box shape, and the end pipe portion 22 is arranged inside the holding portion 14.
  • the end pipe portion 22 has a peripheral wall 23 having an axis extending in the second direction.
  • the end pipe portion 22 may be composed of only the peripheral wall 23.
  • the peripheral wall 23 may have an isosceles trapezoidal cross-sectional shape.
  • the peripheral wall 23 may have a constant cross-sectional shape along its axis.
  • the peripheral wall 23 penetrates the vertical wall portion 13 in the front-rear direction. Both the front end and the rear end of the peripheral wall 23 are open toward the outside. That is, both ends of the peripheral wall 23 are open ends.
  • Air can pass through the inside of the peripheral wall 23.
  • a plurality of reinforcing ribs 15 for integrally connecting the front surface of the vertical wall portion 13, the inner peripheral surface of the holding portion 14, and the outer peripheral surface of the peripheral wall 23 are provided.
  • the base end (left end in FIG. 1) of the main pipe portion 21 is connected to the peripheral wall 23.
  • the peripheral wall 23 has an opening 24 that penetrates the peripheral wall 23 in the first direction.
  • the opening 24 is located at the connection portion between the peripheral wall 23 and the main pipe portion 21.
  • the opening 24 is a circular hole having the same cross-sectional shape as the passage of the main pipe portion 21.
  • the peripheral wall 23 may have the following shape in order to suppress the radiated sound radiated from the inside of the intake duct 20 to the outside through the end pipe portion 22.
  • FIGS. 4 to 6 show the intake duct 20.
  • the extension direction (vehicle width direction) of the main pipe portion 21 and the extension direction (front-rear direction) of the peripheral wall 23 are orthogonal to each other.
  • the peripheral wall 23 has a first wall portion (lower bottom portion) 25 and a fourth wall portion 28 which are two parallel opposite sides of a trapezoid.
  • the first wall portion 25 and the fourth wall portion 28 extend along a third direction (vertical direction in FIG. 4).
  • the length of the first wall portion 25 in the third direction is longer than the length of the fourth wall portion 28 in the third direction.
  • the first wall portion 25 has an opening 24.
  • the main pipe portion 21 is connected to the first wall portion 25.
  • the trapezoidal axis of symmetry of the end pipe portion 22 extends on the same straight line or parallel to the center line (axis line) of the main pipe portion 21.
  • the peripheral wall 23 further has two wall portions 26, 27 facing each other.
  • the wall portions 26 and 27 are two hypotenuses extending between two parallel opposite sides (wall portions 25 and 28).
  • the second wall portion 26 connects the first ends (upper ends) of the wall portions 25 and 28, and the third wall portion 27 connects the second ends (lower ends) of the wall portions 25 and 28.
  • the distance between the wall portions 26 and 27 (indicated by W in FIG. 4) becomes narrower as the portions of the wall portions 26 and 27 are farther from the opening 24.
  • the peripheral wall 23 has a tapered tapered shape in which the interval W becomes narrower as the distance from the opening 24 increases.
  • the inventor set a measurement point M in the center of the end tube portion 22, and conducted various experiments and simulations for measuring the sound pressure of intake noise at the measurement point M. For example, the sound pressure when operating the internal combustion engine to which the intake duct 20 was connected was measured. Further, the passage cross-sectional area of the peripheral wall 23 is constant along the second direction, and the angle ANG formed between the wall portions 26 and 27 and the extending direction (first direction) of the isosceles trapezoidal axis of symmetry (see FIG. 4). Multiple intake ducts with different values were prepared, and the sound pressure of each intake duct was measured.
  • the angle ANG has nine levels, that is, "-10.0 degrees”, “-7.5 degrees”, “-5.0 degrees”, and “-2. "5 degrees”, “0.0 degrees”, “2.5 degrees”, “5.0 degrees”, “7.5 degrees”, and “10.0 degrees” were set.
  • the angle ANG is a positive value (ANG> 0 degrees)
  • the wall portions 26 and 27 have a tapered shape (shape shown by a solid line in FIG. 4) toward the fourth wall portion 28. ..
  • the peripheral wall 23 has a rectangular cross section. That is, the wall portions 26 and 27 extend in parallel.
  • the angle ANG is a negative value (ANG ⁇ 0 degree)
  • the wall portions 26 and 27 have a tapered shape (the shape shown by a broken line in FIG. 4) toward the first wall portion 25. Become.
  • the smaller the angle ANG the smaller the radiated sound emitted from the inside of the end pipe portion 22 to the outside of the intake duct 20 tends to be. It was confirmed that there was. Further, from the results of this experiment and simulation, the peripheral wall 23 has a shape in which the distance W (see FIG. 4) becomes narrower as the distance from the opening 24 increases, so that the distance W increases as the distance from the opening 24 increases. It can be seen that the radiated sound is smaller than that of the intake duct of the comparative example having a wider shape.
  • the open end of the intake duct is made to have a thick tip (for example, a funnel shape), the sound inside the intake duct is likely to diffuse to the outside, while the open end of the intake duct is made to have a tapered shape. This is thought to be because the sound inside the intake duct is less likely to diffuse to the outside.
  • the peripheral wall 23 has a shape in which the interval W becomes narrower as the portion is farther from the opening 24.
  • the radiated sound can be reduced as compared with the intake duct having a shape in which the interval W becomes wider as the portion of the peripheral wall 23 is farther from the opening 24.
  • the peripheral wall 23 has an isosceles trapezoidal cross-sectional shape, and has a tapered tapered shape in which the interval W becomes narrower as the distance from the first wall portion 25 and the opening portion 24 increases.
  • the cross-sectional shape of the peripheral wall 23 cut at the plane orthogonal to the axis (second direction) of the peripheral wall 23 is a line-symmetrical shape with the axis of the main pipe portion 21 as the axis of symmetry. Inside the end tube portion 22 having such a line-symmetrical shape, the generation of radiated sound is suppressed in a well-balanced manner.
  • the radiated sound can be reduced only by providing the end pipe portion 22 having a simple shape at the opening end of the main pipe portion 21 without providing the sound absorbing material inside the end pipe portion 22 or the opening portion 24. Can be done. According to such an intake duct 20, radiation noise and thus intake noise can be reduced with a simple structure.
  • the end pipe portion 22 has a peripheral wall 23 in which the interval W becomes narrower as the portion is farther from the opening 24. Therefore, the intake noise can be reduced with a simple structure.
  • the peripheral wall 23 has an isosceles trapezoidal cross-sectional shape, and has a tapered tapered shape in which the interval W becomes narrower as the distance from the opening 24 increases. Therefore, it is possible to suppress the generation of radiated sound in a well-balanced manner inside the end tube portion 22 having a line-symmetrical shape.
  • the shape of the peripheral wall 23 can be arbitrarily changed as long as the distance W becomes narrower as the portion is farther from the opening 24.
  • the cross-sectional shape of the peripheral wall 23 does not have to be a quadrilateral.
  • the peripheral wall 23 can have a shape that is not line-symmetrical.
  • the peripheral wall 33 of the first modification shown in FIG. 8 has an asymmetric right-angled trapezoidal cross section. More specifically, the peripheral wall 33 has a second wall portion 36 and a third wall portion 37 in addition to the first wall portion 35 and the fourth wall portion 38 parallel to each other.
  • the third wall portion 37 is parallel to the axis of the main pipe portion 21 (first direction), and the second wall portion 36 is inclined with respect to the axis of the main pipe portion 21. As a result, the distance between the wall portions 36 and 37 becomes narrower as the distance from the opening portion 34 increases.
  • the wall portions 36 and 37 of the peripheral wall 23 may be curved.
  • the wall portions 36 and 37 may be curved in a convex shape toward the outside of the peripheral wall 23, or may be curved in a convex shape toward the inside of the peripheral wall 23.
  • the peripheral wall 43 may have stepped wall portions 46, 47 in addition to the first wall portion 45 and the fourth wall portion 48.
  • the number of stages may be one or two or more. In this way, the distance W between the wall portions 46 and 47 may change stepwise rather than continuously.
  • the intake duct according to the above embodiment is not limited to the intake duct formed integrally with the upper member of the radiator support, but can also be applied to the intake duct formed separately from the upper member.

Landscapes

  • Engineering & Computer Science (AREA)
  • Chemical & Material Sciences (AREA)
  • Combustion & Propulsion (AREA)
  • Mechanical Engineering (AREA)
  • General Engineering & Computer Science (AREA)
  • Cooling, Air Intake And Gas Exhaust, And Fuel Tank Arrangements In Propulsion Units (AREA)
PCT/JP2021/020549 2020-06-02 2021-05-28 吸気ダクト Ceased WO2021246343A1 (ja)

Applications Claiming Priority (2)

Application Number Priority Date Filing Date Title
JP2020096251A JP7287920B2 (ja) 2020-06-02 2020-06-02 吸気ダクト
JP2020-096251 2020-06-02

Publications (1)

Publication Number Publication Date
WO2021246343A1 true WO2021246343A1 (ja) 2021-12-09

Family

ID=78830268

Family Applications (1)

Application Number Title Priority Date Filing Date
PCT/JP2021/020549 Ceased WO2021246343A1 (ja) 2020-06-02 2021-05-28 吸気ダクト

Country Status (2)

Country Link
JP (1) JP7287920B2 (enExample)
WO (1) WO2021246343A1 (enExample)

Citations (6)

* Cited by examiner, † Cited by third party
Publication number Priority date Publication date Assignee Title
JPH08114120A (ja) * 1994-10-17 1996-05-07 Toyoda Spinning & Weaving Co Ltd ラジエータのファンシュラウド構造
JP2003104234A (ja) * 2001-09-28 2003-04-09 Calsonic Kansei Corp 自動車の車体前部構造およびそれに使用されるラジエータコアサポートメンバ
JP2005112174A (ja) * 2003-10-08 2005-04-28 Calsonic Kansei Corp 車両の冷却システム
JP2009144537A (ja) * 2007-12-12 2009-07-02 Mazda Motor Corp 車両の前部構造
JP2019094001A (ja) * 2017-11-27 2019-06-20 トヨタ自動車株式会社 樹脂製ラジエータサポートダクト
JP2020006880A (ja) * 2018-07-11 2020-01-16 株式会社イノアックコーポレーション 吸気ダクト

Patent Citations (6)

* Cited by examiner, † Cited by third party
Publication number Priority date Publication date Assignee Title
JPH08114120A (ja) * 1994-10-17 1996-05-07 Toyoda Spinning & Weaving Co Ltd ラジエータのファンシュラウド構造
JP2003104234A (ja) * 2001-09-28 2003-04-09 Calsonic Kansei Corp 自動車の車体前部構造およびそれに使用されるラジエータコアサポートメンバ
JP2005112174A (ja) * 2003-10-08 2005-04-28 Calsonic Kansei Corp 車両の冷却システム
JP2009144537A (ja) * 2007-12-12 2009-07-02 Mazda Motor Corp 車両の前部構造
JP2019094001A (ja) * 2017-11-27 2019-06-20 トヨタ自動車株式会社 樹脂製ラジエータサポートダクト
JP2020006880A (ja) * 2018-07-11 2020-01-16 株式会社イノアックコーポレーション 吸気ダクト

Also Published As

Publication number Publication date
JP2021188581A (ja) 2021-12-13
JP7287920B2 (ja) 2023-06-06

Similar Documents

Publication Publication Date Title
JP6255400B2 (ja) 凹状ポートを有する、バスレフ型スピーカ
JP6015902B2 (ja) 車両の送風構造
JP6307048B2 (ja) 車両構造
JP5176998B2 (ja) 車両用エアクリーナ
JP7287261B2 (ja) 吸気ダクト
JP2014068380A (ja) スピーカ装置
US20140262597A1 (en) Tubular body, bass reflex port, and acoustic apparatus
JP2008309050A (ja) レゾネータ
CN110953039B (zh) 车辆用消声器
WO2021246343A1 (ja) 吸気ダクト
JP2015229921A (ja) 吸気消音装置およびそれを備える鞍乗型車両
JP6812706B2 (ja) スピーカーシステム
JP2015194147A (ja) 送風装置
KR20120060021A (ko) 기류소음저감타입 터보차져
JP2021001578A (ja) インテークマニホールド
JP2019119322A (ja) フェンダーライナー
JP2020034258A (ja) アタッチメント、及び、気流の吹き出し口構造
JP2014031951A (ja) 空気調和機
JP5995683B2 (ja) エアーカーテン装置
JP7316157B2 (ja) 自動車部品
KR101958759B1 (ko) 상어 생체모사형 터널 미기압파 저감 후드 구조체
JP6355159B2 (ja) 車両前部構造
JP2019019677A (ja) 消音器
WO2020255717A1 (ja) 空気調和機
JPH11294278A (ja) 吸気消音装置

Legal Events

Date Code Title Description
121 Ep: the epo has been informed by wipo that ep was designated in this application

Ref document number: 21816730

Country of ref document: EP

Kind code of ref document: A1

NENP Non-entry into the national phase

Ref country code: DE

122 Ep: pct application non-entry in european phase

Ref document number: 21816730

Country of ref document: EP

Kind code of ref document: A1