WO2020246213A1 - 情報処理装置および情報処理方法 - Google Patents

情報処理装置および情報処理方法 Download PDF

Info

Publication number
WO2020246213A1
WO2020246213A1 PCT/JP2020/019289 JP2020019289W WO2020246213A1 WO 2020246213 A1 WO2020246213 A1 WO 2020246213A1 JP 2020019289 W JP2020019289 W JP 2020019289W WO 2020246213 A1 WO2020246213 A1 WO 2020246213A1
Authority
WO
WIPO (PCT)
Prior art keywords
ram
processor
application program
operating system
snapshot file
Prior art date
Legal status (The legal status is an assumption and is not a legal conclusion. Google has not performed a legal analysis and makes no representation as to the accuracy of the status listed.)
Ceased
Application number
PCT/JP2020/019289
Other languages
English (en)
French (fr)
Japanese (ja)
Inventor
雄大 永野
Current Assignee (The listed assignees may be inaccurate. Google has not performed a legal analysis and makes no representation or warranty as to the accuracy of the list.)
Denso Corp
Original Assignee
Denso Corp
Priority date (The priority date is an assumption and is not a legal conclusion. Google has not performed a legal analysis and makes no representation as to the accuracy of the date listed.)
Filing date
Publication date
Application filed by Denso Corp filed Critical Denso Corp
Publication of WO2020246213A1 publication Critical patent/WO2020246213A1/ja
Priority to US17/538,444 priority Critical patent/US11868784B2/en
Anticipated expiration legal-status Critical
Ceased legal-status Critical Current

Links

Images

Classifications

    • GPHYSICS
    • G06COMPUTING OR CALCULATING; COUNTING
    • G06FELECTRIC DIGITAL DATA PROCESSING
    • G06F9/00Arrangements for program control, e.g. control units
    • G06F9/06Arrangements for program control, e.g. control units using stored programs, i.e. using an internal store of processing equipment to receive or retain programs
    • G06F9/44Arrangements for executing specific programs
    • G06F9/4401Bootstrapping
    • G06F9/4406Loading of operating system

Definitions

  • the non-volatile storage medium usually stores both the snapshot file and the application.
  • the application is also read from the non-volatile storage medium and expanded in the RAM.
  • the RAM and the non-volatile storage medium are connected by a bus, and there is an upper limit to the speed at which the bus transfers data. If the period for expanding the application from the non-volatile storage medium to the RAM and the period for expanding the snapshot file from the non-volatile storage medium to the RAM overlap, a long waiting time for using the bus will occur. As a result, the completion of resume startup of the application may be delayed.
  • the present disclosure was made based on this circumstance, and the purpose of the present disclosure is to provide an information processing device and an information processing method capable of promptly activating an application.
  • Information processing with a read program that causes the processor to read a snapshot file from a non-volatile storage medium and expand it into RAM before the operating system is expanded into RAM or while the processor is performing an operating system boot process. It is a device.
  • This information processing device does not have the function of expanding the snapshot file to RAM in the operating system in which the application program runs.
  • a read program that runs on the processor before the operating system boots has the above functions.
  • the read program causes the processor to expand the snapshot file into RAM before the operating system is expanded into RAM, or while the processor is performing the operating system boot process.
  • the period during which the application program and operating system are expanded into RAM does not overlap with the period during which the snapshot file is expanded into RAM. This makes it possible to reduce the waiting time when using the bus to expand these programs and files from the non-volatile storage medium to the RAM. By reducing the waiting time, the resume start of the application program can be completed quickly.
  • An information processing device is an information processing method that resumes and activates an application program.
  • the processor snaps from a writable non-volatile storage medium that stores snapshot files and application programs before the operating system running the application program is expanded into RAM or while the processor is performing an operating system boot process. Read the shot file, expand it to RAM, and After the operating system boots, the processor expands the application program into RAM and
  • the processor is an information processing method that resumes and starts an application program by using a snapshot file expanded in RAM and an application program.
  • FIG. 1 is a configuration diagram of an in-vehicle display system 1.
  • the in-vehicle display system 1 is mounted on the vehicle C.
  • the in-vehicle display system 1 includes a display 2 and a control unit 3 which is an information processing device.
  • the display 2 and the control unit 3 are connected to the in-vehicle LAN bus 4.
  • the display 2 and the control unit 3 can send and receive signals to and from each other via the in-vehicle LAN bus 4. Further, the control unit 3 can transmit and receive signals to and from various devices mounted on the vehicle C via the in-vehicle LAN bus 4.
  • the signal received by the control unit 3 via the in-vehicle LAN bus 4 for example, there is a signal indicating the current state of the vehicle instruments displayed as an image on the display 2.
  • This signal includes, for example, a signal indicating the vehicle speed, a signal indicating the remaining fuel amount, and the like.
  • the display 2 is arranged in the passenger compartment of the vehicle C at a position where the occupants can see it.
  • the display 2 can display various images.
  • a liquid crystal display or an organic EL display can be used as the display 2 .
  • the control unit 3 includes an eMMC (embedded MultiMediaCard) 31, a RAM 32, a CPU 33, and a bus 34.
  • the eMMC 31, RAM 32, and CPU 33 are connected to each other by a bus 34.
  • the eMMC31 is a writable non-volatile storage medium.
  • the eMMC 31 is configured to include a flash memory.
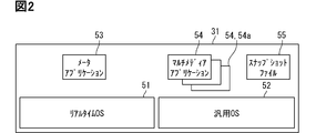
  • the program and file shown in FIG. 2 are stored in the eMMC 31.
  • the eMMC 31 stores two OS programs, a real-time operating system (hereinafter, real-time OS) 51 and a general-purpose operating system (hereinafter, general-purpose OS) 52. Further, as an application program (hereinafter, simply an application), a meter application 53 and a plurality of multimedia applications 54 are also stored. The snapshot file 55 is also stored in the eMMC 31.
  • real-time OS real-time operating system
  • general-purpose OS general-purpose operating system
  • an application program hereinafter, simply an application
  • a meter application 53 and a plurality of multimedia applications 54 are also stored.
  • the snapshot file 55 is also stored in the eMMC 31.
  • the real-time OS 51 is an operating system that performs real-time processing. Compared with the general-purpose OS 52, the real-time OS 51 is excellent in stability and has a feature that the time required for startup is short.
  • the general-purpose OS 52 is an OS capable of executing more complicated functions than the real-time OS 51. On the other hand, it is less stable than the real-time OS 51, and it takes time to start up.
  • the meter application 53 is a travel-related display application program, and is an application that causes the CPU 33 to function as a travel-related display unit.
  • the CPU 33 causes the display 2 to display an image related to the travel of the vehicle C.
  • the image related to the traveling of the vehicle C is, for example, an image showing a traveling speed meter of the vehicle C.
  • the meter application 53 is an application that operates on the real-time OS 51.
  • the meter application 53 also has a function of causing the CPU 33 to execute a process of drawing a part of the startup screen on the display 2. Since the meter application 53 operates on the real-time OS 51 that is started before the general-purpose OS 52, the start is completed quickly. Therefore, since the meter application 53 has a function of drawing the start-up screen on the display 2, the drawing of the start-up screen can be quickly started on the display 2.
  • the number of multimedia applications 54 There is no limit to the number of multimedia applications 54.
  • the number of multimedia applications 54 may be one or plural.
  • the multimedia application 54 is an application that runs on the general-purpose OS 52.
  • the multimedia application 54 is, for example, a route guidance application, an audio reproduction application, a video reproduction application, a weather forecast application, and the like.
  • the multimedia application 54 also includes a startup screen drawing application 54a that causes the CPU 33 to execute a process of causing the display 2 to draw the remaining part of the startup screen.
  • the remaining part of the startup screen is a part of the startup screen other than a part of the startup screen on which the meter application 53 is executed and drawn by the CPU 33.
  • the startup screen drawing application 54a may be a part of another multimedia application 54 such as a route guidance application.
  • the snapshot file 55 is a file that stores restoration information so that the multimedia application 54 can restart from the state immediately before the end.
  • the snapshot file 55 is created for each type of multimedia application 54 and stored in the eMMC 31.
  • the snapshot file 55 is created by the CPU 33 at an appropriate timing such as when the processing of the control unit 3 is completed. In this embodiment, the snapshot file 55 is created for at least the startup screen drawing application 54a.
  • the RAM 32 is a temporary storage unit used when the CPU 33 executes a program stored in the eMMC 31. Further, the RAM 32 is expanded when the CPU 33 executes the program stored in the eMMC 31. The snapshot file 55 is also expanded in the RAM 32.
  • the CPU 33 is a processor and executes a program stored in the eMMC 31. Therefore, the CPU 33 executes two OSs, a real-time OS 51 and a general-purpose OS 52. The CPU 33 also executes the meter application 53 and the multimedia application 54. When executing these programs, the CPU 33 accesses the eMMC 31 and deploys the program to be executed in the RAM 32. After that, the CPU 33 executes the startup process using the program expanded in the RAM 32. By terminating the startup process, the CPU 33 can execute the function specified by the program.
  • FIG. 3 shows a process executed by the CPU 33 when the control unit 3 is started. It can be said that the process shown in FIG. 3 indicates an information processing method executed by the control unit 3.
  • the CPU 33 executes a program for executing steps (hereinafter, steps are omitted) S1 and S2.
  • This program is, for example, a boot loader.
  • the boot loader may be stored in the eMMC 31, or may be stored in an internal storage medium included in the CPU 33.
  • the real-time OS 51 is expanded to the RAM 32.
  • the real-time OS 51 expanded in the RAM 32 is used to start the real-time OS 51.
  • S3 is executed.
  • S3 to S4 are functions that the real-time OS 51 causes the CPU 33 to execute. In other words, S3 to S4 are functions realized by the CPU 33 executing the real-time OS 51.
  • the meter application 53 is deployed in the RAM 32.
  • the meter application 53 expanded in the RAM 32 is used to start the meter application 53. After the start processing of the meter application 53 is completed, S5 is executed.
  • S5 is a function that the meter application 53 causes the CPU 33 to execute.
  • the display 2 starts drawing a part of the activated images assigned as the drawing function by the meter application 53.
  • S6 is a function that the real-time OS 51 causes the CPU 33 to execute.
  • the process of S6 may be performed in parallel with the process of S5.
  • the snapshot file 55 is read from the eMMC 31 and expanded into the RAM 32. Therefore, the real-time OS 51 is a read program.
  • S7 and S8 may be a function that the real-time OS 51 causes the CPU 33 to execute, or may be a function that a program other than the real-time OS 51, such as a boot loader, causes the CPU 33 to execute.
  • the general-purpose OS 52 is expanded to the RAM 32.
  • the general-purpose OS 52 expanded in the RAM 32 is used to start the general-purpose OS 52. After the startup process of the general-purpose OS 52 is completed, S9 is executed.
  • S9 and S10 are functions that the general-purpose OS 52 causes the CPU 33 to execute.
  • the multimedia application 54 is deployed in the RAM 32.
  • the resume activation process of the multimedia application 54 is performed by using the snapshot file 55 expanded in the RAM 32 in S6 and the multimedia application 54 expanded in the RAM 32 in S9.
  • S11 is a multimedia application 54, which is a function of the multimedia application 54 corresponding to the snapshot file 55 to be executed by the CPU 33.
  • the image of the remaining portion of the startup image is drawn on the display 2.
  • the image of the remaining part of the start-up image is an image other than the part of the start-up image drawn by the meter application 53.
  • the general-purpose OS 52 on which the multimedia application 54 operates does not have a function of expanding the snapshot file 55 into the RAM 32.
  • the real-time OS 51 which operates on the CPU 33 before the general-purpose OS 52 is started, has the function.
  • the real-time OS 51 causes the CPU 33 to expand the snapshot file 55 for the multimedia application 54 into the RAM 32 in S5 before the startup of the general-purpose OS 52 is completed, that is, before the processing of S7 is completed.
  • the period during which the multimedia application 54 is expanded into the RAM 32 (that is, the period during which S8 is executed) and the period during which the snapshot file 55 is expanded into the RAM 32 (that is, the period during which S5 is executed) do not overlap.
  • the period for expanding the snapshot file 55 to the RAM 32 is always after the general-purpose OS 52 is started. In that case, the period for expanding the multimedia application 54 to the RAM 32 and the period for expanding the snapshot file 55 to the RAM 32 may overlap.
  • the periods through which the multimedia application 54 and the snapshot file 55 pass through the bus 34 for being transferred from the eMMC 31 to the RAM 32 overlap.
  • there is an upper limit to the communication speed of the bus 34 Therefore, if the periods in which the multimedia application 54 and the snapshot file 55 pass through the bus 34 overlap, a waiting time may occur during data transfer.
  • the period in which the multimedia application 54 is expanded in the RAM 32 and the period in which the snapshot file 55 is expanded in the RAM 32 do not overlap. Therefore, the waiting time for data transfer using the bus 34 can be reduced. Therefore, the resume activation process (S10) of the multimedia application 54 can be completed quickly.
  • the timing at which the CPU 33 expands the snapshot file 55 to the RAM 32 is after the startup process (S2) of the real-time OS 51 is completed and before the startup process (S8) of the general-purpose OS 52 is started.
  • the processing of the CPU 33 when the snapshot file 55 is expanded to the RAM 32 as compared with the case where the CPU 33 expands the snapshot file 55 to the RAM 32 in parallel while the general-purpose OS 52 startup process (S8) is being executed. The load can be reduced.
  • the vehicle-mounted display system 1 of the present embodiment has a function of executing the meter application 53 and the multimedia application 54.
  • the meter application 53 needs to be started and completed promptly when the power state of the vehicle C becomes the accessory on state or the ignition on state. Therefore, the meter application 53 operates on the real-time OS 51 that can be started quickly.
  • the real-time OS 51 has a function of expanding the snapshot file 55 into the RAM 32.
  • the snapshot file 55 can be expanded to the RAM 32 before the startup of the general-purpose OS 52 is completed by utilizing the configuration in which the real-time OS 51 operates separately from the general-purpose OS 52 in which the multimedia application 54 operates.
  • the CPU 33 also deploys the meter application 53 in the RAM 32.
  • the timing at which the CPU 33 executes the real-time OS 51 and expands the snapshot file 55 to the RAM 32 is after the start processing (S4) of the meter application 53 is completed, and the processing to expand the general-purpose OS 52 to the RAM (S7).
  • S4 start processing
  • S7 processing to expand the general-purpose OS 52 to the RAM
  • the meter application 53 has a function of causing the CPU 33 to execute a process of drawing a part of the startup image on the display 2.
  • the load on the CPU 33 at the time of drawing by the meter application 53 is reduced as compared with the case where the meter application 53 causes the CPU 33 to execute the process of drawing the entire startup image.
  • many CPU 33 resources can be allocated to start the general-purpose OS 52 even during drawing by the meter application 53. Therefore, the general-purpose OS 52 can be started quickly.
  • the snapshot file 55 is expanded to the RAM 32 before the general-purpose OS 52 is expanded to the RAM 32.
  • the resume activation process of the multimedia application 54 is completed quickly. Therefore, even if the multimedia application 54 in which the snapshot file 55 is stored causes the CPU 33 to execute the process of drawing the remaining portion of the startup image, the entire startup screen is smoothly drawn.
  • the snapshot file 55 is expanded to the RAM 32 before the process (S7) of expanding the general-purpose OS 52 to the RAM 32 is executed.
  • the snapshot file 55 may be expanded to the RAM 32 while the general-purpose OS 52 startup process (S8) is being executed.
  • the usage rate of the bus 34 is low even during the boot processing of the general-purpose OS 52. Therefore, even in this way, when the snapshot file 55 is expanded to the RAM 32, the waiting time for using the bus 34 can be reduced.
  • the real-time OS 51 has a function of expanding the snapshot file 55 into the RAM 32.
  • the program having the function of expanding the snapshot file 55 into the RAM 32 is not limited to the real-time OS 51.
  • the program having a function of expanding the snapshot file 55 into the RAM 32 may be a program that can operate before the general-purpose OS 52 is expanded into the RAM 32.
  • a program having a function of expanding the snapshot file 55 into the RAM 32 may be a boot loader.
  • the program having the function of expanding the snapshot file 55 into the RAM 32 may be a program that operates on the real-time OS 51.
  • the snapshot file 55 and the multimedia application 54 are stored in the eMMC 31.
  • the snapshot file 55 and the multimedia application 54 may be stored in another non-volatile storage medium, for example, an SSD (Solid State Drive).

Landscapes

  • Engineering & Computer Science (AREA)
  • Software Systems (AREA)
  • Theoretical Computer Science (AREA)
  • Computer Security & Cryptography (AREA)
  • Physics & Mathematics (AREA)
  • General Engineering & Computer Science (AREA)
  • General Physics & Mathematics (AREA)
  • Stored Programmes (AREA)
PCT/JP2020/019289 2019-06-03 2020-05-14 情報処理装置および情報処理方法 Ceased WO2020246213A1 (ja)

Priority Applications (1)

Application Number Priority Date Filing Date Title
US17/538,444 US11868784B2 (en) 2019-06-03 2021-11-30 Information processing apparatus and information processing method

Applications Claiming Priority (2)

Application Number Priority Date Filing Date Title
JP2019103814A JP7180542B2 (ja) 2019-06-03 2019-06-03 情報処理装置および情報処理方法
JP2019-103814 2019-06-03

Related Child Applications (1)

Application Number Title Priority Date Filing Date
US17/538,444 Continuation US11868784B2 (en) 2019-06-03 2021-11-30 Information processing apparatus and information processing method

Publications (1)

Publication Number Publication Date
WO2020246213A1 true WO2020246213A1 (ja) 2020-12-10

Family

ID=73647987

Family Applications (1)

Application Number Title Priority Date Filing Date
PCT/JP2020/019289 Ceased WO2020246213A1 (ja) 2019-06-03 2020-05-14 情報処理装置および情報処理方法

Country Status (3)

Country Link
US (1) US11868784B2 (enExample)
JP (1) JP7180542B2 (enExample)
WO (1) WO2020246213A1 (enExample)

Families Citing this family (2)

* Cited by examiner, † Cited by third party
Publication number Priority date Publication date Assignee Title
DE102019203130A1 (de) * 2019-03-07 2020-09-10 Continental Automotive Gmbh Nahtlose Audioübergabe in einem Mehrprozessor-Audiosystem
CN116176461B (zh) * 2023-04-28 2023-08-11 亿咖通(湖北)技术有限公司 车载仪表界面的显示方法、系统、电子设备和存储介质

Citations (2)

* Cited by examiner, † Cited by third party
Publication number Priority date Publication date Assignee Title
JP2008165554A (ja) * 2006-12-28 2008-07-17 Sony Corp 情報処理装置、起動方法、およびプログラム
US20170212793A1 (en) * 2016-01-26 2017-07-27 Samsung Electronics Co., Ltd. Method and apparatus for hibernation operation in multiple operating system environments

Family Cites Families (7)

* Cited by examiner, † Cited by third party
Publication number Priority date Publication date Assignee Title
US7461247B2 (en) * 2005-06-03 2008-12-02 Qnx Software Systems Gmbh & Co. Kg Method for transitioning control of a peripheral device from a first device driver to a second device driver during operating system initialization
JP4935107B2 (ja) * 2006-02-20 2012-05-23 富士ゼロックス株式会社 情報処理装置
US7814307B2 (en) * 2006-03-16 2010-10-12 Microsoft Corporation Fast booting a computing device to a specialized experience
JP2009187134A (ja) * 2008-02-04 2009-08-20 Ricoh Co Ltd 情報処理装置、情報処理装置の起動制御方法、プログラム及び記録媒体
JP2011039847A (ja) 2009-08-12 2011-02-24 Canon Inc 情報処理装置及びその制御方法
US20120297177A1 (en) * 2010-11-15 2012-11-22 Ghosh Anup K Hardware Assisted Operating System Switch
JP7300955B2 (ja) * 2019-10-01 2023-06-30 株式会社トプコン 土木工事データ処理装置、土木工事データ処理方法および土木工事データ処理用プログラム

Patent Citations (2)

* Cited by examiner, † Cited by third party
Publication number Priority date Publication date Assignee Title
JP2008165554A (ja) * 2006-12-28 2008-07-17 Sony Corp 情報処理装置、起動方法、およびプログラム
US20170212793A1 (en) * 2016-01-26 2017-07-27 Samsung Electronics Co., Ltd. Method and apparatus for hibernation operation in multiple operating system environments

Also Published As

Publication number Publication date
JP2020197923A (ja) 2020-12-10
US20220083346A1 (en) 2022-03-17
JP7180542B2 (ja) 2022-11-30
US11868784B2 (en) 2024-01-09

Similar Documents

Publication Publication Date Title
CN109634645B (zh) 固件升级方法及终端
US10754558B2 (en) Vehicular device
US20180341476A1 (en) Software updating device, software updating system, and software updating method
JP5783809B2 (ja) 情報処理装置、起動方法およびプログラム
CN110007974B (zh) 应用于操作系统启动的方法和装置、及电子设备
KR101673299B1 (ko) 운영 시스템 복구 방법 및 장치, 그리고 단말기기
WO2016090836A1 (zh) 一种嵌入式系统的启动方法和装置
WO2020246213A1 (ja) 情報処理装置および情報処理方法
US11853103B2 (en) Vehicular device
KR102116096B1 (ko) 다중시스템 및 이의 부팅 방법
CN105980982A (zh) 信息装置
JP4556653B2 (ja) 車載電子制御装置のプログラム書換システム、車載電子制御装置のコンピュータ用ブートローダ、記録媒体、及び車載電子制御装置
CN108920196A (zh) 整车控制器启动装载升级方法、装置、整车控制器及车辆
CN113377512A (zh) 车机系统的启动方法、装置及设备
CN112764822A (zh) 操作系统启动方法、装置、设备及介质
CN116521266A (zh) 车载应用启动配置的管理方法、装置、车辆及存储介质
CN114385255A (zh) Pos机的控制方法、系统、装置以及计算可读介质
CN102799451A (zh) Wince系统镜像构建方法和系统、wince系统镜像
CN115827074A (zh) 一种针对emmc存储的车载座舱系统快速出图方法、装置、存储器和车辆
WO2016098147A1 (ja) 情報処理装置および起動制御方法
US20240211239A1 (en) Electronic control unit
JP2007316800A (ja) 車載プログラム書換え制御装置
CN112297841A (zh) 全液晶仪表系统及其启动方法和车辆
US12223332B2 (en) Method for starting-up a device with an embedded multimedia card (eMMC)
JP7599580B2 (ja) 電子機器および高速通信方法

Legal Events

Date Code Title Description
121 Ep: the epo has been informed by wipo that ep was designated in this application

Ref document number: 20817599

Country of ref document: EP

Kind code of ref document: A1

NENP Non-entry into the national phase

Ref country code: DE

122 Ep: pct application non-entry in european phase

Ref document number: 20817599

Country of ref document: EP

Kind code of ref document: A1