WO2020179353A1 - 電気音響変換器 - Google Patents

電気音響変換器 Download PDF

Info

Publication number
WO2020179353A1
WO2020179353A1 PCT/JP2020/004849 JP2020004849W WO2020179353A1 WO 2020179353 A1 WO2020179353 A1 WO 2020179353A1 JP 2020004849 W JP2020004849 W JP 2020004849W WO 2020179353 A1 WO2020179353 A1 WO 2020179353A1
Authority
WO
WIPO (PCT)
Prior art keywords
exciter
piezoelectric
layer
piezoelectric film
thickness
Prior art date
Legal status (The legal status is an assumption and is not a legal conclusion. Google has not performed a legal analysis and makes no representation as to the accuracy of the status listed.)
Ceased
Application number
PCT/JP2020/004849
Other languages
English (en)
French (fr)
Japanese (ja)
Inventor
三好 哲
Current Assignee (The listed assignees may be inaccurate. Google has not performed a legal analysis and makes no representation or warranty as to the accuracy of the list.)
Fujifilm Corp
Original Assignee
Fujifilm Corp
Priority date (The priority date is an assumption and is not a legal conclusion. Google has not performed a legal analysis and makes no representation as to the accuracy of the date listed.)
Filing date
Publication date
Application filed by Fujifilm Corp filed Critical Fujifilm Corp
Priority to CN202080018297.8A priority Critical patent/CN113508605B/zh
Priority to KR1020217027898A priority patent/KR102633884B1/ko
Priority to JP2021503482A priority patent/JP7166428B2/ja
Priority to EP20767452.4A priority patent/EP3937511A4/en
Publication of WO2020179353A1 publication Critical patent/WO2020179353A1/ja
Priority to US17/466,855 priority patent/US20210400395A1/en
Anticipated expiration legal-status Critical
Priority to JP2022168940A priority patent/JP7470765B2/ja
Ceased legal-status Critical Current

Links

Images

Classifications

    • HELECTRICITY
    • H04ELECTRIC COMMUNICATION TECHNIQUE
    • H04RLOUDSPEAKERS, MICROPHONES, GRAMOPHONE PICK-UPS OR LIKE ACOUSTIC ELECTROMECHANICAL TRANSDUCERS; DEAF-AID SETS; PUBLIC ADDRESS SYSTEMS
    • H04R17/00Piezoelectric transducers; Electrostrictive transducers
    • HELECTRICITY
    • H04ELECTRIC COMMUNICATION TECHNIQUE
    • H04RLOUDSPEAKERS, MICROPHONES, GRAMOPHONE PICK-UPS OR LIKE ACOUSTIC ELECTROMECHANICAL TRANSDUCERS; DEAF-AID SETS; PUBLIC ADDRESS SYSTEMS
    • H04R17/00Piezoelectric transducers; Electrostrictive transducers
    • H04R17/005Piezoelectric transducers; Electrostrictive transducers using a piezoelectric polymer
    • HELECTRICITY
    • H04ELECTRIC COMMUNICATION TECHNIQUE
    • H04RLOUDSPEAKERS, MICROPHONES, GRAMOPHONE PICK-UPS OR LIKE ACOUSTIC ELECTROMECHANICAL TRANSDUCERS; DEAF-AID SETS; PUBLIC ADDRESS SYSTEMS
    • H04R7/00Diaphragms for electromechanical transducers; Cones
    • H04R7/16Mounting or tensioning of diaphragms or cones
    • HELECTRICITY
    • H10SEMICONDUCTOR DEVICES; ELECTRIC SOLID-STATE DEVICES NOT OTHERWISE PROVIDED FOR
    • H10NELECTRIC SOLID-STATE DEVICES NOT OTHERWISE PROVIDED FOR
    • H10N30/00Piezoelectric or electrostrictive devices
    • H10N30/01Manufacture or treatment
    • H10N30/05Manufacture of multilayered piezoelectric or electrostrictive devices, or parts thereof, e.g. by stacking piezoelectric bodies and electrodes
    • H10N30/057Manufacture of multilayered piezoelectric or electrostrictive devices, or parts thereof, e.g. by stacking piezoelectric bodies and electrodes by stacking bulk piezoelectric or electrostrictive bodies and electrodes
    • HELECTRICITY
    • H10SEMICONDUCTOR DEVICES; ELECTRIC SOLID-STATE DEVICES NOT OTHERWISE PROVIDED FOR
    • H10NELECTRIC SOLID-STATE DEVICES NOT OTHERWISE PROVIDED FOR
    • H10N30/00Piezoelectric or electrostrictive devices
    • H10N30/50Piezoelectric or electrostrictive devices having a stacked or multilayer structure
    • HELECTRICITY
    • H10SEMICONDUCTOR DEVICES; ELECTRIC SOLID-STATE DEVICES NOT OTHERWISE PROVIDED FOR
    • H10NELECTRIC SOLID-STATE DEVICES NOT OTHERWISE PROVIDED FOR
    • H10N30/00Piezoelectric or electrostrictive devices
    • H10N30/80Constructional details
    • H10N30/85Piezoelectric or electrostrictive active materials
    • HELECTRICITY
    • H10SEMICONDUCTOR DEVICES; ELECTRIC SOLID-STATE DEVICES NOT OTHERWISE PROVIDED FOR
    • H10NELECTRIC SOLID-STATE DEVICES NOT OTHERWISE PROVIDED FOR
    • H10N30/00Piezoelectric or electrostrictive devices
    • H10N30/80Constructional details
    • H10N30/85Piezoelectric or electrostrictive active materials
    • H10N30/852Composite materials, e.g. having 1-3 or 2-2 type connectivity
    • BPERFORMING OPERATIONS; TRANSPORTING
    • B60VEHICLES IN GENERAL
    • B60LPROPULSION OF ELECTRICALLY-PROPELLED VEHICLES; SUPPLYING ELECTRIC POWER FOR AUXILIARY EQUIPMENT OF ELECTRICALLY-PROPELLED VEHICLES; ELECTRODYNAMIC BRAKE SYSTEMS FOR VEHICLES IN GENERAL; MAGNETIC SUSPENSION OR LEVITATION FOR VEHICLES; MONITORING OPERATING VARIABLES OF ELECTRICALLY-PROPELLED VEHICLES; ELECTRIC SAFETY DEVICES FOR ELECTRICALLY-PROPELLED VEHICLES
    • B60L2270/00Problem solutions or means not otherwise provided for
    • B60L2270/42Means to improve acoustic vehicle detection by humans
    • HELECTRICITY
    • H04ELECTRIC COMMUNICATION TECHNIQUE
    • H04RLOUDSPEAKERS, MICROPHONES, GRAMOPHONE PICK-UPS OR LIKE ACOUSTIC ELECTROMECHANICAL TRANSDUCERS; DEAF-AID SETS; PUBLIC ADDRESS SYSTEMS
    • H04R2499/00Aspects covered by H04R or H04S not otherwise provided for in their subgroups
    • H04R2499/10General applications
    • H04R2499/11Transducers incorporated or for use in hand-held devices, e.g. mobile phones, PDA's, camera's
    • HELECTRICITY
    • H04ELECTRIC COMMUNICATION TECHNIQUE
    • H04RLOUDSPEAKERS, MICROPHONES, GRAMOPHONE PICK-UPS OR LIKE ACOUSTIC ELECTROMECHANICAL TRANSDUCERS; DEAF-AID SETS; PUBLIC ADDRESS SYSTEMS
    • H04R2499/00Aspects covered by H04R or H04S not otherwise provided for in their subgroups
    • H04R2499/10General applications
    • H04R2499/13Acoustic transducers and sound field adaptation in vehicles
    • HELECTRICITY
    • H04ELECTRIC COMMUNICATION TECHNIQUE
    • H04RLOUDSPEAKERS, MICROPHONES, GRAMOPHONE PICK-UPS OR LIKE ACOUSTIC ELECTROMECHANICAL TRANSDUCERS; DEAF-AID SETS; PUBLIC ADDRESS SYSTEMS
    • H04R2499/00Aspects covered by H04R or H04S not otherwise provided for in their subgroups
    • H04R2499/10General applications
    • H04R2499/15Transducers incorporated in visual displaying devices, e.g. televisions, computer displays, laptops

Definitions

  • the present invention relates to an electroacoustic transducer using an exciter.
  • a so-called exciter which vibrates an article and makes a sound when it is attached to various articles in contact with it, is used for various purposes.
  • an exciter in an office, by attaching an exciter to a conference table, a whiteboard, a screen, or the like during a presentation or a conference call, sound can be produced instead of a speaker.
  • a guide sound, a warning sound, music, etc. can be sounded by attaching an exciter to the console, the A pillar, the ceiling, or the like.
  • a vehicle approach notification sound can be output from the bumper or the like by attaching an exciter to the bumper or the like.
  • variable element that causes vibration in such an exciter
  • a combination of a coil and a magnet, and a vibration motor such as an eccentric motor and a linear resonance motor are known. It is difficult to make these variable elements thin.
  • the vibration motor has drawbacks that the mass body needs to be large in order to increase the vibration force, frequency modulation for adjusting the degree of vibration is difficult, and the response speed is slow.
  • a speaker is required to have flexibility in response to a request corresponding to a display having flexibility.
  • a flexible speaker with a configuration including such an exciter and a diaphragm.
  • a flexible exciter is attached to a flexible diaphragm to form a flexible speaker.
  • a flexible display such as an organic electroluminescence display and a flexible speaker in which a piezoelectric film such as PVCD (PVDF: Poly VinyliDene Fluoride) is sandwiched between electrodes are integrated.
  • PVCD Poly VinyliDene Fluoride
  • a flexible display is described.
  • This flexible speaker can be positioned as an exciter-type speaker that uses PVDF as an exciter and uses the display as a diaphragm to output sound.
  • the flexible speaker is expected to be used in various forms such as being folded in half, being wound for carrying, and being repeatedly bent and stretched. It is also conceivable that the flexible speaker is held for a long time in a folded state, a rolled-up state, or the like. Therefore, a flexible speaker is required to have extremely high flexibility in response to various applications and situations. However, at present, a speaker having sufficient flexibility has not been realized in response to various applications and situations.
  • An object of the present invention is to solve such a problem of the conventional technique, and an electroacoustic transducer having a diaphragm and an exciter, which has high flexibility and can be used in various applications and situations.
  • the purpose is to provide an electroacoustic converter having a property.
  • the present invention has the following configurations.
  • An electroacoustic transducer having an exciter on one main surface of a diaphragm.
  • the loss tangent at a frequency of 1 Hz measured by the dynamic viscoelasticity of the exciter has a maximum value in the temperature range of 0 to 50° C., and the maximum value is 0.08 or more.
  • the product of the thickness of the exciter and the storage elastic modulus at a frequency of 1 Hz and 25° C. measured by dynamic viscoelasticity is 3 times or less of the product of the thickness of the diaphragm and the Young's modulus.
  • Acoustic transducer is 3 times or less of the product of the thickness of the diaphragm and the Young's modulus.
  • an electroacoustic transducer having a diaphragm and an exciter and having high flexibility, which can be used in various applications and situations.
  • FIG. 1 is a diagram conceptually showing an example of the electroacoustic transducer of the present invention.
  • FIG. 2 is a diagram conceptually showing an example of a piezoelectric film forming an exciter of the electroacoustic transducer shown in FIG.
  • FIG. 3 is a conceptual diagram for explaining an example of a method for producing a piezoelectric film.
  • FIG. 4 is a conceptual diagram for explaining an example of a method for producing a piezoelectric film.
  • FIG. 5 is a conceptual diagram for explaining an example of a method for producing a piezoelectric film.
  • FIG. 6 is a conceptual diagram for explaining an example of a method for producing a piezoelectric film.
  • FIG. 1 is a diagram conceptually showing an example of the electroacoustic transducer of the present invention.
  • FIG. 2 is a diagram conceptually showing an example of a piezoelectric film forming an exciter of the electroacoustic transducer shown in FIG.
  • FIG. 7 is a conceptual diagram for explaining an example of a method for producing a piezoelectric film.
  • FIG. 8 is a figure which shows notionally another example of the exciter used for the electroacoustic transducer of this invention.
  • FIG. 9 is a figure which shows notionally another example of the exciter used for the electroacoustic transducer of this invention.
  • FIG. 10 is a conceptual diagram for explaining an embodiment of the present invention.
  • FIG. 11 is a conceptual diagram for explaining an embodiment of the present invention.
  • the description of the constituents described below may be made based on a typical embodiment of the present invention, but the present invention is not limited to such an embodiment.
  • the numerical range represented by “to” means the range including the numerical values before and after “to” as the lower limit value and the upper limit value.
  • FIG. 1 conceptually shows an example of the electroacoustic transducer of the present invention.
  • the electroacoustic transducer 10 shown in FIG. 1 has an exciter 14 and a diaphragm 12.
  • the exciter 14 and the vibration plate 12 are attached by the attaching layer 16.
  • a power source PS for applying a drive voltage is connected to the exciter 14 (piezoelectric film 18 described later) of the electroacoustic transducer 10.
  • the exciter 14 piezoelectric film 18 described later
  • the exciter 14 expands and contracts in the surface direction.
  • the diaphragm 12 Due to the expansion and contraction of the exciter 14 in the surface direction, the diaphragm 12 bends, and as a result, the diaphragm 12 vibrates in the thickness direction.
  • the vibration plate 12 generates a sound due to the vibration in the thickness direction. That is, the vibrating plate 12 vibrates according to the magnitude of the voltage (driving voltage) applied to the piezoelectric film 18, and generates a sound according to the driving voltage applied to the piezoelectric film 18.
  • the vibrating plate 12 has flexibility as a preferred embodiment.
  • having flexibility is synonymous with having flexibility in a general interpretation, and means that bending and bending are possible, and specifically, , Indicates that it can be bent and stretched without causing breakage and damage.
  • the vibration plate 12 is preferably flexible and is not limited as long as it satisfies the relationship with the exciter 14 described later, and various sheet-shaped materials (plate-shaped materials, films) can be used.
  • polyethylene terephthalate PET
  • polypropylene PP
  • polystyrene PS
  • polycarbonate PC
  • polyphenylene sulphite PPS
  • PMMA polymethylmethacrylate
  • PEI polyetherimide
  • Resin film made of polyimide, polyimide (PI), polyethylene naphthalate (PEN), triacetyl cellulose (TAC) and cyclic olefin resin, expanded polystyrene, expanded plastic made of expanded styrene and expanded polyethylene, veneer board, cork board,
  • leathers such as cowhide, carbon sheets, various paperboards such as Japanese paper, and various corrugated cardboard materials obtained by gluing another paperboard on one or both sides of a corrugated paperboard.
  • the vibrating plate 12 is an organic electroluminescence (OLED (Organic Light Emitting Diode) display, a liquid crystal display, a micro LED (Light Emitting Diode).
  • OLED Organic Light Emitting Diode
  • a display, a display device such as an inorganic electroluminescence display, and a screen for a projector can also be suitably used.
  • the adhesive layer 16 various known adhesive layers can be used as long as the diaphragm 12 and the exciter 14 can be attached. Therefore, the adhesive layer 16 has a fluidity at the time of bonding and becomes a solid after that, even a layer made of an adhesive is a soft gel-like (rubber-like) solid at the time of bonding It may be a layer made of a pressure-sensitive adhesive or a layer having a characteristic of both an adhesive and a pressure-sensitive adhesive, the state of which does not change.
  • the adhesive layer 16 may be formed by applying an adhesive having fluidity such as liquid, or may be formed by using a sheet-like adhesive.
  • the diaphragm 12 is bent and vibrated to generate sound. Therefore, in the electroacoustic transducer 10 of the present invention, it is preferable that the expansion and contraction of the exciter 14 be directly transmitted to the diaphragm 12. If a substance having a viscosity that absorbs vibration is present between the vibrating plate 12 and the exciter 14, the transmission efficiency of the expansion and contraction energy of the exciter 14 to the vibrating plate 12 becomes low, and the electroacoustic transducer 10 is reduced. Drive efficiency is reduced.
  • the adhesive layer 16 is an adhesive layer made of an adhesive, which is more solid and harder than the adhesive layer made of an adhesive.
  • an adhesive layer made of a thermoplastic adhesive such as a polyester adhesive and a styrene-butadiene rubber (SBR) adhesive is preferably exemplified. Adhesion, unlike adhesion, is useful when seeking high adhesion temperatures. Further, the thermoplastic type adhesive is suitable since it has both "relatively low temperature, short time, and strong adhesion".
  • the thickness of the sticking layer 16 is not limited, and a thickness at which sufficient sticking force (adhesive force, adhesive force) can be obtained may be appropriately set according to the material of the sticking layer 16.
  • the thinner the bonding layer 16 the higher the effect of transmitting the expansion and contraction energy (vibration energy) of the exciter 14 transmitted to the diaphragm 12, and the higher the energy efficiency. it can.
  • the sticking layer 16 is thick and has high rigidity, it may restrain the expansion and contraction of the exciter 14.
  • the adhesive layer 16 is preferably thin.
  • the thickness of the sticking layer 16 is preferably 0.1 to 50 ⁇ m, more preferably 0.1 to 30 ⁇ m, and even more preferably 0.1 to 10 ⁇ m after sticking.
  • the adhesive layer 16 is provided as a preferable mode and is not an essential component. Therefore, the electroacoustic transducer 10 may not have the adhesive layer 16, and the diaphragm 12 and the exciter 14 may be fixed to each other by using a known crimping means, fastening means, fixing means, or the like.
  • the electroacoustic transducer may be configured by fastening the four corners with members such as bolts or nuts, or the four corners and the central portion may be formed with members such as bolts and nuts. It may be fastened to form an electroacoustic transducer.
  • the exciter 14 when a drive voltage is applied from the power source PS, the exciter 14 independently expands and contracts with respect to the diaphragm 12, and in some cases, only the exciter 14 bends to expand and contract the exciter 14. Is not transmitted to the diaphragm 12. In this way, when the exciter 14 independently expands and contracts with respect to the vibration plate 12, the vibration efficiency of the vibration plate 12 by the exciter 14 decreases. There is a possibility that the diaphragm 12 cannot be vibrated sufficiently. Considering this point, in the electroacoustic transducer of the present invention, it is preferable that the vibration plate 12 and the exciter 14 are attached to each other with the attachment layer 16 as shown in the illustrated example.
  • the electroacoustic transducer 10 of the present invention has the diaphragm 12 and the exciter 14.
  • the exciter 14 is for vibrating the diaphragm 12 to output sound.
  • both diaphragm 12 and exciter 14 are preferably flexible.
  • the exciter 14 has a configuration in which three piezoelectric films 18 are laminated and the adjacent piezoelectric films 18 are attached by the attachment layer 19.
  • a power supply PS for applying a drive voltage for expanding and contracting the piezoelectric film 18 is connected to each piezoelectric film 18.
  • the piezoelectric film 18 sandwiches a polymer composite piezoelectric body in which piezoelectric particles are dispersed in a matrix containing a polymer material between electrode layers, and more preferably, in a protective layer. It is a pinch. Such a piezoelectric film 18 will be described in detail later.
  • the exciter 14 shown in FIG. 1 is formed by laminating three layers of piezoelectric films 18, but the present invention is not limited to this. That is, in the electroacoustic converter 10 of the present invention, the exciter may have only one layer of the piezoelectric film 18.
  • the number of layers of the piezoelectric films 18 may be two layers or four or more layers. Good.
  • the exciter 14 is not limited to the one in which the piezoelectric films 18 are laminated. That is, in the electroacoustic transducer of the present invention, the exciter preferably has flexibility and satisfies a loss tangent and a spring constant relationship with the diaphragm at a low frequency (1 Hz) described later. If it exists, various configurations are available. Preferably, the exciter satisfies one of the relation of the spring constant with respect to the diaphragm and the loss tangent at a high frequency (1 kHz), which will be described later, and more preferably both conditions.
  • An example of an exciter that can be used in the present invention that satisfies such a condition is, for example, a piezoelectric device in which electrodes are provided on both surfaces of a piezoelectric layer made of a polymer composite piezoelectric material or the like in a viscoelastic matrix having viscoelasticity at room temperature.
  • Examples include exciters, excitons, and the like, each having one layer of the film or a plurality of laminated layers.
  • the polarization direction in the piezoelectric layer the in-plane anisotropy of the piezoelectric property, the laminated and pasted layers, and the folded and laminated layers, which will be described below with respect to the piezoelectric film 18, the same applies to these exciters. Is.
  • the exciter 14 has a loss tangent (tan ⁇ ) at a frequency of 1 Hz measured by dynamic viscoelasticity that has a maximum value within a temperature range of 0 to 50° C.
  • the maximum value in the temperature range of 50 ° C. is 0.08 or more.
  • the product of the thickness of the exciter 14 and the storage elastic modulus (E′) at a frequency of 1 Hz and 25° C. measured by dynamic viscoelasticity is the thickness of the diaphragm 12 and the Young's modulus.
  • the product of the thickness of the exciter 14 and the storage elastic modulus at 25° C. at the frequency of 1 kHz in the master curve obtained from the dynamic viscoelasticity measurement is the thickness of the diaphragm 12.
  • the Young's modulus are 0.3 times or more.
  • the exciter 14 has a loss tangent at a frequency of 1 kHz and 25° C. of less than 0.08 in the master curve obtained from the dynamic viscoelasticity measurement.
  • the electroacoustic transducer 10 of the present invention realizes an electroacoustic transducer having excellent flexibility and preferably also excellent acoustic characteristics.
  • the storage elastic modulus (Young's modulus) and the loss tangent (dynamic viscoelasticity measurement) may be measured by a known method using a dynamic viscoelasticity measuring machine.
  • a dynamic viscoelasticity measuring instrument a DMS6100 viscoelasticity spectrometer manufactured by SII Nanotechnology, Inc. is exemplified.
  • the measurement frequency is 0.1 to 20 Hz (0.1 Hz, 0.2 Hz, 0.5 Hz, 1 Hz, 2 Hz, 5 Hz, 10 Hz and 20 Hz), and the measurement temperature is -20 to 100° C.
  • the heating rate is 2° C./minute (in a nitrogen atmosphere)
  • the sample size is 40 mm ⁇ 10 mm (including the clamp area)
  • the chuck distance is 20 mm.
  • the exciter 14 preferably has the following requirements.
  • (I) Flexibility For example, when gripping in a loosely bent state like newspapers and magazines for portable use, it is constantly subjected to relatively slow and large bending deformation of several Hz or less from the outside. become. At this time, if the exciter 14 is hard, a large bending stress is generated accordingly, which may lead to destruction. Therefore, the exciter 14 is required to have appropriate softness. If the strain energy can be diffused as heat to the outside, the stress can be relaxed. Therefore, the exciter 14 is required to have a moderately large loss tangent when subjected to a relatively slow and large bending deformation of several Hz or less.
  • the exciter 14 is expanded and contracted at a frequency in the audio band of 20 Hz to 20 kHz, and the sound is reproduced by vibrating the diaphragm 12 by the energy of the expansion and contraction. Therefore, in order to increase the transmission efficiency of the vibration energy, the exciter 14 is required to have an appropriate hardness at the frequency in the audio band.
  • the exciter 14 has a maximum loss tangent at a frequency of 1 Hz by dynamic viscoelasticity measurement of 0.08 or more in the temperature range of 0 to 50 ° C., and further, the thickness of the exciter 14 and dynamic viscoelasticity measurement.
  • the product of the storage elastic modulus at a frequency of 1 Hz and 25° C. is 3 times or less than the product of the thickness of the diaphragm 12 and the Young's modulus. That is, in the exciter 14, the maximum value at which the loss tangent at a frequency of 1 Hz measured by dynamic viscoelasticity is 0.08 or more is in the temperature range of 0°C to 50°C.
  • the temperature range of 0 to 50° C. is the temperature range of normal temperature. This indicates that the exciter 14 is soft at room temperature with respect to slow frequency movement and has a large loss tangent, that is, the elastic strain energy is rapidly heated and diffused when bent. ing.
  • the electroacoustic transducer 10 of the present invention has flexibility. Therefore, when not in use, it may be held for a long time in a folded state, a rolled-up state, or the like. At this time, if the loss tangent (internal loss) of the exciter 14 is small, elastic strain energy due to bending is not diffused as heat. As a result, the piezoelectric film 18 is cracked or broken, and the piezoelectric films 18 that are laminated and adhered are separated from each other.
  • the exciter 14 of the electroacoustic transducer 10 of the present invention has a maximum value of the loss tangent at a frequency of 1 Hz in the dynamic viscoelasticity test of 0.08 or more at room temperature, that is, in the temperature range of 0 to 50° C. is there.
  • the exciter 14 can appropriately diffuse elastic strain energy due to bending as heat against a slow movement due to an external force, so that the damage as described above can be prevented, that is, high. Flexibility can be obtained.
  • the maximum value of the loss tangent at a frequency of 1 Hz of the exciter 14 in the temperature range of 0 to 50° C. by the dynamic viscoelasticity test is preferably 0.1 or more, more preferably 0.3 or more.
  • the maximum value of the loss tangent at a frequency of 1 Hz in the dynamic viscoelasticity test at 0 to 50°C is preferably 0.8 or less. It is preferable that the exciter 14 has the maximum value of the loss tangent at a frequency of 1 Hz within a temperature range of 0 to 50° C. in order to more suitably obtain the above-described effects.
  • the diaphragm 12 has a certain degree of rigidity.
  • a highly rigid exciter is combined with such a diaphragm 12, it becomes hard and difficult to bend, and the flexibility of the electroacoustic transducer becomes poor.
  • the product of the thickness of the exciter 14 and the storage elastic modulus at a frequency of 1 Hz and 25 ° C. measured by dynamic viscoelasticity is the thickness of the diaphragm 12 and Young's modulus. Is less than 3 times the product of That is, the exciter 14 has a spring constant of 3 times or less that of the diaphragm 12 for slow movement at room temperature.
  • the exciter 14 can behave softly against slow movements due to external forces such as bending and rolling, that is, good flexibility against slow movements.
  • the product of the thickness of the exciter 14 and the storage elastic modulus at a frequency of 1 Hz and 25 ° C. measured by dynamic viscoelasticity is 1 of the product of the thickness of the diaphragm 12 and Young's modulus. It is preferably equal to or less than twice, and more preferably equal to or less than 0.3 times. There is no limit to the lower limit of the product of the thickness of the exciter 14 and the storage elastic modulus at a frequency of 1 Hz and 25 ° C.
  • the preferred configuration of the exciter 14, and the like storage at a frequency of 1 Hz and 25 ° C. by measuring the thickness of the exciter 14 and the dynamic viscoelasticity with respect to the product of the thickness of the diaphragm 12 and the Young's modulus.
  • the product with the elastic modulus is preferably 0.1 times or more.
  • the electroacoustic transducer 10 of the present invention is soft with respect to slow movements due to external forces such as bending and rolling by the user, and rapidly diffuses elastic strain energy due to bending as heat. It has excellent flexibility.
  • the product of the thickness of the exciter 14 and the storage elastic modulus at a frequency of 1 kHz and 25 ° C. in the master curve obtained from the dynamic viscoelasticity measurement is the thickness of the diaphragm 12 and Young's modulus.
  • the product is preferably 0.3 times or more. That is, it is preferable that the exciter 14 has a spring constant of 0.3 times or more that of the diaphragm 12 in a fast motion at room temperature.
  • the electroacoustic transducer 10 generates a sound by vibrating the diaphragm 12 by expanding and contracting the exciter 14 in the plane direction.
  • the exciter 14 has a certain degree of rigidity (hardness, stiffness) with respect to the diaphragm 12 in the frequency of the audio band (20 Hz to 20 kHz).
  • the product of the thickness of the exciter 14 and the storage elastic modulus at a frequency of 1 kHz and 25 ° C. in the master curve obtained from the dynamic viscoelasticity measurement is multiplied by the thickness of the diaphragm 12 and Young's modulus. It is preferably 0.3 times or more, more preferably 0.5 times or more, further preferably 1.0 times or more.
  • the spring constant of the exciter 14 is preferably 0.3 times or more, more preferably 0.5 times or more, and 1.0 times that of the diaphragm 12 for fast movement at room temperature.
  • the above is more preferable.
  • the rigidity of the exciter 14 with respect to the diaphragm 12 is sufficiently secured, and the electroacoustic converter 10 can output a sound with high sound pressure with high energy efficiency.
  • the thickness of the exciter 14 with respect to the product of the thickness of the diaphragm 12 and the Young's modulus is stored at a frequency of 1 kHz and 25° C. by dynamic viscoelasticity measurement.
  • the product with the elastic modulus is preferably 10 times or less.
  • the exciter 14 preferably has a loss tangent at a frequency of 1 kHz and 25° C. of less than 0.08 in the master curve obtained from the dynamic viscoelasticity measurement. That is, it is preferable that the exciter 14 has a small loss tangent in a fast movement at room temperature.
  • the electroacoustic transducer 10 generates a sound by vibrating the diaphragm 12 by expanding and contracting the exciter 14 in the surface direction. Therefore, it is preferable that the exciter 14 has high energy at frequencies in the audio band.
  • the electroacoustic transducer 10 of the present invention has a loss tangent of the exciter 14 at a frequency of 1 kHz and 25° C. in a master curve obtained from dynamic viscoelasticity measurement, preferably less than 0.08, more preferably less than 0.05. , More preferably less than 0.03.
  • a loss tangent of the exciter 14 at a frequency of 1 kHz and 25° C. in a master curve obtained from dynamic viscoelasticity measurement, preferably less than 0.08, more preferably less than 0.05. , More preferably less than 0.03.
  • the loss tangent of the exciter 14 at a frequency of 1 kHz and 25° C. in the master curve obtained from the dynamic viscoelasticity measurement is 0.01 or more. Is preferable.
  • the exciter 14 has a configuration in which three piezoelectric films 18 are laminated and the adjacent piezoelectric films 18 are attached by the attachment layer 19.
  • FIG. 2 conceptually shows the piezoelectric film 18 in a sectional view.
  • the piezoelectric film 18 includes a piezoelectric layer 20 which is a sheet-like material having piezoelectricity, a lower thin film electrode 24 laminated on one surface of the piezoelectric layer 20, and a lower thin film electrode 24.
  • the piezoelectric film 18 is polarized in the thickness direction as a preferable aspect. Note that the lower protective layer 28 and the upper protective layer 30 are omitted in FIG. 1 in order to simplify the drawing and clearly show the configuration of the exciter 14.
  • the piezoelectric layer 20 has piezoelectric particles 36 dispersed in a viscoelastic matrix 34 made of a polymer material having viscoelasticity at room temperature, as conceptually shown in FIG. It is made of a polymer composite piezoelectric body.
  • a viscoelastic matrix 34 made of a polymer material having viscoelasticity at room temperature, as conceptually shown in FIG. It is made of a polymer composite piezoelectric body.
  • “normal temperature” refers to a temperature range of about 0 to 50° C., as described above.
  • the polymer composite piezoelectric body (piezoelectric layer 20) preferably has the following requirements.
  • (I) Flexibility For example, when gripping in a loosely bent state like newspapers and magazines for portable use, it is constantly subjected to relatively slow and large bending deformation of several Hz or less from the outside. become. At this time, if the polymer composite piezoelectric body is hard, a correspondingly large bending stress is generated, cracks are generated at the interface between the viscoelastic matrix 34 and the piezoelectric particle 36, which may eventually lead to fracture. Therefore, the polymer composite piezoelectric body is required to have appropriate softness. If the strain energy can be diffused as heat to the outside, the stress can be relaxed. Therefore, it is required that the loss tangent of the polymer composite piezoelectric body be appropriately large.
  • the flexible polymer composite piezoelectric material used for the exciter 14 is required to be hard against vibrations of 20 Hz to 20 kHz and soft against vibrations of several Hz or less. Further, the loss tangent of the polymer composite piezoelectric material is required to be appropriately large for vibrations of all frequencies below 20 kHz. Further, it is preferable that the spring constant can be easily adjusted by stacking the materials according to the rigidity of the mating material (vibration plate) to be attached, and in this case, the thinner the adhesive layer 19 is, the higher the energy efficiency is. be able to.
  • a polymer solid has a viscoelastic relaxation mechanism, and a large-scale molecular motion is accompanied by a decrease in the storage elastic modulus (Young's modulus) (relaxation) or a maximum of the loss elastic modulus (absorption) as the temperature increases or the frequency decreases. Is observed as. Among them, relaxation caused by micro Brownian motion of molecular chains in the amorphous region is called main dispersion, and a very large relaxation phenomenon is observed. The temperature at which this main dispersion occurs is the glass transition point (Tg), and the viscoelastic relaxation mechanism is most prominent.
  • Tg glass transition point
  • the polymer composite piezoelectric body (piezoelectric layer 20), by using a polymer material having a glass transition point at room temperature, in other words, a polymer material having viscoelasticity at room temperature, for a vibration of 20 Hz to 20 kHz, It is possible to realize a polymer composite piezoelectric material that is hard for a long time and soft for a slow vibration of several Hz or less.
  • a polymer material having a glass transition temperature at room temperature that is, 0 to 50° C. at a frequency of 1 Hz, for the matrix of the polymer composite piezoelectric body, from the viewpoint that this behavior is suitably exhibited.
  • the polymer material having viscoelasticity at room temperature Various known materials can be used as the polymer material having viscoelasticity at room temperature.
  • a polymer material whose maximum value of loss tangent (Tan ⁇ ) at a frequency of 1 Hz by a dynamic viscoelasticity test at room temperature is 0.5 or more is used as the polymer material.
  • Tan ⁇ loss tangent
  • the polymer material having viscoelasticity at room temperature preferably has a storage elastic modulus (E′) at a frequency of 1 Hz measured by dynamic viscoelasticity of 100 MPa or more at 0° C. and 10 MPa or less at 50° C.
  • E′ storage elastic modulus
  • the polymer material having viscoelasticity at room temperature has a relative dielectric constant of 10 or more at 25°C.
  • a voltage is applied to the polymer composite piezoelectric body, a higher electric field is applied to the piezoelectric body particles in the polymer matrix, so that a large amount of deformation can be expected.
  • the polymer material has a relative permittivity of 10 or less at 25 ° C.
  • polymer material having viscoelasticity at room temperature satisfying such conditions examples include cyanoethylated polyvinyl alcohol (cyanoethylated PVA), polyvinyl acetate, polyvinylidene chloride core acrylonitrile, polystyrene-vinyl polyisoprene block copolymer, and polyvinylmethyl. Examples thereof include ketones and polybutyl methacrylate. Further, as these polymer materials, commercially available products such as High Blur 5127 (manufactured by Kuraray Co., Ltd.) can also be suitably used.
  • High Blur 5127 manufactured by Kuraray Co., Ltd.
  • a material having a cyanoethyl group is preferably used as the polymer material, and cyanoethylated PVA is particularly preferably used.
  • these polymer materials may use only 1 type, and may use a plurality of types in combination (mixing).
  • the viscoelastic matrix 34 using such a polymer material having viscoelasticity at room temperature may use a plurality of polymer materials in combination, if necessary. That is, in addition to a viscoelastic material such as cyanoethylated PVA, another dielectric polymer material may be added to the viscoelastic matrix 34 for the purpose of adjusting dielectric properties and mechanical properties, etc. good.
  • a viscoelastic material such as cyanoethylated PVA
  • another dielectric polymer material may be added to the viscoelastic matrix 34 for the purpose of adjusting dielectric properties and mechanical properties, etc. good.
  • dielectric polymer material examples include polyvinylidene fluoride, vinylidene fluoride-tetrafluoroethylene copolymer, vinylidene fluoride-trifluoroethylene copolymer, polyvinylidene fluoride-trifluoroethylene copolymer.
  • fluoropolymers such as polyvinylidene fluoride-tetrafluoroethylene copolymer, vinylidene cyanide-vinyl acetate copolymer, cyanoethyl cellulose, cyanoethyl hydroxysaccharose, cyanoethyl hydroxycellulose, cyanoethyl hydroxypullulan, cyanoethyl methacrylate, cyanoethyl acrylate, cyanoethyl Cyano groups such as hydroxyethyl cellulose, cyanoethyl amylose, cyanoethyl hydroxypropyl cellulose, cyanoethyl dihydroxypropyl amylose, cyanoethyl polyacrylamide, cyanoethyl polyacrylate, cyanoethyl pullulan, cyanoethyl polyhydroxymethylene, cyanoethyl glycidol pullulan, cyanoethyl
  • a polymer material having a cyanoethyl group is preferably used.
  • the dielectric polymer added in addition to the material having viscoelasticity at room temperature such as cyanoethylated PVA is not limited to one type, and a plurality of types are added. Good.
  • the viscoelastic matrix 34 includes a thermoplastic resin such as vinyl chloride resin, polyethylene, polystyrene, methacrylic resin, polybutene, and isobutylene for the purpose of adjusting the glass transition point Tg, and Thermosetting resins such as phenol resin, urea resin, melamine resin, alkyd resin, and mica may be added. Further, a tackifier such as rosin ester, rosin, terpene, terpene phenol, and petroleum resin may be added to the viscoelastic matrix 34 for the purpose of improving tackiness.
  • a thermoplastic resin such as vinyl chloride resin, polyethylene, polystyrene, methacrylic resin, polybutene, and isobutylene for the purpose of adjusting the glass transition point Tg
  • Thermosetting resins such as phenol resin, urea resin, melamine resin, alkyd resin, and mica may be added.
  • a tackifier such as ros
  • the amount of the viscoelastic matrix 34 of the piezoelectric layer 20 to be added when a material other than a viscoelastic polymeric material such as cyanoethylated PVA is added is preferably 30% by mass or less.
  • the characteristics of the polymer material to be added can be expressed without impairing the viscoelastic relaxation mechanism in the viscoelastic matrix 34, so that the dielectric constant is increased, the heat resistance is improved, and the adhesion to the piezoelectric particles 36 and the electrode layer is improved. Preferred results can be obtained in terms of improvement and the like.
  • the piezoelectric particles 36 are made of ceramic particles having a perovskite type or wurtzite type crystal structure.
  • the ceramic particles forming the piezoelectric particles 36 include lead zirconate titanate (PZT), lead lanthanum zirconate titanate (PLZT), barium titanate (BaTiO 3 ), zinc oxide (ZnO), and
  • An example is a solid solution (BFBT) of barium titanate and bismuth ferrite (BiFe 3 ). These piezoelectric particles 36 may be used alone or in combination (mixed).
  • the particle size of the piezoelectric particles 36 is not limited, and may be appropriately selected depending on the size of the piezoelectric film 18, the use of the exciter 14, and the like.
  • the particle size of the piezoelectric particles 36 is preferably 1 to 10 ⁇ m. By setting the particle size of the piezoelectric particles 36 within this range, preferable results can be obtained in that the piezoelectric film 18 can have both high piezoelectric characteristics and flexibility.
  • the piezoelectric particles 36 in the piezoelectric layer 20 are uniformly and regularly dispersed in the viscoelastic matrix 34, but the present invention is not limited to this. That is, the piezoelectric particles 36 in the piezoelectric layer 20 may be irregularly dispersed in the viscoelastic matrix 34 as long as they are preferably uniformly dispersed.
  • the amount ratio of the viscoelastic matrix 34 to the piezoelectric particles 36 in the piezoelectric layer 20 is preferably 30 to 80%. Further, the volume fraction of the piezoelectric particles 36 in the piezoelectric layer 20 is more preferably 50% or more, and therefore, more preferably 50 to 80%.
  • the thickness of the piezoelectric layer 20 is not particularly limited, depending on the application of the electroacoustic transducer 10, the number of laminated piezoelectric films in the exciter 14, the characteristics required for the piezoelectric film 18, and the like. It may be set appropriately.
  • the thickness of the piezoelectric layer 20 is preferably 10 to 300 ⁇ m, more preferably 20 to 200 ⁇ m, and even more preferably 30 to 150 ⁇ m. By setting the thickness of the piezoelectric layer 20 within the above range, favorable results can be obtained in terms of ensuring both rigidity and appropriate flexibility.
  • the piezoelectric film 18 of the illustrated example has a lower thin film electrode 24 on one surface of such a piezoelectric layer 20, a lower protective layer 28 on the lower thin film electrode 24, and the piezoelectric layer 20.
  • An upper thin film electrode 26 is provided on the other surface, and an upper protective layer 30 is provided on the upper thin film electrode 26.
  • the upper thin film electrode 26 and the lower thin film electrode 24 form an electrode pair.
  • the lower thin film electrode 24 and the lower protective layer 28, and the upper and lower parts of the upper thin film electrode 26 and the upper protective layer 30 are referred to as reference to the drawings for convenience in order to explain the piezoelectric film 12. It is given a name.
  • the piezoelectric film 18 has, for example, an upper thin film electrode 26 and an electrode drawing portion for drawing out the electrode from the lower thin film electrode 24, and the electrode drawing portion is connected to the power supply PS. Further, the piezoelectric film 18 may have an insulating layer or the like that covers a region where the piezoelectric layer 20 is exposed and that prevents a short circuit or the like.
  • both surfaces of the piezoelectric layer 20 are sandwiched between electrode pairs, that is, the upper thin film electrode 26 and the lower thin film electrode 24, and this laminated body is sandwiched between the lower protective layer 28 and the upper protective layer 30. It has a configuration. As described above, in the piezoelectric film 18, the region held by the upper thin film electrode 26 and the lower thin film electrode 24 expands and contracts according to the applied voltage.
  • the lower protective layer 28 and the upper protective layer 30 of the piezoelectric film 18 are not essential constitutional requirements but are provided as a preferable aspect.
  • the lower protective layer 28 and the upper protective layer 30 have a role of covering the upper thin film electrode 26 and the lower thin film electrode 24, and of imparting appropriate rigidity and mechanical strength to the piezoelectric layer 20. .. That is, in the piezoelectric film 18, the piezoelectric layer 20 composed of the viscoelastic matrix 34 and the piezoelectric particles 36 exhibits extremely excellent flexibility with respect to slow bending deformation, while depending on the application. , Rigidity and mechanical strength may be insufficient.
  • the piezoelectric film 18 is provided with a lower protective layer 28 and an upper protective layer 30 to supplement the piezoelectric film 18.
  • all the piezoelectric films 18 have both the lower protective layer 28 and the upper protective layer 30.
  • the present invention is not limited to this, and a piezoelectric film having a protective layer and a piezoelectric film not having a protective layer may be mixed.
  • the piezoelectric film may have only the lower protective layer 28 or only the upper protective layer 30.
  • the uppermost piezoelectric film in the drawing has only the upper protective layer 30, the middle piezoelectric film does not have the protective layer, and the lowermost layer.
  • the piezoelectric film of 1 may have only the lower protective layer 28.
  • the lower protective layer 28 and the upper protective layer 30 are not limited, and various sheet-like materials can be used, and as an example, various resin films are preferably exemplified.
  • various resin films are preferably exemplified.
  • PET polyethylene terephthalate
  • PP polypropylene
  • PS polystyrene
  • PC polycarbonate
  • PPS polyphenylene sulphite
  • PMMA polymethylmethacrylate
  • PET polyethylene terephthalate
  • PET polypropylene
  • PS polystyrene
  • PC polycarbonate
  • PPS polyphenylene sulphite
  • PMMA polymethylmethacrylate
  • PEI polyether imide
  • PI polyimide
  • PEN polyethylene naphthalate
  • TAC triacetyl cellulose
  • a cyclic olefin resin resin film are preferably used.
  • the thickness of the lower protective layer 28 and the upper protective layer 30 there is also no limitation on the thickness of the lower protective layer 28 and the upper protective layer 30.
  • the thicknesses of the lower protective layer 28 and the upper protective layer 30 are basically the same, but may be different.
  • the rigidity of the lower protective layer 28 and the upper protective layer 30 is too high, not only the expansion and contraction of the piezoelectric layer 20 are constrained, but also the flexibility is impaired. Therefore, the thinner the lower protective layer 28 and the upper protective layer 30, the more advantageous it is, except when mechanical strength and good handleability as a sheet-like material are required.
  • the thickness of the lower protective layer 28 and the upper protective layer 30 is twice or less the thickness of the piezoelectric layer 20, it is possible to secure rigidity and provide appropriate flexibility. A favorable result can be obtained.
  • the thickness of the piezoelectric layer 20 is 50 ⁇ m and the lower protective layer 28 and the upper protective layer 30 are made of PET
  • the thickness of the lower protective layer 28 and the upper protective layer 30 is preferably 100 ⁇ m or less, more preferably 50 ⁇ m or less. It is preferably 25 ⁇ m or less, and more preferably 25 ⁇ m or less.
  • a lower thin film electrode 24 is formed between the piezoelectric layer 20 and the lower protective layer 28, and an upper thin film electrode 26 is formed between the piezoelectric layer 20 and the upper protective layer 30.
  • the lower thin film electrode 24 is also referred to as the lower electrode 24, and the upper thin film electrode 26 is also referred to as the upper electrode 26.
  • the lower electrode 24 and the upper electrode 26 are provided to apply a voltage to the piezoelectric layer 20 (piezoelectric film 18).
  • the material for forming the lower electrode 24 and the upper electrode 26 is not limited, and various conductors can be used. Specifically, carbon, palladium, iron, tin, aluminum, nickel, platinum, gold, silver, copper, titanium, chromium, molybdenum and the like, alloys thereof, laminates and composites of these metals and alloys, and Examples thereof include indium tin oxide. Among them, copper, aluminum, gold, silver, platinum, and indium tin oxide are preferably exemplified as the lower electrode 24 and the upper electrode 26.
  • a vapor phase deposition method such as vacuum deposition and sputtering, film formation by plating, or sticking a foil formed of the above material.
  • a wearing method can be used.
  • thin films such as copper and aluminum formed by vacuum vapor deposition are preferably used as the lower electrode 24 and the upper electrode 26 because the flexibility of the piezoelectric film 18 can be ensured.
  • a copper thin film produced by vacuum deposition is preferably used.
  • the thicknesses of the lower electrode 24 and the upper electrode 26 are basically the same, but may be different.
  • the thickness of the lower electrode 24 and the upper electrode 26 and Young's modulus is less than the product of the thickness of the lower protective layer 28 and the upper protective layer 30 and Young's modulus, the flexibility is increased. It is preferable because it is not damaged.
  • the lower protective layer 28 and the upper protective layer 30 are PET (Young's modulus: about 5 GPa), and the lower electrode 24 and the upper electrode 26 are copper (Young's modulus: about 130 GPa).
  • the thickness of the lower protective layer 28 and the upper protective layer 30 is 25 ⁇ m
  • the thickness of the lower electrode 24 and the upper electrode 26 is preferably 1.0 ⁇ m or less, more preferably 0.3 ⁇ m or less. Above all, it is preferably 0.1 ⁇ m or less.
  • the piezoelectric layer 20 in which the piezoelectric particles 36 are dispersed in the viscoelastic matrix 34 containing a polymer material having viscoelasticity at room temperature is sandwiched by the lower electrode 24 and the upper electrode 26. Further, the laminated body has a structure in which the lower protective layer 28 and the upper protective layer 30 are sandwiched.
  • the maximum value of the loss tangent (Tan ⁇ ) at a frequency of 1 Hz measured by dynamic viscoelasticity is preferably present at room temperature, and the maximum value of 0.1 or more is present at room temperature. More preferable.
  • the piezoelectric film 18 is subjected to a relatively slow and large bending deformation of several Hz or less from the outside, the strain energy can be effectively diffused as heat to the outside. It is possible to prevent cracks from occurring at the interface of.
  • the piezoelectric film 18 preferably has a storage elastic modulus (E') at a frequency of 1 Hz as measured by dynamic viscoelasticity measurement of 10 to 30 GPa at 0 ° C. and 1 to 10 GPa at 50 ° C. This allows the piezoelectric film 18 to have a large frequency dispersion in the storage elastic modulus at room temperature. That is, it can behave hard for vibrations of 20 Hz to 20 kHz and soft for vibrations of several Hz or less.
  • E' storage elastic modulus
  • the product of the thickness and the storage elastic modulus at a frequency of 1 Hz by dynamic viscoelasticity measurement is 1.0 ⁇ 10 6 to 2.0 ⁇ 10 6 N / m at 0 ° C. and 50 ° C. It is preferably 1.0 ⁇ 10 5 to 1.0 ⁇ 10 6 N/m. This allows the piezoelectric film 18 to have appropriate rigidity and mechanical strength as long as the flexibility and acoustic characteristics are not impaired.
  • the piezoelectric film 18 preferably has a loss tangent of 0.05 or more at 25° C. and a frequency of 1 kHz in the master curve obtained from the dynamic viscoelasticity measurement. As a result, the frequency characteristic of the speaker using the piezoelectric film 18 becomes smooth, and the amount of change in the sound quality when the minimum resonance frequency f 0 changes due to the change in the curvature of the speaker can be reduced.
  • a sheet-like material 18 a having a lower electrode 24 formed on a lower protective layer 28 is prepared.
  • the sheet-like material 18a may be produced by forming a copper thin film or the like as the lower electrode 24 on the surface of the lower protective layer 28 by vacuum deposition, sputtering, plating or the like.
  • the lower protective layer 28 with a separator temporary support
  • PET or the like having a thickness of 25 to 100 ⁇ m can be used.
  • the separator may be removed after thermocompression bonding the upper electrode 26 and the upper protective layer 30 and before laminating any member on the lower protective layer 28.
  • a polymer material (hereinafter also referred to as viscoelastic material) having viscoelasticity at room temperature such as cyanoethylated PVA is dissolved in an organic solvent, and further piezoelectric particles 36 such as PZT particles are added and stirred.
  • the organic solvent is not limited, and various organic solvents such as dimethylformamide (DMF), methylethylketone, and cyclohexanone can be used.
  • a laminated body 18b having the lower electrode 24 on the lower protective layer 28 and forming the piezoelectric layer 20 on the lower electrode 24 is produced.
  • the lower electrode 24 is an electrode on the base material side when the piezoelectric layer 20 is applied, and does not indicate the vertical positional relationship in the laminated body.
  • the casting method of this paint is not particularly limited, and all known methods (coating devices) such as a slide coater and a doctor knife can be used.
  • the viscoelastic material is a material that can be heated and melted, such as cyanoethylated PVA, the viscoelastic material is heated and melted, and a melt obtained by adding/dispersing the piezoelectric particles 36 thereto is produced and extruded.
  • the lower electrode 24 is provided on the lower protective layer 28 as shown in FIG.
  • a laminated body 18b formed by forming a piezoelectric layer 20 on the top may be produced.
  • a polymer piezoelectric material such as PVDF may be added in addition to the viscoelastic material such as cyanoethylated PVA.
  • the polymeric piezoelectric material added to the above-mentioned paint may be dissolved.
  • the polymer piezoelectric material to be added may be added to the above-mentioned heat-melted viscoelastic material and heat-melted.
  • the method of polarization treatment of the piezoelectric layer 20 is not limited, and a known method can be used. As a preferable polarization treatment method, the methods shown in FIGS. 5 and 6 are exemplified.
  • a rod-like or wire-like shape that can be moved along the upper surface 20a with a gap g of, for example, 1 mm is provided on the upper surface 20a of the piezoelectric layer 20 of the laminated body 18b.
  • the corona electrode 40 is provided. Then, the corona electrode 40 and the lower electrode 24 are connected to the DC power supply 42. Further, a heating means for heating and holding the laminated body 18b, for example, a hot plate is prepared.
  • a direct current of several kV, for example, 6 kV is applied between the DC power supply 42 and the lower electrode 24 and the corona electrode 40.
  • a voltage is applied to cause corona discharge.
  • the corona electrode 40 is moved (scanned) along the upper surface 20a of the piezoelectric layer 20 while maintaining the interval g to perform the polarization treatment of the piezoelectric layer 20. As a result, the piezoelectric layer 20 is polarized in the thickness direction.
  • the corona electrode 40 may be moved by using a known rod-shaped moving means.
  • the method of moving the corona electrode 40 is not limited. That is, the corona electrode 40 may be fixed and a moving mechanism for moving the laminated body 18b may be provided, and the laminated body 18b may be moved for polarization treatment.
  • a known sheet moving means may be used to move the laminated body 18b.
  • the number of corona electrodes 40 is not limited to one, and corona poling treatment may be performed using a plurality of corona electrodes 40.
  • the polarization treatment is not limited to the corona poling treatment, and a normal electric field poling in which a direct current electric field is directly applied to the subject to which the polarization treatment is applied can also be used.
  • this normal electric field poling it is necessary to form the upper electrode 26 before the polarization treatment.
  • calender treatment may be performed to smooth the surface of the piezoelectric layer 20 using a heating roller or the like. By performing this calendering process, the thermocompression bonding process described below can be performed smoothly.
  • a sheet-like material 18c in which the upper electrode 26 is formed on the upper protective layer 30 is prepared.
  • the sheet-like material 18c may be produced by forming a copper thin film or the like as the upper electrode 26 on the surface of the upper protective layer 30 by vacuum deposition, sputtering, plating or the like.
  • the upper electrode 26 is directed toward the piezoelectric layer 20, and the sheet-like material 18c is laminated on the laminated body 18b that has undergone the polarization treatment of the piezoelectric layer 20.
  • the laminated body of the laminated body 18b and the sheet-like material 18c is thermocompression-bonded by a heating press device or a pair of heating rollers so as to sandwich the upper protective layer 30 and the lower protective layer 28, and the piezoelectric film 18 is formed. To make.
  • the exciter 14 has a structure in which such piezoelectric films 18 are laminated and adhered with an adhesive layer 19 as a preferred embodiment.
  • the exciter 14 of the illustrated example as a preferable mode, as shown by an arrow attached to the piezoelectric layer 20 in FIG. 1, the polarization directions in the adjacent piezoelectric films 18 are opposite to each other.
  • a general laminated ceramic piezoelectric element in which piezoelectric ceramics are laminated is subjected to polarization treatment after a laminated body of piezoelectric ceramics is manufactured. Since only the common electrode exists at the interface of each piezoelectric layer, the polarization direction of each piezoelectric layer alternates in the stacking direction.
  • the piezoelectric film 18 constituting the exciter 14 in the illustrated example can be polarized in the state of the piezoelectric film 18 before laminating.
  • the piezoelectric film 18 preferably undergoes a polarization treatment of the piezoelectric layer 20 by a corona polling treatment before laminating the upper electrode 26 and the upper protective layer 30, as shown in FIGS. 5 and 6. Therefore, the exciter 14 can be produced by laminating the polarization-treated piezoelectric film 18.
  • a long piezoelectric film (large-area piezoelectric film) subjected to polarization treatment is produced, cut into individual piezoelectric films 18, and then the piezoelectric films 18 are laminated to form an exciter 14. Therefore, the exciter 14 can align the polarization directions of the adjacent piezoelectric films 18 in the stacking direction, or can alternate as shown in FIG.
  • the polarization directions of the adjacent piezoelectric films 18 are reversed from each other, a plurality of layers (three layers in the illustrated example) of the piezoelectric films 18 are laminated, and the adjacent piezoelectric films 18 are attached. It has a structure in which the layer 19 is attached.
  • the adhesive layer 19 may be the above-mentioned layer made of an adhesive, a layer made of a pressure-sensitive adhesive, or a layer made of a material having characteristics of both an adhesive and a pressure-sensitive adhesive.
  • the adhesive layer 19 may be formed by applying an adhesive having fluidity such as liquid, or may be formed by using a sheet-like adhesive.
  • the exciter 14 expands and contracts the plurality of laminated piezoelectric films 18 to vibrate the vibrating plate 12 to generate sound, for example, as described later.
  • the adhesive layer 19 is an adhesive layer made of an adhesive, which is more solid and harder than the adhesive layer made of an adhesive.
  • an adhesive layer made of a thermoplastic type adhesive such as a polyester adhesive and a styrene-butadiene rubber (SBR) adhesive is preferably exemplified. Adhesion, unlike adhesion, is useful when seeking high adhesion temperatures. Further, the thermoplastic type adhesive is suitable since it has both "relatively low temperature, short time, and strong adhesion".
  • the thickness of the adhesive layer 19 there is no limitation on the thickness of the adhesive layer 19, and a thickness capable of exhibiting a sufficient adhesive force may be appropriately set according to the forming material of the adhesive layer 19.
  • the thinner the adhesive layer 19 is, the higher the transmission effect of the expansion/contraction energy (vibration energy) of the piezoelectric layer 20 and the higher the energy efficiency.
  • the sticking layer 19 is thick and has high rigidity, the expansion and contraction of the piezoelectric film 18 may be restricted.
  • the sticking layer 19 is preferably thinner than the piezoelectric layer 20. That is, in the exciter 14, the sticking layer 19 is preferably hard and thin.
  • the thickness of the adhesive layer 19 is preferably from 0.1 to 50 ⁇ m, more preferably from 0.1 to 30 ⁇ m, even more preferably from 0.1 to 10 ⁇ m in terms of the thickness after adhesion.
  • the polarization directions of the adjacent piezoelectric films are opposite to each other, and there is no risk of the adjacent piezoelectric films 18 short-circuiting, so that the adhesive layer 19 can be made thin.
  • the spring constant of the sticking layer 19 is preferably equal to or less than the spring constant of the piezoelectric film 18.
  • the product of the thickness of the adhesive layer 19 and the storage elastic modulus (E′) at a frequency of 1 Hz measured by dynamic viscoelasticity is 2.0 ⁇ 10 6 N/m or less at 0° C., 50 It is preferably 1.0 ⁇ 10 6 N / m or less at ° C.
  • the internal loss at a frequency of 1 Hz measured by dynamic viscoelasticity of the adhesive layer is 1.0 or less at 25° C. in the case of the adhesive layer 19 made of an adhesive, and the internal loss of the adhesive layer 19 made of an adhesive. It is preferably 0.1 or less at 25 ° C.
  • the sticking layer 19 is provided as a preferred embodiment and is not an essential component. Therefore, when the exciter constituting the electroacoustic converter 10 of the present invention is a laminate of the piezoelectric films 18, it does not have a bonding layer 19, and is known as a crimping means, a fastening means, and a fixing means.
  • the piezoelectric films 18 constituting the exciter may be laminated and brought into close contact with each other to form the exciter.
  • the piezoelectric film 18 is rectangular, the four corners may be fastened with members such as bolts and nuts to form an exciter, or the four corners and the central portion may be fastened with members such as bolts and nuts.
  • the laminated piezoelectric film 18 may be fixed by attaching an adhesive tape to the peripheral portion (end face) to form an exciter.
  • the individual piezoelectric films 18 expand and contract independently, and in some cases, each layer of each piezoelectric film 18 bends in the opposite direction to form a gap. Will end up.
  • the drive efficiency as an exciter decreases, the expansion and contraction of the exciter as a whole becomes small, and the diaphragm and the like that come into contact with each other vibrate sufficiently.
  • the exciter constituting the electroacoustic converter of the present invention has a sticking layer 19 for adhering adjacent piezoelectric films 18 to each other as in the exciter 14 of the illustrated example.
  • the product of the thickness of the exciter 14 and the storage elastic modulus at a frequency of 1 Hz and 25° C. measured by dynamic viscoelasticity is 3 times the product of the thickness of the diaphragm 12 and the Young's modulus. It is less than twice. That is, the exciter 14 has a spring constant of 3 times or less that of the diaphragm 12 for slow movement at room temperature.
  • the product of the thickness of the exciter 14 and the storage elastic modulus at a frequency of 1 Hz and 25° C. measured by dynamic viscoelasticity includes not only the thickness of the adhesive layer 19 but also the adhesive layer. Physical properties such as the storage elastic modulus of 19 also greatly affect.
  • the thickness of the adhesive layer 19 is set so that the spring constant of the exciter 14 is not more than 3 times the spring constant of the diaphragm 12 with respect to the slow movement at room temperature.
  • the material (type), and the thickness and material of the diaphragm 12 are preferably selected as appropriate.
  • the thickness and material of the adhesive layer 19 and the thickness and material of the diaphragm 12 should be appropriately selected according to the characteristics of the piezoelectric film 18 and the like. Then, preferably, the spring constant of the exciter 14 with respect to the slow movement at room temperature can be set to 3 times or less than the spring constant of the diaphragm 12.
  • each piezoelectric film 18 is connected to a power supply PS that applies a drive voltage for expanding and contracting the piezoelectric film 18.
  • the power source PS is not limited and may be a DC power source or an AC power source.
  • a driving voltage capable of appropriately driving each piezoelectric film 18 may be set appropriately according to the thickness of the piezoelectric layer 20 of each piezoelectric film 18, the forming material, and the like. As will be described later, in the exciter 14 of the illustrated example, the polarization directions of the adjacent piezoelectric films 18 are opposite.
  • the lower electrodes 24 face each other and the upper electrodes 26 face each other. Therefore, regardless of whether the power source PS is an AC power source or a DC power source, the facing electrodes are always supplied with power of the same polarity.
  • the facing electrodes are always supplied with power of the same polarity.
  • electric power of the same polarity is always supplied to the upper electrode 26 of the lowermost piezoelectric film 18 and the upper electrode 26 of the second (middle) piezoelectric film 18 in the figure.
  • Electric power of the same polarity is always supplied to the lower electrode 24 of the second-layer piezoelectric film 18 and the lower electrode 24 of the uppermost piezoelectric film 18 in the figure.
  • the method of extracting the electrodes from the lower electrode 24 and the upper electrode 26 there is no limitation on the method of extracting the electrodes from the lower electrode 24 and the upper electrode 26, and various known methods can be used.
  • a method of filling the through hole with a conductive material and pulling out the electrode to the outside, and the like are exemplified.
  • suitable electrode extraction methods include the methods described in JP-A-2014-209724 and the methods described in JP-A-2016-015354.
  • the exciter 14 has a configuration in which a plurality of layers of piezoelectric films 18 are laminated and adjacent piezoelectric films 18 are bonded to each other by a bonding layer 19. Further, in the exciter 14 of the illustrated example, the polarization directions of the adjacent piezoelectric films 18 are opposite to each other. That is, in the exciter 14 of the illustrated example, the piezoelectric films 18 are laminated so that the polarization directions alternate toward the lamination direction (thickness direction) of the piezoelectric films 18.
  • the electroacoustic converter 10 of the present invention shown in FIG. 1 is configured by attaching the diaphragm 12 to such an exciter 14 by the attachment layer 16.
  • the exciter 14 is formed by laminating a plurality of layers of piezoelectric films 18.
  • the piezoelectric layer 20 that constitutes the piezoelectric film 18 is formed by dispersing piezoelectric particles 36 in a viscoelastic matrix 34.
  • the lower electrode 24 and the upper electrode 26 are provided so as to sandwich the piezoelectric layer 20 in the thickness direction.
  • the piezoelectric particles 36 expand and contract in the polarization direction according to the applied voltage.
  • the piezoelectric film 18 contracts in the thickness direction.
  • the piezoelectric film 18 also expands and contracts in the in-plane direction. This expansion and contraction is about 0.01 to 0.1%.
  • the thickness of the piezoelectric layer 20 is preferably about 10 to 300 ⁇ m. Therefore, the expansion and contraction in the thickness direction is as small as about 0.3 ⁇ m at the maximum.
  • the piezoelectric film 18, that is, the piezoelectric layer 20 has a size much larger than the thickness in the surface direction. Therefore, for example, when the length of the piezoelectric film 18 is 20 cm, the piezoelectric film 18 expands and contracts by a maximum of about 0.2 mm when a voltage is applied.
  • the vibration plate 12 is attached to the exciter 14 by the attachment layer 16. Therefore, the expansion and contraction of the piezoelectric film 18 causes the diaphragm 12 to bend, and as a result, the diaphragm 12 vibrates in the thickness direction.
  • the vibration plate 12 generates a sound due to the vibration in the thickness direction. That is, the vibrating plate 12 vibrates according to the magnitude of the voltage (driving voltage) applied to the piezoelectric film 18, and generates a sound according to the driving voltage applied to the piezoelectric film 18.
  • a general piezoelectric film made of a polymer material such as PVDF the molecular chains are oriented with respect to the stretching direction by stretching in the uniaxial direction after the polarization treatment, and as a result, a large piezoelectric property is exhibited in the stretching direction. It is known to be obtained. Therefore, a general piezoelectric film has in-plane anisotropy in piezoelectric characteristics, and has anisotropy in the amount of expansion and contraction in the plane direction when a voltage is applied.
  • the piezoelectric film 18 made of a polymer composite piezoelectric body in which the piezoelectric particles 36 are dispersed in the viscoelastic matrix 34 constituting the exciter 14 is subjected to polarization treatment. Since a large piezoelectric characteristic can be obtained without performing a stretching process later, the piezoelectric characteristic has no in-plane anisotropy and isotropically expands and contracts in all directions in the in-plane direction. That is, in the electroacoustic transducer 10 of the illustrated example, the piezoelectric film 18 forming the exciter 14 isotropically expands and contracts two-dimensionally.
  • the force is larger than that in the case of laminating a general piezoelectric film such as PVDF that expands and contracts greatly in only one direction.
  • the diaphragm 12 can be vibrated. As a result, the diaphragm 12 can generate a larger and beautiful sound.
  • the exciter 14 in the illustrated example is formed by laminating a plurality of such piezoelectric films 18.
  • the piezoelectric films 18 adjacent to each other are further adhered by an adhesive layer 19. Therefore, even if the rigidity of each piezoelectric film 18 is low and the expansion/contraction force is small, by stacking the piezoelectric films 18, the rigidity is increased and the expansion/contraction force as the exciter 14 is increased. As a result, the exciter 14 sufficiently vibrates the vibrating plate 12 with a large force and vibrates the vibrating plate 12 in the thickness direction sufficiently even if the vibrating plate 12 has a certain degree of rigidity. Sound can be generated on the plate 12.
  • the preferable thickness of the piezoelectric layer 20 is about 300 ⁇ m at the maximum, so that even if the voltage applied to each piezoelectric film 18 is small, the piezoelectric film 18 is sufficiently small. Can be expanded and contracted.
  • the piezoelectric layers 20 of the adjacent piezoelectric films 18 have polarization directions opposite to each other.
  • the polarity of the voltage applied to the piezoelectric layer 20 depends on the polarization direction. Therefore, the polarity of the applied voltage is the polarity of the electrode on the side of the arrow (downstream of the arrow) and the polarity of the electrode on the opposite side (upstream of the arrow) in the polarization direction shown by the arrow in FIG. , All the piezoelectric films 18 are matched.
  • the electrode on the side of the arrow indicating the polarization direction is the lower electrode 24, and the opposite electrode is the upper electrode 26.
  • the polarities of the upper electrode 26 and the lower electrode 24 are the same. Make it polar. Therefore, in the exciter 14 in which the polarization directions of the piezoelectric layers 20 of the adjacent piezoelectric films 18 are opposite to each other, in the adjacent piezoelectric films 18, the upper electrodes 26 face each other on one surface and the lower electrodes on the other surface. The electrodes face each other. Therefore, in the exciter 14 of the illustrated example, even if the electrodes of the adjacent piezoelectric films 18 come into contact with each other, there is no risk of short-circuiting.
  • the adhesive layer 19 thin so that the adhesive layer 19 does not hinder the expansion/contraction of the piezoelectric layer 20.
  • the sticking layer 19 may be omitted, and the sticking layer 19 is provided as a preferred embodiment. Even in such a case, the adhesive layer 19 can be made extremely thin if the necessary adhesive force is obtained. Therefore, the exciter 14 can be expanded and contracted with high energy efficiency.
  • the absolute amount of expansion/contraction of the piezoelectric layer 20 in the thickness direction is very small, and the expansion/contraction of the piezoelectric film 18 is substantially only in the plane direction. Therefore, even if the polarization directions of the laminated piezoelectric films 18 are opposite, all the piezoelectric films 18 expand and contract in the same direction as long as the polarities of the voltages applied to the lower electrode 24 and the upper electrode 26 are correct.
  • the polarization direction of the piezoelectric film 18 may be detected with a d33 meter or the like. Alternatively, the polarization direction of the piezoelectric film 18 may be found from the processing conditions of the corona poling processing described above.
  • the exciter 14 of the illustrated example preferably prepares a long (large area) piezoelectric film and cuts the long piezoelectric film into individual piezoelectric films 18 as described above. Therefore, in this case, the plurality of piezoelectric films 18 constituting the exciter 14 are all the same.
  • the invention is not so limited.
  • the exciter has a structure in which piezoelectric films having different layer configurations, such as a piezoelectric film having a lower protective layer 28 and an upper protective layer 30 and a piezoelectric film having no upper protective layer 30, are laminated, and Various configurations can be used, such as a configuration in which piezoelectric films having different thicknesses of the piezoelectric layer 20 are laminated.
  • the exciter 14 laminates a plurality of piezoelectric films 18 by laminating the adjacent piezoelectric films with their polarization directions being reversed, and adhering the adjacent piezoelectric films 18 in a preferable mode.
  • the adhesive layer 19 is applied.
  • the exciter formed by laminating the piezoelectric films is not limited to this, and various configurations can be used.
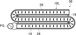
  • FIG. 8 shows an example thereof. Since the exciter 56 shown in FIG. 8 uses a plurality of the same members as the exciter 14 described above, the same members are designated by the same reference numerals, and the description will be given mainly to different parts.
  • the exciter 56 shown in FIG. 8 is a more preferable embodiment of the exciter used in the electroacoustic converter of the present invention, in which a long piezoelectric film 18L is folded back, for example, once or more, preferably a plurality of times in the longitudinal direction. Thus, a plurality of layers of the piezoelectric film 18L are laminated. Further, similarly to the exciter 14 shown in FIG. 1 and the like described above, in the exciter 56 shown in FIG.
  • the piezoelectric film 18L laminated by folding back is attached by the attachment layer 19.
  • the polarization direction of the piezoelectric film 18L adjacent (facing) in the laminating direction is as shown by an arrow in FIG. , In the opposite direction.
  • the exciter 56 can be configured with only one long piezoelectric film 18L. Further, according to this configuration, only one power supply PS for applying the drive voltage is required, and further, the electrode may be pulled out from the piezoelectric film 18L at one place. Therefore, according to the exciter 56 shown in FIG. 8, the number of parts can be reduced, the configuration can be simplified, the reliability of the piezoelectric element (module) can be improved, and the cost can be further reduced.
  • the core rod 58 into the folded portion of the piezoelectric film 18L in contact with the piezoelectric film 18L.
  • the lower electrode 24 and the upper electrode 26 of the piezoelectric film 18L are formed of a metal vapor-deposited film or the like. If the metal vapor-deposited film is bent at an acute angle, cracks and the like are likely to occur, and the electrodes may be broken. That is, in the exciter 56 shown in FIG. 8, cracks and the like are likely to occur in the electrodes inside the bent portion.
  • the core rod 58 is inserted into the folded portion of the piezoelectric film 18L to prevent the lower electrode 24 and the upper electrode 26 from being bent. It is possible to preferably prevent disconnection from occurring.
  • the exciter may use the adhesive layer 19 having conductivity.
  • the conductive adhesive layer 19 is preferably used.
  • the facing electrodes are supplied with electric power of the same polarity. Therefore, a short circuit does not occur between the facing electrodes.
  • the electrode is likely to be broken inside the bent portion that is folded back at an acute angle. Therefore, by sticking the laminated piezoelectric film 18L by the sticking layer 19 having conductivity, even if the electrode is broken inside the bent portion, the sticking layer 19 can ensure the continuity, so that the breaking of the wire can be prevented. This can be prevented and the reliability of the exciter 56 can be significantly improved.
  • the piezoelectric film 18L constituting the exciter 56 preferably has a lower protective layer 28 and an upper protective layer so as to face the lower electrode 24 and the upper electrode 26 and sandwich the laminate, as shown in FIG. Has 30.
  • the piezoelectric film 18L has a protective layer
  • through holes are provided in the lower protective layer 28 and the upper protective layer 30 in the region where the lower electrodes 24 and the upper electrodes 26 of the laminated piezoelectric films 18L face each other. Then, the lower electrode 24 and the upper electrode 26 may be brought into contact with the adhesive layer 19 having conductivity.
  • the through holes formed in the lower protective layer 28 and the upper protective layer 30 are closed with a silver paste or a conductive adhesive, and an adjacent piezoelectric film 18L is attached by the conductive adhesive layer 19. To wear.
  • the through holes of the lower protective layer 28 and the upper protective layer 30 may be formed by laser processing, removal of the protective layer by solvent etching, mechanical polishing, or the like.
  • the through holes of the lower protective layer 28 and the upper protective layer 30 are preferably at one place other than the bent portion of the piezoelectric film 18L in the region where the lower electrodes 24 and the upper electrodes 26 of the laminated piezoelectric films 18L face each other. Well, it may be plural places.
  • the through holes of the lower protective layer 28 and the upper protective layer 30 may be formed regularly or irregularly on the entire surface of the lower protective layer 28 and the upper protective layer 30.
  • the polarization direction of the laminated piezoelectric films 18 is opposite to that of the adjacent piezoelectric films 18, but the present invention is not limited to this. That is, in the exciter in which the piezoelectric films 18 are laminated in the electroacoustic transducer of the present invention, all the polarization directions of the piezoelectric film 18 (piezoelectric layer 20) are the same as in the exciter 60 shown in FIG. May be good. However, as shown in FIG. 9, in the exciter 60 in which the polarization directions of the laminated piezoelectric films 18 are all the same, the lower electrode 24 and the upper electrode 26 face each other between the adjacent piezoelectric films 18.
  • a piezoelectric film as shown in FIG. 2 was produced by the method shown in FIGS. 3 to 7 described above.
  • cyanoethylated PVA manufactured by CR-V Shin-Etsu Chemical Co., Ltd.
  • MEK methyl ethyl ketone
  • PZT particles were added to this solution at the following composition ratio and dispersed by a propeller mixer (rotation speed 2000 rpm) to prepare a coating material for forming a piezoelectric layer.
  • PZT particles ⁇ ⁇ ⁇ ⁇ ⁇ ⁇ ⁇ ⁇ ⁇ ⁇ ⁇ 1000 parts by mass ⁇ Cyanoethylated PVA ⁇ ⁇ ⁇ ⁇ ⁇ 100 parts by mass ⁇ MEK ⁇ ⁇ ⁇ ⁇ ⁇ ⁇ ⁇ ⁇ ⁇ ⁇ 600 parts by mass
  • PZT particles commercially available PZT raw material powder was sintered at 1000 to 1200 ° C., and then crushed and classified so as to have an average particle size of 3.5 ⁇ m.
  • a sheet-like material as shown in FIG. 3 was prepared by vacuum-depositing a copper thin film having a thickness of 0.1 ⁇ m on a long PET film having a width of 23 cm and a thickness of 4 ⁇ m. That is, in this example, the upper electrode and the lower electrode are copper-deposited thin films having a thickness of 0.1 m, and the upper protective layer and the lower protective layer are PET films having a thickness of 4 ⁇ m.
  • a PET film having a thickness of 50 ⁇ m with a separator temporary support PET
  • the separator of each protective layer is used. I removed it.
  • a paint for forming the previously prepared piezoelectric layer was applied using a slide coater.
  • the coating material was applied such that the thickness of the coating film after drying was 40 ⁇ m.
  • the MEK was evaporated by heating and drying the coated material on the sheet material in an oven at 120°C. As a result, as shown in FIG. 4, a laminate having a copper lower electrode on the PET lower protective layer and forming a piezoelectric layer having a thickness of 40 ⁇ m on the lower electrode was produced.
  • the piezoelectric layer of this laminated body was polarized in the thickness direction by the corona poling shown in FIGS. 5 and 6 described above.
  • the polarization treatment was performed by setting the temperature of the piezoelectric layer to 100° C. and applying a DC voltage of 6 kV between the lower electrode and the corona electrode to generate corona discharge.
  • the same sheet-shaped material formed by vacuum-depositing a copper thin film on a PET film was laminated on the laminated body subjected to the polarization treatment.
  • the laminate of the laminate and the sheet-like material is thermocompression-bonded at 120 ° C. using a laminator device to bond the piezoelectric layer to the upper electrode and the lower electrode, and the piezoelectric layer is used as the upper electrode. It was sandwiched by the lower electrode, and this laminate was sandwiched by the upper protective layer and the lower protective layer. This produced the piezoelectric film as shown in FIG.
  • Example 1 As shown conceptually in FIG. 10, the produced piezoelectric film was cut into 5 ⁇ 100 cm to produce a long piezoelectric film F. At one end in the longitudinal direction, only a predetermined protective layer was peeled off to expose the electrode surface, and a copper foil C for electrode extraction was laminated on the electrode surface to form an extraction electrode. It was laminated on the piezoelectric layer, and the sheet-like material was attached as before.
  • thermo-adhesive sheet (Made by Toyochem, Rio Elm TSU41SI-25DL, thickness 25 ⁇ m) was cut to a size of about 5 ⁇ 20 cm to obtain a thermo-adhesive sheet A.
  • the end portion of the piezoelectric film F opposite to the copper foil was folded back so as to sandwich the thermoadhesive sheet A, and bonded with a heating press machine.
  • FIG. 11 such an operation of folding back the piezoelectric film F, sandwiching the thermocompression bonding sheet A, and adhering the piezoelectric film F with a pressure press was repeated by inverting the piezoelectric film F in the longitudinal direction. ..
  • the exciter as shown in the lower part of FIG. 11, in which the piezoelectric film F was folded back four times and five layers were laminated, was produced.
  • the thickness of the produced exciter was 350 ⁇ m.
  • a PET film having a thickness of 300 ⁇ m was prepared. This PET film was cut into a size of 30 ⁇ 20 cm to obtain a vibration plate.
  • a strip-shaped test piece of 1 ⁇ 4 cm was prepared and dynamic viscoelasticity measurement was performed.
  • the storage elastic modulus (E′) and the storage elastic modulus at a frequency of 1 kHz and 25° C. were measured. It should be noted that when the response of the material is sufficiently elastic, the storage elastic modulus matches the Young's modulus. Therefore, for the diaphragm, the storage elastic modulus of the diaphragm at a frequency of 1 Hz and 25° C. was taken as the Young's modulus of the diaphragm from the obtained measurement data.
  • the measurement was performed using a dynamic viscoelasticity measuring machine (DMS6100 viscoelasticity spectrometer manufactured by SII Nanotechnology Inc.). Regarding the measurement conditions, the measurement temperature range was ⁇ 20 to 100° C., and the temperature rising rate was 2° C./min (in a nitrogen atmosphere). The measurement frequencies were 0.1 Hz, 0.2 Hz, 0.5 Hz, 1 Hz, 2 Hz, 5 Hz, 10 Hz and 20 Hz. The measurement mode was tensile measurement. Further, the distance between chucks was set to 20 mm.
  • DMS6100 viscoelasticity spectrometer manufactured by SII Nanotechnology Inc.
  • the exciter had a loss tangent at a frequency of 1 Hz having a maximum value (maximum value) of 0.2 at 18 ° C. in the temperature range of 0 to 50 ° C.
  • the loss tangent at the exciter frequency of 1 kHz and 25 ° C. was 0.07.
  • the storage elastic modulus of the exciter at a frequency of 1 Hz and 25 ° C. was 5.1 GN / m 2 .
  • the exciter has a thickness of 350 ⁇ m. Therefore, the product of the thickness of the exciter and the storage elastic modulus at a frequency of 1 Hz and 25 ° C.
  • the storage elastic modulus at the exciter frequency of 1 kHz and 25 ° C. was 15.4 GN / m 2 .
  • the exciter has a thickness of 350 ⁇ m. Therefore, the product of the thickness of the exciter and the storage elastic modulus at a frequency of 1 kHz and 25 ° C. is 350 ⁇ m ⁇ 15.4 GN / m 2 , which is 5.4 MN / m.
  • the Young's modulus of the diaphragm (PET film having a thickness of 300 ⁇ m) was 5 GPa. Since the thickness of the diaphragm is 300 ⁇ m, the product of the thickness of the diaphragm and the Young's modulus, that is, the spring constant of the diaphragm is 1.5 MN/m. Therefore, three times the spring constant of the diaphragm is 4.5 MN / m. Further, 0.3 times the spring constant of the diaphragm is 0.45 MN / m.
  • An electroacoustic transducer was produced by attaching an exciter to the center of a 30 ⁇ 20 cm diaphragm using a heat-bonding sheet (Ryoelm TSU41SI-25DL, thickness 25 ⁇ m, manufactured by Toyochem Co., Ltd.) and a heating press.
  • Example 1 A PET film having a thickness of 50 ⁇ m was prepared. This PET film was cut into a size of 30 ⁇ 20 cm to obtain a vibration plate. The Young's modulus of the diaphragm was measured as in Example 1. As a result, the Young's modulus of the diaphragm was 5 GPa. Since the thickness of the diaphragm is 50 ⁇ m, the product of the thickness of the diaphragm and the Young's modulus, that is, the spring constant of the diaphragm is 0.25 MN/m. Therefore, three times the spring constant of the diaphragm is 0.75 MN/m. An electroacoustic transducer was produced in the same manner as in Example 1 except that this diaphragm was used.
  • thermocompression bonding sheet A was changed to FB-ML4 (thickness 70 ⁇ m version) manufactured by Nitto Shinko Co., Ltd.
  • the thickness of the manufactured exciter was 530 ⁇ m.
  • the maximum value of the loss tangent at a frequency of 1 Hz at 0 to 50 ° C. and the storage elastic modulus at a frequency of 1 Hz and 25 ° C. were measured in the same manner as in Example 1.
  • the exciter had a maximum loss tangent at a frequency of 1 Hz of 0.07 at 15 ° C. in the temperature range of 0 to 50 ° C.
  • the storage elastic modulus at a frequency of 1 Hz and 25 ° C. was 4.7 GN / m 2 .
  • the thickness of the exciter is 530 ⁇ m.
  • the product of the thickness of the exciter and the storage elastic modulus at a frequency of 1 Hz and 25 ° C. is 530 ⁇ m ⁇ 4.7 GN / m 2 , which is 2.5 MN / m.
  • An electroacoustic transducer was produced in the same manner as in Example 1 except that this exciter was used.
  • Example 2 A PET film having a thickness of 4000 ⁇ m was prepared. This PET film was cut into a size of 30 ⁇ 20 cm to obtain a vibration plate. The Young's modulus of the diaphragm was measured as in Example 1. As a result, the Young's modulus of the diaphragm was 5 GPa. Since the thickness of the diaphragm is 4000 ⁇ m, the product of the thickness of the diaphragm and the Young's modulus, that is, the spring constant of the diaphragm is 20 MN/m. Therefore, three times the spring constant of the diaphragm is 60 MN/m. Further, 0.3 times the spring constant of the diaphragm is 6 MN/m. An electroacoustic transducer was produced in the same manner as in Example 1 except that this diaphragm was used.
  • the electroacoustic transducer thus produced was evaluated for flexibility as follows. Using a round bar made of iron, a bending test of folding back 180 ° so that the central portion of the diaphragm had a radius of curvature of 5 cm was performed 10,000 times. A case where peeling did not occur from any interface even after conducting a bending test 10,000 times; When peeling occurred from any interface during the bending test of 1000 to 9999 times, B; When peeling occurred from any interface during the bending test up to 999 times, C; I evaluated it.
  • the sound pressure was also measured.
  • the sound pressure was measured by applying a sine wave to the electroacoustic transducer, and disposing a measurement microphone 1 m away from the center of the diaphragm in the direction orthogonal to the surface of the diaphragm. The results are shown in the table below.
  • the loss tangent of the exciter at a frequency of 1 Hz has a maximum in the temperature range of 0 to 50 ° C., and this maximum is 0.08 or more, and further, the thickness of the exciter and the thickness of the exciter.
  • the electroacoustic converter of the present invention in which the product of the storage elastic modulus at a frequency of 1 Hz and 25 ° C. is 3 times or less the spring constant (thickness ⁇ Young's modulus) of the diaphragm, has good flexibility.
  • Comparative Example 1 in which the product of the thickness of the exciter and the storage elastic modulus at a frequency of 1 Hz and 25 ° C.
  • Comparative Example 2 which has a maximum in the temperature range of about 50 ° C., but the maximum is less than 0.08, is inferior in flexibility. Further, the loss tangent of the exciter at a frequency of 1 Hz has a maximum in the temperature range of 0 to 50 ° C., but this maximum is less than 0.08, and the thickness of the exciter and the storage elastic modulus at a frequency of 1 Hz and 25 ° C. Comparative Example 3 in which the product with the rate exceeds 3 times the spring constant of the diaphragm has very poor flexibility.
  • the product of the thickness of the exciter and the storage elastic modulus of the exciter at a frequency of 1 kHz and 25° C. is 0.3 times or more the spring constant of the diaphragm, and the loss of the exciter at a frequency of 1 kHz and 25° C.
  • the tangent is less than 0.08
  • the loss tangent of the exciter at a frequency of 1 kHz and 25°C is less than 0.08
  • the product of the exciter thickness and the storage elastic modulus of the exciter at a frequency of 1 kHz and 25°C is the spring constant of the diaphragm.
  • the sound pressure of Example 4 which is less than 0.3 times that of Example 1, is slightly lower than that of Example 1.
  • a similar electroacoustic transducer was produced using a cut sheet-shaped piezoelectric film instead of folding back a long piezoelectric film. That is, five piezoelectric films cut into 5 ⁇ 20 cm were cut out from the produced piezoelectric film.
  • An exciter in which five piezoelectric films were laminated was produced by laminating and adhering five of these piezoelectric films with an adhesive sheet sandwiched in the same manner as in Examples 1 and 2 and Comparative Examples 1 to 3. .. Except for using this exciter, a diaphragm was attached to prepare an electroacoustic converter in the same manner as in Example 1 and Example 2 and Comparative Examples 1 to 3.
  • the prepared electroacoustic transducer was evaluated in the same manner.
  • the electrodes were pulled out in the same manner from the individual piezoelectric films.
  • any of the electroacoustic transducers almost the same results as in Examples 1 and 2 and Comparative Examples 1 to 3 in which the exciter was produced by folding back a long piezoelectric film of 5 ⁇ 100 cm were obtained.
  • a 25 ⁇ 20 cm piezoelectric film was prepared, which was also alternately turned upside down and folded back four times to prepare an exciter of 5 ⁇ 20 cm. Even in this case, almost the same results as those of Examples 1 and 2 and Comparative Examples 1 to 3 were obtained.
  • Electroacoustic converter 12 Diaphragm 14,56,60 Exciter 16,19 Adhesive layer 18,18L Piezoelectric film 18a, 18c Sheet-like material 18b Laminated body 20 Piezoelectric layer 24 Lower (thin film) electrode 26 Upper (thin film) electrode 28 Lower Protective Layer 30 Upper Protective Layer 34 Viscoelastic Matrix 36 Piezoelectric Particles 40 Corona Electrode 42 DC Power Source 50 Vibration Plate 58 Core Rod PS Power Source

Landscapes

  • Engineering & Computer Science (AREA)
  • Physics & Mathematics (AREA)
  • Acoustics & Sound (AREA)
  • Signal Processing (AREA)
  • Manufacturing & Machinery (AREA)
  • Chemical & Material Sciences (AREA)
  • Composite Materials (AREA)
  • Materials Engineering (AREA)
  • Multimedia (AREA)
  • Piezo-Electric Transducers For Audible Bands (AREA)
  • Diaphragms For Electromechanical Transducers (AREA)
PCT/JP2020/004849 2019-03-07 2020-02-07 電気音響変換器 Ceased WO2020179353A1 (ja)

Priority Applications (6)

Application Number Priority Date Filing Date Title
CN202080018297.8A CN113508605B (zh) 2019-03-07 2020-02-07 电声换能器
KR1020217027898A KR102633884B1 (ko) 2019-03-07 2020-02-07 전기 음향 변환기
JP2021503482A JP7166428B2 (ja) 2019-03-07 2020-02-07 電気音響変換器
EP20767452.4A EP3937511A4 (en) 2019-03-07 2020-02-07 ELECTROACOUSTIC TRANSDUCER
US17/466,855 US20210400395A1 (en) 2019-03-07 2021-09-03 Electroacoustic transducer
JP2022168940A JP7470765B2 (ja) 2019-03-07 2022-10-21 電気音響変換器

Applications Claiming Priority (4)

Application Number Priority Date Filing Date Title
JP2019-041572 2019-03-07
JP2019041572 2019-03-07
JP2019-149322 2019-08-16
JP2019149322 2019-08-16

Related Child Applications (1)

Application Number Title Priority Date Filing Date
US17/466,855 Continuation US20210400395A1 (en) 2019-03-07 2021-09-03 Electroacoustic transducer

Publications (1)

Publication Number Publication Date
WO2020179353A1 true WO2020179353A1 (ja) 2020-09-10

Family

ID=72336898

Family Applications (1)

Application Number Title Priority Date Filing Date
PCT/JP2020/004849 Ceased WO2020179353A1 (ja) 2019-03-07 2020-02-07 電気音響変換器

Country Status (7)

Country Link
US (1) US20210400395A1 (enExample)
EP (1) EP3937511A4 (enExample)
JP (2) JP7166428B2 (enExample)
KR (1) KR102633884B1 (enExample)
CN (1) CN113508605B (enExample)
TW (1) TW202034709A (enExample)
WO (1) WO2020179353A1 (enExample)

Cited By (5)

* Cited by examiner, † Cited by third party
Publication number Priority date Publication date Assignee Title
EP3879590A4 (en) * 2018-11-08 2021-12-29 FUJIFILM Corporation Laminated piezoelectric element and electro-acoustic transducer
WO2022149548A1 (ja) 2021-01-08 2022-07-14 富士フイルム株式会社 圧電フィルム
WO2022202195A1 (ja) 2021-03-26 2022-09-29 富士フイルム株式会社 圧電フィルム
JP2023134678A (ja) * 2020-12-22 2023-09-27 エルジー ディスプレイ カンパニー リミテッド 振動装置およびそれを含む装置
WO2024009658A1 (ja) * 2022-07-08 2024-01-11 富士フイルム株式会社 電気音響変換器

Families Citing this family (2)

* Cited by examiner, † Cited by third party
Publication number Priority date Publication date Assignee Title
TWI714319B (zh) * 2019-10-28 2020-12-21 錼創顯示科技股份有限公司 微型發光二極體裝置
KR102787617B1 (ko) * 2020-10-21 2025-03-26 엘지디스플레이 주식회사 진동장치 및 이를 포함하는 장치

Citations (5)

* Cited by examiner, † Cited by third party
Publication number Priority date Publication date Assignee Title
JP2006229506A (ja) * 2005-02-16 2006-08-31 Citizen Electronics Co Ltd 平面スピーカ用エキサイタの固定構造
JP4960765B2 (ja) 2007-05-22 2012-06-27 日本放送協会 フレキシブルスピーカの音質補正装置および音質補正装置を備えたスピーカシステム
JP2014209724A (ja) 2013-03-29 2014-11-06 富士フイルム株式会社 電気音響変換フィルム
WO2016002677A1 (ja) * 2014-06-30 2016-01-07 富士フイルム株式会社 電気音響変換フィルムおよびデジタルスピーカ
JP2016015354A (ja) 2014-06-30 2016-01-28 富士フイルム株式会社 電気音響変換フィルムおよび電気音響変換フィルムの導通方法

Family Cites Families (10)

* Cited by examiner, † Cited by third party
Publication number Priority date Publication date Assignee Title
JP3925414B2 (ja) * 2002-04-26 2007-06-06 株式会社村田製作所 圧電型電気音響変換器
JP5012512B2 (ja) * 2005-12-27 2012-08-29 日本電気株式会社 圧電アクチュエータおよび電子機器
JP5741580B2 (ja) * 2010-07-23 2015-07-01 日本電気株式会社 発振装置
KR101628584B1 (ko) * 2011-09-30 2016-06-08 후지필름 가부시키가이샤 전기 음향 변환 필름, 플렉시블 디스플레이, 성대 마이크로폰 및 악기용 센서
JP6284758B2 (ja) * 2013-01-15 2018-02-28 東洋ゴム工業株式会社 高分子アクチュエータ
JP2014168132A (ja) * 2013-01-31 2014-09-11 Teijin Ltd 高分子圧電スピーカー
WO2016143469A1 (ja) * 2015-03-12 2016-09-15 富士フイルム株式会社 高分子複合圧電体、電気音響変換フィルムおよび電気音響変換器
WO2017069057A1 (ja) * 2015-10-22 2017-04-27 富士フイルム株式会社 電気音響変換器
CN112970128A (zh) * 2018-11-08 2021-06-15 富士胶片株式会社 层叠压电元件及电声转换器
CN115280526A (zh) * 2020-03-30 2022-11-01 富士胶片株式会社 层叠压电元件

Patent Citations (5)

* Cited by examiner, † Cited by third party
Publication number Priority date Publication date Assignee Title
JP2006229506A (ja) * 2005-02-16 2006-08-31 Citizen Electronics Co Ltd 平面スピーカ用エキサイタの固定構造
JP4960765B2 (ja) 2007-05-22 2012-06-27 日本放送協会 フレキシブルスピーカの音質補正装置および音質補正装置を備えたスピーカシステム
JP2014209724A (ja) 2013-03-29 2014-11-06 富士フイルム株式会社 電気音響変換フィルム
WO2016002677A1 (ja) * 2014-06-30 2016-01-07 富士フイルム株式会社 電気音響変換フィルムおよびデジタルスピーカ
JP2016015354A (ja) 2014-06-30 2016-01-28 富士フイルム株式会社 電気音響変換フィルムおよび電気音響変換フィルムの導通方法

Cited By (9)

* Cited by examiner, † Cited by third party
Publication number Priority date Publication date Assignee Title
EP3879590A4 (en) * 2018-11-08 2021-12-29 FUJIFILM Corporation Laminated piezoelectric element and electro-acoustic transducer
US11910159B2 (en) 2018-11-08 2024-02-20 Fujifilm Corporation Laminated piezoelectric element and electroacoustic transducer
US12323763B2 (en) 2018-11-08 2025-06-03 Fujifilm Corporation Laminated piezoelectric element and electroacoustic transducer
JP2023134678A (ja) * 2020-12-22 2023-09-27 エルジー ディスプレイ カンパニー リミテッド 振動装置およびそれを含む装置
US12155995B2 (en) 2020-12-22 2024-11-26 Lg Display Co., Ltd. Vibration device and apparatus including the same
JP7691454B2 (ja) 2020-12-22 2025-06-11 エルジー ディスプレイ カンパニー リミテッド 振動装置およびそれを含む装置
WO2022149548A1 (ja) 2021-01-08 2022-07-14 富士フイルム株式会社 圧電フィルム
WO2022202195A1 (ja) 2021-03-26 2022-09-29 富士フイルム株式会社 圧電フィルム
WO2024009658A1 (ja) * 2022-07-08 2024-01-11 富士フイルム株式会社 電気音響変換器

Also Published As

Publication number Publication date
KR102633884B1 (ko) 2024-02-05
KR20210121209A (ko) 2021-10-07
JPWO2020179353A1 (enExample) 2020-09-10
CN113508605B (zh) 2023-05-09
JP7470765B2 (ja) 2024-04-18
EP3937511A4 (en) 2022-04-27
CN113508605A (zh) 2021-10-15
JP2022188296A (ja) 2022-12-20
US20210400395A1 (en) 2021-12-23
TW202034709A (zh) 2020-09-16
EP3937511A1 (en) 2022-01-12
JP7166428B2 (ja) 2022-11-07

Similar Documents

Publication Publication Date Title
JP7506773B2 (ja) 積層圧電素子および電気音響変換器
JP7137690B2 (ja) 圧電フィルム、積層圧電素子および電気音響変換器
JP7166428B2 (ja) 電気音響変換器
JP7265625B2 (ja) 電気音響変換フィルムおよび電気音響変換器
US11778913B2 (en) Piezoelectric film, laminated piezoelectric element, and electroacoustic transducer
KR20220140577A (ko) 적층 압전 소자
WO2021100428A1 (ja) 電気音響変換器
JP7286790B2 (ja) 圧電素子
WO2023047958A1 (ja) 積層圧電素子および電気音響変換器
JP7333410B2 (ja) 積層圧電素子
WO2023181699A1 (ja) 電気音響変換器
WO2023153126A1 (ja) 圧電素子および電気音響変換器
WO2023021944A1 (ja) 圧電素子および圧電スピーカー
WO2023053931A1 (ja) 圧電素子および圧電スピーカー
WO2023166892A1 (ja) 電気音響変換器
WO2023048022A1 (ja) 圧電素子および圧電スピーカー
WO2023053750A1 (ja) 圧電素子および電気音響変換器
WO2023188966A1 (ja) 圧電フィルム、圧電素子、および、電気音響変換器
WO2022196202A1 (ja) 圧電素子

Legal Events

Date Code Title Description
121 Ep: the epo has been informed by wipo that ep was designated in this application

Ref document number: 20767452

Country of ref document: EP

Kind code of ref document: A1

ENP Entry into the national phase

Ref document number: 20217027898

Country of ref document: KR

Kind code of ref document: A

ENP Entry into the national phase

Ref document number: 2021503482

Country of ref document: JP

Kind code of ref document: A

NENP Non-entry into the national phase

Ref country code: DE

WWE Wipo information: entry into national phase

Ref document number: 2020767452

Country of ref document: EP

ENP Entry into the national phase

Ref document number: 2020767452

Country of ref document: EP

Effective date: 20211007