WO2020128702A1 - 二次電池の過放電防止回路及び二次電池モジュール - Google Patents

二次電池の過放電防止回路及び二次電池モジュール Download PDF

Info

Publication number
WO2020128702A1
WO2020128702A1 PCT/IB2019/060459 IB2019060459W WO2020128702A1 WO 2020128702 A1 WO2020128702 A1 WO 2020128702A1 IB 2019060459 W IB2019060459 W IB 2019060459W WO 2020128702 A1 WO2020128702 A1 WO 2020128702A1
Authority
WO
WIPO (PCT)
Prior art keywords
transistor
insulator
oxide
conductor
secondary battery
Prior art date
Legal status (The legal status is an assumption and is not a legal conclusion. Google has not performed a legal analysis and makes no representation as to the accuracy of the status listed.)
Ceased
Application number
PCT/IB2019/060459
Other languages
English (en)
French (fr)
Japanese (ja)
Inventor
上妻宗広
池田隆之
Current Assignee (The listed assignees may be inaccurate. Google has not performed a legal analysis and makes no representation or warranty as to the accuracy of the list.)
Semiconductor Energy Laboratory Co Ltd
Original Assignee
Semiconductor Energy Laboratory Co Ltd
Priority date (The priority date is an assumption and is not a legal conclusion. Google has not performed a legal analysis and makes no representation as to the accuracy of the date listed.)
Filing date
Publication date
Application filed by Semiconductor Energy Laboratory Co Ltd filed Critical Semiconductor Energy Laboratory Co Ltd
Priority to CN201980081413.8A priority Critical patent/CN113169546A/zh
Priority to US17/298,698 priority patent/US11791640B2/en
Priority to JP2020560636A priority patent/JP7436387B2/ja
Priority to KR1020217020209A priority patent/KR102872438B1/ko
Publication of WO2020128702A1 publication Critical patent/WO2020128702A1/ja
Anticipated expiration legal-status Critical
Ceased legal-status Critical Current

Links

Images

Classifications

    • HELECTRICITY
    • H01ELECTRIC ELEMENTS
    • H01MPROCESSES OR MEANS, e.g. BATTERIES, FOR THE DIRECT CONVERSION OF CHEMICAL ENERGY INTO ELECTRICAL ENERGY
    • H01M10/00Secondary cells; Manufacture thereof
    • H01M10/42Methods or arrangements for servicing or maintenance of secondary cells or secondary half-cells
    • H01M10/44Methods for charging or discharging
    • H01M10/448End of discharge regulating measures
    • HELECTRICITY
    • H01ELECTRIC ELEMENTS
    • H01MPROCESSES OR MEANS, e.g. BATTERIES, FOR THE DIRECT CONVERSION OF CHEMICAL ENERGY INTO ELECTRICAL ENERGY
    • H01M10/00Secondary cells; Manufacture thereof
    • H01M10/42Methods or arrangements for servicing or maintenance of secondary cells or secondary half-cells
    • H01M10/425Structural combination with electronic components, e.g. electronic circuits integrated to the outside of the casing
    • HELECTRICITY
    • H01ELECTRIC ELEMENTS
    • H01MPROCESSES OR MEANS, e.g. BATTERIES, FOR THE DIRECT CONVERSION OF CHEMICAL ENERGY INTO ELECTRICAL ENERGY
    • H01M10/00Secondary cells; Manufacture thereof
    • H01M10/42Methods or arrangements for servicing or maintenance of secondary cells or secondary half-cells
    • H01M10/44Methods for charging or discharging
    • HELECTRICITY
    • H01ELECTRIC ELEMENTS
    • H01MPROCESSES OR MEANS, e.g. BATTERIES, FOR THE DIRECT CONVERSION OF CHEMICAL ENERGY INTO ELECTRICAL ENERGY
    • H01M10/00Secondary cells; Manufacture thereof
    • H01M10/42Methods or arrangements for servicing or maintenance of secondary cells or secondary half-cells
    • H01M10/48Accumulators combined with arrangements for measuring, testing or indicating the condition of cells, e.g. the level or density of the electrolyte
    • HELECTRICITY
    • H01ELECTRIC ELEMENTS
    • H01MPROCESSES OR MEANS, e.g. BATTERIES, FOR THE DIRECT CONVERSION OF CHEMICAL ENERGY INTO ELECTRICAL ENERGY
    • H01M50/00Constructional details or processes of manufacture of the non-active parts of electrochemical cells other than fuel cells, e.g. hybrid cells
    • H01M50/50Current conducting connections for cells or batteries
    • H01M50/572Means for preventing undesired use or discharge
    • HELECTRICITY
    • H02GENERATION; CONVERSION OR DISTRIBUTION OF ELECTRIC POWER
    • H02HEMERGENCY PROTECTIVE CIRCUIT ARRANGEMENTS
    • H02H7/00Emergency protective circuit arrangements specially adapted for specific types of electric machines or apparatus or for sectionalised protection of cable or line systems, and effecting automatic switching in the event of an undesired change from normal working conditions
    • H02H7/18Emergency protective circuit arrangements specially adapted for specific types of electric machines or apparatus or for sectionalised protection of cable or line systems, and effecting automatic switching in the event of an undesired change from normal working conditions for batteries; for accumulators
    • HELECTRICITY
    • H02GENERATION; CONVERSION OR DISTRIBUTION OF ELECTRIC POWER
    • H02JCIRCUIT ARRANGEMENTS OR SYSTEMS FOR SUPPLYING OR DISTRIBUTING ELECTRIC POWER; SYSTEMS FOR STORING ELECTRIC ENERGY
    • H02J7/00Circuit arrangements for charging or depolarising batteries or for supplying loads from batteries
    • H02J7/0029Circuit arrangements for charging or depolarising batteries or for supplying loads from batteries with safety or protection devices or circuits
    • H02J7/00306Overdischarge protection
    • HELECTRICITY
    • H02GENERATION; CONVERSION OR DISTRIBUTION OF ELECTRIC POWER
    • H02JCIRCUIT ARRANGEMENTS OR SYSTEMS FOR SUPPLYING OR DISTRIBUTING ELECTRIC POWER; SYSTEMS FOR STORING ELECTRIC ENERGY
    • H02J7/00Circuit arrangements for charging or depolarising batteries or for supplying loads from batteries
    • H02J7/0029Circuit arrangements for charging or depolarising batteries or for supplying loads from batteries with safety or protection devices or circuits
    • H02J7/0031Circuit arrangements for charging or depolarising batteries or for supplying loads from batteries with safety or protection devices or circuits using battery or load disconnect circuits
    • HELECTRICITY
    • H02GENERATION; CONVERSION OR DISTRIBUTION OF ELECTRIC POWER
    • H02JCIRCUIT ARRANGEMENTS OR SYSTEMS FOR SUPPLYING OR DISTRIBUTING ELECTRIC POWER; SYSTEMS FOR STORING ELECTRIC ENERGY
    • H02J7/00Circuit arrangements for charging or depolarising batteries or for supplying loads from batteries
    • H02J7/0047Circuit arrangements for charging or depolarising batteries or for supplying loads from batteries with monitoring or indicating devices or circuits
    • HELECTRICITY
    • H01ELECTRIC ELEMENTS
    • H01MPROCESSES OR MEANS, e.g. BATTERIES, FOR THE DIRECT CONVERSION OF CHEMICAL ENERGY INTO ELECTRICAL ENERGY
    • H01M2220/00Batteries for particular applications
    • H01M2220/20Batteries in motive systems, e.g. vehicle, ship, plane
    • YGENERAL TAGGING OF NEW TECHNOLOGICAL DEVELOPMENTS; GENERAL TAGGING OF CROSS-SECTIONAL TECHNOLOGIES SPANNING OVER SEVERAL SECTIONS OF THE IPC; TECHNICAL SUBJECTS COVERED BY FORMER USPC CROSS-REFERENCE ART COLLECTIONS [XRACs] AND DIGESTS
    • Y02TECHNOLOGIES OR APPLICATIONS FOR MITIGATION OR ADAPTATION AGAINST CLIMATE CHANGE
    • Y02EREDUCTION OF GREENHOUSE GAS [GHG] EMISSIONS, RELATED TO ENERGY GENERATION, TRANSMISSION OR DISTRIBUTION
    • Y02E60/00Enabling technologies; Technologies with a potential or indirect contribution to GHG emissions mitigation
    • Y02E60/10Energy storage using batteries

Definitions

  • One embodiment of the present invention relates to an object, a method, or a manufacturing method. Alternatively, the present invention relates to a process, machine, manufacture or composition (composition of matter).
  • One embodiment of the present invention relates to a semiconductor device, a display device, a light-emitting device, a power storage device, a lighting device, an electronic device, or a manufacturing method thereof.
  • the present invention relates to a charge control system, a charge control method, and an electronic device having a secondary battery.
  • One embodiment of the present invention relates to a vehicle or a vehicle electronic device provided in the vehicle.
  • a power storage device refers to all elements and devices having a power storage function.
  • a storage battery such as a lithium ion secondary battery (also referred to as a secondary battery), a lithium ion capacitor, an all-solid-state battery, an electric double layer capacitor, or the like is included.
  • Lithium-ion secondary batteries which have particularly high output and high energy density, are mobile information terminals such as mobile phones, smartphones, tablets, or notebook computers, mobile music players, digital cameras, medical devices, or hybrid vehicles (HEV).
  • HEV hybrid vehicles
  • Next-generation clean energy vehicles such as electric vehicles (EVs) or plug-in hybrid vehicles (PHEVs), the demand for which is rapidly expanding with the development of the semiconductor industry. Has become indispensable to a socialized society.
  • a portable secondary battery also called a mobile battery
  • a mobile battery is becoming popular in order to replenish the power of smartphones, tablets, etc. when going out.
  • Demand for mobile batteries is emerging as more and more portable devices are designed with integrated designs that cannot be removed and replaced.
  • smartphones, tablets, notebook computers and the like have small secondary batteries for holding date and time information.
  • Patent Document 1 discloses a transistor including an oxide semiconductor for controlling a protection circuit.
  • the capacity When a secondary battery such as an electric vehicle or a portable information terminal is used, the capacity finally decreases and reaches the voltage lower limit set by a protection circuit or the like. When the voltage reaches the lower limit, it is regarded as an over-discharged state, and the power cutoff switch of the part connecting the secondary battery and the portable information terminal (excluding the secondary battery) is turned off.
  • the voltage lowers below the voltage lower limit for the same reason, and if you try to use it, the charging period until the voltage lower limit is reached and the voltage lower limit is exceeded, and there is a remaining amount. It requires a charging time to charge to the state, and the charging period and charging time are summed up until it can be reused, and a long charging time is expected.
  • the small secondary battery that holds the date and time information runs out, and if left for a long time, the held date and time data will be lost. , It takes time and effort to set the date and time again.
  • a battery that is once in an overdischarged state becomes a battery that is likely to be in an overdischarged state when it is used again after being charged, and it may be significantly deteriorated.
  • a control circuit with a low leakage current is formed using a transistor including an oxide semiconductor to maintain the characteristics of the secondary battery.
  • the control signal generating circuit also constitutes an integrated system. With this system configuration, the control circuit shifts to the low power consumption mode in accordance with the circuit operation after the overdischarge is detected. Further, the recovery from the over-discharged state shifts the control circuit to the normal operation mode in accordance with the voltage increase at the start of charging.
  • a charge control circuit electrically connected to a secondary battery, a blocking transistor, and a secondary battery and a blocking transistor are connected between the secondary battery and the charge control circuit. It has a first transistor whose wiring and source are electrically connected, a second transistor which is connected to a wiring which connects the cutoff transistor and the charge control circuit, and a drain or source which is connected to the gate of the second transistor. And a third transistor, which is an overdischarge prevention circuit for a secondary battery.
  • the overdischarge prevention circuit may further include an inverter, the input of the inverter is connected to the drain of the second transistor, and the output of the inverter is connected to the gate of the first transistor. Note that charge detection can be performed using the second transistor, the third transistor, and the inverter.
  • the charge detection circuit included in the overdischarge prevention circuit can drive the cutoff transistor to cut off the electrical connection between the first transistor and the second transistor.
  • At least the semiconductor layer of the first transistor is an oxide semiconductor layer.
  • the oxide semiconductor layer By using the oxide semiconductor layer, the leakage current of the first transistor can be extremely reduced. That is, since the written data can be held for a long time by the first transistor, the frequency of refreshing the memory cell can be reduced. Further, the refresh operation of the memory cell can be made unnecessary. Moreover, since the leak current is very low, analog data can be held in the memory cell.
  • a set of the above-mentioned over-discharge prevention circuit and a secondary battery is called a secondary battery module, and its configuration is also one of the present inventions.
  • the configuration is a secondary battery, a charging control circuit electrically connected to the secondary battery, a cutoff transistor between the secondary battery and the charge control circuit, and a wiring connecting the secondary battery and the cutoff transistor.
  • a third transistor which has a first transistor whose source is electrically connected, a second transistor which is connected to a wiring which connects the blocking transistor and the charge control circuit, and a drain or source which is connected to the gate of the second transistor.
  • a secondary battery module having a transistor.
  • the overdischarge prevention circuit may further include an inverter, the input of the inverter is connected to the drain of the second transistor, and the output of the inverter is connected to the gate of the first transistor. Note that charge detection can be performed using the second transistor, the third transistor, and the inverter.
  • the charge detection circuit included in the overdischarge prevention circuit can drive the cutoff transistor to cut off the electrical connection between the first transistor and the second transistor.
  • the battery module may also be called a battery pack.
  • a plurality of secondary batteries may be provided with respective over-discharge prevention circuits, which may be grouped together to form one battery pack.
  • a plurality of secondary batteries may be provided with one overdischarge prevention circuit to form one battery pack.
  • the secondary battery is not limited to a lithium ion secondary battery, and the present invention can be effectively used for a nickel hydrogen secondary battery, a sodium ion secondary battery, a zinc air battery, an all solid state secondary battery and the like. ..
  • a control circuit including a transistor including an oxide semiconductor can be integrated with a signal generation circuit for low power consumption control; therefore, off-leakage current of the entire system after overdischarge detection can be reduced. Further, by reducing the amount of leak current in the off state of the entire system, it is possible to realize a battery system that can maintain the charged state for a long period of time and can normally return to charge.
  • FIG. 1 is an example of a circuit diagram illustrating one embodiment of the present invention.
  • FIG. 2 is an example of a circuit diagram illustrating one embodiment of the present invention.
  • 3A, FIG. 3B, FIG. 3C, FIG. 3D, FIG. 3E, FIG. 3F, and FIG. 3G are diagrams for explaining circuit configuration examples of the memory.
  • FIG. 4 is a schematic sectional view illustrating a configuration example of a semiconductor device.
  • FIG. 5 is a schematic sectional view illustrating a configuration example of a semiconductor device.
  • 6A, 6B, and 6C are schematic cross-sectional views each illustrating a structural example of a transistor.
  • 7A and 7B are schematic cross-sectional views each illustrating a structural example of a transistor.
  • FIG. 1 is an example of a circuit diagram illustrating one embodiment of the present invention.
  • FIG. 2 is an example of a circuit diagram illustrating one embodiment of the present invention.
  • FIG. 8 is a schematic sectional view illustrating a configuration example of a semiconductor device.
  • 9A and 9B are schematic cross-sectional views each illustrating a structural example of a transistor.
  • FIG. 10 is a schematic sectional view illustrating a configuration example of a semiconductor device.
  • 11A, 11B, and 11C are diagrams illustrating an example of a moving object.
  • 12A and 12B are perspective views showing an example of the secondary battery
  • FIG. 12C is a model diagram of the secondary battery during charging.
  • FIG. 13 is an example of a circuit diagram illustrating one embodiment of the present invention.
  • FIG. 1 shows a circuit diagram for explaining an example of the operation of the leak countermeasure at the off time.
  • the low potential side of the circuit 15 connected to the secondary battery is connected to the low potential side G1 like the transistor M2.
  • the transistor in FIG. 1 is an example in which the transistor has a back gate, the transistor is not particularly limited and a transistor without a back gate may be used.
  • the charge detection circuit is connected to the low potential side G2.
  • a cutoff switch 12 is provided between the low potential side G1 and the low potential side G2.
  • the charging detection circuit 13 and the circuit 15 other than the charging detection circuit 13 are connected to different power sources.
  • the cutoff switch 12 cuts off the power supply to bring the circuit 15 into a completely stopped state, the rise in voltage cannot be recognized when the battery 15 is recharged. Therefore, the charge detection circuit 13 and the other circuits 15 do not.
  • the feature that separates the connection destination of the power supply is new.
  • G1 and G2 are separated by the breaking switch 12 by the over-discharge detection operation of the circuit 15. At the same time, by lowering the gate potential of the transistor M2, the transistor M2 is turned off.
  • the circuit 15 includes an overdischarge detection circuit.
  • the transistor M2 functions as a power switch that controls the supply of the low potential side G1 of the secondary battery, turning off the transistor M2 cuts off the power supply to all circuits other than the charge detection circuit.
  • the maximum potential of G2 rises to the same potential (VDD) as the high potential side of the secondary battery. Since the potential of the gate S1 of the transistor M1 decreases relative to G2 (Vgs of the transistor M1 decreases), the transistor M1 is turned off. Since the transistor M1 functions as a power switch that controls the supply of the low potential side G2 of the charge control circuit 11, turning off the transistor M1 cuts off the power supply to the charge detection circuit. At this time, the circuit 15 is in a state of reducing the off-leakage current (low power consumption mode).
  • the low potential of the charge control circuit 11 is supplied, so that the potential of G2 decreases again (Vgs of the transistor M1 increases) and the transistor M1 is turned on.
  • the gate potential of the transistor M2 is increased to turn on the circuits 15 other than the charge detection circuit in the on state (normal operation mode).
  • the OS transistor inside the circuit 15 (transistor using an oxide semiconductor which is a kind of metal oxide for a semiconductor layer in which a channel is formed) is turned off in accordance with its operating state, that is, automatically.
  • the off-leakage current of the entire system in the over-discharged state can be reduced by adopting a configuration in which it is in a general off-state. Further, the present configuration can be not only automatically turned off, but also automatically restored, that is, automatically turned on.
  • An OS transistor to which an oxide semiconductor containing indium, gallium, and zinc is applied has characteristics of extremely low off-state current.
  • the leak current of the transistor M1 can be made extremely low. That is, since the written data can be held for a long time by the transistor M1, the frequency of refreshing the memory cell can be reduced. Further, the refresh operation of the memory cell can be made unnecessary. Moreover, since the leak current is very low, analog data can be held in the memory cell.
  • the OS transistor can realize an off current that is about 15 orders of magnitude lower than that of the SiFET.
  • the circuit 15 is a charge control circuit including a memory circuit including a transistor including an oxide semiconductor, and this charge control circuit or a battery control system is sometimes referred to as a BTOS (Battery operating system or Battery oxidizer semiconductor). is there.
  • BTOS Battery operating system or Battery oxidizer semiconductor
  • the charge detection circuit 13 includes a transistor M1 and a transistor M3, a pull-up resistor R1, and an inverter X1. Further, the low-potential power supply (VSS) of the battery is supplied to the low-potential power supply of the circuit 15 through the transistor M2 which can be called a power switch.
  • VSS low-potential power supply
  • the circuit 15 indicates one or more of a comparator, a delay detection logic circuit, an oscillator circuit, a fuel gauge circuit, a micro short circuit occurrence prediction circuit, and the like.
  • the transistor M3 has an extremely low off-leakage current characteristic used for realizing the potential holding of S1.
  • FIG. 2 shows an example in which each transistor does not have a back gate, it is not particularly limited and may have a back gate.
  • the potential of G2 rises to VDD. Therefore, the voltage Vgs of the transistor M1 which is the potential difference between S1 and G2 approaches 0V, so that the transistor M1 is turned off. At this time, the input potential of the inverter X1 becomes High due to the pull-up resistor R1, and the gate potential of the transistor M2 (output potential of the inverter X1) becomes Low. That is, since the transistor M2 is off, the circuit 15 is in a state in which the voltage VSS is not supplied (power gating state).
  • the off-leakage current of the circuit 15 can be reduced by using a switch (eg, an OS transistor) having extremely low off-leakage characteristics for the transistor M2.
  • a switch eg, an OS transistor
  • the potential of G2 is pulled back to VSS, so that the system returns to the same circuit state as when the system is in the ON state, and power supply to the circuit 15 is started.
  • the gate control signal of transistor M3 is intended to hold the node of S1.
  • the potential for S1 is supplied from the circuit 15, but when the circuit 15 is in the OFF state, the supply source of the output signal does not exist, so the value becomes an undefined value.
  • the pull-up resistor R1 may be a pull-up transistor using a transistor. If a pull-up resistor is realized with the same connection configuration as the transistors M1+M3, the amount of pull-up current can be adjusted according to the value of the write potential.
  • the charge detection circuit may use an overdischarge detection comparator. In that case, the output logic of the comparator is adjusted so that the transistor M2 can be controlled to be turned on/off.
  • This embodiment mode can be freely combined with Embodiment Mode 1.
  • FIGS. 3A to 3G an example of a circuit structure of the memory means is shown in FIGS. 3A to 3G.
  • 3A to 3G each function as a memory element.
  • the memory element 410 illustrated in FIG. 3A includes a transistor M1 and a capacitor CA.
  • the memory element 410 is a memory element including one transistor and one capacitor.
  • a first terminal of the transistor M1 is connected to a first terminal of the capacitor CA, a second terminal of the transistor M1 is connected to a wiring BL, a gate of the transistor M1 is connected to a wiring WL, and a back gate of the transistor M1.
  • the second terminal of the capacitor CA is connected to the wiring CAL.
  • a node at which the first terminal of the transistor M1 and the first terminal of the capacitor CA are electrically connected is called a node ND.
  • a gate and a back gate are provided so as to overlap with each other with a channel formation region in a semiconductor layer interposed therebetween. Both gates and back gates can function as gates. Therefore, one may be called a “back gate” and the other may be called a “gate” or a “front gate”. Further, one may be referred to as a "first gate” and the other may be referred to as a "second gate”.
  • the back gate may have the same potential as the gate, a ground potential, or an arbitrary potential.
  • the threshold voltage of the transistor can be changed by changing the potential of the back gate independently without interlocking with the gate.
  • the back gate By providing the back gate and further by setting the gate and the back gate to have the same potential, the region in which carriers flow in the semiconductor layer becomes larger in the film thickness direction, so that the amount of carrier movement increases. As a result, the on-current of the transistor is increased and the field effect mobility is increased.
  • the transistor can have a large on-state current with respect to the occupied area. That is, the area occupied by the transistor can be reduced with respect to the required on-current. Therefore, a highly integrated semiconductor device can be realized.
  • the wiring BGL functions as a wiring for applying a potential to the back gate of the transistor M1.
  • the threshold voltage of the transistor M1 can be increased or decreased.
  • Data writing and reading are performed by applying a high-level potential to the wiring WL, making the transistor M1 conductive, and electrically connecting the wiring BL and the node ND.
  • the wiring CAL functions as a wiring for applying a predetermined potential to the second terminal of the capacitor CA. It is preferable to apply a fixed potential to the wiring CAL.
  • the memory element 420 illustrated in FIG. 3B is a modified example of the memory element 410.
  • the back gate of the transistor M1 is electrically connected to the wiring WL.
  • the same potential as the gate of the transistor M1 can be applied to the back gate of the transistor M1. Therefore, the current flowing through the transistor M1 can be increased when the transistor M1 is on.
  • the transistor M1 may be a single-gate transistor (a transistor that does not have a back gate).
  • the memory element 430 has a structure in which the back gate is removed from the transistors M1 of the memory elements 410 and 420. Therefore, the manufacturing process of the memory element 430 can be shorter than that of the memory element 410 and the memory element 420.
  • the memory element 410, the memory element 420, and the memory element 430 are DRAM type memory elements.
  • An oxide semiconductor is preferably used for the semiconductor layer in which the channel of the transistor M1 is formed.
  • a transistor including an oxide semiconductor in a semiconductor layer in which a channel is formed is also referred to as an “OS transistor”.
  • an oxide semiconductor indium, an element M (the element M is aluminum, gallium, yttrium, copper, vanadium, beryllium, boron, titanium, iron, nickel, germanium, zirconium, molybdenum, lanthanum, cerium, neodymium, hafnium,
  • An oxide semiconductor including any one of tantalum, tungsten, magnesium, or the like) or zinc can be used.
  • the oxide semiconductor is preferably an oxide semiconductor containing indium, gallium, and zinc.
  • the OS transistor has a characteristic that the off-state current is extremely small.
  • the leak current of the transistor M1 can be made extremely low. That is, the written data can be held for a long time by the transistor M1. Therefore, the frequency of refreshing the memory element can be reduced. Further, the refresh operation of the memory element can be made unnecessary.
  • the memory element 410, the memory element 420, and the memory element 430 can hold multilevel data or analog data.
  • DOSRAM Dynamic Oxide Semiconductor Random Access Memory
  • FIG. 3D shows a circuit configuration example of a gain cell type memory element including two transistors and one capacitor.
  • the memory element 440 includes a transistor M1, a transistor M2, and a capacitor CA.
  • the first terminal of the transistor M1 is connected to the first terminal of the capacitor CA, the second terminal of the transistor M1 is connected to the wiring WBL, and the gate of the transistor M1 is connected to the wiring WWL.
  • the second terminal of the capacitor CA is connected to the wiring CAL.
  • the first terminal of the transistor M2 is connected to the wiring RBL, the second terminal of the transistor M2 is connected to the wiring RWL, and the gate of the transistor M2 is connected to the first terminal of the capacitor CA.
  • a node at which the first terminal of the transistor M1, the first terminal of the capacitor CA, and the gate of the transistor M2 are electrically connected is referred to as a node ND.
  • the bit line WBL functions as a write bit line
  • the bit line RBL functions as a read bit line
  • the word line WWL functions as a write word line
  • the word line RWL functions as a read word line.
  • the transistor M1 has a function as a switch for electrically connecting or disconnecting the node ND and the bit line WBL.
  • the OS transistor has extremely low off-state current, the potential written in the node ND can be held for a long time by using the OS transistor as the transistor M1. That is, the data written in the memory element can be held for a long time.
  • transistor M2 there is no particular limitation on the transistor used for the transistor M2.
  • the transistor M2 an OS transistor, a Si transistor (a transistor in which silicon is used for a semiconductor layer), or another transistor may be used.
  • the silicon used for the semiconductor layer may be amorphous silicon, polycrystalline silicon, low temperature polysilicon (LTPS: Low Temperature Poly-Silicon), or single crystal silicon. Since the Si transistor may have higher field effect mobility than the OS transistor, the operation speed at the time of reading can be increased by using the Si transistor as the reading transistor.
  • LTPS Low Temperature Poly-Silicon
  • an OS transistor When an OS transistor is used for the transistor M1 and a Si transistor is used for the transistor M2, both may be stacked in different layers.
  • the OS transistor can be manufactured with a manufacturing apparatus and a process similar to those of the Si transistor. Therefore, mixed mounting (hybridization) of the OS transistor and the Si transistor is easy, and high integration is also easy.
  • the leak current when not selected can be extremely reduced, so that the reading accuracy can be improved.
  • OS transistors for both the transistor M1 and the transistor M2, the number of manufacturing steps of a semiconductor device can be reduced and productivity can be improved.
  • a semiconductor device can be manufactured at a process temperature of 400° C. or lower.
  • FIG. 3E to 3G show circuit configuration examples in the case where a transistor having a back gate (a four-terminal transistor; also referred to as a “four-terminal element”) is used for the transistor M1 and the transistor M2.
  • the memory element 450 illustrated in FIG. 3E, the memory element 460 illustrated in FIG. 3F, and the memory element 470 illustrated in FIG. 3G are modifications of the memory element 440.
  • the gate and the back gate of the transistor M1 are electrically connected.
  • the gate and the back gate of the transistor M2 are electrically connected.
  • the back gate of the transistor M1 and the back gate of the transistor M2 are electrically connected to the wiring BGL.
  • a predetermined potential can be applied to the back gates of the transistor M1 and the transistor M2 through the wiring BGL.
  • the back gate of the transistor M1 is electrically connected to the wiring WBGL and the back gate of the transistor M2 is electrically connected to the wiring RBGL.
  • the memory elements 440 to 470 are 2Tr1C type memory cells.
  • a memory device in which a 2Tr1C type memory cell is configured by using an OS transistor as the transistor M1 is referred to as a NOSRAM (Non-volatile Oxide Semiconductor Random Access Memory).
  • NOSRAM Non-volatile Oxide Semiconductor Random Access Memory
  • the memory elements 440 to 470 can amplify and read the potential of the node ND with the transistor M2. Further, since the off-state current of the OS transistor is extremely small, the potential of the node ND can be held for a long time. Further, non-destructive reading in which the potential of the node ND is held even if the reading operation is performed can be performed.
  • the information held in the storage element is information that is not frequently rewritten. Therefore, it is preferable to use, as the memory element, a NOSRAM capable of nondestructive reading of information and capable of holding for a long period of time.
  • MRAM Magneticoresistive Random Access Memory
  • ReRAM Resistive Resume
  • the structure may change at the atomic level when rewriting information.
  • the memory device of one embodiment of the present invention operates by charge charge or discharge through a transistor when data is rewritten, it has characteristics of excellent rewriting durability and small structural change.
  • Embodiment 4 In this embodiment mode, a structure of a transistor which can be applied to the structure of the memory element described in the above embodiment mode, specifically, a structure in which transistors having different electrical characteristics are stacked and provided will be described. In particular, in this embodiment, a structure of each transistor included in a memory circuit included in a semiconductor device will be described. With this structure, the degree of freedom in designing the semiconductor device can be increased. In addition, the degree of integration of the semiconductor device can be increased by stacking the transistors having different electrical characteristics.
  • the semiconductor device illustrated in FIG. 4 includes a transistor 300, a transistor 500, and a capacitor 600.
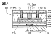
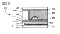
  • 6A is a cross-sectional view of the transistor 500 in the channel length direction
  • FIG. 6B is a cross-sectional view of the transistor 500 in the channel width direction
  • FIG. 6C is a cross-sectional view of the transistor 300 in the channel width direction.
  • the transistor 500 is an OS transistor.
  • the off-state current of the transistor 500 is small. Therefore, for example, when the structure of the transistor M2 described in the above embodiment is similar to that of the transistor 500, the potential can be held at the node ND for a long time. This reduces the frequency of writing the potential to the node ND, so that power consumption of the semiconductor device can be reduced.
  • the semiconductor device described in this embodiment includes a transistor 300, a transistor 500, and a capacitor 600 as illustrated in FIG.
  • the transistor 500 is provided above the transistor 300
  • the capacitor 600 is provided above the transistor 300 and the transistor 500.
  • the transistor M1 described in the above embodiment can have a structure similar to that of the transistor 300
  • the capacitor CA can have a structure similar to that of the capacitor 600.
  • the transistor 300 is provided over the substrate 311, and includes a conductor 316, an insulator 315, a semiconductor region 313 formed of part of the substrate 311, a low resistance region 314a functioning as a source region or a drain region, and a low resistance region 314b. ..
  • the top surface of the semiconductor region 313 and the side surface in the channel width direction are covered with the conductor 316 with the insulator 315 interposed therebetween.
  • the Fin type transistor 300 increases the effective channel width. Accordingly, the on characteristics of the transistor 300 can be improved. Further, since the electric field contribution of the gate electrode can be increased, the off characteristics of the transistor 300 can be improved.
  • the transistor 300 may be either a p-channel type or an n-channel type.
  • a region of the semiconductor region 313 in which a channel is formed, a region in the vicinity thereof, a low-resistance region 314a and a low-resistance region 314b which serve as a source region or a drain region, and the like preferably contain a semiconductor such as a silicon-based semiconductor, and a single crystal. It preferably contains silicon. Alternatively, a material including Ge (germanium), SiGe (silicon germanium), GaAs (gallium arsenide), GaAlAs (gallium aluminum arsenide), or the like may be used. A structure may be used in which silicon is used in which the effective mass is controlled by applying stress to the crystal lattice and changing the lattice spacing. Alternatively, the transistor 300 may be a HEMT (High Electron Mobility Transistor) by using GaAs and GaAlAs.
  • HEMT High Electron Mobility Transistor
  • the low-resistance region 314a and the low-resistance region 314b impart an n-type conductivity imparting element such as arsenic or phosphorus, or a p-type conductivity imparting boron, in addition to the semiconductor material applied to the semiconductor region 313. Including the element to do.
  • the conductor 316 functioning as a gate electrode is a semiconductor material such as silicon, a metal material, or an alloy containing an element imparting n-type conductivity such as arsenic or phosphorus, or an element imparting p-type conductivity such as boron.
  • a material or a conductive material such as a metal oxide material can be used.
  • the threshold voltage of the transistor can be adjusted by selecting the material of the conductor. Specifically, it is preferable to use a material such as titanium nitride or tantalum nitride for the conductor. Further, in order to achieve both conductivity and embedding properties, it is preferable to use a metal material such as tungsten or aluminum as a laminate for the conductor, and it is particularly preferable to use tungsten in terms of heat resistance.
  • the transistor 300 illustrated in FIGS. 4A and 4B is an example, and the structure is not limited thereto; an appropriate transistor may be used depending on a circuit configuration or a driving method.
  • the transistor 300 may have a structure similar to that of the transistor 500 which is an OS transistor as illustrated in FIG. Note that details of the transistor 500 will be described later.
  • a unipolar circuit refers to a circuit in which all transistors are transistors of the same polarity, for example.
  • a circuit in which all transistors are n-channel transistors can be said to be a unipolar circuit.
  • An insulator 320, an insulator 322, an insulator 324, and an insulator 326 are sequentially stacked to cover the transistor 300.
  • the insulator 320, the insulator 322, the insulator 324, and the insulator 326 for example, silicon oxide, silicon oxynitride, silicon nitride oxide, silicon nitride, aluminum oxide, aluminum oxynitride, aluminum nitride oxide, aluminum nitride, or the like is used. Good.
  • silicon oxynitride refers to a material whose content of oxygen is higher than that of nitrogen
  • silicon oxynitride is a material whose content of nitrogen is higher than that of oxygen.
  • aluminum oxynitride refers to a material having a higher oxygen content than nitrogen as its composition
  • aluminum oxynitride means a material having a higher nitrogen content than oxygen as its composition.
  • the insulator 322 may have a function as a planarization film which planarizes a step formed by the transistor 300 or the like provided below the insulator 322.
  • the upper surface of the insulator 322 may be flattened by a flattening treatment using a chemical mechanical polishing (CMP) method or the like in order to improve flatness.
  • CMP chemical mechanical polishing
  • the insulator 324 it is preferable to use a film having a barrier property such that hydrogen and impurities do not diffuse from the substrate 311, the transistor 300, or the like to a region where the transistor 500 is provided.
  • a film having a barrier property against hydrogen for example, silicon nitride formed by a CVD method can be used.
  • silicon nitride formed by a CVD method when hydrogen diffuses into a semiconductor element including an oxide semiconductor, such as the transistor 500, characteristics of the semiconductor element might be deteriorated in some cases. Therefore, it is preferable to use a film which suppresses diffusion of hydrogen between the transistor 500 and the transistor 300.
  • the film that suppresses hydrogen diffusion is a film in which the amount of released hydrogen is small.
  • the desorption amount of hydrogen can be analyzed using, for example, a thermal desorption gas analysis method (TDS).
  • TDS thermal desorption gas analysis method
  • the desorption amount of hydrogen in the insulator 324 is calculated by converting the desorption amount converted into hydrogen atoms into the area of the insulator 324 in the range of the surface temperature of the film from 50° C. to 500° C. Therefore, it may be 10 ⁇ 10 15 atoms/cm 2 or less, preferably 5 ⁇ 10 15 atoms/cm 2 or less.
  • the insulator 326 preferably has a lower relative permittivity than the insulator 324.
  • the dielectric constant of the insulator 326 is preferably less than 4, and more preferably less than 3.
  • the relative dielectric constant of the insulator 326 is preferably 0.7 times or less, and more preferably 0.6 times or less that of the insulator 324.
  • a conductor 328, a conductor 330, and the like which are connected to the capacitor 600 or the transistor 500 are embedded.
  • the conductor 328 and the conductor 330 have a function as a plug or a wiring.
  • the conductor having a function as a plug or a wiring may have a plurality of structures collectively given the same reference numeral. In this specification and the like, the wiring and the plug connected to the wiring may be integrated. That is, part of the conductor may function as a wiring, and part of the conductor may function as a plug.
  • a conductive material such as a metal material, an alloy material, a metal nitride material, or a metal oxide material is used as a single layer or a laminated layer. be able to. It is preferable to use a high melting point material such as tungsten or molybdenum, which has both heat resistance and conductivity, and it is preferable to use tungsten. Alternatively, it is preferably formed of a low resistance conductive material such as aluminum or copper. Wiring resistance can be reduced by using a low-resistance conductive material.
  • a wiring layer may be provided over the insulator 326 and the conductor 330.
  • an insulator 350, an insulator 352, and an insulator 354 are sequentially stacked and provided.
  • a conductor 356 is formed over the insulator 350, the insulator 352, and the insulator 354.
  • the conductor 356 has a function of a plug connected to the transistor 300 or a wiring. Note that the conductor 356 can be provided using a material similar to that of the conductor 328 or the conductor 330.
  • the insulator 350 like the insulator 324, an insulator having a barrier property against hydrogen is preferably used.
  • the conductor 356 preferably contains a conductor having a barrier property against hydrogen.
  • a conductor having a hydrogen barrier property is formed in an opening provided in the insulator 350 having a hydrogen barrier property.
  • tantalum nitride or the like is preferably used as the conductor having a barrier property against hydrogen.
  • tantalum nitride and tungsten having high conductivity diffusion of hydrogen from the transistor 300 can be suppressed while maintaining conductivity as a wiring.
  • the tantalum nitride layer having a hydrogen barrier property is in contact with the insulator 350 having a hydrogen barrier property.
  • a wiring layer may be provided over the insulator 354 and the conductor 356.
  • an insulator 360, an insulator 362, and an insulator 364 are sequentially stacked and provided.
  • a conductor 366 is formed over the insulator 360, the insulator 362, and the insulator 364.
  • the conductor 366 has a function as a plug or a wiring. Note that the conductor 366 can be provided using a material similar to that of the conductor 328 or the conductor 330.
  • the insulator 360 like the insulator 324, an insulator having a barrier property against hydrogen is preferably used.
  • the conductor 366 preferably contains a conductor having a barrier property against hydrogen.
  • a conductor having a hydrogen barrier property is formed in an opening provided in the insulator 360 having a hydrogen barrier property.
  • a wiring layer may be provided over the insulator 364 and the conductor 366.
  • an insulator 370, an insulator 372, and an insulator 374 are sequentially stacked and provided.
  • a conductor 376 is formed over the insulator 370, the insulator 372, and the insulator 374.
  • the conductor 376 has a function as a plug or a wiring. Note that the conductor 376 can be provided using a material similar to that of the conductor 328 or the conductor 330.
  • the conductor 376 preferably includes a conductor having a barrier property against hydrogen.
  • a conductor having a hydrogen barrier property is formed in an opening provided in the insulator 370 having a hydrogen barrier property.
  • a wiring layer may be provided over the insulator 374 and the conductor 376.
  • an insulator 380, an insulator 382, and an insulator 384 are sequentially stacked and provided.
  • a conductor 386 is formed over the insulator 380, the insulator 382, and the insulator 384.
  • the conductor 386 has a function as a plug or a wiring. Note that the conductor 386 can be provided using a material similar to that of the conductor 328 or the conductor 330.
  • the insulator 380 like the insulator 324, an insulator having a barrier property against hydrogen is preferably used.
  • the conductor 386 preferably contains a conductor having a barrier property against hydrogen.
  • a conductor having a hydrogen barrier property is formed in an opening provided in the insulator 380 having a hydrogen barrier property.
  • the semiconductor device has been described above, the semiconductor device according to this embodiment It is not limited to this.
  • the number of wiring layers similar to the wiring layer including the conductor 356 may be three or less, or the number of wiring layers similar to the wiring layer including the conductor 356 may be five or more.
  • An insulator 510, an insulator 512, an insulator 514, and an insulator 516 are sequentially stacked over the insulator 384.
  • Any of the insulator 510, the insulator 512, the insulator 514, and the insulator 516 is preferably formed using a substance having a barrier property against oxygen and hydrogen.
  • the insulator 510 and the insulator 514 it is preferable to use a film having a barrier property such that hydrogen and impurities do not diffuse from the substrate 311 or the like, or from the region where the transistor 300 is provided to the region where the transistor 500 is provided. .. Therefore, it is preferable to use a material similar to that of the insulator 324.
  • silicon nitride formed by a CVD method can be used as an example of a film having a barrier property against hydrogen.
  • silicon nitride formed by a CVD method when hydrogen diffuses into a semiconductor element including an oxide semiconductor, such as the transistor 500, characteristics of the semiconductor element might be deteriorated in some cases. Therefore, it is preferable to use a film which suppresses diffusion of hydrogen between the transistor 500 and the transistor 300.
  • the film that suppresses the diffusion of hydrogen is specifically a film in which the amount of released hydrogen is small.
  • a metal oxide such as aluminum oxide, hafnium oxide, or tantalum oxide is preferably used for the insulator 510 and the insulator 514.
  • aluminum oxide has a high blocking effect on both oxygen and impurities such as hydrogen and moisture which cause fluctuations in electrical characteristics of a transistor, which do not pass through the film. Therefore, aluminum oxide can prevent impurities such as hydrogen and moisture from entering the transistor 500 during and after the manufacturing process of the transistor. In addition, release of oxygen from the metal oxide included in the transistor 500 can be suppressed. Therefore, it is suitable to be used as a protective film for the transistor 500.
  • the same material as that of the insulator 320 can be used for the insulator 512 and the insulator 516. Further, by applying a material having a relatively low dielectric constant to these insulators, it is possible to reduce the parasitic capacitance generated between the wirings.
  • a silicon oxide film, a silicon oxynitride film, or the like can be used as the insulator 512 and the insulator 516.
  • a conductor 518 In the insulator 510, the insulator 512, the insulator 514, and the insulator 516, a conductor 518, a conductor included in the transistor 500 (eg, the conductor 503), and the like are embedded. Note that the conductor 518 has a function of a plug connected to the capacitor 600 or the transistor 300, or a wiring.
  • the conductor 518 can be provided using a material similar to that of the conductor 328 or the conductor 330.
  • the conductor 518 in a region which is in contact with the insulator 510 and the insulator 514 is preferably a conductor having a barrier property against oxygen, hydrogen, and water.
  • the transistor 300 and the transistor 500 can be separated by a layer having a barrier property against oxygen, hydrogen, and water, and diffusion of hydrogen from the transistor 300 to the transistor 500 can be suppressed.
  • the transistor 500 is provided above the insulator 516.
  • the transistor 500 includes a conductor 503 arranged so as to be embedded in the insulator 514 and the insulator 516, and an insulator 520 arranged over the insulator 516 and the conductor 503.
  • the oxide 530b arranged, the conductor 542a and the conductor 542b which are arranged apart from each other on the oxide 530b, and the conductor 542a and the conductor 542b which are arranged between the conductor 542a and the conductor 542b.
  • An insulator 580 having an opening formed so as to overlap with each other, an oxide 530c arranged on a bottom surface and a side surface of the opening, an insulator 550 arranged on a surface on which the oxide 530c is formed, and an insulator 550 arranged on a surface on which the insulator 550 is formed.
  • a conductor 560 that is formed.
  • the insulator 544 is preferably provided between the oxide 530a, the oxide 530b, the conductor 542a, and the insulator 580 and the insulator 580.
  • the conductor 560 includes a conductor 560a provided inside the insulator 550 and a conductor 560b provided so as to be embedded inside the conductor 560a. It is preferable to have.
  • an insulator 574 is preferably provided over the insulator 580, the conductor 560, and the insulator 550.
  • the oxide 530a, the oxide 530b, and the oxide 530c may be collectively referred to as the oxide 530.
  • the transistor 500 has a structure in which three layers of an oxide 530a, an oxide 530b, and an oxide 530c are stacked in a region where a channel is formed and in the vicinity thereof, the present invention is not limited to this. Not a thing. For example, a single layer of the oxide 530b, a two-layer structure of the oxide 530b and the oxide 530a, a two-layer structure of the oxide 530b and the oxide 530c, or a stacked structure of four or more layers may be provided. Further, in the transistor 500, the conductor 560 is illustrated as a stacked structure of two layers, but the present invention is not limited to this.
  • the conductor 560 may have a single-layer structure or a stacked structure including three or more layers.
  • the transistor 500 illustrated in FIGS. 4, 5, 6A, and 6B is an example, and the structure is not limited thereto, and an appropriate transistor may be used depending on a circuit configuration or a driving method.
  • the conductor 560 functions as a gate electrode of the transistor 500, and the conductors 542a and 542b function as a source electrode and a drain electrode, respectively.
  • the conductor 560 is formed so as to be embedded in the opening of the insulator 580 and the region between the conductors 542a and 542b.
  • the arrangement of the conductor 560, the conductor 542a, and the conductor 542b is selected in a self-aligned manner with respect to the opening of the insulator 580. That is, in the transistor 500, the gate electrode can be arranged in a self-aligned manner between the source electrode and the drain electrode. Therefore, the conductor 560 can be formed without providing a positioning margin, so that the area occupied by the transistor 500 can be reduced. As a result, the semiconductor device can be miniaturized and highly integrated.
  • the conductor 560 is formed in a region between the conductor 542a and the conductor 542b in a self-aligned manner, the conductor 560 does not have a region overlapping with the conductor 542a or the conductor 542b. Accordingly, the parasitic capacitance formed between the conductor 560 and the conductors 542a and 542b can be reduced. Therefore, the switching speed of the transistor 500 is improved and high frequency characteristics can be obtained.
  • the conductor 560 may function as a first gate (also referred to as a top gate) electrode.
  • the conductor 503 may function as a second gate (also referred to as a bottom gate) electrode.
  • the threshold voltage of the transistor 500 can be controlled by changing the potential applied to the conductor 503 independently of the potential applied to the conductor 560.
  • the threshold voltage of the transistor 500 can be made higher than 0 V and the off-state current can be reduced. Therefore, applying a negative potential to the conductor 503 can reduce the drain current when the potential applied to the conductor 560 is 0 V, as compared to the case where no potential is applied.
  • the conductor 503 is arranged so as to have a region overlapping with the oxide 530 and the conductor 560. Thus, when a potential is applied to the conductor 560 and the conductor 503, the electric field generated from the conductor 560 and the electric field generated from the conductor 503 are connected to cover a channel formation region formed in the oxide 530.
  • a structure of a transistor in which a channel formation region is electrically surrounded by an electric field of a first gate electrode and a second gate electrode is referred to as a surrounded channel (s-channel) structure.
  • the conductor 503 has a structure similar to that of the conductor 518, and the conductor 503a is formed in contact with the inner walls of the openings of the insulator 514 and the insulator 516, and the conductor 503b is formed further inside.
  • the transistor 500 has a structure in which the conductor 503a and the conductor 503b are stacked, the present invention is not limited to this.
  • the conductor 503 may have a single-layer structure or a stacked structure including three or more layers.
  • the conductor 503a is preferably formed using a conductive material having a function of suppressing diffusion of impurities such as hydrogen atoms, hydrogen molecules, water molecules, and copper atoms (the above impurities do not easily pass through).
  • a conductive material having a function of suppressing diffusion of oxygen eg, at least one of oxygen atoms, oxygen molecules, and the like
  • the function of suppressing diffusion of impurities or oxygen is a function of suppressing diffusion of any one or all of the above impurities and oxygen.
  • the conductor 503a since the conductor 503a has a function of suppressing diffusion of oxygen, it is possible to prevent the conductor 503b from being oxidized and being reduced in conductivity.
  • the conductor 503b is preferably formed using a conductive material having high conductivity, which contains tungsten, copper, or aluminum as its main component. In that case, the conductor 503a does not necessarily have to be provided.
  • the conductor 503b is illustrated as a single layer, it may have a laminated structure, for example, a laminate of titanium or titanium nitride and the above conductive material.
  • the insulator 520, the insulator 522, and the insulator 524 function as a second gate insulating film.
  • the insulator 524 which is in contact with the oxide 530, an insulator containing more oxygen than oxygen which satisfies the stoichiometric composition is preferably used. That is, it is preferable that the insulator 524 be formed with an excess oxygen region. By providing such an insulator containing excess oxygen in contact with the oxide 530, oxygen vacancies in the oxide 530 can be reduced and the reliability of the transistor 500 can be improved.
  • an oxide material in which part of oxygen is released by heating is preferably used.
  • An oxide that desorbs oxygen by heating means that the amount of desorbed oxygen in terms of oxygen atoms is 1.0 ⁇ 10 18 atoms/cm 3 or more, preferably 1 or more by TDS (Thermal Desorption Spectroscopy) analysis.
  • the surface temperature of the film during the TDS analysis is preferably 100° C. or higher and 700° C. or lower, or 100° C. or higher and 400° C. or lower.
  • any one or more of heat treatment, microwave treatment, and RF treatment may be performed by contacting the insulator having the excess oxygen region with the oxide 530.
  • water or hydrogen in the oxide 530 can be removed.
  • reactions occur which bonds VoH is disconnected, when other words by reacting as "V O H ⁇ V O + H" occurs, it is possible to dehydrogenation.
  • Part of the hydrogen generated at this time may be combined with oxygen and converted into H 2 O, which is removed from the oxide 530 or the insulator in the vicinity of the oxide 530.
  • a device having a power source for generating high-density plasma or a device having a power source for applying RF to the substrate side for the microwave treatment.
  • a high-density oxygen radical can be generated by using a gas containing oxygen and using high-density plasma.
  • oxygen radicals generated by high-density plasma can be efficiently introduced into the oxide 530 or the insulator near the oxide 530.
  • the pressure may be 133 Pa or higher, preferably 200 Pa or higher, more preferably 400 Pa or higher.
  • oxygen and argon are used, and an oxygen flow rate ratio (O 2 /(O 2 +Ar)) is 50% or less, preferably 10% or more and 30% or less. Good to do.
  • heat treatment is preferably performed with the surface of the oxide 530 exposed.
  • the heat treatment may be performed at 100 °C to 450 °C inclusive, more preferably 350 °C to 400 °C inclusive, for example.
  • the heat treatment is performed in an atmosphere of a nitrogen gas or an inert gas, or an atmosphere containing an oxidizing gas at 10 ppm or more, 1% or more, or 10% or more.
  • the heat treatment is preferably performed in an oxygen atmosphere. Accordingly, oxygen can be supplied to the oxide 530 to reduce oxygen vacancies (V 2 O 3 ).
  • the heat treatment may be performed under reduced pressure.
  • the heat treatment may be performed in an atmosphere containing an oxidizing gas in an amount of 10 ppm or higher, 1% or higher, or 10% or higher in order to supplement desorbed oxygen after the heat treatment is performed in a nitrogen gas or inert gas atmosphere.
  • the heat treatment may be performed in an atmosphere containing an oxidizing gas in an amount of 10 ppm or more, 1% or more, or 10% or more, and then continuously performed in a nitrogen gas or inert gas atmosphere.
  • the insulator 522 preferably has a function of suppressing diffusion of oxygen (eg, oxygen atoms, oxygen molecules, and the like) (oxygen is difficult to permeate).
  • oxygen eg, oxygen atoms, oxygen molecules, and the like
  • the insulator 522 has a function of suppressing diffusion of oxygen and impurities, oxygen included in the oxide 530 does not diffuse to the insulator 520 side, which is preferable. Further, the conductor 503 can be prevented from reacting with oxygen contained in the insulator 524 or the oxide 530.
  • the insulator 522 is, for example, aluminum oxide, hafnium oxide, an oxide containing aluminum and hafnium (hafnium aluminate), tantalum oxide, zirconium oxide, lead zirconate titanate (PZT), strontium titanate (SrTiO 3 ), or It is preferable to use an insulator containing a so-called high-k material such as (Ba, Sr)TiO 3 (BST) in a single layer or a laminated layer. As transistors are miniaturized and highly integrated, thinning of the gate insulating film may cause problems such as leakage current. By using a high-k material for the insulator functioning as a gate insulating film, it is possible to reduce the gate potential during transistor operation while maintaining the physical film thickness.
  • a so-called high-k material such as (Ba, Sr)TiO 3 (BST)
  • an insulator containing an oxide of one or both of aluminum and hafnium which is an insulating material having a function of suppressing diffusion of impurities, oxygen, and the like (oxygen is difficult to permeate) is preferably used.
  • the insulator containing one or both oxides of aluminum and hafnium aluminum oxide, hafnium oxide, an oxide containing aluminum and hafnium (hafnium aluminate), or the like is preferably used.
  • the insulator 522 is formed using such a material, the insulator 522 suppresses release of oxygen from the oxide 530 and mixture of impurities such as hydrogen from the peripheral portion of the transistor 500 into the oxide 530. Functions as a layer.
  • aluminum oxide, bismuth oxide, germanium oxide, niobium oxide, silicon oxide, titanium oxide, tungsten oxide, yttrium oxide, or zirconium oxide may be added to these insulators.
  • these insulators may be nitrided. Silicon oxide, silicon oxynitride, or silicon nitride may be stacked over the above insulator and used.
  • the insulator 520 is preferably thermally stable.
  • silicon oxide and silicon oxynitride are preferable because they are thermally stable.
  • an insulator of a high-k material by combining an insulator of a high-k material with silicon oxide or silicon oxynitride, an insulator 520 having a stacked structure which is thermally stable and has a high relative dielectric constant can be obtained.
  • the insulator 520, the insulator 522, and the insulator 524 are illustrated as the second gate insulating film having a stacked-layer structure of three layers.
  • the insulating film may have a single layer, two layers, or a laminated structure of four or more layers.
  • the laminated structure is not limited to the same material, and may be a laminated structure made of different materials.
  • the oxide 530 including the channel formation region is preferably formed using a metal oxide which functions as an oxide semiconductor.
  • a metal oxide which functions as an oxide semiconductor.
  • an In-M-Zn oxide the element M is aluminum, gallium, yttrium, copper, vanadium, beryllium, boron, titanium, iron, nickel, germanium, zirconium, molybdenum, lanthanum, cerium, neodymium.
  • hafnium, tantalum, tungsten, magnesium, and the like One or more selected from hafnium, tantalum, tungsten, magnesium, and the like).
  • the In-M-Zn oxide that can be applied as the oxide 530 is preferably a CAAC-OS (C-Axls Aligned Crystal Oxide Semiconductor) or a CAC-OS (Clood-Aligned Composite Oxide Semiconductor).
  • a CAAC-OS C-Axls Aligned Crystal Oxide Semiconductor
  • CAC-OS Clood-Aligned Composite Oxide Semiconductor
  • an In—Ga oxide or an In—Zn oxide may be used as the oxide 530.
  • the CAAC-OS and CAC-OS will be described later.
  • a metal oxide having a low carrier concentration is preferably used.
  • the concentration of impurities in the metal oxide may be lowered and the density of defect states may be lowered.
  • low impurity concentration and low defect level density are referred to as high-purity intrinsic or substantially high-purity intrinsic.
  • the impurities in the metal oxide include, for example, hydrogen, nitrogen, alkali metals, alkaline earth metals, iron, nickel, silicon and the like.
  • hydrogen contained in a metal oxide reacts with oxygen bonded to a metal atom to be water, which may cause oxygen vacancies in the metal oxide.
  • oxygen vacancies and hydrogen combine to form a V O H.
  • V O H acts as a donor, sometimes electrons serving as carriers are generated.
  • part of hydrogen may be bonded to oxygen which is bonded to a metal atom to generate an electron which is a carrier. Therefore, a transistor including a metal oxide containing a large amount of hydrogen is likely to have normally-on characteristics.
  • the metal oxide easily moves due to stress such as heat and an electric field; therefore, when a large amount of hydrogen is contained in the metal oxide, reliability of the transistor might be deteriorated.
  • the highly purified intrinsic or substantially highly purified intrinsic it is preferable that the highly purified intrinsic or substantially highly purified intrinsic.
  • the impurities such as hydrogen (dehydration, may be described as dehydrogenation.)
  • oxygenation treatment it is important to supply oxygen to the metal oxide to fill oxygen vacancies (sometimes referred to as oxygenation treatment).
  • the metal oxide impurities is sufficiently reduced such V O H By using the channel formation region of the transistor, it is possible to have stable electrical characteristics.
  • a defect in which hydrogen is contained in an oxygen vacancy can function as a metal oxide donor.
  • the metal oxide may be evaluated not by the donor concentration but by the carrier concentration. Therefore, in this specification and the like, a carrier concentration which is assumed to be a state where an electric field is not applied is sometimes used as a parameter of a metal oxide, instead of a donor concentration. That is, the “carrier concentration” described in this specification and the like can be called the “donor concentration” in some cases.
  • the hydrogen concentration obtained by secondary ion mass spectrometry is less than 1 ⁇ 10 20 atoms/cm 3 , preferably 1 ⁇ 10 19 atoms/cm 3. It is less than 3 , more preferably less than 5 ⁇ 10 18 atoms/cm 3 , and even more preferably less than 1 ⁇ 10 18 atoms/cm 3 .
  • the carrier concentration of the metal oxide in the channel formation region is preferably 1 ⁇ 10 18 cm ⁇ 3 or lower, and less than 1 ⁇ 10 17 cm ⁇ 3. Is more preferable, less than 1 ⁇ 10 16 cm ⁇ 3 is more preferable, less than 1 ⁇ 10 13 cm ⁇ 3 is still more preferable, and less than 1 ⁇ 10 12 cm ⁇ 3 is further preferable.
  • the lower limit of the carrier concentration of the metal oxide in the channel formation region is not particularly limited, but can be set to, for example, 1 ⁇ 10 ⁇ 9 cm ⁇ 3 .
  • the conductor 542 (the conductor 542a and the conductor 542b) and the oxide 530 are in contact with each other, so that oxygen in the oxide 530 diffuses into the conductor 542,
  • the conductor 542 may be oxidized. Oxidation of the conductor 542 is likely to reduce the conductivity of the conductor 542. Note that diffusion of oxygen in the oxide 530 to the conductor 542 can be restated as absorption of oxygen in the oxide 530 by the conductor 542.
  • oxygen in the oxide 530 diffuses into the conductor 542 (the conductor 542a and the conductor 542b), so that the conductor 542a and the oxide 530b are separated from each other and the conductor 542b and the oxide 530b are separated from each other.
  • a different layer is formed. Since the different layer contains more oxygen than the conductor 542, it is estimated that the different layer has an insulating property.
  • the three-layer structure of the conductor 542, the different layer, and the oxide 530b can be regarded as a three-layer structure including a metal-insulator-semiconductor, which is called a MIS (Metal-Insulator-Semiconductor) structure. , Or a diode junction structure mainly composed of a MIS structure.
  • the different layer is not limited to being formed between the conductor 542 and the oxide 530b.
  • a different layer may be formed between the conductor 542 and the oxide 530c.
  • it may be formed between the conductor 542 and the oxide 530b and between the conductor 542 and the oxide 530c.
  • a metal oxide having a bandgap of 2 eV or more, preferably 2.5 eV or more is preferably used.
  • the oxide 530 includes the oxide 530a below the oxide 530b, and thus can suppress diffusion of impurities into the oxide 530b from a structure formed below the oxide 530a. In addition, by having the oxide 530c over the oxide 530b, impurities can be prevented from diffusing into the oxide 530b from a structure formed above the oxide 530c.
  • the oxide 530 preferably has a stacked structure of a plurality of oxide layers in which the atomic ratio of each metal atom is different.
  • the atomic ratio of the element M in the constituent elements is higher than the atomic ratio of the element M in the constituent elements in the metal oxide used for the oxide 530b.
  • the atomic ratio of the element M to In is preferably higher than the atomic ratio of the element M to In in the metal oxide used for the oxide 530b.
  • the atomic ratio of In to the element M is preferably higher than the atomic ratio of In to the element M in the metal oxide used for the oxide 530a.
  • a metal oxide that can be used for the oxide 530a or the oxide 530b can be used.
  • laminated structure of gallium oxide and In:Ga:Zn 4:2:3 [atomic ratio].
  • the energy of the bottom of the conduction band of the oxide 530a and the oxide 530c be higher than the energy of the bottom of the conduction band of the oxide 530b.
  • the electron affinity of the oxide 530a and the oxide 530c be smaller than the electron affinity of the oxide 530b.
  • the energy level at the bottom of the conduction band changes gently at the junction of the oxide 530a, the oxide 530b, and the oxide 530c.
  • the energy level at the bottom of the conduction band at the junction of the oxide 530a, the oxide 530b, and the oxide 530c is continuously changed or continuously joined.
  • the density of defect states in the mixed layer formed at the interface between the oxide 530a and the oxide 530b and the interface between the oxide 530b and the oxide 530c is preferably low.
  • the oxide 530a and the oxide 530b, and the oxide 530b and the oxide 530c have a common element other than oxygen (as a main component), so that a mixed layer with low density of defect states is formed. can do.
  • the oxide 530b is an In—Ga—Zn oxide
  • In—Ga—Zn oxide, Ga—Zn oxide, gallium oxide, or the like may be used as the oxide 530a and the oxide 530c.
  • the main path of carriers is the oxide 530b.
  • the oxide 530a and the oxide 530c have the above structure, the density of defect states in the interface between the oxide 530a and the oxide 530b and the interface between the oxide 530b and the oxide 530c can be reduced. .. Therefore, the influence of interface scattering on carrier conduction is reduced and the transistor 500 can have high on-state current.
  • the semiconductor material that can be used for the oxide 530 is not limited to the above metal oxide.
  • a semiconductor material having a band gap (a semiconductor material that is not a zero-gap semiconductor) may be used.
  • a semiconductor of a simple element such as silicon, a compound semiconductor such as gallium arsenide, a layered substance functioning as a semiconductor (also referred to as an atomic layer substance, a two-dimensional material, or the like) is preferably used as a semiconductor material.
  • the layered substance is a general term for a group of materials having a layered crystal structure.
  • the layered crystal structure is a structure in which layers formed by a covalent bond or an ionic bond are stacked via a bond weaker than the covalent bond or the ionic bond, such as van der Waals force.
  • the layered material has high electric conductivity in the unit layer, that is, high two-dimensional electric conductivity.
  • Layered materials include graphene, silicene, chalcogenides, and the like.
  • a chalcogenide is a compound containing chalcogen.
  • chalcogen is a general term for elements belonging to Group 16 and includes oxygen, sulfur, selenium, tellurium, polonium, and livermolium.
  • Examples of chalcogenides include transition metal chalcogenides and group 13 chalcogenides.
  • a transition metal chalcogenide which functions as a semiconductor is preferably used.
  • Specific examples of the transition metal chalcogenide applicable as the oxide 530 include molybdenum sulfide (typically MoS 2 ), molybdenum selenide (typically MoSe 2 ), molybdenum tellurium (typically MoTe 2 ).
  • Tungsten sulfide typically WS 2
  • tungsten selenide typically WSe 2
  • tungsten tellurium typically WTe 2
  • hafnium sulfide typically HfS 2
  • hafnium selenide typically HFSE 2
  • the sulfide zirconium typically ZrS 2 is
  • the selenide zirconium typically ZrSe 2
  • a conductor 542a and a conductor 542b which function as a source electrode and a drain electrode are provided over the oxide 530b.
  • Examples of the conductor 542a and the conductor 542b are aluminum, chromium, copper, silver, gold, platinum, tantalum, nickel, titanium, molybdenum, tungsten, hafnium, vanadium, niobium, manganese, magnesium, zirconium, beryllium, indium, and ruthenium. It is preferable to use a metal element selected from iridium, strontium, and lanthanum, an alloy containing the above metal element as a component, an alloy in which the above metal elements are combined, or the like.
  • tantalum nitride, titanium nitride, tungsten, nitride containing titanium and aluminum, nitride containing tantalum and aluminum, ruthenium oxide, ruthenium nitride, oxide containing strontium and ruthenium, oxide containing lanthanum and nickel, or the like is used. It is preferable. Further, tantalum nitride, titanium nitride, nitride containing titanium and aluminum, nitride containing tantalum and aluminum, ruthenium oxide, ruthenium nitride, oxide containing strontium and ruthenium, and oxide containing lanthanum and nickel are difficult to oxidize. A conductive material or a material that maintains conductivity even when absorbing oxygen is preferable. Further, a metal nitride film such as tantalum nitride is preferable because it has a barrier property against hydrogen or oxygen.
  • the conductor 542a and the conductor 542b are illustrated as a single-layer structure in FIG. 6, a stacked structure of two or more layers may be used.
  • a tantalum nitride film and a tungsten film may be stacked.
  • a titanium film and an aluminum film may be stacked.
  • a two-layer structure in which an aluminum film is stacked over a tungsten film a two-layer structure in which a copper film is stacked over a copper-magnesium-aluminum alloy film, a two-layer structure in which a copper film is stacked over a titanium film, and a tungsten film is formed over the tungsten film.
  • a two-layer structure in which copper films are laminated may be used.
  • a titanium film or a titanium nitride film a three-layer structure in which an aluminum film or a copper film is stacked over the titanium film or the titanium nitride film, and a titanium film or a titanium nitride film is further formed thereover, a molybdenum film, or
  • a molybdenum nitride film and an aluminum film or a copper film are stacked over the molybdenum film or the molybdenum nitride film, and a molybdenum film or a molybdenum nitride film is formed thereover.
  • a transparent conductive material containing indium oxide, tin oxide, or zinc oxide may be used.
  • a region 543a and a region 543b may be formed as low resistance regions at the interface between the oxide 530 and the conductor 542a (conductor 542b) and in the vicinity thereof.
  • the region 543a functions as one of the source region and the drain region
  • the region 543b functions as the other of the source region and the drain region.
  • a channel formation region is formed in a region between the region 543a and the region 543b.
  • the oxygen concentration in the region 543a (region 543b) may be reduced.
  • a metal compound layer containing a metal contained in the conductor 542a (conductor 542b) and a component of the oxide 530 may be formed in the region 543a (region 543b). In such a case, the carrier concentration of the region 543a (region 543b) increases, and the region 543a (region 543b) becomes a low resistance region.
  • the insulator 544 is provided so as to cover the conductors 542a and 542b and suppresses oxidation of the conductors 542a and 542b. At this time, the insulator 544 may be provided so as to cover a side surface of the oxide 530 and be in contact with the insulator 524.
  • insulator 544 a metal oxide containing one kind or two or more kinds selected from hafnium, aluminum, gallium, yttrium, zirconium, tungsten, titanium, tantalum, nickel, germanium, neodymium, lanthanum, magnesium, and the like is used. be able to. Further, as the insulator 544, silicon nitride oxide, silicon nitride, or the like can be used.
  • the insulator 544 it is preferable to use aluminum oxide, hafnium oxide, or an oxide containing aluminum and hafnium (hafnium aluminate), which is an insulator containing one or both oxides of aluminum and hafnium. ..
  • hafnium aluminate has higher heat resistance than the hafnium oxide film. Therefore, crystallization is less likely to occur in heat treatment in a later step, which is preferable.
  • the insulator 544 is not an essential component when the conductors 542a and 542b are materials that have oxidation resistance or when the conductivity does not significantly decrease even when oxygen is absorbed. It may be designed as appropriate according to the desired transistor characteristics.
  • impurities such as water and hydrogen contained in the insulator 580 can be suppressed from diffusing into the oxide 530b through the oxide 530c and the insulator 550.
  • oxidation of the conductor 560 due to excess oxygen in the insulator 580 can be suppressed.
  • the insulator 550 functions as a first gate insulating film.
  • the insulator 550 is preferably arranged so as to be in contact with the inside (top surface and side surface) of the oxide 530c.
  • the insulator 550 is preferably formed using an insulator that contains excess oxygen and releases oxygen by heating.
  • silicon oxide containing excess oxygen, silicon oxynitride, silicon nitride oxide, silicon nitride, silicon oxide containing fluorine, silicon oxide containing carbon, carbon oxide containing silicon and nitrogen, and voids The silicon oxide which it has can be used.
  • silicon oxide and silicon oxynitride are preferable because they are stable to heat.
  • the insulator 550 By providing an insulator from which oxygen is released by heating as the insulator 550 in contact with the upper surface of the oxide 530c, oxygen is effectively supplied from the insulator 550 to the channel formation region of the oxide 530b through the oxide 530c. can do. Further, similarly to the insulator 524, it is preferable that the concentration of impurities such as water or hydrogen in the insulator 550 be reduced.
  • the thickness of the insulator 550 is preferably 1 nm or more and 20 nm or less.
  • a metal oxide may be provided between the insulator 550 and the conductor 560 in order to efficiently supply the excess oxygen included in the insulator 550 to the oxide 530.
  • the metal oxide preferably has a function of suppressing oxygen diffusion from the insulator 550 to the conductor 560.
  • the metal oxide having a function of suppressing diffusion of oxygen diffusion of excess oxygen from the insulator 550 to the conductor 560 is suppressed. That is, a decrease in the excess oxygen amount supplied to the oxide 530 can be suppressed.
  • oxidation of the conductor 560 due to excess oxygen can be suppressed.
  • a material that can be used for the insulator 544 may be used.
  • the insulator 550 may have a stacked-layer structure like the second gate insulating film.
  • the insulator functioning as a gate insulating film has a stacked structure of a high-k material and a thermally stable material, so that the gate potential at the time of transistor operation can be increased while maintaining the physical film thickness. It becomes possible to reduce. Further, it is possible to form a laminated structure that is thermally stable and has a high relative dielectric constant.
  • the conductor 560 functioning as the first gate electrode has a two-layer structure in FIGS. 6A and 6B, it may have a single-layer structure or a stacked structure of three or more layers.
  • the conductor 560a has a function of suppressing diffusion of impurities such as hydrogen atoms, hydrogen molecules, water molecules, nitrogen atoms, nitrogen molecules, nitric oxide molecules (N 2 O, NO, NO 2, etc.), and copper atoms. It is preferable to use materials. Alternatively, it is preferable to use a conductive material having a function of suppressing diffusion of oxygen (eg, at least one of oxygen atoms and oxygen molecules). Since the conductor 560a has a function of suppressing diffusion of oxygen, it is possible to prevent the conductor 560b from being oxidized by oxygen contained in the insulator 550 and thus lowering conductivity.
  • impurities such as hydrogen atoms, hydrogen molecules, water molecules, nitrogen atoms, nitrogen molecules, nitric oxide molecules (N 2 O, NO, NO 2, etc.), and copper atoms. It is preferable to use materials. Alternatively, it is preferable to use a conductive material having a function of suppressing diffusion of oxygen (eg, at least one of oxygen
  • the conductive material having a function of suppressing diffusion of oxygen for example, tantalum, tantalum nitride, ruthenium, ruthenium oxide, or the like is preferably used.
  • an oxide semiconductor which can be used for the oxide 530 can be used as the conductor 560a. In that case, by forming a film of the conductor 560b by a sputtering method, the electric resistance value of the conductor 560a can be reduced to be a conductor. This can be called an OC (Oxide Conductor) electrode.
  • the conductor 560b is preferably formed using a conductive material containing tungsten, copper, or aluminum as its main component. Since the conductor 560b also functions as a wiring, it is preferable to use a conductor having high conductivity. For example, a conductive material containing tungsten, copper, or aluminum as its main component can be used. Further, the conductor 560b may have a stacked structure, for example, a stacked structure of titanium or titanium nitride and the above conductive material.
  • the insulator 580 is provided over the conductor 542a and the conductor 542b with the insulator 544 interposed therebetween.
  • the insulator 580 preferably has an excess oxygen region.
  • silicon oxide, silicon oxynitride, silicon nitride oxide, silicon nitride, fluorine-added silicon oxide, carbon-added silicon oxide, carbon-nitrogen-added silicon oxide, or void-containing oxide is used. It is preferable to have silicon, resin, or the like.
  • silicon oxide and silicon oxynitride are preferable because they are thermally stable.
  • silicon oxide and silicon oxide having vacancies are preferable because an excess oxygen region can be easily formed in a later step.
  • the insulator 580 preferably has an excess oxygen region.
  • oxygen in the insulator 580 is efficiently transferred to the oxide 530a and the oxide 530b through the oxide 530c. Can be supplied. Note that the concentration of impurities such as water or hydrogen in the insulator 580 is preferably reduced.
  • the opening of the insulator 580 is formed so as to overlap with a region between the conductor 542a and the conductor 542b.
  • the conductor 560 is formed so as to be embedded in the opening of the insulator 580 and the region between the conductors 542a and 542b.
  • the conductor 560 can have a shape with a high aspect ratio.
  • the conductor 560 is provided so as to be embedded in the opening of the insulator 580, even if the conductor 560 has a high aspect ratio, the conductor 560 is not collapsed during the process. Can be formed.
  • the insulator 574 is preferably provided in contact with the top surface of the insulator 580, the top surface of the conductor 560, and the top surface of the insulator 550.
  • an excess oxygen region can be provided in the insulator 550 and the insulator 580. Accordingly, oxygen can be supplied into the oxide 530 from the excess oxygen region.
  • insulator 574 a metal oxide containing one kind or two or more kinds selected from hafnium, aluminum, gallium, yttrium, zirconium, tungsten, titanium, tantalum, nickel, germanium, magnesium, or the like is used. You can
  • aluminum oxide has a high barrier property and can suppress diffusion of hydrogen and nitrogen even in a thin film of 0.5 nm to 3.0 nm. Therefore, aluminum oxide formed by a sputtering method can have a function as a barrier film against impurities such as hydrogen as well as an oxygen supply source.
  • an insulator 581 which functions as an interlayer film is preferably provided over the insulator 574.
  • the insulator 581 preferably has a reduced concentration of impurities such as water or hydrogen in the film.
  • the conductor 540a and the conductor 540b are provided in the openings formed in the insulator 581, the insulator 574, the insulator 580, and the insulator 544.
  • the conductor 540a and the conductor 540b are provided to face each other with the conductor 560 interposed therebetween.
  • the conductor 540a and the conductor 540b have the same structure as the conductor 546 and the conductor 548 described later.
  • An insulator 582 is provided over the insulator 581.
  • the insulator 582 it is preferable to use a substance having a barrier property against oxygen and hydrogen. Therefore, a material similar to that of the insulator 514 can be used for the insulator 582.
  • the insulator 582 is preferably formed using a metal oxide such as aluminum oxide, hafnium oxide, or tantalum oxide.
  • aluminum oxide has a high blocking effect of not permeating the film with respect to both oxygen and impurities such as hydrogen and moisture which cause fluctuations in electrical characteristics of the transistor. Therefore, aluminum oxide can prevent impurities such as hydrogen and moisture from entering the transistor 500 during and after the manufacturing process of the transistor. Further, release of oxygen from the oxide included in the transistor 500 can be suppressed. Therefore, it is suitable to be used as a protective film for the transistor 500.
  • an insulator 586 is provided over the insulator 582.
  • a material similar to that of the insulator 320 can be used.
  • a material having a relatively low dielectric constant to these insulators, it is possible to reduce the parasitic capacitance generated between the wirings.
  • a silicon oxide film, a silicon oxynitride film, or the like can be used as the insulator 586.
  • the insulator 520, the insulator 522, the insulator 524, the insulator 544, the insulator 580, the insulator 574, the insulator 581, the insulator 582, and the insulator 586 include the conductor 546, the conductor 548, and the like. Is embedded.
  • the conductor 546 and the conductor 548 have a function of a plug connected to the capacitor 600, the transistor 500, or the transistor 300, or a wiring.
  • the conductor 546 and the conductor 548 can be provided using a material similar to that of the conductor 328 or the conductor 330.
  • an opening may be formed so as to surround the transistor 500, and an insulator having a high barrier property against hydrogen or water may be formed so as to cover the opening.
  • the plurality of transistors 500 may be collectively wrapped with an insulator having a high barrier property against hydrogen or water.
  • an opening is formed so as to surround the transistor 500, for example, an opening reaching the insulator 514 or the insulator 522 is formed and the above-described insulator having a high barrier property is provided so as to be in contact with the insulator 514 or the insulator 522.
  • the transistor 500 can serve as part of a manufacturing process of the transistor 500, which is preferable.
  • the insulator having a high barrier property against hydrogen or water a material similar to that of the insulator 522 may be used, for example.
  • the capacitor 600 is provided above the transistor 500.
  • the capacitor 600 includes a conductor 610, a conductor 620, and an insulator 630.
  • the conductor 612 may be provided over the conductor 546 and the conductor 548.
  • the conductor 612 has a function as a plug connected to the transistor 500 or a wiring.
  • the conductor 610 has a function as an electrode of the capacitor 600. Note that the conductor 612 and the conductor 610 can be formed at the same time.
  • a metal film containing an element selected from molybdenum, titanium, tantalum, tungsten, aluminum, copper, chromium, neodymium, and scandium, or a metal nitride film containing the above element as a component (Tantalum nitride film, titanium nitride film, molybdenum nitride film, tungsten nitride film) or the like can be used.
  • indium tin oxide, indium oxide containing tungsten oxide, indium zinc oxide containing tungsten oxide, indium oxide containing titanium oxide, indium tin oxide containing titanium oxide, indium zinc oxide, or silicon oxide is added. It is also possible to apply a conductive material such as indium tin oxide.
  • the conductor 612 and the conductor 610 each have a single-layer structure in FIG. 4, the structure is not limited to this and may have a stacked structure of two or more layers.
  • a conductor having a barrier property and a conductor having high adhesion to the conductor having a high conductivity may be formed between the conductor having a barrier property and the conductor having high conductivity.
  • the conductor 620 is provided so as to overlap with the conductor 610 with the insulator 630 interposed therebetween.
  • the conductor 620 can be formed using a conductive material such as a metal material, an alloy material, or a metal oxide material. It is preferable to use a high-melting-point material such as tungsten or molybdenum that has both heat resistance and conductivity, and it is particularly preferable to use tungsten.
  • a low resistance metal material such as Cu (copper) or Al (aluminum) may be used.
  • An insulator 640 is provided over the conductor 620 and the insulator 630.
  • the insulator 640 can be provided using a material similar to that of the insulator 320. Further, the insulator 640 may function as a flattening film that covers the uneven shape below the insulator 640.
  • FIGS. 7A and 7B are modified examples of the transistor 500 shown in FIGS. 6A and 6B.
  • 6A is a cross-sectional view of the transistor 500 in the channel length direction
  • FIG. 6B is a cross-sectional view of the transistor 500 in the channel width direction. Note that the structure illustrated in FIGS. 7A and 7B can be applied to another transistor included in the semiconductor device of one embodiment of the present invention, such as the transistor 300.
  • FIG. 7A is a cross-sectional view of the transistor 500 in the channel length direction
  • FIG. 7B is a cross-sectional view of the transistor 500 in the channel width direction.
  • the transistor 500 illustrated in FIGS. 7A and 7B is different from the transistor 500 illustrated in FIGS. 6A and 6B in that it includes an insulator 402 and an insulator 404. Further, an insulator 552 is provided in contact with the side surface of the conductor 540a and an insulator 552 is provided in contact with the side surface of the conductor 540b, which is a difference from the transistor 500 illustrated in FIGS. 6A and 6B. Further, the transistor 500 is different from the transistor 500 in FIGS. 6A and 6B in that the insulator 520 is not provided.
  • the insulator 402 is provided over the insulator 512. Further, the insulator 404 is provided over the insulator 574 and the insulator 402.
  • the insulator 514, the insulator 516, the insulator 522, the insulator 524, the insulator 544, the insulator 580, and the insulator 574 are patterned, and the insulator 404 is formed of these. It is structured to cover. That is, the insulator 404 includes the upper surface of the insulator 574, the side surface of the insulator 574, the side surface of the insulator 580, the side surface of the insulator 544, the side surface of the insulator 524, the side surface of the insulator 522, the side surface of the insulator 516, and the insulating surface. The side surface of the body 514 and the upper surface of the insulator 402 are in contact with each other. Accordingly, the oxide 530 and the like are isolated from the outside by the insulator 404 and the insulator 402.
  • the insulator 402 and the insulator 404 preferably have a high function of suppressing diffusion of hydrogen (eg, at least one of hydrogen atom and hydrogen molecule) or water molecule.
  • hydrogen eg, at least one of hydrogen atom and hydrogen molecule
  • silicon nitride or silicon nitride oxide which is a material having a high hydrogen barrier property, is preferably used. Accordingly, hydrogen or the like can be suppressed from diffusing into the oxide 530, so that deterioration of the characteristics of the transistor 500 can be suppressed. Therefore, reliability of the semiconductor device of one embodiment of the present invention can be improved.
  • the insulator 552 is provided in contact with the insulator 581, the insulator 404, the insulator 574, the insulator 580, and the insulator 544.
  • the insulator 552 preferably has a function of suppressing diffusion of hydrogen or water molecules.
  • an insulator such as silicon nitride, aluminum oxide, or silicon nitride oxide, which is a material having a high hydrogen barrier property.
  • silicon nitride is a material having a high hydrogen barrier property, it is preferable to use it as the insulator 552.
  • the reliability of the semiconductor device of one embodiment of the present invention can be improved.
  • FIG. 8 is a cross-sectional view illustrating a structural example of a semiconductor device when the transistors 500 and 300 have the structures illustrated in FIGS. 7A and 7B.
  • An insulator 552 is provided on a side surface of the conductor 546.
  • FIGS. 9A and 9B are modified examples of the transistors illustrated in FIGS. 7A and 7B.
  • 9A is a cross-sectional view of the transistor in the channel length direction
  • FIG. 9B is a cross-sectional view of the transistor in the channel width direction.
  • the transistors illustrated in FIGS. 9A and 9B are different from the transistors illustrated in FIGS. 7A and 7B in that the oxide 530c has a two-layer structure of the oxide 530c1 and the oxide 530c2.
  • the oxide 530c1 is in contact with the top surface of the insulator 524, the side surface of the oxide 530a, the top surface and side surface of the oxide 530b, the side surfaces of the conductors 542a and 542b, the side surface of the insulator 544, and the side surface of the insulator 580.
  • the oxide 530c2 is in contact with the insulator 550.
  • an In—Zn oxide can be used as the oxide 530c1.
  • a material similar to the material that can be used for the oxide 530c when the oxide 530c has a one-layer structure can be used.
  • In:Ga:Zn 1:3:4 [atomic ratio]
  • Ga:Zn 2:1 [atomic ratio]
  • the on-state current of the transistor can be higher than in the case where the oxide 530c has a one-layer structure. Therefore, the transistor can be, for example, a power MOS transistor. Note that the oxide 530c included in the transistor illustrated in FIGS. 6A and 6B can also have a two-layer structure of the oxide 530c1 and the oxide 530c2.
  • the transistors illustrated in FIGS. 9A and 9B can be applied to the transistor 300, for example.
  • the transistor 300 can be applied to the transistor M1 illustrated in FIG. 3 in the above embodiment. Therefore, the on-state current of the transistor M1 which functions as an output transistor can be increased and the accuracy of the potential output from the semiconductor device of one embodiment of the present invention can be increased.
  • the structure illustrated in FIGS. 9A and 9B can be applied to a transistor other than the transistor 300 included in the semiconductor device of one embodiment of the present invention, such as the transistor 500.
  • FIG. 10 is a cross-sectional view showing a structural example of a semiconductor device in the case where the transistor 500 has the structure shown in FIGS. 6A and 6B and the transistor 300 has the structure shown in FIGS. 9A and 9B. Note that as in FIG. 8, the insulator 552 is provided on the side surface of the conductor 546. As illustrated in FIG. 10, in the semiconductor device of one embodiment of the present invention, both the transistors 300 and 500 can be OS transistors and the transistors 300 and 500 can have different structures.
  • This embodiment can be implemented in appropriate combination with any of the structures described in the other embodiments and the like.
  • the cylindrical secondary battery 616 has a positive electrode cap (battery lid) 601 on the upper surface and battery cans (exterior cans) 602 on the side surfaces and the bottom surface.
  • the positive electrode cap and the battery can (outer can) 602 are insulated by a gasket (insulating packing) 619.
  • FIG. 12B is a diagram schematically showing a cross section of a cylindrical secondary battery.
  • a battery element in which a strip-shaped positive electrode 604 and a negative electrode 606 are wound with a separator 605 sandwiched therebetween is provided.
  • the battery element is wound around the center pin.
  • the battery can 602 has one end closed and the other end open.
  • a metal such as nickel, aluminum, or titanium having corrosion resistance to an electrolytic solution, an alloy thereof, or an alloy of these and another metal (for example, stainless steel) can be used. .. Further, in order to prevent corrosion due to the electrolytic solution, it is preferable to coat with nickel, aluminum or the like.
  • the secondary battery includes a positive electrode containing an active material such as lithium cobalt oxide (LiCoO 2 ) and lithium iron phosphate (LiFePO 4 ), a negative electrode made of a carbon material such as graphite capable of absorbing and desorbing lithium ions, and ethylene. It is composed of a non-aqueous electrolytic solution in which an electrolyte made of a lithium salt such as LiBF 4 or LiPF 6 is dissolved in an organic solvent such as carbonate or diethyl carbonate.
  • an active material such as lithium cobalt oxide (LiCoO 2 ) and lithium iron phosphate (LiFePO 4 )
  • LiFePO 4 lithium iron phosphate
  • a positive electrode terminal (positive electrode current collecting lead) 603 is connected to the positive electrode 604, and a negative electrode terminal (negative electrode current collecting lead) 607 is connected to the negative electrode 606. Both the positive electrode terminal 603 and the negative electrode terminal 607 can use a metal material such as aluminum.
  • the positive electrode terminal 603 is resistance-welded to the safety valve mechanism 617, and the negative electrode terminal 607 is resistance-welded to the bottom of the battery can 602.
  • the safety valve mechanism 617 is electrically connected to the positive electrode cap 601 via a PTC (Positive Temperature Coefficient) element 611.
  • the safety valve mechanism 617 disconnects the electrical connection between the positive electrode cap 601 and the positive electrode 604 when the increase in the internal pressure of the battery exceeds a predetermined threshold value.
  • the PTC element 611 is a PTC element whose resistance increases when the temperature rises, and limits the amount of current by increasing the resistance to prevent abnormal heat generation.
  • Barium titanate (BaTiO 3 ) based semiconductor ceramics or the like can be used for the PTC element.
  • a lithium ion secondary battery using an electrolytic solution has a positive electrode, a negative electrode, a separator, an electrolytic solution, and an outer package.
  • the anode (anode) and the cathode (cathode) are exchanged during charging and discharging, and the oxidation reaction and the reduction reaction are exchanged. Therefore, the electrode with a high reaction potential is called the positive electrode, and the reaction potential is higher. The electrode with a low value is called the negative electrode. Therefore, in the present specification, the positive electrode is a “positive electrode” or a “positive electrode”, whether it is charging, discharging, flowing a reverse pulse current, or flowing a charging current.
  • the positive electrode will be referred to as a "positive electrode” and the negative electrode will be referred to as a "negative electrode” or a “negative electrode”.
  • anode (anode) and cathode (cathode) related to the oxidation reaction and the reduction reaction are used, the charging time and the discharging time are reversed, which may cause confusion. Therefore, the terms anode (anode) and cathode (cathode) will not be used herein. If the terms anode (anode) and cathode (cathode) are used, indicate whether they are charging or discharging and also indicate whether they correspond to the positive electrode (positive electrode) or the negative electrode (negative electrode). To do.
  • a charger is connected to the two terminals shown in FIG. 12C to charge the storage battery 1400.
  • the potential difference between the electrodes increases.
  • FIG. 12C the direction of current flowing from the external terminal of the storage battery 1400 toward the positive electrode 1402, flowing from the positive electrode 1402 to the negative electrode 1404 within the storage battery 1400, and flowing from the negative electrode toward the external terminal of the storage battery 1400. Is the positive direction. That is, the direction in which the charging current flows is the direction of the current.
  • an example of a lithium ion secondary battery is shown; however, the material is not limited to a lithium ion secondary battery, and a material including an element A, an element X, and oxygen is used as a positive electrode material of the secondary battery.
  • the element A is preferably one or more selected from Group 1 elements and Group 2 elements.
  • the Group 1 element for example, an alkali metal such as lithium, sodium, or potassium can be used.
  • the Group 2 element for example, calcium, beryllium, magnesium or the like can be used.
  • the element X for example, one or more selected from a metal element, silicon and phosphorus can be used.
  • the element X is preferably one or more selected from cobalt, nickel, manganese, iron, and vanadium.
  • lithium cobalt composite oxide (LiCoO 2 ) and lithium iron phosphate (LiFePO 4 ) can be given.
  • the negative electrode has a negative electrode active material layer and a negative electrode current collector. Further, the negative electrode active material layer may have a conductive additive and a binder.
  • an element capable of performing a charge/discharge reaction by an alloying/dealloying reaction with lithium can be used.
  • a material containing at least one of silicon, tin, gallium, aluminum, germanium, lead, antimony, bismuth, silver, zinc, cadmium, indium, and the like can be used.
  • Such an element has a larger capacity than carbon, and particularly silicon has a high theoretical capacity of 4200 mAh/g.
  • the secondary battery preferably has a separator.
  • the separator for example, fibers including cellulose such as paper, non-woven fabric, glass fiber, ceramics, or nylon (polyamide), vinylon (polyvinyl alcohol fiber), polyester, acryl, polyolefin, synthetic fiber using polyurethane, etc. It is possible to use those formed in.
  • FIG. 11 illustrates a vehicle using the secondary battery overdischarge reduction system according to one embodiment of the present invention.
  • the secondary battery module 8024 of the automobile 8400 illustrated in FIG. 11A can not only drive the electric motor 8406 but also supply power to a light-emitting device such as a headlight 8401 or a room light (not shown).
  • a battery pack in which a plurality of cylindrical secondary batteries 616 illustrated in FIG. 12B are arranged and sandwiched between a first conductive plate and a second conductive plate may be used. ..
  • the plurality of secondary batteries 616 may be connected in parallel, may be connected in series, or may be connected in parallel and then further connected in series. By configuring the secondary battery module 8024 having the plurality of secondary batteries 616, large power can be taken out. Further, the plurality of secondary batteries 616 may each be provided with the overdischarge prevention circuit described in Embodiment 1 or 2, or the plurality of secondary batteries 616 may be provided with one overdischarge prevention circuit. ..
  • a vehicle-mounted secondary battery has a service plug or a circuit breaker that can cut off high voltage without using a tool in order to cut off power from a plurality of secondary batteries. For example, when 48 battery modules having 2 to 10 cells are connected in series, a service plug or a circuit breaker is provided between the 24th and the 25th cells.
  • the automobile 8500 illustrated in FIG. 11B can be charged by receiving power from an external charging facility in a secondary battery included in the automobile 8500 by a plug-in method, a contactless power feeding method, or the like.
  • FIG. 11B shows a state where the ground-based charging device 8021 is charging the secondary battery module 8024 mounted on the automobile 8500 via the cable 8022.
  • the charging method, the standard of the connector, etc. may be appropriately performed by a predetermined method such as CHAdeMO (registered trademark) or a combo.
  • the charging device 8021 may be a charging station provided in a commercial facility or may be a home power source.
  • the secondary battery module 8024 mounted on the automobile 8500 can be charged by external power supply by the plug-in technology. Charging can be performed by converting AC power into DC power via a converter such as an ACDC converter.
  • the power receiving device may be mounted on a vehicle, and electric power may be supplied from the power transmitting device on the ground in a contactless manner for charging.
  • this non-contact power feeding method by incorporating a power transmission device on a road or an outer wall, charging can be performed not only when the vehicle is stopped but also when the vehicle is running. Moreover, you may transmit and receive electric power between vehicles using this non-contact electric power feeding system.
  • a solar cell may be provided on the exterior of the vehicle to charge the secondary battery when the vehicle is stopped or running.
  • an electromagnetic induction method or a magnetic field resonance method can be used.
  • FIG. 11C is an example of a motorcycle using the secondary battery of one embodiment of the present invention.
  • the scooter 8600 illustrated in FIG. 11C includes a secondary battery 8602, a side mirror 8601, and a direction indicator light 8603.
  • the secondary battery 8602 can supply electricity to the direction indicator light 8603.
  • the scooter 8600 shown in FIG. 11C can store the secondary battery 8602 in the under-seat storage 8604.
  • the secondary battery 8602 can be stored in the under-seat storage 8604 even if the under-seat storage 8604 is small.
  • the present embodiment can be applied to a power source of a snowmobile or a water bike instead of the scooter.
  • FIG. 13 shows a circuit diagram for explaining an example of an operation of the leak countermeasure at the time of OFF, which is different from the first embodiment.
  • the protection circuit 14 is connected to the low potential side G2.
  • a cutoff switch 12 is provided between the low potential side G1 and the low potential side G2.
  • the gate S1 of the transistor M1 electrically connected to G2 is connected to the capacitor, and one terminal thereof is connected to G1.
  • the cutoff switch 12 may be configured by using an OS transistor, and in that case, load leakage can be reduced.
  • the potential of the gate S1 relatively decreases with respect to G2 having the increased potential, and the transistor M1 is automatically turned off. Since the transistor M1 functions as a power switch that controls the supply of the low potential side G2 of the charge control circuit 11, turning off the transistor M1 cuts off the power supply to the charge detection circuit.
  • the low potential of the charge control circuit 11 is supplied, so that the potential of G2 decreases again (Vgs of the transistor M1 increases), the transistor M1 is turned on, and automatically. It can be automatically restored, that is, automatically turned on.
  • each transistor in FIG. 13 is an example in which a transistor has a back gate, the transistor is not particularly limited and a transistor without a back gate may be used.
  • the protection circuit 14 for protecting the secondary battery After detecting the over-discharge, the protection circuit 14 for protecting the secondary battery also needs to be in a state almost completely off. With the configuration of the protection circuit 14 shown in FIG. 13, the protection circuit 14 can be automatically turned off, and the off-leakage current of the entire system in the overdischarged state can be reduced. Further, the present configuration can be not only automatically turned off, but also automatically restored, that is, automatically turned on.
  • This embodiment can be freely combined with any of the other embodiments.

Landscapes

  • Engineering & Computer Science (AREA)
  • Power Engineering (AREA)
  • Chemical Kinetics & Catalysis (AREA)
  • Chemical & Material Sciences (AREA)
  • Electrochemistry (AREA)
  • General Chemical & Material Sciences (AREA)
  • Manufacturing & Machinery (AREA)
  • Microelectronics & Electronic Packaging (AREA)
  • Thin Film Transistor (AREA)
  • Semiconductor Memories (AREA)
  • Protection Of Static Devices (AREA)
  • Charge And Discharge Circuits For Batteries Or The Like (AREA)
  • Secondary Cells (AREA)
  • Metal-Oxide And Bipolar Metal-Oxide Semiconductor Integrated Circuits (AREA)
PCT/IB2019/060459 2018-12-19 2019-12-05 二次電池の過放電防止回路及び二次電池モジュール Ceased WO2020128702A1 (ja)

Priority Applications (4)

Application Number Priority Date Filing Date Title
CN201980081413.8A CN113169546A (zh) 2018-12-19 2019-12-05 二次电池的过放电防止电路及二次电池模块
US17/298,698 US11791640B2 (en) 2018-12-19 2019-12-05 Overdischarge prevention circuit of secondary battery and secondary battery module
JP2020560636A JP7436387B2 (ja) 2018-12-19 2019-12-05 二次電池の過放電防止回路、電子機器、二次電池モジュール
KR1020217020209A KR102872438B1 (ko) 2018-12-19 2019-12-05 이차 전지의 과방전 방지 회로 및 이차 전지 모듈

Applications Claiming Priority (4)

Application Number Priority Date Filing Date Title
JP2018-237087 2018-12-19
JP2018237087 2018-12-19
JP2018240100 2018-12-21
JP2018-240100 2018-12-21

Publications (1)

Publication Number Publication Date
WO2020128702A1 true WO2020128702A1 (ja) 2020-06-25

Family

ID=71100415

Family Applications (1)

Application Number Title Priority Date Filing Date
PCT/IB2019/060459 Ceased WO2020128702A1 (ja) 2018-12-19 2019-12-05 二次電池の過放電防止回路及び二次電池モジュール

Country Status (5)

Country Link
US (1) US11791640B2 (enExample)
JP (1) JP7436387B2 (enExample)
KR (1) KR102872438B1 (enExample)
CN (1) CN113169546A (enExample)
WO (1) WO2020128702A1 (enExample)

Families Citing this family (1)

* Cited by examiner, † Cited by third party
Publication number Priority date Publication date Assignee Title
JP7618538B2 (ja) 2019-02-25 2025-01-21 株式会社半導体エネルギー研究所 二次電池の保護回路及び二次電池の異常検知システム

Citations (2)

* Cited by examiner, † Cited by third party
Publication number Priority date Publication date Assignee Title
US20140103876A1 (en) * 2012-10-16 2014-04-17 Samsung Sdi Co., Ltd. Battery pack and method of controlling the same
WO2018079276A1 (ja) * 2016-10-28 2018-05-03 三洋電機株式会社 電源装置

Family Cites Families (23)

* Cited by examiner, † Cited by third party
Publication number Priority date Publication date Assignee Title
JP3439035B2 (ja) * 1996-07-30 2003-08-25 三洋電機株式会社 電池の過放電を防止するパック電池
JP5736266B2 (ja) 2011-07-26 2015-06-17 セイコーインスツル株式会社 バッテリ保護icおよびバッテリ装置
JP6169376B2 (ja) 2012-03-28 2017-07-26 株式会社半導体エネルギー研究所 電池管理ユニット、保護回路、蓄電装置
US20130265010A1 (en) 2012-04-06 2013-10-10 Semiconductor Energy Laboratory Co., Ltd. Protective circuit module and battery pack
US9160195B2 (en) 2012-07-17 2015-10-13 Semiconductor Energy Laboratory Co., Ltd. Charging device
US9614258B2 (en) 2012-12-28 2017-04-04 Semiconductor Energy Laboratory Co., Ltd. Power storage device and power storage system
US10290908B2 (en) 2014-02-14 2019-05-14 Semiconductor Energy Laboratory Co., Ltd. Semiconductor device and electronic device
JP6553444B2 (ja) 2014-08-08 2019-07-31 株式会社半導体エネルギー研究所 半導体装置
US10204898B2 (en) 2014-08-08 2019-02-12 Semiconductor Energy Laboratory Co., Ltd. Semiconductor device and electronic device
JP6912200B2 (ja) 2014-08-08 2021-08-04 株式会社半導体エネルギー研究所 蓄電装置および携帯電話
JP6739150B2 (ja) 2014-08-08 2020-08-12 株式会社半導体エネルギー研究所 半導体装置、発振回路、位相同期回路及び電子機器
US20170063112A1 (en) 2015-08-31 2017-03-02 Semiconductor Energy Laboratory Co., Ltd. Power storage device with monitoring ic
JP6041031B1 (ja) * 2015-10-02 2016-12-07 ミツミ電機株式会社 二次電池保護集積回路、二次電池保護装置及び電池パック
CN116080381A (zh) 2016-01-29 2023-05-09 株式会社半导体能源研究所 轮毂及移动体
JP6577916B2 (ja) * 2016-07-11 2019-09-18 ミツミ電機株式会社 保護ic
US20200076223A1 (en) 2017-05-22 2020-03-05 Semiconductor Energy Laboratory Co., Ltd. Charging control system and charging control device
US11522234B2 (en) 2017-09-06 2022-12-06 Semiconductor Energy Laboratory Co., Ltd. Semiconductor device, battery unit, and battery module
KR20200053522A (ko) 2017-09-14 2020-05-18 가부시키가이샤 한도오따이 에네루기 켄큐쇼 이차 전지의 이상 검지 시스템 및 이차 전지의 이상 검출 방법
WO2019207399A1 (ja) 2018-04-27 2019-10-31 株式会社半導体エネルギー研究所 蓄電装置の充電状態推定方法及び蓄電装置の充電状態推定システム
JP7322023B2 (ja) 2018-07-10 2023-08-07 株式会社半導体エネルギー研究所 半導体装置
JP7399857B2 (ja) 2018-07-10 2023-12-18 株式会社半導体エネルギー研究所 二次電池の保護回路
JP7309717B2 (ja) 2018-08-03 2023-07-18 株式会社半導体エネルギー研究所 二次電池の異常検知システム
WO2020044168A1 (ja) 2018-08-31 2020-03-05 株式会社半導体エネルギー研究所 半導体装置及び半導体装置の動作方法

Patent Citations (2)

* Cited by examiner, † Cited by third party
Publication number Priority date Publication date Assignee Title
US20140103876A1 (en) * 2012-10-16 2014-04-17 Samsung Sdi Co., Ltd. Battery pack and method of controlling the same
WO2018079276A1 (ja) * 2016-10-28 2018-05-03 三洋電機株式会社 電源装置

Also Published As

Publication number Publication date
KR20210096212A (ko) 2021-08-04
US20220052541A1 (en) 2022-02-17
CN113169546A (zh) 2021-07-23
US11791640B2 (en) 2023-10-17
KR102872438B1 (ko) 2025-10-17
JPWO2020128702A1 (enExample) 2020-06-25
JP7436387B2 (ja) 2024-02-21

Similar Documents

Publication Publication Date Title
JP7618538B2 (ja) 二次電池の保護回路及び二次電池の異常検知システム
US20250015611A1 (en) Semiconductor device and charge control system
CN112930636B (zh) 蓄电装置及蓄电装置的工作方法
JP2024091685A (ja) 二次電池の充電制御回路
JP7507097B2 (ja) 半導体装置
US20250015614A1 (en) Semiconductor device and battery pack
WO2020012284A1 (ja) 二次電池の保護回路及び二次電池の異常検知システム
US11961979B2 (en) Semiconductor device
JP2025076432A (ja) 蓄電装置の動作方法
US12444779B2 (en) Semiconductor device sensor unit
JP7436387B2 (ja) 二次電池の過放電防止回路、電子機器、二次電池モジュール
JP7546544B2 (ja) 半導体装置
JP7327927B2 (ja) 半導体装置
JP7222657B2 (ja) 二次電池の残量計測回路
US11817780B2 (en) Power supply circuit and semiconductor device including the power supply circuit

Legal Events

Date Code Title Description
121 Ep: the epo has been informed by wipo that ep was designated in this application

Ref document number: 19900557

Country of ref document: EP

Kind code of ref document: A1

ENP Entry into the national phase

Ref document number: 2020560636

Country of ref document: JP

Kind code of ref document: A

NENP Non-entry into the national phase

Ref country code: DE

ENP Entry into the national phase

Ref document number: 20217020209

Country of ref document: KR

Kind code of ref document: A

122 Ep: pct application non-entry in european phase

Ref document number: 19900557

Country of ref document: EP

Kind code of ref document: A1