WO2019225206A1 - 発光素子の製造方法 - Google Patents

発光素子の製造方法 Download PDF

Info

Publication number
WO2019225206A1
WO2019225206A1 PCT/JP2019/015989 JP2019015989W WO2019225206A1 WO 2019225206 A1 WO2019225206 A1 WO 2019225206A1 JP 2019015989 W JP2019015989 W JP 2019015989W WO 2019225206 A1 WO2019225206 A1 WO 2019225206A1
Authority
WO
WIPO (PCT)
Prior art keywords
light emitting
tape
emitting element
manufacturing
emitting elements
Prior art date
Legal status (The legal status is an assumption and is not a legal conclusion. Google has not performed a legal analysis and makes no representation as to the accuracy of the status listed.)
Ceased
Application number
PCT/JP2019/015989
Other languages
English (en)
French (fr)
Japanese (ja)
Inventor
石崎 順也
Current Assignee (The listed assignees may be inaccurate. Google has not performed a legal analysis and makes no representation or warranty as to the accuracy of the list.)
Shin Etsu Handotai Co Ltd
Original Assignee
Shin Etsu Handotai Co Ltd
Priority date (The priority date is an assumption and is not a legal conclusion. Google has not performed a legal analysis and makes no representation as to the accuracy of the date listed.)
Filing date
Publication date
Application filed by Shin Etsu Handotai Co Ltd filed Critical Shin Etsu Handotai Co Ltd
Publication of WO2019225206A1 publication Critical patent/WO2019225206A1/ja
Anticipated expiration legal-status Critical
Ceased legal-status Critical Current

Links

Images

Classifications

    • HELECTRICITY
    • H10SEMICONDUCTOR DEVICES; ELECTRIC SOLID-STATE DEVICES NOT OTHERWISE PROVIDED FOR
    • H10HINORGANIC LIGHT-EMITTING SEMICONDUCTOR DEVICES HAVING POTENTIAL BARRIERS
    • H10H20/00Individual inorganic light-emitting semiconductor devices having potential barriers, e.g. light-emitting diodes [LED]
    • H10H20/80Constructional details
    • H10H20/85Packages

Definitions

  • the present invention relates to a method for manufacturing a light emitting element, and more particularly to a method for manufacturing a light emitting element in which the light emitting element is bonded to a mounting substrate with high accuracy.
  • a manufacturing method in which a die is held on a tape and mounted on a mounting board when mounting a micro LED or a mini LED.
  • a manufacturing method in which a circuit (light emitting element) is formed on a substrate and then mounted on a mounting substrate, and then the substrate is removed.
  • the tape used in the conventional tape expanding method is composed of a holding tape base material and a glue for holding the dice (see, for example, Patent Document 1), and polypropylene (PP is referred to as PP) of the holding tape base material.
  • PP polypropylene
  • this method increases the area that does not become a light-emitting element in the wafer, resulting in an increase in cost.
  • the area loss increases. Accordingly, there is a need for a die mounting method that has a small area loss of the wafer and is highly accurate.
  • the present invention has been made in view of the above problems, and provides a method for manufacturing a light-emitting element capable of accurately arranging light-emitting elements formed on a semiconductor wafer at an arbitrary pitch by a tape expanding method. With the goal.
  • the present invention includes a dividing step of attaching a semiconductor wafer having a light emitting element formed on a substrate to a first tape, and dividing the semiconductor wafer into a plurality of light emitting elements, In the state in which the distance between the light emitting elements of the plurality of light emitting elements is expanded by extending the tape, the expansion step of extending the distance between the light emitting elements of the plurality of light emitting elements,
  • a method for manufacturing a light-emitting element comprising: a transfer step of transferring the plurality of light-emitting elements from the first tape to a second tape; and a mounting step of bonding the plurality of light-emitting elements to a mounting substrate.
  • the first tape is made of a stretchable base material portion and a glue layer, and the glue layer is divided into islands, and the plurality of glue layers divided into islands are used as the first tape.
  • Attaching the light emitting element To provide a method of manufacturing a light emitting device characterized by attaching.
  • the paste layer with low ductility of the first tape is cut, and it is arranged in an island shape on the base portion with high ductility, it does not hinder the elongation of the base portion.
  • the pitch of the light emitting elements is not greatly changed, and the light emitting elements can be arranged at an arbitrary pitch. Thereby, the light emitting element formed in the semiconductor wafer can be accurately arranged at an arbitrary pitch by the tape expanding method.
  • the light-emitting element can be flip-chip bonded to the mounting substrate.
  • the present invention can be suitably applied when the light emitting element is flip-chip bonded to the mounting substrate.
  • the base material portion is made of polyvinyl chloride (PVC) or polypropylene (PP).
  • the method of dividing the glue layer of the first tape into islands is to cut the glue layer with a blade or a laser, or to form islands by printing or dispensing on the base part. It is preferable to form a glue layer.
  • the glue layer can be divided into islands relatively easily.
  • the paste layer with low ductility of the 1st tape is cut, and it arrange
  • FIG. 20 is a process cross-sectional view (figure following FIG. 19) showing a second embodiment of the method for manufacturing a light-emitting element of the present invention. It is process sectional drawing (figure following FIG. 20) which shows 2nd embodiment of the manufacturing method of the light emitting element of this invention. It is process sectional drawing which shows 3rd embodiment of the manufacturing method of the light emitting element of this invention. It is process sectional drawing which shows 3rd embodiment of the manufacturing method of the light emitting element of this invention. It is process sectional drawing (figure following FIG.
  • FIG. 23 which shows 3rd embodiment of the manufacturing method of the light emitting element of this invention. It is process sectional drawing (figure following FIG. 24) which shows 3rd embodiment of the manufacturing method of the light emitting element of this invention. It is process sectional drawing (figure following FIG. 25) which shows 3rd embodiment of the manufacturing method of the light emitting element of this invention.
  • FIG. 27 is a process cross-sectional view (following FIG. 26) showing the third embodiment of the method for manufacturing a light-emitting element of the present invention. It is process sectional drawing (figure following FIG. 27) which shows 3rd embodiment of the manufacturing method of the light emitting element of this invention. It is process sectional drawing (figure following FIG.
  • FIG. 28 which shows 3rd embodiment of the manufacturing method of the light emitting element of this invention.
  • FIG. 30 is a process cross-sectional view (following FIG. 29) showing the third embodiment of the method for manufacturing a light-emitting device of the present invention. It is a figure which shows the example (lateral deviation, vertical deviation, rotation) of a position defect. It is a figure which shows the position defect rate of Examples 1, 2 and a comparative example.
  • FIG. 1 is a flowchart showing a method for manufacturing a light emitting device of the present invention.
  • a semiconductor wafer having a light emitting element formed on a substrate is attached to a first tape composed of a stretchable base material part and an adhesive layer divided into islands, and the semiconductor wafer is formed into a plurality of light emitting elements. Divide (see S11 in FIG. 1).
  • the first tape it is preferable to use a base portion made of polyvinyl chloride (PVC) or polypropylene (PP). If a material having such excellent ductility is used as the base portion of the first tape, a sufficiently ductile tape can be obtained.
  • the method of dividing the adhesive layer of the first tape into islands is to cut the adhesive layer with a blade or a laser, or to form an island-like adhesive layer on the substrate by printing or dispensing. It is preferable. According to such a method, the glue layer can be divided into islands relatively easily.
  • the distance between the light emitting elements of the plurality of light emitting elements is extended by stretching the first tape (see S12 in FIG. 1).
  • the paste layer with low ductility of the first tape is cut, and is arranged in an island shape on the base portion with high ductility, so that the elongation of the base portion is not hindered. Therefore, the pitch of the light emitting elements is not greatly changed, and the light emitting elements can be arranged at an arbitrary pitch. Thereby, the light emitting element formed in the semiconductor wafer can be accurately arranged at an arbitrary pitch by the tape expanding method.
  • the plurality of light emitting elements whose distances are expanded in S12 are transferred from the first tape to the second tape (see S13 in FIG. 1).
  • the plurality of light emitting elements transferred to the second tape in S13 are bonded to the mounting substrate (see S14 in FIG. 1).
  • the light emitting element can be flip-chip bonded to the mounting substrate.
  • the present invention can be suitably applied when the light emitting element is flip-chip bonded to the mounting substrate.
  • the paste layer having low ductility of the first tape is cut, and arranged on the base portion having high ductility in an island shape. Since the elongation of the base material portion is not hindered, the pitch of the light emitting elements is not greatly changed, and the light emitting elements can be arranged at an arbitrary pitch. Thereby, the light emitting element formed in the semiconductor wafer can be accurately arranged at an arbitrary pitch by the tape expanding method.
  • FIGS. 2 to 11 show a first embodiment of a method for manufacturing a light emitting device of the present invention.
  • (Al x Ga 1-x ) y In is formed by metal organic vapor phase epitaxy (MOVPE) on a starting substrate 201 selected from GaAs or Ge.
  • MOVPE metal organic vapor phase epitaxy
  • a starting substrate 201 selected from GaAs or Ge.
  • 1-y P (0 ⁇ x ⁇ 1, 0.4 ⁇ y ⁇ 0.6)
  • Al x Ga 1-x ) y In 1-y P having a larger band gap than the active layer 204
  • An AlGaInP-based DH structure 206 in which (0 ⁇ x ⁇ 1, 0.4 ⁇ y ⁇ 0.6) layers 203 and 205 are arranged on both sides of the active layer 204 is produced.
  • the production method of the AlGaInP-based DH structure 206 is not limited to MOVPE, and may be produced by a molecular beam epitaxy (MBE) method or a chemical beam epitaxy (CBE) method.
  • MBE molecular beam epitaxy
  • CBE chemical beam epitaxy
  • the first electrode 211 is formed in contact with a part of the first conductivity type layer 205 of the AlGaInP-based DH structure 206.
  • the first conductivity type is P type, it is formed of a metal containing Zn and Be. It is preferable to select an AuZn alloy or an AuBe alloy, and a multilayer structure including a refractory metal such as Ti, W, Cr, or Ni is preferable. However, the material is limited to these materials because it only needs to have ohmic properties. Instead, a metal layer containing Zn or Be in AuAg or PtAg, which is a cheaper metal, may be selected.
  • the first conductivity type is N type, it is formed of a metal containing Si and Ge. It is preferable to select an AuGe alloy or an AuSi alloy, and a multilayer structure including a refractory metal such as Ti, W, Cr, or Ni is preferable, but it is limited to these materials as long as ohmic properties can be taken. Instead, a metal layer containing Si or Ge in AuAg or PtAg, which is a cheaper metal, may be selected.
  • the first electrode 211 Since the first electrode 211 only needs to have a thickness that can withstand the mounting process, there is no major limitation on the thickness. However, the first electrode 211 needs to be thick enough to obtain an ohmic contact, and therefore has a thickness of 50 nm or more. It ’s fine. Since the first electrode 211 is thick, no mounting defect occurs, but it is preferable to form the film with a thickness of 3 ⁇ m or less from the viewpoint of cost reduction.
  • a part of the first conductivity type layer 205 and the active layer 204 is removed by wet etching or dry etching to expose the second conductivity type layer 203.
  • Etching can be performed with a gas or solution containing chlorine. Etching is not performed only with the above materials, but is performed by mixing other materials in order to control the etching rate and shape.
  • a second electrode 212 is provided in contact with the region where the second conductivity type layer 203 is exposed.
  • the second conductivity type is P-type, it is formed of a metal containing Zn and Be. It is preferable to select an AuZn alloy or an AuBe alloy, and a multilayer structure including a refractory metal such as Ti, W, Cr, or Ni is preferable. However, the material is limited to these materials because it only needs to have ohmic properties. Instead, a metal layer containing Zn or Be in AuAg or PtAg, which is a cheaper metal, may be selected.
  • the second conductivity type is N-type, it is formed of a metal containing Si and Ge. It is preferable to select an AuGe alloy or an AuSi alloy, and a multilayer structure including a refractory metal such as Ti, W, Cr, or Ni is preferable, but it is limited to these materials as long as ohmic properties can be taken. Instead, a metal layer containing Si or Ge in AuAg or PtAg, which is a cheaper metal, may be selected.
  • the second electrode 212 Since the second electrode 212 only needs to have a thickness that can withstand the mounting process, there is no major limitation on the thickness. However, the second electrode 212 needs to be thick enough to obtain an ohmic contact. It ’s fine. Although the mounting electrode does not cause a problem in mounting because the second electrode is thick, it is preferable to form the film with a film thickness of 3 ⁇ m or less from the viewpoint of cost reduction.
  • an Al x Ga y In z N (0 ⁇ x ⁇ 1, 0 ⁇ y ⁇ 1) is formed on the sapphire starting substrate 221 by a metal organic vapor phase epitaxy (MOVPE) method.
  • MOVPE metal organic vapor phase epitaxy
  • 0 ⁇ z ⁇ 1) an Al x Ga y In z N (0 ⁇ x ⁇ 1, 0 ⁇ y ⁇ 1, 0 ⁇ z ⁇ 1) layer 223 having a band gap larger than that of the active layer 224.
  • 225 are arranged on both sides of the active layer 224, and an AlGaInN DH structure 226 is produced.
  • the manufacturing method of the DH structure 226 is not limited to MOVPE, and may be manufactured by a molecular beam epitaxy (MBE) method or an actinic beam epitaxy (CBE) method.
  • MBE molecular beam epitaxy
  • CBE actinic beam epitaxy
  • a first electrode 231 is formed in contact with a part of the first conductivity type layer 225 of the AlGaInN-based DH structure 226.
  • the first electrode 231 is formed of a metal containing one or more kinds of Ni, Ti, Al, and Au.
  • the material is not limited to these materials because it only needs to have ohmic properties.
  • the first electrode 231 only needs to have a thickness that can withstand the mounting process, there is no major limitation on the thickness, but a film thickness sufficient to obtain an ohmic contact is necessary. It ’s fine. Since the first electrode 231 is thick, a mounting defect does not occur, but it is preferable to form the film with a thickness of 3 ⁇ m or less from the viewpoint of cost reduction.
  • a part of the first conductivity type layer 225 and the active layer 224 is removed by a dry etching method to expose the second conductivity type layer 223.
  • Etching can be performed with a gas containing chlorine. Etching is not performed only with the above materials, but is performed by mixing other materials in order to control the etching rate and shape.
  • a second electrode 232 in contact with the region where the second conductivity type layer 223 is exposed is provided.
  • the second electrode 232 is formed of a metal containing one or more kinds of Ni, Ti, Al, and Au.
  • the material is not limited to these materials because it only needs to have ohmic properties.
  • the second electrode 232 since the second electrode 232 only needs to have a thickness that can withstand the mounting process, there is no major limitation on the thickness, but a film thickness sufficient to obtain an ohmic contact is necessary, and therefore the second electrode 232 has a film thickness of 30 nm or more. It ’s fine.
  • the mounting electrode does not cause a problem in mounting because the second electrode is thick, it is preferable to form the film with a film thickness of 3 ⁇ m or less from the viewpoint of cost reduction.
  • a tape 252 is prepared in which a paste material (glue layer) 251 such as acrylic is placed in a sheet form on a ductile tape base material (base material portion) 250 such as PVC or PP, As shown in FIG. 4, the glue layer portion is cut into a cross pattern by blade dicing to form a sheet (first tape) 254 on which island-like glue portions (glue layers divided into islands) 253 are formed.
  • a paste material glue layer
  • base material portion base material
  • first tape island-like glue portions
  • the tape base material thickness is A and the glue layer thickness is B
  • the glue layer is surely cut, and the tape layer It can cut without giving excessive damage to (tape base material).
  • this method requires a cut groove with a processing width of about 15 ⁇ m by blade dicing, it is a method applicable to a small size of 20 ⁇ m pitch or more in a die having a mounting element of 5 ⁇ m ⁇ .
  • the wafers after the formation of the first electrodes 211 and 231 and the second electrodes 212 and 232 and island-like paste portions (glue layers divided into island shapes) 253 that are cut in a cross-beam shape are arranged.
  • the sheet (first tape) 254 is placed and bonded so that the electrodes 211, 212, 231, 232 and the island-shaped paste portion 253 are opposed to each other, thereby forming a bonded body 260. If a material transparent to visible light is selected for the sheet (first tape) 254, it is easy to align the dice pattern and the island-shaped paste portion 253.
  • the wafer and the sheet (first tape) 254 are joined to form a joined body 260, and then a breaking line 261 is formed on the wafer by laser or diamond scribe.
  • the wafer is braked along the breaking line 261 to form a die 262.
  • the braking line 261 is formed after the wafer and the sheet (first tape) 254 are joined and braking is illustrated is illustrated.
  • the braking line 261 is formed before joining and the braking is performed after joining. May be performed.
  • the starting substrates 201 and 221 are lifted off.
  • the starting substrate 201 is lifted off by etching the AlAs sacrificial layer 202 inserted between the starting substrate 201 and the DH layer 206 with a solution such as HF or BHF. (See FIG. 2).
  • lift-off is performed by irradiating a laser to dissolve the GaN layer at the bottom of the DH layer 226. Note that the substrate need not be lifted off or removed.
  • the tape is expanded to a desired pitch, and a sheet 265 in which dies are arranged at a desired pitch is formed.
  • the tape is heated in the range of 30 to 50 ° C. (preferably 35 to 45 ° C.), the uniformity during expansion is improved from that at room temperature.
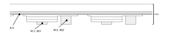
  • a second tape 275 having a glue layer 273 on the first surface 271 and a base material 274 on the second surface 272 is prepared, and the substrate lift-off surface 276 of the die and the glue layer are prepared.
  • the sheet 280 has the first electrode 211, 231 and the second electrode 212, 232 disposed on the opposite side of the first surface 271 as shown in FIG. Form.
  • a mounting substrate 285 on which a drive circuit is formed is prepared.
  • the electrodes 286, 287, 288, 289 on the mounting substrate 285 are opposed to the first electrodes 211, 231 and the second electrodes 212, 232, the mounting substrate 285 and the die are bonded, and the bonding substrate 290.
  • the die and the mounting substrate 285 may be joined by forming the first electrodes 211 and 231 and the second electrodes 212 and 232 and the outermost surfaces of the electrodes of the mounting substrate 285 with Au, and joining them by ultrasonic wave application pressure bonding.
  • a conductive paste or eutectic metal may be formed on the mounting substrate electrode side or the die electrode side, and bonding of the die and the mounting substrate 285 may be realized at a low temperature.
  • the second tape 275 is peeled off.
  • the mounting process of the LED that emits visible light is illustrated, but it is obvious that the light emission wavelength of the light emitting element does not affect the mounting process, and can be applied regardless of the light emission wavelength of the present embodiment. Needless to say, it is applicable regardless of the emission wavelength, whether the light emitting element is an infrared light emitting element or an ultraviolet light emitting element.
  • FIGS. 12 to 21 show a second embodiment of the method for manufacturing a light emitting device of the present invention.
  • the laser is used as a method for dividing the adhesive layer of the first tape into islands, but the same as in the first embodiment except for the point that the laser is used. It is.
  • GaAs or Ge is formed on a selected starting substrate 401 by a metal organic vapor phase epitaxy (MOVPE) method.
  • An active layer 404 composed of (Al x Ga 1-x ) y In 1-y P (0 ⁇ x ⁇ 1, 0.4 ⁇ y ⁇ 0.6) and a band gap larger than that of the active layer 404 (Al x Ga 1-x ) y In 1-y P (0 ⁇ x ⁇ 1, 0.4 ⁇ y ⁇ 0.6) AlGaInP-based DH structure 406 in which layers 403 and 405 are arranged on both sides of active layer 404 is fabricated.
  • the first electrode 411 is formed in the same manner as in the first embodiment in contact with a part of the first conductivity type layer 405 of the AlGaInP-based DH structure 406.
  • a part of the first conductivity type layer 405 and the active layer 404 is removed by wet etching or dry etching to expose the second conductivity type layer 403.
  • the second electrode 412 in contact with the region where the second conductivity type layer 403 is exposed is provided in the same manner as in the first embodiment.
  • the metal organic vapor phase epitaxy on a sapphire starting substrate 421 at (MOVPE) method Al x Ga y In z N (0 ⁇ active layer 424 composed of x ⁇ 1, 0 ⁇ y ⁇ 1, 0 ⁇ z ⁇ 1), and Al x Ga y In z N (0 ⁇ x ⁇ 1, 0 ⁇ y ⁇ 1) having a larger band gap than the active layer 424 , 0 ⁇ z ⁇ 1)
  • An AlGaInN-based DH structure 426 in which the layers 423 and 425 are arranged on both sides of the active layer 424 is manufactured.
  • the first electrode 431 is formed in the same manner as in the first embodiment in contact with a part of the first conductivity type layer 425 of the AlGaInN-based DH structure 426.
  • a part of the first conductivity type layer 425 and the active layer 424 is removed by a dry etching method to expose the second conductivity type layer 423.
  • the second electrode 432 in contact with the region where the second conductivity type layer 423 is exposed is provided in the same manner as in the first embodiment.
  • a tape 452 is prepared in which a paste material (glue layer) 451 such as acrylic is placed in a sheet form on a ductile tape base material (base material portion) 450 such as PVC or PP, As shown in FIG. 14, the glue layer portion is cut into a cross pattern with a laser to form a sheet (first tape) 454 on which island-like glue portions (glue layers divided into islands) 453 are formed.
  • the glue layer portion can be cut in an island shape without excessive damage to the tape substrate 450.
  • the processing width by the laser is about 5 ⁇ m, it is a method applicable to a small size of 10 ⁇ m pitch or more in a die having a mounting element of about 5 ⁇ m ⁇ .
  • the wafers after the formation of the first electrodes 411 and 431 and the second electrodes 412 and 432 and the island-like glue portions (island-like portions) cut in a cross-beam shape are used.
  • the wafer and the sheet are bonded to form a bonded body 460, and then a breaking line 461 is formed on the wafer by laser or diamond scribe.
  • the wafer is braked along the breaking line 461 to form a die 462.
  • the braking line 461 may be formed before joining and the braking may be performed after joining.
  • the starting substrates 401 and 421 are lifted off in the same manner as in the first embodiment.
  • the starting substrate 401 is lifted off by etching the AlAs sacrificial layer 402 inserted between the starting substrate 401 and the DH layer 406 with a solution such as HF or BHF. . Note that the substrate need not be lifted off or removed.
  • the tape is expanded to a desired pitch, and a sheet 465 in which dies are arranged at a desired pitch is formed.
  • a tape (second tape) 475 having a glue layer 473 on the first surface 471 and a base material 474 on the second surface 472 is prepared, and the substrate lift-off surface 476 of the die is prepared. And the glue layer 473 are opposed to each other, and the dice are transferred to the tape (second tape) 475.
  • the first electrode 411, 431 and the second electrode 412, 432 are opposite to the first surface 471.
  • positioned in this is formed.
  • a mounting substrate 485 on which a drive circuit is formed is prepared.
  • the electrodes 486, 487, 488, 489 on the mounting substrate 485 are opposed to the first electrodes 411, 431 and the second electrodes 412, 432, The mounting substrate and the die are bonded to form a bonded substrate 490.
  • the tape (second tape) 475 is peeled off.
  • the mounting process of the LED that emits visible light is illustrated, but it is obvious that the light emitting wavelength of the light emitting element does not affect the mounting process, and can be applied regardless of the light emitting wavelength of the present embodiment. Needless to say, the light-emitting element can be applied regardless of the emission wavelength, whether it is an infrared light-emitting element or an ultraviolet light-emitting element.
  • FIGS. 22 to 30 show a third embodiment of the method for producing a light emitting device of the present invention.
  • the point that the island-like adhesive layer is formed on the base material by a printing method or a dispensing method is the first Other than this embodiment, the rest is the same as the first embodiment.
  • GaAs or Ge is formed on a selected starting substrate 601 by a metal organic vapor phase epitaxy (MOVPE) method.
  • MOVPE metal organic vapor phase epitaxy
  • the first electrode 611 is formed in the same manner as in the first embodiment in contact with a part of the first conductivity type layer 605 of the AlGaInP-based DH structure 606.
  • a part of the first conductivity type layer 605 and the active layer 604 is removed by wet etching or dry etching method to expose the second conductivity type layer 603.
  • the second electrode 612 in contact with the region where the second conductivity type layer 603 is exposed is provided in the same manner as in the first embodiment.
  • the metal organic vapor phase epitaxy on a sapphire starting substrate 621 at (MOVPE) method Al x Ga y In z N (0 ⁇ x ⁇ Active layer 624 composed of 1, 0 ⁇ y ⁇ 1, 0 ⁇ z ⁇ 1) and Al x Ga y In z N (0 ⁇ x ⁇ 1, 0 ⁇ y ⁇ 1,0) having a band gap larger than that of the active layer 624 ⁇ z ⁇ 1)
  • An AlGaInN-based DH structure 626 in which the layers 623 and 625 are arranged on both sides of the active layer 624 is manufactured.
  • the first electrode 631 is formed in the same manner as in the first embodiment in contact with a part of the first conductivity type layer 625 of the AlGaInN-based DH structure 626.
  • a part of the first conductivity type layer 625 and the active layer 624 is removed by a dry etching method to expose the second conductivity type layer 623.
  • a second electrode 632 in contact with the region where the second conductivity type layer 623 is exposed is provided in the same manner as in the first embodiment.
  • a paste material such as acrylic is ejected from a discharge nozzle in an island shape onto a ductile tape base material (base material portion) 650 such as PVC or PP to form an island-shaped paste portion (in an island shape).
  • a sheet (first tape) 654 on which a divided adhesive layer) 653 is formed is prepared.
  • the wafer after the formation of the first electrodes 611 and 631 and the second electrodes 612 and 632 and the cross-shaped island-shaped paste portions (divided into island shapes).
  • the sheet 654 on which the adhesive layer 653 is disposed is disposed and bonded so that the electrodes 611, 612, 631, 632 and the island-shaped paste portion 653 are opposed to each other, thereby forming a bonded body 660.
  • the wafer and the sheet are joined to form a joined body 660, and then a breaking line 661 is formed on the wafer by laser or diamond scribe.
  • the wafer is braked along the breaking line 661 to form a die 662.
  • a braking line 661 may be formed before bonding and braking may be performed after bonding.
  • a braking process is performed to extend the distance between the dies, and then the starting substrates 601 and 621 are lifted off in the same manner as in the first embodiment.
  • the starting substrate 601 is lifted off by etching the AlAs sacrificial layer 602 inserted between the starting substrate 601 and the DH layer 606 with a solution such as HF or BHF. . Note that the substrate need not be lifted off or removed.
  • the tape is expanded to a desired pitch, and a sheet 665 in which dies are arranged at a desired pitch is formed.
  • a tape (second tape) 675 having a glue layer 673 on the first surface 671 and a base material 674 on the second surface 672 is prepared, and the substrate lift-off surface 676 of the die is prepared. And the glue layer 673 are opposed to each other, and a die is transferred to a tape (second tape) 675.
  • the first electrode 611, 631 and the second electrode 612, 632 are opposite to the first surface 671.
  • the sheet 680 arranged in the above is formed.
  • a mounting substrate 685 on which a drive circuit is formed is prepared.
  • the electrodes 686, 687, 688, 689 on the mounting substrate 685, the first electrodes 611, 631, and the second electrodes 612, 632 are made to face each other in the same manner as in the first embodiment.
  • the mounting substrate 685 and the die are bonded to form a bonded substrate 690.
  • the tape (second tape) 675 is peeled off.
  • the mounting process of the LED that emits visible light is illustrated, but it is obvious that the light emitting wavelength of the light emitting element does not affect the mounting process, and can be applied regardless of the light emitting wavelength of the present embodiment. Needless to say, the light-emitting element can be applied regardless of the emission wavelength, whether it is an infrared light-emitting element or an ultraviolet light-emitting element.
  • An AlGaInP-based DH structure 206 in which the layers 203 and 205 are arranged on both sides of the active layer 204 was produced.
  • an AlAs sacrificial layer 202 having a thickness of 50 nm was formed between the AlGaInP-based DH structure 206 and the starting substrate 201 (see FIG. 2).
  • a semiconductor wafer having such a structure is processed as in the first embodiment, and a PVC on which an island-like portion 253 is formed by cutting the glue layer portion into a cross-beam shape by blade dicing is used as a base material (base material portion).
  • the sheet (first tape) 254 (see FIG. 4) was used to bond 5 to 10 ⁇ m square dice to the mounting substrate at a pitch of 35 to 100 ⁇ m.
  • the base material (base material part) of the sheet (first tape) has a thickness of 80 ⁇ m
  • the glue part (glue layer) has a thickness of 5 ⁇ m
  • An AlGaInP-based DH structure 406 in which the layers 403 and 405 are arranged on both sides of the active layer 404 was produced.
  • an AlAs sacrificial layer 402 having a thickness of 50 nm was formed between the AlGaInP-based DH structure 406 and the starting substrate 401 (see FIG. 12).
  • a semiconductor wafer having such a structure is processed as in the second embodiment, and a sheet made of PVC (a first substrate) on which island-like portions 453 are formed by cutting a glue layer portion into a cross-beam shape with a laser (first embodiment) Tape) 454 (see FIG. 14) was used to bond a 5 to 10 ⁇ m square die to the mounting substrate at a pitch of 35 to 100 ⁇ m.
  • the thickness of the base material (base material part) of the sheet (first tape) was 80 ⁇ m
  • the thickness of the glue part (glue layer) was 5 ⁇ m
  • the glue part was cut into islands at a pitch of 20 to 50 ⁇ m using a laser. .
  • the light emitting elements were mounted in the same manner as in Examples 1 and 2 except that the glue portion (glue layer) of the sheet (first tape) was not island-shaped and the pitch of the dies was 15 to 100 ⁇ m.
  • FIG. 31 The result of the position defect rate of Examples 1 and 2 and the comparative example is shown in FIG.
  • FIG. 31 there are three types of position defects: lateral displacement, longitudinal displacement, and rotation.
  • FIG. 32 in Examples 1 and 2 using the first tape in which the glue layer was divided into islands, compared to the comparative example using the first tape in which the glue layer was not divided into islands.
  • positioning errors during mounting have been greatly improved.
  • the present invention is not limited to the above embodiment.
  • the above-described embodiment is an exemplification, and the present invention has substantially the same configuration as the technical idea described in the claims of the present invention, and any device that exhibits the same function and effect is the present invention. It is included in the technical scope of the invention.

Landscapes

  • Led Devices (AREA)
  • Dicing (AREA)
  • Led Device Packages (AREA)
PCT/JP2019/015989 2018-05-22 2019-04-12 発光素子の製造方法 Ceased WO2019225206A1 (ja)

Applications Claiming Priority (2)

Application Number Priority Date Filing Date Title
JP2018097828A JP6791208B2 (ja) 2018-05-22 2018-05-22 発光素子の製造方法
JP2018-097828 2018-05-22

Publications (1)

Publication Number Publication Date
WO2019225206A1 true WO2019225206A1 (ja) 2019-11-28

Family

ID=68616390

Family Applications (1)

Application Number Title Priority Date Filing Date
PCT/JP2019/015989 Ceased WO2019225206A1 (ja) 2018-05-22 2019-04-12 発光素子の製造方法

Country Status (3)

Country Link
JP (1) JP6791208B2 (enExample)
TW (1) TW202004851A (enExample)
WO (1) WO2019225206A1 (enExample)

Families Citing this family (3)

* Cited by examiner, † Cited by third party
Publication number Priority date Publication date Assignee Title
CN112687767B9 (zh) * 2020-12-01 2021-12-03 华灿光电(苏州)有限公司 芯片扩膜方法
JP2024104823A (ja) 2023-01-25 2024-08-06 株式会社ナノマテリアル研究所 発光素子搭載配線用基板の表示用基板への転写による表示装置の製造方法および表示用基板と表示装置
JP2025008930A (ja) 2023-07-06 2025-01-20 株式会社ナノマテリアル研究所 マイクロledの製造方法と発光素子および表示装置

Citations (5)

* Cited by examiner, † Cited by third party
Publication number Priority date Publication date Assignee Title
JP2003098977A (ja) * 2001-09-19 2003-04-04 Sony Corp 素子の転写方法、素子の配列方法、及び画像表示装置の製造方法
JP2007208129A (ja) * 2006-02-03 2007-08-16 Citizen Electronics Co Ltd 表面実装型発光素子の製造方法
JP2014011445A (ja) * 2012-07-03 2014-01-20 Disco Abrasive Syst Ltd ウエーハの加工方法
JP2014036060A (ja) * 2012-08-07 2014-02-24 Sharp Corp 半導体装置の製造方法及び半導体装置の製造装置
US20180138142A1 (en) * 2016-08-05 2018-05-17 Xiamen San'an Optoelectronics Co., Ltd. Film for Semiconductor Device and Fabrication Method Thereof

Family Cites Families (8)

* Cited by examiner, † Cited by third party
Publication number Priority date Publication date Assignee Title
JP2003093961A (ja) * 2001-09-21 2003-04-02 Sony Corp 液体の塗布方法、素子の実装方法、素子の転写方法、素子の配列方法及び画像表示装置の製造方法
JP4120223B2 (ja) * 2002-01-16 2008-07-16 ソニー株式会社 電子部品の製造方法、これを用いた画像表示装置
JP6205897B2 (ja) * 2013-06-27 2017-10-04 日亜化学工業株式会社 発光装置及びその製造方法
JP6425435B2 (ja) * 2014-07-01 2018-11-21 株式会社ディスコ チップ間隔維持装置
EP3266048B1 (en) * 2015-03-06 2019-10-02 Koninklijke Philips N.V. Method for attaching ceramic phosphor plates on light-emitting device (led) dies using a dicing tape
JP5888455B1 (ja) * 2015-04-01 2016-03-22 富士ゼロックス株式会社 半導体製造装置および半導体片の製造方法
JP6573072B2 (ja) * 2015-08-27 2019-09-11 株式会社村田製作所 フィルム拡張装置およびそれを用いた電子部品の製造方法
US10032827B2 (en) * 2016-06-29 2018-07-24 Applied Materials, Inc. Systems and methods for transfer of micro-devices

Patent Citations (5)

* Cited by examiner, † Cited by third party
Publication number Priority date Publication date Assignee Title
JP2003098977A (ja) * 2001-09-19 2003-04-04 Sony Corp 素子の転写方法、素子の配列方法、及び画像表示装置の製造方法
JP2007208129A (ja) * 2006-02-03 2007-08-16 Citizen Electronics Co Ltd 表面実装型発光素子の製造方法
JP2014011445A (ja) * 2012-07-03 2014-01-20 Disco Abrasive Syst Ltd ウエーハの加工方法
JP2014036060A (ja) * 2012-08-07 2014-02-24 Sharp Corp 半導体装置の製造方法及び半導体装置の製造装置
US20180138142A1 (en) * 2016-08-05 2018-05-17 Xiamen San'an Optoelectronics Co., Ltd. Film for Semiconductor Device and Fabrication Method Thereof

Also Published As

Publication number Publication date
TW202004851A (zh) 2020-01-16
JP2019204842A (ja) 2019-11-28
JP6791208B2 (ja) 2020-11-25

Similar Documents

Publication Publication Date Title
KR100707955B1 (ko) 발광 다이오드 및 이의 제조 방법
JP4055405B2 (ja) 電子部品及びその製造方法
CN109390437B (zh) 微型发光二极管装置及其制作方法
TW200834986A (en) Method of forming light-emitting element
JP4818732B2 (ja) 窒化物半導体素子の製造方法
JP3682584B2 (ja) 発光素子の実装方法及び画像表示装置の製造方法
JP2013211443A (ja) 発光装置の製造方法
JP6760141B2 (ja) 発光素子及びその製造方法
WO2019225206A1 (ja) 発光素子の製造方法
US7442565B2 (en) Method for manufacturing vertical structure light emitting diode
WO2015141166A1 (ja) 半導体発光装置とその製造方法
TWI416763B (zh) A light-emitting element, a method of manufacturing the same, and a light-emitting device
US20150200331A1 (en) Light-emitting device and the manufacturing method thereof
TWI404237B (zh) 發光元件及其製造方法
CN107482090A (zh) 一种发光二极管及其制作方法
TW201414004A (zh) 發光二極體的製作方法
WO2012005185A1 (ja) 発光ダイオードの製造方法、切断方法及び発光ダイオード
CN112993107A (zh) 发光二极管及其制作方法
EP4517844A1 (en) Light emitting element and method for manufacturing same
JP4570683B2 (ja) 窒化物系化合物半導体発光素子の製造方法
CN114038977B (zh) 发光器件的制作方法
JP2004128187A (ja) 半導体素子及び半導体装置、並びにこれらの製造方法
TWI807028B (zh) 發光元件以及其製造方法
CN103165768A (zh) 发光二极管的制作方法
TW202304004A (zh) 在半導體發光裝置與成長基板之間的轉角上的隔離層移除方法

Legal Events

Date Code Title Description
121 Ep: the epo has been informed by wipo that ep was designated in this application

Ref document number: 19807169

Country of ref document: EP

Kind code of ref document: A1

NENP Non-entry into the national phase

Ref country code: DE

122 Ep: pct application non-entry in european phase

Ref document number: 19807169

Country of ref document: EP

Kind code of ref document: A1