WO2019054235A1 - 情報処理装置、情報処理方法、及びプログラム - Google Patents

情報処理装置、情報処理方法、及びプログラム Download PDF

Info

Publication number
WO2019054235A1
WO2019054235A1 PCT/JP2018/032750 JP2018032750W WO2019054235A1 WO 2019054235 A1 WO2019054235 A1 WO 2019054235A1 JP 2018032750 W JP2018032750 W JP 2018032750W WO 2019054235 A1 WO2019054235 A1 WO 2019054235A1
Authority
WO
WIPO (PCT)
Prior art keywords
image
deformation
target image
display
information
Prior art date
Legal status (The legal status is an assumption and is not a legal conclusion. Google has not performed a legal analysis and makes no representation as to the accuracy of the status listed.)
Ceased
Application number
PCT/JP2018/032750
Other languages
English (en)
French (fr)
Japanese (ja)
Inventor
康平 岩渕
Current Assignee (The listed assignees may be inaccurate. Google has not performed a legal analysis and makes no representation or warranty as to the accuracy of the list.)
Canon Inc
Original Assignee
Canon Inc
Priority date (The priority date is an assumption and is not a legal conclusion. Google has not performed a legal analysis and makes no representation as to the accuracy of the date listed.)
Filing date
Publication date
Priority claimed from JP2018156331A external-priority patent/JP2019053050A/ja
Application filed by Canon Inc filed Critical Canon Inc
Publication of WO2019054235A1 publication Critical patent/WO2019054235A1/ja
Priority to US16/799,486 priority Critical patent/US11430107B2/en
Anticipated expiration legal-status Critical
Ceased legal-status Critical Current

Links

Images

Classifications

    • GPHYSICS
    • G01MEASURING; TESTING
    • G01NINVESTIGATING OR ANALYSING MATERIALS BY DETERMINING THEIR CHEMICAL OR PHYSICAL PROPERTIES
    • G01N21/00Investigating or analysing materials by the use of optical means, i.e. using sub-millimetre waves, infrared, visible or ultraviolet light
    • G01N21/84Systems specially adapted for particular applications
    • GPHYSICS
    • G01MEASURING; TESTING
    • G01NINVESTIGATING OR ANALYSING MATERIALS BY DETERMINING THEIR CHEMICAL OR PHYSICAL PROPERTIES
    • G01N21/00Investigating or analysing materials by the use of optical means, i.e. using sub-millimetre waves, infrared, visible or ultraviolet light
    • G01N21/84Systems specially adapted for particular applications
    • G01N21/88Investigating the presence of flaws or contamination
    • GPHYSICS
    • G06COMPUTING OR CALCULATING; COUNTING
    • G06TIMAGE DATA PROCESSING OR GENERATION, IN GENERAL
    • G06T1/00General purpose image data processing
    • GPHYSICS
    • G09EDUCATION; CRYPTOGRAPHY; DISPLAY; ADVERTISING; SEALS
    • G09BEDUCATIONAL OR DEMONSTRATION APPLIANCES; APPLIANCES FOR TEACHING, OR COMMUNICATING WITH, THE BLIND, DEAF OR MUTE; MODELS; PLANETARIA; GLOBES; MAPS; DIAGRAMS
    • G09B19/00Teaching not covered by other main groups of this subclass
    • GPHYSICS
    • G09EDUCATION; CRYPTOGRAPHY; DISPLAY; ADVERTISING; SEALS
    • G09BEDUCATIONAL OR DEMONSTRATION APPLIANCES; APPLIANCES FOR TEACHING, OR COMMUNICATING WITH, THE BLIND, DEAF OR MUTE; MODELS; PLANETARIA; GLOBES; MAPS; DIAGRAMS
    • G09B9/00Simulators for teaching or training purposes

Definitions

  • the present invention relates to a technology used for inspection work of an object using an image.
  • the site In the inspection work for inspecting an object such as a structure, the site is visited to photograph the structure. After that, it returns to the office etc., and the photographed image is observed in detail to judge the deformation such as cracking, floating or peeling of the surface of the concrete, and the check slip is created.
  • the determination of the anomaly refers to an act of specifying the type and the degree of the anomaly appearing in the image. For example, with respect to a certain deformation, the action of specifying that the deformation is a type of “crack” and that the degree of the deformation is “a width of a crack of 0.2 (mm)” is abnormal. It corresponds to the judgment of
  • Patent Document 1 compares a reference image to be referred to as an object to be compared with an inspection image in the inspection of an electronic component for the problems related to the determination of an abnormal part by observation of an image and the consistency maintenance of judgment criteria in diagnosis. Methods are disclosed. In addition, in Patent Document 1, it is also possible to easily compare the two by acquiring a parameter for adjusting the appearance from the reference image and performing imaging so that the appearance with the reference image is matched at the time of capturing the inspection image. It is disclosed. Further, Patent Document 2 holds as a preset a parameter for adjusting the appearance of a lesion from a CT (computed tomography) image as a preset, and adjusts the appearance of a designated region of interest by applying the preset. A technology is disclosed that makes it easy to make a decision.
  • CT computed tomography
  • Patent Document 1 it is time-consuming because it is necessary to prepare a reference image for each type and degree of abnormal part. Also, in the technique disclosed in Patent Document 2, it is necessary to prepare parameter presets in advance, which takes time and effort.
  • an object of the present invention is to make it possible to reduce time and effort prior to inspection work.
  • a display means for comparably displaying an object image obtained by photographing an object and a reference image to be used as a reference for determining the deformation of the object, among the object images displayed comparably
  • a generation unit configured to generate a new reference image based on the designated partial region from among the target images.
  • FIG. 5 is a flowchart of an image adjustment process according to a user operation on a target image. It is a functional block diagram of structure inspection processing of a third embodiment. It is a figure which shows the table which stores the reference information of 3rd embodiment. It is a figure explaining the screen composition of a third embodiment. It is a flowchart of the image adjustment process of 3rd embodiment. It is a figure showing the example of the transition of a display state. It is a figure showing the example of the transition of a display state. It is a figure showing the example of the transition of a display state. It is a figure showing the example of the transition of a display state. It is a figure showing the example of the transition of a display state. It is a figure showing the example of the transition of a display state. It is a figure showing the example of the transition of a display state. It is a figure showing the example of the transition of a display state. It is a figure showing the example of the transition of a display state. It is a figure
  • FIG. 1 is a schematic hardware configuration diagram of the information processing apparatus according to the first embodiment.
  • the CPU 101 is a central processing unit that controls the computer system.
  • the CPU 101 executes calculation and processing of information, control of each hardware, and the like based on a control program and a processing program according to the present embodiment, thereby performing various processing including structure inspection processing to be described later. Realize the configuration.
  • the RAM 102 is a random access memory, and functions as a main memory of the CPU 101 as a work memory necessary for loading an execution program and executing a program.
  • the ROM 103 is a read only memory that stores a control program that defines the operation processing procedure of the CPU 101 and a processing program according to the present embodiment.
  • the ROM 103 includes a program ROM storing basic software (OS), which is a system program for controlling devices of the computer system, and a data ROM storing information necessary for operating the system. In place of the ROM 103, an HDD 107 described later may be used.
  • the NETIF 104 is a network interface and performs input / output control of data such as an image transmitted and received via the network. The program according to the present embodiment may be downloaded via the NETIF 104 and recorded in the HDD 107 or the like.
  • the display device 105 is, for example, a CRT display or a liquid crystal display.
  • the input device 106 is an operation input unit for receiving an operation instruction from a user, and is, for example, a touch panel, a keyboard, a mouse or the like.
  • the HDD 107 is a hard disk drive and a storage device.
  • the HDD 107 is used for storing application programs and data such as images.
  • the bus 108 is an input / output bus (address bus, data bus, and control bus) for connecting the units described above.
  • FIG. 2 is a diagram showing a functional block for realizing a structure inspection process at the time of inspecting the structure using the photographed image of the structure which is an object of inspection in the information processing apparatus of the present embodiment It is.
  • the structure inspection process by each functional block shown in FIG. 2 is realized, for example, by the CPU 101 of FIG. 1 executing a program according to the present embodiment and controlling each part.
  • the functional blocks shown in FIG. 2 may be realized by a hardware configuration or a software configuration, or may be realized by a combination of the hardware configuration and the software configuration. The same applies to the functional blocks of each embodiment described later.
  • the target image input unit 201 acquires, from the NETIF 104 or the HDD 107, an image (hereinafter referred to as a target image) obtained by capturing a structure to be inspected.
  • the target image display unit 202 displays the partial area of the target image input to the target image input unit 201 in a predetermined display area of the screen of the display device 105.
  • the partial area is determined by the user performing area specification in the target image by scrolling, zooming in, zooming out, etc. via the input device 106.
  • the deformation designation unit 203 designates the deformation in the partial area of the target image displayed by the target image display unit 202 based on the input from the user via the input device 106.
  • the deformation is, for example, cracking, floating, peeling, efflorescence, cold joint, junca (bean plate), surface air bubbles, sand streaks, rust, etc. generated on the surface of the structure.
  • the designation of the deformation is performed by the user surrounding the area which is considered to be deformed in the target image through the input device 106 with a rectangle or an ellipse, tracing the outline thereof, or the like.
  • the deformation is linear like a crack, the deformation may be designated by tracing on the linear deformation.
  • the deformation designating unit 203 sends, to the target image display unit 202, information representing the deformation designated in such a manner as a rectangle surrounding the deformation, a contour of the deformation, or a polyline tracing the deformation itself.
  • the target image display unit 202 displays a rectangle, a contour of a contour, a polyline, and the like surrounding the deformation on the target image. Since the polyline tends to have a large amount of data, the deformation designation unit 203 may calculate a circumscribed rectangle of the polyline and send information representing the deformation region as a rectangle to the target image display unit 202.
  • the deformation designated by the rectangle in this way is represented, for example, by the upper left coordinates and the size (width and height) of the rectangle, whereby the position and the range can be uniquely identified in the target image. It becomes.
  • the deformation is designated by enclosing the deformation in a rectangle.
  • a specific display example of a partial area of the target image, a rectangle for specifying a deformation in the target image, and the like will be described later.
  • the deformation determining unit 204 acquires the result of the deformation determination input by the user via the input device 106 with respect to the partial region of the target image for which the deformation specifying unit 203 has specified the deformation.
  • the result of the deformation determination input by the user includes, for example, the type of the deformation and the degree of the deformation. A specific example of the user's determination of a change and the determination result will be described later.
  • the reference information display unit 207 displays, on the display device 105, reference information managed by a reference information holding unit 206 described later.
  • the reference information is information in which information indicating at least the type of deformation of the reference image and the degree of the deformation is associated with the reference image to be a reference when performing the deformation determination of the target image.
  • the reference image includes a partial image including the deformation designated by the deformation designation unit 203 in the target image.
  • the reference information includes information indicating the result of the deformation determination determined by the deformation determination unit 204 in the partial region.
  • the information associated with the reference image includes the display parameter acquired from the reference information storage unit 206 by the display parameter acquisition unit 205 described later, and the display parameter acquired from the partial area specified by the deformation specification unit 203.
  • a plurality of reference information is held, for example, in an external recording apparatus via the HDD 107 or the NETIF 104, and the reference information holding unit 206 manages the held plurality of reference information. .
  • the reference information selection unit 209 causes a list of a plurality of reference information managed by the reference information holding unit 206 to be displayed in a predetermined display area of the display device 105, and allows the user to select one of them.
  • a reference image may be acquired based on reference information, and thumbnail images created by applying appropriate trimming or reduction processing to the reference image may be displayed side by side, or the reference image may be uniquely identified. Strings may be displayed side by side. A specific display example of the list of reference information will be described later.
  • the reference information when displaying a list of reference information, the reference information may be grouped, sorted, or filtered and displayed according to the type and degree of the variation included in each reference information.
  • the reference information selection unit 209 groups the plurality of pieces of reference information on the basis of the type and degree of each reference information, the sort function for sorting on the basis of the type and degree of reference information, and the reference information It has a filtering function that filters based on type and degree.
  • the reference information display unit 207 acquires a reference image based on the selected reference information, and the display device 105. Is displayed in a predetermined display area of A specific example of the display of the reference image will be described later.
  • the user can visually compare the partial area of the target image described above with the reference image when the deformation specification and the deformation determination are performed on the partial area of the target image. It displays on the display device 105 as follows.
  • the information processing apparatus according to the present embodiment performs adjustment such that the display image (the display method) of the target image and the reference image matches when the partial region of the target image and the reference image are displayed comparably.
  • an adjustment process is realized to match the appearance of the target image on the display of the reference image by matching the display method of the target image to the display method of the reference image. .
  • the display parameter acquisition unit 205 acquires a display parameter from the reference image based on the reference information selected by the reference information selection unit 209.
  • the display parameter acquisition unit 205 acquires the display parameter included in the selected reference information from the reference information storage unit 206.
  • the display parameter is a parameter used to align the display methods of images having different appearances and to match the appearance on the display.
  • the zoom magnifications of both are matched.
  • the reference image since the reference image includes the partial image of the target image for which deformation has already been determined, the zoom magnification of the target image and the zoom magnification of the reference image are matched.
  • the display parameter acquisition unit 205 sends the acquired display parameter to the display parameter application unit 208.
  • the display parameter application unit 208 applies the display parameter to the partial area of the target image to obtain an image (reference image) from which the display parameter is acquired and an image (target image) to which the display parameter is applied. Adjust the image to match the appearance. Specific examples of application of display parameters will be described later.
  • the reference information holding unit 206 determines the deformation determination result (the type and degree of the deformation, etc.) for the partial region. Information associated with) is generated and managed as new reference information. Then, the reference information holding unit 206 holds the newly generated reference information in, for example, the HDD 107 or an external recording apparatus via the NETIF 104 or the like. That is, in the present embodiment, the reference information on the partial region in the target image for which the user has made the determination of the deformation can be used as reference information when the deformation determination on the target image is subsequently performed. .
  • FIG. 3 is a diagram exemplifying a reference information table used by the reference information holding unit 206 to manage the held reference information.
  • a reference ID for uniquely identifying the reference information stored in the reference information table is described.
  • the coordinate item 302 relative coordinates of a rectangle representing a deformed area are described in the target image.
  • the relative coordinates of the upper left of the rectangle in the target image are used as the coordinates described in the coordinate item 302, but the present invention is not limited to this and is the central coordinates of the rectangle and the lower right coordinates. May be
  • the size item 303 describes the size of a rectangle representing a deformed area.
  • the size of the rectangle consists of the width and height of the rectangle.
  • the type item 304 describes a character string representing the type of deformation.
  • the degree item 305 describes a value representing the degree of abnormality. In the example of the present embodiment, an example is described in which the width of the crack is described as a value indicating the degree of deformation.
  • the display parameter item 306 describes display parameters. The display parameter is used to match the appearance of another image (in the case of this embodiment, the partial area) to the reference image specified by the coordinates of the coordinate item 302 and the size of the size item 303 as described above. Be done. In the present embodiment, as an example of the display parameter, a case where a zoom magnification is adopted will be described as an example.
  • FIG. 4A and FIG. 4B are diagrams for explaining an example of display on the display device 105 when the structure inspection process is performed in the information processing apparatus of the present embodiment.
  • the difference between FIG. 4A and FIG. 4B is that the method of expressing the reference information list is different.
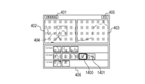
  • the target image read button 401 is a button operated by the user when the target image is read by the target image input unit 201.
  • the target image display area 402 is a display area in which a target image is displayed by the target image display unit 202. After acquiring one target image, the user moves the partial area displayed in the display area 402 by scrolling or zooming in / out, and performs an operation to determine the deformation, and checks the necessary range of the target image. can do.
  • the scroll bar 409 and the scroll bar 410 can be used for an operation of moving a partial area.
  • an interface for changing display parameters such as zoom magnification, lightness adjustment value, hue adjustment value, and gamma value in accordance with predetermined operation (for example, right click, double tap, etc.) on the target image display area 402 is provided. You may display it.
  • the reference image display area 403 is a display area in which a reference image is displayed by the reference information display unit 207.
  • the deformation area designation rectangle 404 is a rectangle representing the deformation area designated by the deformation designation unit 203.
  • the deformation determination button 405 is a button operated when the user inputs the type and degree of the deformation by the deformation determination unit 204 for the deformation indicated by the deformation area designation rectangle 404. Although illustration is omitted, the information processing apparatus displays on the screen a dialog window or the like for inputting the type and degree of the deformation at the timing when the deformation determination button 405 is pressed, and displays them to the user. Prompt for input.
  • the reference information list area 406 in FIG. 4A is an area in which a list of reference information managed by the reference information storage unit 206 is displayed. Thereby, the user can select reference information from the list.
  • the reference thumbnail image 407 is a thumbnail image representing a reference image, and is created by appropriately trimming, reducing or enlarging the reference image acquired based on the reference information.
  • the partial image corresponding to the deformation area designation rectangle 404 designated by the deformation designation unit 203 is trimmed, and the reduced thumbnail image is displayed in the reference information list area 406. Is displayed.
  • FIG. 4A shows an example in which the reference thumbnail images 407 are grouped and displayed as a list in the reference information list area 406 based on the type and degree of deformation (the crack width in this example) included in the reference information. It shows.
  • the reference information list area 408 in FIG. 4B is an area in which a list of reference information managed by the reference information storage unit 206 is displayed. Although thumbnail images representing reference images are listed and displayed in the reference information list area 406 illustrated in FIG. 4A, in the reference information list area 408 in FIG. 4B, character strings that can uniquely identify the reference image are displayed in a list It is done. As a character string that can uniquely identify this reference image, for example, a character string such as “deformation (ref ID)” can be mentioned.
  • FIG. 4B shows an example in which character strings that can uniquely identify a reference image are grouped and displayed as a list in the reference information list area 408 based on the type and degree (crack width of a crack) included in the reference information. It shows.
  • FIGS. 4A and 4B show an example in which the target image display area 402 and the reference image display area 403 are displayed side by side and displayed in a comparable manner.
  • FIG. 5 is a table in which the target image display area 402 and the reference image display area 403 are arranged in the same area on the screen (the same display area) by superimposing them on one another and comparing them by switching their visible states.
  • An example is shown.
  • the inspection / reference image display area 501 is a display area for switching and displaying the target image display area 402 and the reference image display area 403.
  • the switching display of the target image display area 402 and the reference image display area 403 in the inspection / reference image display area 501 is performed, for example, in response to the switching operation of the toggle button such as the inspection / reference image switching button 502.
  • the target image reading button 401, the deformation determination button 405, the reference information list area 406, and the reference thumbnail image 407 are the same as those in FIG. 4A.
  • processing for aligning the display methods of the target image and the reference image (processing for adjusting the appearance) will be described with reference to FIG. Further, processing of generating new reference information based on the result of the user's deformation determination will be described using FIG. 7.
  • FIG. 6 is a flow chart for explaining processing executed when reference information is selected from the reference information list in the information processing apparatus of this embodiment.
  • the reference information is generated based on the deformation in the target image displayed by the target image display unit 202, as described later with reference to FIG.
  • the processes shown in the flowcharts of FIG. 6 and FIG. 7 below are realized by the CPU 101 of FIG. 1 executing a program according to the present embodiment.
  • steps S601 to S604, S701, and S702 are abbreviated as S601 to S604, S701, and S702, respectively. The same applies to the other flowcharts described later.
  • the reference information selection unit 209 selects the reference information corresponding to the selection from the reference information storage unit 206. Get from
  • step S602 the display parameter acquisition unit 205 acquires display parameters from the reference information acquired in step S601.
  • the zoom magnification described above is acquired as an example of the display parameter.
  • the reference information display unit 207 causes the reference image display area 403 to display a reference image based on the reference information acquired in step S601.
  • the reference information display unit 207 first acquires the upper left coordinates and the size of the rectangle surrounding the variation from the selected reference information.
  • the reference information display unit 207 cuts out a rectangular image from the image which is the generation source of the reference information (that is, the target image displayed by the target image display unit 202) based on the upper left coordinates and the size of the rectangle.
  • the reference information display unit 207 applies the zoom magnification acquired by the display parameter acquisition unit 205 in S602 to the cut out rectangular image, and displays the display of the deformation determination time point when the reference information is generated. Reproduce the way.
  • Reproduction of the display method can be realized by applying a scale conversion matrix created based on the zoom factor to the extracted rectangular image. Then, the reference information display unit 207 displays a rectangular image in which the display method is reproduced in the reference image display area 403 as a reference image.
  • the reference image displayed in the reference image display area 403 covers the entire target image display area 402 when the deformation is determined among the target images. It will be the part that was displayed. However, it is not limited to this. For example, it may be displayed so that the rectangle surrounding the deformation when the reference information is generated is positioned at the center of the reference image display area 403. If the rectangle surrounding the deformation is smaller than the reference image display area 403, the outside of the rectangle may be left blank.
  • step S604 the display parameter application unit 208 applies the zoom magnification acquired by the display parameter acquisition unit 205 in step S602 to the target image displayed by the target image display unit 202 for reference. Reproduce the same display method as the image. As a result, the adjustment of the image to match the appearance (display parameter) of the target image and the reference image is realized. Also in this case, the scale conversion matrix created based on the zoom factor may be applied to the target image as described above.
  • the selected reference image is a partial image of the target image
  • the deformation of the same width reflected in each of the target image and the reference image is displayed The width of the appearance above is also consistent.
  • Zoom magnification can be changed. For example, after confirming that a transformation having a width similar to that of the referred transformation is included in the target image by being displayed at the same zoom magnification as the reference image, the transformation is performed by arbitrarily zooming out. You can also check the length of the letter. Then, when the determination of the abnormal state is performed in a state where the zoom is arbitrarily performed, the zoom magnification finely adjusted by the zoom out is held as reference information of the reference image newly generated along with the determination. Ru. In the first embodiment, when the display parameter of the target image is changed by the user, the change does not affect the reference image.
  • display parameters other than the zoom magnification may be used.
  • display parameters in this case for example, a lightness adjustment value, a hue adjustment value, a gamma value, etc. can be considered.
  • the display parameter to be used may be not only one of the zoom magnification, the lightness adjustment value, the hue adjustment value, and the gamma value, but also a combination thereof.
  • the display parameter acquisition unit 205 acquires the lightness from the reference image and generates the lightness adjustment value. Then, in S604, the display parameter application unit 208 may adjust the lightness of the target image using the lightness adjustment value. Further, for example, in the case where the HSV color space is used, the maximum among the RGB is the lightness adjustment value V. In this case, the display parameter application unit 208 targets the lightness adjustment value Vr of the reference image. The lightness adjustment value Vi of the image is adjusted.
  • the target image and the environment for displaying the display image are aligned, and the deformation already specified in the reference image is compared with the candidate for change before determination included in the target image. It can be easy to do.
  • the above-described processing is performed each time reference information is selected from the reference information list.
  • FIG. 7 is a flowchart illustrating generation processing of new reference information, which is executed when the deformation determination button 405 is pressed in the information processing apparatus of the present embodiment.
  • the deformation determination unit 204 makes a new reference to the partial region of the target image determined as deformed at that time and information indicating the type and degree of the deformation. It is generated as information and stored in the reference information holding unit 206.
  • reference information is described in each item of the reference information table in FIG. 3 described above in the reference information holding unit 206.
  • the reference information at this time includes the zoom magnification of the current target image acquired by the display parameter acquisition unit 205.
  • the lightness adjustment value may be calculated at the time of generation of the reference information and may be stored as part of the reference information.
  • the brightness adjustment value may be calculated.
  • the reference information display unit 207 additionally displays the display element generated based on the reference information generated in S701, for example, in the reference information list area 406 in FIG. 4A. Specifically, the reference information display unit 207 resizes the deformed portion of the reference image generated based on the new reference information to, for example, the size of the thumbnail image, and additionally displays the resized portion in the reference information list area 406. Alternatively, the reference information display unit 207 may generate an appropriate character string based on the reference ID indicating the reference information, and additionally display the character string in the reference information list area 408 of FIG. 4B, for example.
  • the flowchart in FIG. 7 may be activated not only at the timing at which the deformation determination button 405 is pressed but also at any timing such as the timing at which the user has specified a deformation.
  • FIGS. 14A to D show, in time series, changes in display state caused by the user performing a structure inspection operation using the screen shown in FIG. 4A.
  • the user sets the deformation designated area 404 in the target image display area 402.
  • the thumbnail image 1400 is selected as the reference image, and as a result, a reference image based on the thumbnail image 1400 is displayed in the reference image display area 403.
  • the outer frame of the thumbnail image 1400 in the selected state is clearly bordered so that other thumbnail images can be identified. Further, in FIG.
  • the determination button 405 is operated by the user, and the inside of the deformation area designation rectangle 404 is registered as a crack having a width of 5.0 mm.
  • the thumbnail image 1401 is added to the reference information list area 406.
  • FIG. 14B shows a state in which the user selects a thumbnail image 1402 grouped as a deformation of 0.2 mm in width from the reference information list area 406 as the user further proceeds with work.
  • the thick outline of the outer frame of the thumbnail image 1402 in the selected state makes it possible to clearly identify other thumbnail images.
  • a reference image based on the selected thumbnail image 1402 is displayed.
  • the area cut out as the thumbnail image 1402 is a portion corresponding to the lower right.
  • the zoom magnification of the target image is changed, and is enlarged more than the state of FIG. 14A. What is displayed as the target image in FIG.
  • the thumbnail image 1402 is selected as shown in FIG. 14B.
  • the information processing apparatus zooms in the target image in response to the thumbnail image 1402 being selected. As a result, the user can easily compare the fine deformation newly focused on in the target image with the deformation of width 0.2 mm at the same zoom magnification.
  • FIG. 14C shows a state in which the user newly sets a deformation designation area 1403 in the target image display area 402, presses the determination button 405, and registers a deformation of 0.2 mm in width.
  • the thumbnail image 1403 is added to the grouping of width 0.2 mm in the reference information list area 406.
  • the thumbnail image 1404 is a reduced image by cutting out a portion surrounded by the deformation designation area 1403 in the target image.
  • the display parameter for example, the zoom factor
  • reference information is generated each time a new deformation is determined in the target image. At that time, in the display state, a character string that can uniquely identify reference information is added to the reference information list area 406.
  • FIG. 14B and FIG. 14C the operation of determining the deformation of width 0.2 mm in the target image is illustrated with reference to the deformed reference image of width 0.2 mm. It is not necessary to refer to it. For example, when compared with the deformed reference image of width 0.5 mm, it may be confirmed that the deformation of the target image is thinner than the deformation of the reference image, and as a result, the deformation of 0.2 mm width may be determined. obtain. That is, when a new thumbnail image is added to the reference information list, it is not necessarily added to the same group as the thumbnail image in the selected state.
  • FIG. 14D shows a state in which the thumbnail image 1401 newly added in FIG. 14A is selected.
  • the reference image display area 403 a partial image of the target image displayed when the deformation determination on the deformation designated area 404 in FIG. 14A is performed is displayed as a reference image.
  • the target image display area 402 the target image is displayed at the zoom magnification of the target image that was displayed when the deformation determination on the deformation designated area 404 was performed in FIG. 14A.
  • FIGS. 14A and 14D the appearances of the images displayed in the target image display area 402 and the reference image display area 403 are exactly the same.
  • the present embodiment is not limited to this.
  • a reference image whose center is the area cut out by the selected thumbnail image 1401 may be displayed.
  • alignment of a portion to be displayed may be performed with the partial image being displayed immediately before the zoom magnification being changed.
  • a new reference image can be generated from the target image based on the result of the user's deformation determination.
  • the condition (environment) of the appearance of the target image and the deformed image (reference image) determined in the past can be made uniform.
  • the respective display parameters are matched.
  • conditions for the appearance of the target image are aligned based on the reference information selected by the user.
  • the influence does not affect the reference image.
  • the display method of the target image is changed by the user operation such as the change of the zoom magnification to the target image display area 402, the change is made The operation in the case of reflection will be described. That is, in the second embodiment, processing for adjusting display parameters is performed in order to align the conditions (environment) of how the reference image looks based on the target image.
  • FIG. 8 is a diagram showing functional blocks for realizing the structure inspection process in the information processing apparatus of the second embodiment.
  • the target image input unit 201 to the deformation determination unit 204, and the reference information holding unit 206 to the reference information selection unit 209 are the same as the corresponding units in FIG.
  • the display parameter acquisition unit 801 in the second embodiment acquires display parameters from the target image or target image display unit 202.
  • FIG. 9A and 9B are flowcharts showing two types of processing executed when the method of displaying the target image is changed by the user operation in the structure inspection processing in the information processing apparatus of the second embodiment. is there.
  • the processes in the flowcharts of FIG. 9A and FIG. 9B below are started when the parameter of the target image display area 402 is changed by the user.
  • the flowchart of FIG. 9A represents processing of matching the appearance of both by applying the display parameter changed in the target image as the display parameter of one selected reference image.
  • the display parameter acquisition unit 801 acquires the current display parameter set in the target image display unit 202.
  • the display parameters are, for example, zoom magnification, lightness adjustment value, hue adjustment value, gamma value, and the like.
  • the display parameter application unit 208 changes the zoom magnification of the reference image displayed on the reference information display unit 207 to the zoom magnification acquired in S901.
  • FIGS. 15A and 15B show, in time series, changes in the display state caused by execution of the process of the flowchart of FIG. 9A when the user performs a structure inspection operation in the second embodiment.
  • FIG. 15A shows the same state as FIG. 14B.
  • the reference image display area 403 In the reference image display area 403, a reference image based on the thumbnail image 1402 in the selected state is displayed.
  • the zoom magnification change button 1501 is displayed in the target image display area 402.
  • the zoom magnification change button 1501 is an example of a display parameter operation interface that can be called up according to a predetermined operation such as click or double tap in the target image display area 402, for example. The user can arbitrarily change the zoom magnification of the target image by operating the zoom magnification change button 1501.
  • FIG. 15B shows a state in which the inside of the target image display area 402 is further zoomed in according to the user operation.
  • the same change in display parameter as that of the target image is reflected in the reference image display area 403 as well.
  • the reference image is also zoomed in.
  • the partial region to be displayed must include the already determined deformation so that the deformation in the reference image is not lost. To align.
  • the deformation extracted in the thumbnail image 1402 is enlarged and displayed.
  • the flowchart in FIG. 9B represents processing for applying the display parameter changed in the target image not only to the selected reference image but also to all reference information included in the display information list as a display parameter of reflection.
  • the reference information list is made up of thumbnail images obtained by reducing or enlarging the reference image obtained based on each reference information without trimming.
  • step S 903 the reference information selection unit 209 determines whether the processing in steps S 904 and S 905 has been completed for all pieces of reference information stored in the reference information holding unit 206. If the reference information selection unit 209 determines that the process is completed in S903, the process of the flowchart in FIG. 9B ends. On the other hand, when the reference information selection unit 209 determines that the process is not completed in S903, the process proceeds to S904.
  • step S904 the reference information selection unit 209 acquires, from the reference information storage unit 206, one piece of reference information for which the processing in steps S904 and S905 in the subsequent stage has not been completed.
  • the reference information selection unit 209 obtains a reference image by the method described in step S603 based on the reference information acquired in step S904. Then, the reference information selection unit 209 applies, to the reference image, the scale conversion matrix created based on the zoom magnification acquired in S901, and then resizes the thumbnail image to the size.
  • the resizing process must be performed twice, which increases the amount of calculation. Therefore, the resizing process may be performed once by combining the zoom magnification acquired in S901 and the scaling factor for thumbnailing obtained from the size ratio of the reference image and the thumbnail image.
  • FIGS. 15C to 15D show, in time series, changes in the display state caused by execution of the process of the flowchart of FIG. 9A when the user performs a structure inspection operation in the second embodiment.
  • the state of the target image display area 402 is the same as that of FIG. 15A.
  • the reference image display area 403 a reference image based on the thumbnail image 1503 in the selected state is displayed.
  • the reference image corresponding to the thumbnail image 1503 is the same as the thumbnail image 1402 in FIG. 15A.
  • the thumbnail image displayed in the reference information list area 406 is a reduction of the reference image itself.
  • the user can arbitrarily change the zoom magnification of the target image by operating the zoom magnification change button 1501.
  • FIG. 15D shows a state in which the inside of the target image display area 402 is further zoomed in according to the user operation.
  • each of the thumbnail images displayed in the reference information list area 406 is zoomed in in response to the user operation on the target image.
  • the reference image is also zoomed in by performing the process of FIG. 9A.
  • the information processing apparatus of the second embodiment it is possible to always align the appearance of the reference image so as to match the target image based on the user operation on the target image. It is possible to determine the anomaly.
  • the reference image is generated from the target image being displayed.
  • the reference information generated in the past is read (including reading from the outside).
  • the resolution of the reference image based on the read reference information may differ from the resolution of the captured target image.
  • FIG. 10 is a functional block diagram for realizing the structure inspection process in the information processing apparatus of the third embodiment.
  • the target image display unit 202 to the reference information selection unit 209 are the same as the corresponding units in FIG. 2, and thus the description thereof will be omitted.
  • a target image input unit 1001 acquires a target image from the HDD 107 or the NETIF 104. At this time, the target image input unit 1001 obtains the resolution (in units of pixels / mm) of the target image to be input from the user. The resolution of the target image input by the user is held as temporary data (for example, held in a predetermined area of the RAM 102) while the target image is displayed on the target image display unit 202.
  • the reference information input unit 1002 acquires reference information from the HDD 107 or the NETIF 104.
  • the reference information in this case may be stored as a file or may be stored in a database.
  • the plurality of pieces of reference information may be structured so as to be searchable in order to input appropriate reference information for the target image to be checked from now.
  • the reference information input unit 1002 has a search function of searching according to, for example, the type and degree of reference information.
  • the type and the material of the structure in which the abnormality appears, the position where the abnormality appears, the person who made the determination, and the like can be used.
  • the reference information acquired by the reference information input unit 1002 is temporarily held by the reference information holding unit 206, for example.
  • the reference information output unit 1003 outputs the reference information newly generated in the information processing apparatus of the third embodiment to the HDD 107 or the NETIF 104.
  • the output reference information may be stored as a file or may be stored in a database.
  • FIG. 11 is a diagram illustrating a reference information table managed by the reference information holding unit 206 in the third embodiment. Since the reference ID item 301 to the display parameter item 306 are the same as the corresponding items in FIG. 3, the description thereof will be omitted.
  • an image path item 1101 and a resolution item 1102 are prepared.
  • the image path item 1101 describes a path indicating an image in which the reference deformation is reflected.
  • the resolution item 1102 describes the resolution of the image indicated by the path of the image path item 1101 (the image in which the deformation referred to).
  • FIG. 12 is a diagram for explaining an example of a display screen in the information processing apparatus of the third embodiment.
  • the target image reading button 401 to the reference thumbnail image 407 are the same as the corresponding display elements in FIG. 4, and thus the description thereof is omitted.
  • the reference information input button 1201 is a button operated by the user when the reference information input unit 1002 inputs reference information.
  • the reference information output button 1202 is a button operated by the user when the reference information output unit 1003 outputs reference information.
  • FIG. 13 is a flow chart for explaining the processing executed when reference information is selected from among the reference information list generated in the past in the structure inspection processing realized by the information processing apparatus of the present embodiment. .
  • S601 is the same as the corresponding step in FIG. In the case of the flowchart of FIG. 13, after S601, the process proceeds to S1301.
  • step S1301 the reference information selection unit 209 acquires, from the reference information selected by the user, the path and resolution of the image in which the deformation is reflected, and the zoom factor at the time of the deformation determination.
  • the target image display unit 202 acquires the resolution of the displayed target image. It is assumed that the resolution of the target image is held as temporary data attached to the target image being displayed on the target image display unit 202.
  • the target image display unit 202 displays the displayed target image, and the image for which the pass, resolution, and zoom factor have been acquired in S1301 (a reference image specified from among the images in which the deformation is reflected) ) And how it looks on the display (apparent resolution). Specifically, the target image display unit 202 applies the scale coefficient obtained by the equation (1) described later to one of the two images having a higher resolution.
  • the image with the lower resolution is appropriately It may be scaled to match the apparent resolution on the display with the other image. In that case, it may be applied to scale factor S 2, which is obtained by the following formula (2) to the resolution is lower images.
  • step S1304 the display parameter application unit 208 causes the target image display unit 202 to display the zoom magnification acquired in step S1301 after matching the visual appearance (apparent resolution) of the both in step S1303. Apply to the target image.
  • the third embodiment it is possible to divert reference information created when another user performs an inspection operation using the information processing apparatus of the present embodiment.
  • reference information generated by a user (expert) who is skilled in inspection work can be used by an unskilled beginner user (beginner), and even a beginner can be skilled It becomes possible to perform judgment according to the judgment criteria of the person.
  • the display method of the target image is aligned with the reference image, but of course, the display method of the reference image may be aligned with the target image.
  • the processing in this case is basically as described in the flowchart of FIG. 9A or FIG. 9B, but it is necessary to align the visual resolutions of both in advance as in S1303.
  • the reference information generated in the past is listed and selected, but the reference information displayed in the list is the reference information generated in the past and the reference information of the above embodiment. Thus, both of the reference information newly generated from the target image may be included.
  • the present invention supplies a program that implements one or more functions of the aforementioned embodiments to a system or apparatus via a network or storage medium, and one or more processors in a computer of the system or apparatus read and execute the program. Can also be realized. It can also be implemented by a circuit (eg, an ASIC) that implements one or more functions.
  • a circuit eg, an ASIC

Landscapes

  • Engineering & Computer Science (AREA)
  • General Physics & Mathematics (AREA)
  • Physics & Mathematics (AREA)
  • Theoretical Computer Science (AREA)
  • Business, Economics & Management (AREA)
  • Health & Medical Sciences (AREA)
  • Educational Technology (AREA)
  • Educational Administration (AREA)
  • Life Sciences & Earth Sciences (AREA)
  • Chemical & Material Sciences (AREA)
  • Analytical Chemistry (AREA)
  • Biochemistry (AREA)
  • General Health & Medical Sciences (AREA)
  • Immunology (AREA)
  • Pathology (AREA)
  • Entrepreneurship & Innovation (AREA)
  • Investigating Materials By The Use Of Optical Means Adapted For Particular Applications (AREA)
  • Image Processing (AREA)
PCT/JP2018/032750 2017-09-13 2018-09-04 情報処理装置、情報処理方法、及びプログラム Ceased WO2019054235A1 (ja)

Priority Applications (1)

Application Number Priority Date Filing Date Title
US16/799,486 US11430107B2 (en) 2017-09-13 2020-02-24 Information processing apparatus, information processing method, and non-transitory computer readable medium

Applications Claiming Priority (4)

Application Number Priority Date Filing Date Title
JP2017-175806 2017-09-13
JP2017175806 2017-09-13
JP2018-156331 2018-08-23
JP2018156331A JP2019053050A (ja) 2017-09-13 2018-08-23 情報処理装置、情報処理方法、及びプログラム

Related Child Applications (1)

Application Number Title Priority Date Filing Date
US16/799,486 Continuation US11430107B2 (en) 2017-09-13 2020-02-24 Information processing apparatus, information processing method, and non-transitory computer readable medium

Publications (1)

Publication Number Publication Date
WO2019054235A1 true WO2019054235A1 (ja) 2019-03-21

Family

ID=65722630

Family Applications (1)

Application Number Title Priority Date Filing Date
PCT/JP2018/032750 Ceased WO2019054235A1 (ja) 2017-09-13 2018-09-04 情報処理装置、情報処理方法、及びプログラム

Country Status (2)

Country Link
JP (2) JP2023054012A (enExample)
WO (1) WO2019054235A1 (enExample)

Cited By (1)

* Cited by examiner, † Cited by third party
Publication number Priority date Publication date Assignee Title
CN112229836A (zh) * 2020-09-15 2021-01-15 华南农业大学 水稻实粒与空粒检测装置及检测方法

Citations (8)

* Cited by examiner, † Cited by third party
Publication number Priority date Publication date Assignee Title
JP2000097871A (ja) * 1998-09-25 2000-04-07 Hitachi Ltd レビュー装置
WO2001041068A1 (fr) * 1999-11-29 2001-06-07 Olympus Optical Co., Ltd. Systeme de detection de defaut
JP2001156135A (ja) * 1999-11-29 2001-06-08 Hitachi Ltd 欠陥画像の分類方法及びその装置並びにそれを用いた半導体デバイスの製造方法
JP2003317082A (ja) * 2002-04-25 2003-11-07 Dainippon Screen Mfg Co Ltd 分類支援装置、分類装置およびプログラム
JP2004080517A (ja) * 2002-08-20 2004-03-11 Olympus Corp 画像比較装置、画像比較方法および画像比較をコンピュータにて実行させるためのプログラム
JP2004078690A (ja) * 2002-08-20 2004-03-11 Olympus Corp 画像比較装置、画像比較方法および画像比較をコンピュータにて実行させるためのプログラム
JP2015200554A (ja) * 2014-04-08 2015-11-12 三菱電機株式会社 目視検査方法及び目視検査支援装置
WO2016189764A1 (ja) * 2015-05-26 2016-12-01 三菱電機株式会社 検出装置および検出方法

Family Cites Families (6)

* Cited by examiner, † Cited by third party
Publication number Priority date Publication date Assignee Title
JP4232064B2 (ja) * 1999-10-25 2009-03-04 株式会社ニコン 画像処理を用いたひび割れ評価装置
JP2002328096A (ja) * 2001-04-27 2002-11-15 Tokyo Electric Power Co Inc:The 構造物に形成されたひび割れ欠陥検出プログラム、ひび割れ欠陥検出方法及びひび割れ欠陥検出システム
JP2004215041A (ja) * 2003-01-06 2004-07-29 Olympus Corp 画像処理装置、画像処理プログラム、記録媒体、および画像処理方法
JP2005084089A (ja) * 2003-09-04 2005-03-31 Fuji Photo Film Co Ltd 画像比較表示方法及びその装置並びに画像比較表示プログラム
JP4753711B2 (ja) * 2005-12-22 2011-08-24 株式会社キーエンス 3次元画像表示装置、3次元画像表示装置の操作方法、3次元画像表示プログラム及びコンピュータで読み取り可能な記録媒体並びに記録した機器
JP2017086807A (ja) * 2015-11-17 2017-05-25 キヤノン株式会社 画像取得装置及びその駆動方法、並びに、プログラム

Patent Citations (8)

* Cited by examiner, † Cited by third party
Publication number Priority date Publication date Assignee Title
JP2000097871A (ja) * 1998-09-25 2000-04-07 Hitachi Ltd レビュー装置
WO2001041068A1 (fr) * 1999-11-29 2001-06-07 Olympus Optical Co., Ltd. Systeme de detection de defaut
JP2001156135A (ja) * 1999-11-29 2001-06-08 Hitachi Ltd 欠陥画像の分類方法及びその装置並びにそれを用いた半導体デバイスの製造方法
JP2003317082A (ja) * 2002-04-25 2003-11-07 Dainippon Screen Mfg Co Ltd 分類支援装置、分類装置およびプログラム
JP2004080517A (ja) * 2002-08-20 2004-03-11 Olympus Corp 画像比較装置、画像比較方法および画像比較をコンピュータにて実行させるためのプログラム
JP2004078690A (ja) * 2002-08-20 2004-03-11 Olympus Corp 画像比較装置、画像比較方法および画像比較をコンピュータにて実行させるためのプログラム
JP2015200554A (ja) * 2014-04-08 2015-11-12 三菱電機株式会社 目視検査方法及び目視検査支援装置
WO2016189764A1 (ja) * 2015-05-26 2016-12-01 三菱電機株式会社 検出装置および検出方法

Cited By (2)

* Cited by examiner, † Cited by third party
Publication number Priority date Publication date Assignee Title
CN112229836A (zh) * 2020-09-15 2021-01-15 华南农业大学 水稻实粒与空粒检测装置及检测方法
CN112229836B (zh) * 2020-09-15 2022-02-15 华南农业大学 水稻实粒与空粒检测装置及检测方法

Also Published As

Publication number Publication date
JP7618862B2 (ja) 2025-01-21
JP2023054012A (ja) 2023-04-13
JP2024040370A (ja) 2024-03-25

Similar Documents

Publication Publication Date Title
US20210372939A1 (en) Information processing apparatus, information processing method and program
JP6767490B2 (ja) 欠陥検査装置、欠陥検査方法、およびプログラム
US11836961B2 (en) Information processing apparatus, information processing method, and storage medium for determining whether a captured image of a subject is suitable for recognition processing
US11430107B2 (en) Information processing apparatus, information processing method, and non-transitory computer readable medium
JPS62198966A (ja) 画像処理装置
JP2013134574A (ja) 画像データ生成装置、画像データ表示システムおよび画像データ生成方法
US20250265692A1 (en) Information processing apparatus, information processing method, and non-transitory computer-readable storage medium
JP6004902B2 (ja) 画像表示装置及び方法並びにプログラム
JP2019207535A (ja) 情報処理装置、情報処理方法及びプログラム
JP7618862B2 (ja) 情報処理装置、情報処理方法、及びプログラム
JP7477956B2 (ja) 画像処理装置およびその制御方法、情報処理システム
CN114026597B (zh) 断口分析装置和断口分析方法
JP7479528B2 (ja) 画像処理装置、画像処理方法及びプログラム
CN111586328A (zh) 信息处理装置、信息处理方法和记录介质
JP2023063324A5 (enExample)
JP2020170257A (ja) 画像処理装置およびその制御方法
JP7194348B2 (ja) 画像処理装置、画像処理方法及び画像処理プログラム
CN111435969B (zh) 图像处理装置及其控制方法、记录介质和信息处理系统
JP7771629B2 (ja) パラメータ調整支援装置及びパラメータ調整支援方法
Conklin Tutorial for Collecting and Processing Images of Composite Structures to Determine the Fiber Volume Fraction
JP2006025006A (ja) プリント画像選択装置及びプリント画像選択方法
JP2025091582A (ja) 情報処理装置、情報処理方法、及びプログラム
JP2008032555A (ja) 実装部品検査装置
JP2025130599A (ja) 画像解析装置、その制御方法、及びプログラム
JP2025154553A (ja) 画像処理装置、画像処理方法、及びプログラム

Legal Events

Date Code Title Description
121 Ep: the epo has been informed by wipo that ep was designated in this application

Ref document number: 18857267

Country of ref document: EP

Kind code of ref document: A1

NENP Non-entry into the national phase

Ref country code: DE

122 Ep: pct application non-entry in european phase

Ref document number: 18857267

Country of ref document: EP

Kind code of ref document: A1