WO2018173746A1 - 可動装置 - Google Patents

可動装置 Download PDF

Info

Publication number
WO2018173746A1
WO2018173746A1 PCT/JP2018/008676 JP2018008676W WO2018173746A1 WO 2018173746 A1 WO2018173746 A1 WO 2018173746A1 JP 2018008676 W JP2018008676 W JP 2018008676W WO 2018173746 A1 WO2018173746 A1 WO 2018173746A1
Authority
WO
WIPO (PCT)
Prior art keywords
driven body
actuator
actuator element
energy
connection member
Prior art date
Legal status (The legal status is an assumption and is not a legal conclusion. Google has not performed a legal analysis and makes no representation as to the accuracy of the status listed.)
Ceased
Application number
PCT/JP2018/008676
Other languages
English (en)
French (fr)
Japanese (ja)
Inventor
誠一郎 鷲野
拓磨 山内
栄太郎 田中
Current Assignee (The listed assignees may be inaccurate. Google has not performed a legal analysis and makes no representation or warranty as to the accuracy of the list.)
Denso Corp
Original Assignee
Denso Corp
Priority date (The priority date is an assumption and is not a legal conclusion. Google has not performed a legal analysis and makes no representation as to the accuracy of the date listed.)
Filing date
Publication date
Application filed by Denso Corp filed Critical Denso Corp
Publication of WO2018173746A1 publication Critical patent/WO2018173746A1/ja
Anticipated expiration legal-status Critical
Ceased legal-status Critical Current

Links

Images

Definitions

  • Patent Document 1 discloses a movable device that utilizes deformation of an actuator element.
  • the deformation of the member is directly or indirectly used to mechanically move the driven body.
  • an actuator element is an elongated synthetic fiber.
  • the prior art does not sufficiently disclose a device that is a driven body or an electrical connection device with a device mounted on the driven body.
  • the connecting device is required to suppress the load fluctuation applied to the actuator element. From another viewpoint, it is required to suppress a transient change in the load applied to the actuator element. These requests are strongly demanded as the driving force by the actuator element becomes weaker. In view of the above or other aspects not mentioned, there is a need for further improvements in mobile devices.
  • FIG. 6 is a cross-sectional view taken along line VI-VI in FIG. 1. It is a perspective view of the movable device concerning at least one embodiment. It is a fragmentary sectional view of the movable device concerning at least one embodiment. It is sectional drawing in the IX-IX line of FIG. It is a fragmentary sectional view of the movable device concerning at least one embodiment.
  • the movable device 1 has an element 32 mounted on the driven body 31.
  • the element 32 provides an electrically active action or an electrically passive action.
  • the element 32 is, for example, an electrical light source, an electrical blower, an electrical heat source, an electrical radio wave source, or an electrical magnetic source.
  • the element 32 is, for example, an electrical sensor element.
  • the movable device 1 may include a connection member that electrically connects the base 2 and the element 32 for electrical connection.
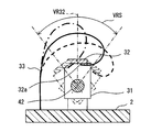
  • the element 32 has an axis VR32 for the main function. For example, when the element 32 is a light source, the axis VR32 corresponds to the optical axis. For example, when the element 32 is a sensor, the axis VR32 corresponds to a detection axis.
  • the shaft VR32 is swung by the rotation of the driven body 31.
  • the axis VR32 is swung within the range of the rotation angle VRS.
  • the movable device 1 is also a sensor device.
  • the element 32 is a sensor element.
  • the element 32 has an axis VR32 indicating a detection direction and a detection range.
  • the element 32 detects a physical quantity in the direction of the axis VR32.
  • the element 32 is provided by various elements such as an image sensor, an infrared sensor, an ultrasonic sensor, a radar antenna, an electromagnetic wave sensor, and a radiation sensor.
  • the element 32 is an infrared sensor installed indoors.
  • the detection signal of the element 32 is supplied to a device using infrared information by wire or wireless. Infrared information is supplied and used, for example, to an air conditioner.
  • the movable device 1 is installed in a room such as a residence, an office, a vehicle, a ship, and an aircraft, and is used to collect information related to people in the room.
  • the base 2 is placed in these rooms.
  • the movable device 1 is moved so as to swing the axis VR32.
  • the movable device 1 provides a sensor device that moves the axis VR32.
  • the movement of the axis VR32 makes it possible to provide various sensor devices such as a directivity direction variable type, a tracking type, or a scanning type.
  • a scanning sensor device is provided.
  • the axis VR32 rotates about the rotation axis AXR.
  • the axis VR32 is movable within a range of a predetermined rotation angle VRS along a plane extending in the width direction WD and the depth direction DD.
  • the rotation angle VRS is the scanning range.
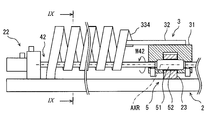
  • the movable part 3 includes an electrical connection member 33.
  • the connection member 33 electrically connects the base 2 and the element 32.
  • the connection member 33 indirectly connects the base 2 and the driven body 31.
  • a circuit for the element 32 is laid on the base 2.
  • equipment for external connection may be installed.
  • the connection member 33 may electrically connect the base 2 and the driven body 31. In this case, the electric wire of the element 32 is arranged via the driven body 31.
  • the connecting member 33 is a flexible member that can be bent.
  • the connection member 33 is a flexible plate-like member. As a result, the connecting member 33 allows the driven body 31 and the element 32 to rotate together by deforming itself.
  • the connection member 33 is mainly formed of an elastic member that can be elastically deformed.
  • the connection member 33 has a surface parallel to the rotation axis AXR.
  • the connection member 33 is provided by a so-called flexible printed wiring board (FPC).
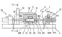
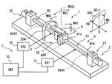
  • the movable device 1 includes an actuator mechanism 4.
  • the actuator mechanism 4 provides a rotational force for rotating the movable part 3.
  • the actuator mechanism 4 is also a power source.
  • the actuator mechanism 4 provides a rotational force so as to reciprocate.
  • the actuator mechanism 4 has two actuator elements 41 and 42.
  • the two actuator elements 41 and 42 are arranged on an extension line of the rotation axis AXR.
  • the two actuator elements 41 and 42 are arranged on both sides of the driven body 31.
  • the driven body 31 and the two actuator elements 41 and 42 are arranged in series. In the figure, the actuator elements 41 and 42 are illustrated with a little emphasis.
  • the first actuator element 41 is connected to the driven body 31 and the fixed portion 21.
  • the first actuator element 41 extends along the actuator axis AX41.
  • the actuator axis AX41 is also the central axis of the first actuator element 41.
  • the actuator shaft AX41 is located on the extension of the rotation shaft AXR.
  • the actuator shaft AX41 and the rotation shaft AXR are coaxial.
  • the second actuator element 42 is connected to the driven body 31 and the fixed portion 22.
  • the second actuator element 42 extends along the actuator axis AX42.
  • the actuator axis AX42 is also the central axis of the second actuator element 42.
  • the actuator shaft AX42 is located on the extension of the rotation shaft AXR.
  • the actuator shaft AX42 and the rotation shaft AXR are coaxial.
  • the driven body 31 is disposed at the center of the base 2.
  • the fixing portion 21 is provided at one end of the base 2.
  • the fixing part 21 is fixed to the base 2.
  • the fixing part 22 is provided at the other end of the base 2.
  • the fixing part 22 is fixed to the base 2.
  • the base 2 is made of a material that can maintain the shape of the movable device 1 against the force generated by the actuator mechanism 4.
  • the base 2 is made of metal or resin. Part or the whole of the base 2 may be provided by a printed wiring board.
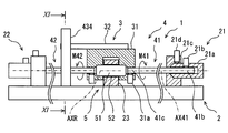
  • the first actuator element 41 and the second actuator element 42 are arranged symmetrically with respect to the driven body 31.
  • the first actuator element 41 and the second actuator element 42 have a symmetrical structure.
  • the first actuator element 41 will be described. This description can be referred to as a description of the second actuator element 42.
  • the first actuator element 41 has a fixed end 41 b that can be connected to the fixed portion 21.
  • the fixed end 41b is connected to the fixed portion 21 when at least the first actuator element 41 outputs rotational power.
  • the first actuator element 41 has an output end 41 c that can be connected to the driven body 31.
  • the output end 41c is connected to the driven body 31 when at least the first actuator element 41 outputs rotational power.
  • the driven body 31 is connected to the actuator element 41 on the actuator shaft AX41.
  • the names of the fixed end 41b and the output end 41c are for convenience. In the following description, the fixed end 41b and the output end 41c may be simply referred to as ends.
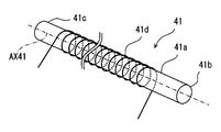
  • the first actuator element 41 has a rod shape.
  • the first actuator element 41 has a shape that can be called an elongated rod shape or a fiber shape.
  • the first actuator element 41 can be formed in a columnar shape or a cylindrical shape.
  • the movable device 1 has a guide mechanism 5 for guiding the movement of the movable part 3.
  • the guide mechanism 5 is provided between the support portion 23 provided on the base 2 and the driven body 31.
  • the support part 23 is fixed to the base 2.
  • the guide mechanism 5 allows the rotational movement of the driven body 31 around the height direction HD.
  • the guide mechanism 5 suppresses the rotational motion around the depth direction DD and the rotational motion around the width direction WD.
  • the guide mechanism 5 suppresses the vertical movement in the depth direction DD and the horizontal movement in the width direction WD of the movement of the driven body 31.
  • the guide mechanism 5 may suppress the back-and-forth movement in the height direction HD.
  • the guide mechanism 5 may allow back-and-forth movement in the height direction HD.
  • the height direction HD can be defined as the roll axis, the width direction WD as the pitching axis, and the depth direction DD as the yaw axis.
  • the guide mechanism 5 allows the driven body 31 to roll.
  • the guide mechanism 5 may suppress excessive roll movement exceeding the available range. For example, a direct collision between the driven body 31 and the support portion 23 or an indirect collision via an elastic member limits the roll motion range.
  • the guide mechanism 5 suppresses yawing motion and pitching motion of the driven body 31. Further, the guide mechanism 5 suppresses the vertical and horizontal movements of the driven body 31.
  • the guide mechanism 5 may suppress the back-and-forth movement of the driven body 31.
  • the guide mechanism 5 may allow the back-and-forth movement of the driven body 31 in some cases.
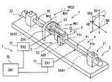
  • the movable device 1 includes a control system 7.
  • the control system 7 includes a control device (CNT) 70 and energy increase / decrease devices (EX1, EX2) 71, 72.
  • the energy increasing / decreasing devices 71, 72 are devices that increase / decrease the energy of the two actuator elements 41, 42 in order to extract mechanical motion from the two actuator elements 41, 42.
  • the energy increasing / decreasing devices 71 and 72 increase or decrease the energy of the two actuator elements 41 and 42 so as to rotate the two actuator elements 41 and 42.
  • control device, signal source, and control object included in the control system provide various elements. At least some of these elements can be referred to as blocks for performing functions. In another aspect, at least some of these elements can be referred to as modules or sections that are interpreted as configurations. Furthermore, the elements included in the control system can also be referred to as means for realizing the functions only when intentional.
  • the means and / or function provided by the control system can be provided by software recorded in a substantial memory device and a computer that executes the software, software only, hardware only, or a combination thereof.
  • the controller can be provided by an electronic circuit that is hardware, it can be provided by a digital circuit including a number of logic circuits, or an analog circuit.
  • the two actuator elements 41 and 42 are actively deformed in one direction.
  • the deformation directions of the two actuator elements 41 and 42 are opposite directions, that is, symmetrical directions.
  • an active deformation is obtained in both directions, i.e. in a reciprocating direction.
  • Actuator elements 41 and 42 are deformed around actuator axes AX41 and AX42 by increasing or decreasing thermal energy.
  • the first actuator element 41 is deformed so as to be twisted when the temperature of the first actuator element 41 rises. Since the fixed end 41b is fixed by the fixing portion 21, the driven body 31 rotates in the direction of the arrow M41 that is the first direction.
  • the second actuator element 42 is deformed so as to be twisted when the temperature of the second actuator element 42 rises. Since the fixed end 42b is fixed by the fixing portion 22, the driven body 31 rotates in the direction of the arrow M42 that is the second direction.
  • the direction of the arrow M41 and the direction of the arrow M42 are symmetric with respect to the driven body 31. As a result, the driven body 31 rotates over the angular range indicated by the arrow M31.
  • the arrow M31 corresponds to the rotation angle VRS of the axis VR32.
  • the actuator elements 41 and 42 and the energy increasing / decreasing devices 71 and 72 that can be used in this embodiment include those described in JP-A-2016-42783.
  • the content described in Japanese Patent Application Laid-Open No. 2016-42783 is incorporated by reference as an explanation of technical elements in this specification.
  • the actuator elements 41 and 42 can be provided by various materials called artificial muscles. For example, materials such as synthetic resins, metals, shape memory alloys, and organic materials can be used.
  • One example of the actuator elements 41 and 42 is a synthetic fiber.
  • the synthetic fiber extends along an extension line of the rotation axis AXR.
  • Synthetic fibers are elongated.
  • Synthetic fibers are called polymer fibers.
  • One typical example of a polymer fiber is a monofilament resin.
  • the monofilament resin includes a polyamide resin and a polyethylene resin.
  • a polymer fiber called nylon or polyethylene may have a torsional deformation amount with respect to a temperature change, and can be used as the actuator elements 41 and 42.
  • the polymer forming the polymer fiber is oriented so as to extend along the actuator axes AX41 and AX42.
  • the polymer may have a “twist” around the actuator axes AX41, AX42.
  • the term “twist” may refer to a twist in a single fiber and may refer to a twist between multiple fibers.
  • the twist deformation amount with respect to the temperature change of the polymer fiber may appear strongly along the direction of “twist” in the single fiber.
  • the actuator elements 41 and 42 are single fibers.
  • the amount of torsional deformation with respect to temperature change of the polymer fiber may appear along the direction of “twist” between the plurality of fibers.
  • the actuator elements 41 and 42 may be a bundle of a plurality of polymer fibers twisted together.
  • One example of the actuator elements 41 and 42 is a shape memory alloy.
  • Shape memory alloys extending along the actuator axes AX41, AX42 can be used.
  • the shape memory alloy can be used in various shapes such as a single rod shape and a coiled shape.
  • the shape of the shape memory alloy is selected so as to obtain a torsional deformation amount with respect to a temperature change.
  • Energy application and removal can be performed directly or indirectly.
  • energy may be applied by an energy transmission component that directly contacts the actuator elements 41 and 42, or energy may be indirectly applied by an energy transmission component installed away from the actuator elements 41 and 42.
  • the energy transmission component can be provided by, for example, an electrical heating member.
  • the energy increasing / decreasing devices 71, 72 increase the thermal energy of the actuator elements 41, 42.
  • the increase in thermal energy is realized, for example, by supplying current to the heat generating members provided in the actuator elements 41 and 42.
  • the energy increasing / decreasing devices 71 and 72 decrease the thermal energy of the actuator elements 41 and 42 in order to return the actuator elements 41 and 42 from active rotation.
  • the reduction of the thermal energy is realized, for example, by interrupting the current supply to the heat generating members provided in the actuator elements 41 and 42 to dissipate heat.
  • the fixing portion 21 and the fixing portion 22 are arranged symmetrically with respect to the driven body 31.
  • the fixed part 21 and the fixed part 22 have a symmetrical structure.
  • the driven body 31 has a symmetrical structure with respect to the guide mechanism 5.
  • portions related to the first actuator element 41 will be described. This description can be referred to as a description of portions related to the second actuator element 42.
  • parts related to the first actuator element 41 there are a fixed portion 21 and a third coupling mechanism 31 c provided on the driven body 31.
  • the fixing portion 21 has an end sleeve 21a and an anchor block 21c.
  • the end sleeve 21 a is connected to the end of the actuator element 41.
  • the end sleeve 21a is fixed to the anchor block 21c.
  • the anchor block 21 c is fixed to the base 2.
  • the end sleeve 21 a is a cylindrical member coaxial with the actuator element 41.
  • the end sleeve 21a may be a polygonal rectangular tube.
  • the end sleeve 21 a has an inner hole that receives the fixed end 41 b of the actuator element 41.
  • the end sleeve 21a includes a first connecting mechanism 21b that connects the fixed end 41b and the end sleeve 21a.
  • the first coupling mechanism 21b couples the fixed end 41b and the end sleeve 21a with respect to the circumferential direction of the actuator shaft AX41 when at least the actuator element 41 outputs turning force.
  • the first connecting mechanism 21b is provided by an inner hole and a set screw.
  • the set screw is provided in the radial direction toward the inner hole of the end sleeve 21a.
  • the set screw connects the fixed end 41b and the end sleeve 21a in the axial direction and the circumferential direction by tightening the fixed end 41b in the radial direction.
  • the first coupling mechanism 21b can be provided by various mechanisms.
  • the first connecting mechanism 21b can be provided by a plurality of set screws arranged radially, a chuck mechanism for fastening the fixed end 41b in the radial direction, a caulking sleeve for fastening the fixed end 41b in the radial direction, and the like.
  • the first connecting mechanism 21b may allow the axial movement of the fixed end 41b relative to the end sleeve 21a along the actuator axis AX41.
  • the fixed end 41b and the end sleeve 21a may be coupled so that the fixed end 41b can move in the axial direction within a limited range.
  • an elastic member such as a spring or rubber can be used.
  • the first connection mechanism 21b may be provided by a mechanism that can be opened and closed.
  • the first coupling mechanism 21b can be provided by an electromagnetic mechanism that can switch between a state in which the fixed end 41b is fixed in the circumferential direction and a state in which the fixed end 41b is rotatable in the circumferential direction. .
  • the anchor block 21c has an inner hole for receiving the end sleeve 21a.
  • the anchor block 21c has a second coupling mechanism 21d that couples the end sleeve 21a and the anchor block 21c.
  • the second coupling mechanism 21d couples the end sleeve 21a and the anchor block 21c with respect to the circumferential direction of the actuator shaft AX41 when at least the actuator element 41 outputs turning force.
  • the second connecting mechanism 21d is provided by an inner hole and a set screw.
  • the set screw is provided in the radial direction toward the inner hole of the anchor block 21c.
  • the set screw couples the end sleeve 21a and the anchor block 21c in the axial direction and the circumferential direction by tightening the end sleeve 21a in the radial direction.
  • the second connecting mechanism 21d can be provided by various mechanisms.
  • the second connecting mechanism 21d can be provided by a plurality of set screws arranged radially, a chuck mechanism that tightens the end sleeve 21a in the radial direction, a caulking sleeve that tightens the end sleeve 21a in the radial direction, and the like.
  • the second connecting mechanism 21d may allow the end sleeve 21a to move in the axial direction along the actuator axis AX41.
  • the anchor block 21c and the end sleeve 21a may be coupled so that the end sleeve 21a can move in the axial direction within a limited range.
  • the second connecting mechanism 21d may be provided by a mechanism that can be opened and closed.
  • the second coupling mechanism 21d is an electromagnetic mechanism capable of switching between a state in which the end of the actuator element 41 is fixed in the circumferential direction and a state in which the end of the actuator element 41 is rotatable in the circumferential direction. Can be provided.
  • the driven body 31 has an inner hole that receives the output end 41 c of the actuator element 41.
  • the driven body 31 includes a third connecting mechanism 31a that connects the driven body 31 and the output end 41c.
  • the third connecting mechanism 31a connects the output end 41c and the driven body 31 with respect to the circumferential direction of the actuator shaft AX41 when at least the actuator element 41 outputs rotational power.
  • the third coupling mechanism 31a is provided by an inner hole and a set screw.
  • the set screw is provided in the radial direction toward the inner hole of the driven body 31.
  • the set screw connects the driven body 31 and the output end 41c with respect to the axial direction and the circumferential direction by tightening the output end 41c in the radial direction.
  • the third coupling mechanism 31a can be provided by various mechanisms.
  • the third coupling mechanism 31a can be provided by a plurality of set screws arranged radially, a chuck mechanism that tightens the output end 41c in the radial direction, a caulking sleeve that tightens the output end 41c in the radial direction, and the like.
  • the third coupling mechanism 31a may allow the output end 41c to move in the axial direction with respect to the driven body 31 along the actuator axis AX41.
  • the output end 41c and the driven body 31 may be coupled so that the output end 41c can move in the axial direction within a limited range.
  • an elastic member such as a spring or rubber can be used.
  • the third connection mechanism 31a may be provided by a mechanism that can be opened and closed.
  • the third coupling mechanism 31a can be provided by an electromagnetic mechanism capable of switching between a state in which the output end 41c is fixed in the circumferential direction and a state in which the output end 41c is rotatable in the circumferential direction. .
  • the driven body 31 is rotatably supported by the guide mechanism 5.
  • the guide mechanism 5 has a shaft 51 and a guide bore 52.
  • the shaft 51 is provided by a coaxial cylindrical member having a rotation axis AXR.
  • the shaft 51 is fixed to the driven body 31. Both ends of the shaft 51 are fixed to the driven body 31.
  • the driven body 31 has a shaft 51.
  • the guide bore 52 is provided in the support portion 23.
  • the support portion 23 has a guide bore 52.
  • the support portion 23 is a member for supporting the driven body 31.
  • the support part 23 is fixed to the base 2.
  • the support part 23 is a block.
  • the guide bore 52 is provided by a through hole that penetrates the support portion 23.
  • the guide bore 52 receives the shaft 51.
  • the guide bore 52 allows the shaft 51 to rotate.
  • the support unit 23 supports the driven body 31 in a rotatable manner.
  • the outer surface of the shaft 51 and the inner surface of the guide bore 52 are in partial contact.
  • the outer surface of the shaft 51 and the inner surface of the guide bore 52 slide with each other when the driven body 31 rotates.
  • the driven body 31 is guided around the shaft 51.
  • the members that provide the shaft 51 and guide bore 52 are made of a low friction material.
  • the member that provides the shaft 51 or the guide bore 52 may be made of a low friction material. Friction between the shaft 51 and the guide bore 52 is suppressed.
  • the support part 23 is opposed to the driven body 31 at both end faces thereof.
  • the support part 23 is in partial contact with the driven body 31 at both end faces thereof.
  • the support portion 23 and the driven body 31 slide with each other when the driven body 31 rotates.
  • the heat of the actuator element 41 is radiated from the entire actuator element 41 to the external environment.
  • the heat of the actuator element 41 is radiated from the fixed end 41 b via the fixed portion 21.
  • the first connecting mechanism 21b and the second connecting mechanism 21d contribute to lowering the thermal resistance of the heat dissipation path.
  • the heat of the actuator element 41 is radiated from the output end 41 c via the driven body 31.
  • the heat of the actuator element 41 may be radiated from the output end 41 c via the driven body 31, the support portion 23, and the base 2.
  • the third coupling mechanism 31a contributes to lower the thermal resistance of the heat dissipation path.
  • the contact between the driven body 31 and the support portion 23 and / or the contact between the shaft 51 and the guide bore 52 also contributes to lowering the thermal resistance of the heat dissipation path.
  • the heat of the actuator element 41 is radiated from the output end 41 c via the driven body 31, the contact between the driven body 31 and the support portion 23, and the support portion 23.
  • the heat of the actuator element 41 is radiated from the output end 41 c through the driven body 31 through the shaft 51, the contact between the shaft 51 and the guide bore 52, and the support portion 23.
  • the actuator element 41 radiates heat via the driven body 31 and the guide mechanism 5.
  • the connecting member 33 is spirally wound from the base 2 to the element 32.
  • the connection member 33 is disposed so as to be wound around the protruding portion of the element 32. It can be said that the connecting member 33 is wound around the actuator shaft AX42.
  • the connecting member 33 is not helical with a component extending along the actuator axis AX42.
  • the actuator element 41 has a material wire 41a, a fixed end 41b, an output end 41c, and a heating wire 41d.
  • the material wire 41a is the above-described polymer fiber.
  • the heating wire 41 d is also a part of the energy increasing / decreasing device 71.
  • the heating wire 41d is also an energy transmission component for increasing or decreasing the energy of the material wire 41a.
  • the heating wire 41d is disposed directly or indirectly on the surface of the material wire 41a.
  • the heating wire 41d has a spiral shape or a coil shape.
  • the heating wire 41d is a metal wire that generates heat when energized.
  • the heating wire 41d can be provided by a platinum wire, a copper wire, or the like.
  • the heating wire 41d is provided by a nichrome wire.
  • the heating wire 41d can be provided by a round wire, a square wire, or a metal foil.
  • the heating wire 41d is affixed to the surface of the material wire 41a.
  • the heating wire 41d generates heat when energized.
  • the heat supplied by the heating wire 41d is transmitted to the material wire 41a, and raises the temperature of the material wire 41a.
  • the heating wire 41d stops generating heat when energization is interrupted.
  • the heat of the material wire 41a is radiated to the external environment.
  • the third coupling mechanism 31a and the guide mechanism 5 at the output end 41c contribute to heat dissipation. For this reason, a large temperature difference can be realized in the actuator element 41.
  • control process 180 for swinging the driven body 31 is illustrated.
  • the control process 180 is a part of the control process in the control device 70.
  • step 181 it is determined whether the swing of the movable device 1 is required (ON) or not (OFF). For example, when it is required to operate a scanning infrared sensor, the swing is turned on. When it is not required to operate the scanning infrared sensor, the swing is turned off. If the swing is OFF, the control is terminated. If the swing is ON, the process proceeds to a loop process in steps 182 and 183.
  • Step 182 is a process for heating the first actuator element 41.
  • Step 183 is a process for heating the second actuator element 42. By alternately repeating Step 182 and Step 183, the driven body 31 operates in a swinging manner.
  • step 184 it is determined whether the swing of the movable device 1 is required (ON) or not (OFF).
  • Step 182 is a process of rotating the driven body 31 in the forward rotation direction.
  • the forward rotation direction is a direction in which the driven body 31 is rotated in the clockwise direction when viewed from the first actuator element 41.
  • Step 182 includes step 185 and step 186.
  • step 185 first, the first actuator element 41 is activated.
  • step 185 the heating wire 41d of the first actuator element 41 is energized.
  • the control device 70 energizes the heating wire 41d from the energy increasing / decreasing device 71.
  • the process of step 185 is executed so that the first actuator element 41 outputs a twist of a predetermined angle in the forward rotation direction.
  • the rotation angle of the driven body 31 is detected by the rotation angle sensor, and step 185 is continued until a predetermined angle of rotation is obtained.
  • the process of step 185 may be continued for a predetermined time by a timer process.
  • step 186 the first actuator element 41 is inactivated.
  • step 186 energization to the heating wire 41d of the first actuator element 41 is cut off.
  • the control device 70 cuts off the power supply from the energy increasing / decreasing device 71 to the heating wire 41d.
  • step 187 first, the second actuator element 42 is activated.
  • step 187 the heating wire of the second actuator element 42 is energized.
  • the control device 70 energizes the heating wire from the energy increasing / decreasing device 72.
  • step 188 the second actuator element 42 is deactivated.
  • step 188 energization to the heat generating wire of the second actuator element 42 is cut off.
  • the control device 70 cuts off the power supply from the energy increasing / decreasing device 72 to the heating wire.
  • activation corresponds to energization to the heating wire 41d.
  • Inactivation corresponds to the interruption of energization to the heating wire 41d.
  • Activation and deactivation word pairs can be associated with heating and heat dissipation word pairs, energization and deactivation word pairs, and active and standby word pairs.
  • the control device 70 controls the energy increasing / decreasing device 71 so as to alternately repeat a period in which the energy of the actuator element 41 increases and a period in which the energy of the actuator element 41 decreases.
  • the two actuator elements 41 and 42 are actively driven alternately.
  • the first actuator element 41 actively outputs a torsional deformation in the forward rotation direction
  • the second actuator element 42 is passively driven in the forward rotation direction.
  • the second actuator element 42 is actively outputting torsional deformation in the reverse rotation direction
  • the first actuator element 41 is passively driven in the reverse rotation direction. Since two actuator elements 41, 42 are used and are driven alternately, a stable rotational output is obtained in both directions.
  • the quiet movable device 1 can be provided. This is particularly advantageous when the movable device 1 is used in a device installed indoors. For example, a quiet scanning infrared sensor can be obtained. Since the movable device 1 includes the guide mechanism 5, vibration of the driven body 31 is suppressed. In particular, vibrations in the direction intersecting the rotation axis AXR, that is, the vertical direction and the horizontal direction with respect to the rotation axis AXR are suppressed. Since the guide mechanism 5 defines a rotation axis AXR that is coaxial with the actuator axis AX41, the torsional deformation of the actuator element 41 can be directly taken out. Further, the guide mechanism 5 contributes to heat dissipation of the actuator element 41.
  • FIG. 5 shows an FPC as an example of the connection member 33.
  • the connection member 33 includes a resin layer 33a as a base material and a conductive wire 33b.
  • the resin layer 33a is formed in a ribbon shape.
  • the conductive wire 33b is provided by a copper foil formed on the resin layer 33a.
  • the copper foil has a land portion for connection to the element 32 or the base 2.
  • the connecting member 33 can be bent due to its thin shape. Further, the connecting member 33 can be attached to the initial shape.
  • the connecting member 33 generates an urging force so as to return to the initial shape according to the deformation amount from the initial shape.
  • FIG. 6 shows a cross section taken along line VI-VI in FIG.
  • the element 32 has a terminal portion 32a having a plurality of terminals for electrical connection.
  • the terminal portion 32 a is provided on the lower surface of the element 32.
  • the connection member 33 extends from the base 2.
  • the state in which the driven body 31 is in the neutral position is indicated by a solid line.
  • a state where the driven body 31 is rotated in the direction of the arrow M42 is indicated by a broken line.
  • This state is also a state in which the terminal portion 32 a is farthest from the connection portion between the base 2 and the connection member 33.
  • a state in which the driven body 31 is rotated in the direction of the arrow M41 is indicated by a one-dot chain line.
  • This state is also a state in which the terminal portion 32 a is closest to the connection portion between the base 2 and the connection member 33.
  • the connecting member 33 is connected to the terminal portion 32a.
  • the connection member 33 is wound over 3/4 circumference.
  • the connecting member 33 is wound around the actuator element 42 and the driven body 31 between the base 2 and the terminal portion 32a.
  • the connecting member 33 with winding has little change in elastic force even if the amount of winding changes. For this reason, the connecting member 33 contributes to reducing the load applied to the actuator elements 41 and 42 through the element 32 and the driven body 31.
  • the connection member 33 has a state illustrated by a solid line as an initial state.
  • the connecting member 33 moves between a state illustrated by a broken line and a state illustrated by a one-dot chain line.
  • the connecting member 33 moves to both sides around the state illustrated by the solid line.
  • the connection member 33 is attached with the center of the rotation angle VRS as an initial state. For this reason, the absolute value of the elastic force is small over the entire rotation angle VRS. For this reason, the connecting member 33 contributes to reducing the load applied to the actuator elements 41 and 42 through the element 32 and the driven body 31.
  • the connecting member 33 maintains the winding direction throughout the movement.
  • the connecting member 33 maintains the clockwise winding direction over the entire region. Therefore, there is no transient fluctuation that reverses the winding direction. Thereby, the transient fluctuation of the load given to actuator elements 41 and 42 is controlled.
  • connection member 33 wound counterclockwise as viewed from the actuator element 41 is used.
  • a connection member 234 wound clockwise is used.
  • connection member 234 is wound clockwise when viewed from the actuator element 41. Also in this embodiment, it is possible to obtain the same effect as the preceding embodiment.
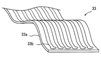
  • connection members 33 and 234 are wound over 3/4 circumference. Instead, in this embodiment, a connection member 334 wound over one round or more is used.
  • connection member 334 is wound over one turn or more.
  • the connection member 334 is wound over a plurality of circumferences.
  • the connection member 334 is wound around the actuator element 42.
  • the connection member 334 is spirally wound so as to extend along the actuator axis AX42.
  • FIG. 9 shows a cross section taken along line IX-IX.
  • the spiral connection member 334 allows tightening (broken line) and loosening (dashed line) at the end connected to the terminal portion 32a.
  • the spiral connection member 334 allows the end portion to be displaced by a plurality of turns.
  • connection member 334 a change in urging force caused by the connection member 334 is suppressed.
  • the possibility that the winding of the connecting member 334 is reversed can be reduced.
  • connection members 33 and 234 are wound in the spiral shape over 3/4 circumference.
  • connection member 434 is wound in a spiral shape of one or more rounds.
  • the movable device 1 has a connection member 434.
  • FIG. 11 shows a cross section taken along line XI-XI.
  • the connection member 434 is wound over one turn + 3/4 turn in the initial state.
  • the connection member 434 has a spiral shape.
  • the connecting member 434 has no component extending along the actuator axis AX42. Also in this embodiment, the connection member 434 contributes to suppressing a change in urging force applied to the actuator elements 41 and 42.
  • connection member 33, 234, 334, 434 is provided.
  • at least two connecting members 33 and 234 are provided.
  • the plurality of connecting members 33 and 234 are wound in opposite directions around the actuator axis to cancel each other's biasing force.
  • the connecting member 33 and the connecting member 234 give urging forces in opposite directions to the driven body 31. Thereby, the connection member 33 and the connection member 234 cancel each other's elastic force.
  • the number of connecting members in the reverse direction is not limited to two.
  • the movable device 1 may include a plurality of connection members such as three or four. Two connecting members and one connecting member may be in a reverse relationship. In this embodiment, the urging
  • the elastic member 661 is a metal coil spring.
  • the elastic member 661 applies a counterclockwise force to the driven body 31 by being pulled from the free state.
  • the elastic member 661 uses one end of the rotation range M631 of the driven body 31 as a reference position.
  • the elastic member 661 is arranged to be pulled by the torsional motion of the actuator element 41.
  • the elastic member 661 applies a return force against the rotational force in the direction of the arrow M41.
  • the movable device 1 includes a connection member 33.
  • the connecting member 33 is wound around 3 ⁇ 4 circumference around the extension line of the rotation axis AXR.
  • the reciprocating motion of the driven body 31 can be obtained by one actuator element 41.
  • the connection member 33 can be used as a part of the return mechanism 622. That is, the elastic member 661 can be assisted using the elastic force of the connecting member 33.
  • the connecting member 33 when the connecting member 33 generates an elastic force that further increases the winding force, a biasing force in a direction opposite to the arrow M41 is applied to the driven body 31.
  • an urging force in the same direction as the arrow M41 is applied to the driven body 31.
  • the driven body 31 is stabilized.
  • the configuration of this embodiment can also be used in other preceding embodiments.
  • the disclosure in this specification is not limited to the illustrated embodiments.
  • the disclosure encompasses the illustrated embodiments and variations by those skilled in the art based thereon.
  • the disclosure is not limited to the combinations of parts and / or elements shown in the embodiments.
  • the disclosure can be implemented in various combinations.
  • the disclosure may have additional parts that can be added to the embodiments.
  • the disclosure includes those in which parts and / or elements of the embodiments are omitted.
  • the disclosure encompasses the replacement or combination of parts and / or elements between one embodiment and another.
  • the technical scope disclosed is not limited to the description of the embodiments.
  • the guide mechanism 5 is provided by the shaft 51 and the guide bore 52.
  • the shaft 51 and the guide bore 52 provide a so-called bearing mechanism.
  • the bearing mechanism that provides the guide mechanism 5 can be provided by many mechanisms such as a ball bearing, a fluid bearing, and a magnetic bearing in addition to the sliding bearing as in the embodiment.
  • a relatively simple and lightweight sliding bearing is employed.
  • the separate shaft 51 is fixed to the driven body 31.
  • the shaft may be formed integrally with the driven body 31 or the support portion 23.
  • a cylindrical portion in place of the shaft 51 can be formed on the driven body 31 or the support portion 23 by machining.
  • a cylindrical portion instead of the shaft 51 may be insert-molded on the driven body 31 or the support portion 23.
  • the movable device 1 includes a guide mechanism 5.
  • the driven body 31 may be supported by the actuator elements 41 and 42 and the connection member without providing the guide mechanism 5.
  • the winding-shaped connecting member enables the driven body 31 to be stably rotated.
  • the guide mechanism 5 includes a shaft 51 and a guide bore 52. Instead, a guide mechanism that suspends the driven body like a pendulum, or a guide mechanism that supports the driven body at a fulcrum like an inverted pendulum may be adopted.
  • the fixing unit may be provided with a mechanism that mechanically limits the rotation direction.
  • a ratchet mechanism can be provided in the fixing portion.
  • the ratchet mechanism fixes the fixed end 41b.
  • the fixed end 41b rotates in the direction of the arrow M41
  • the fixed end 41b is opened.
  • the ratchet mechanism is in a fixed state to allow active deformation, and is in an open state to negate passive deformation.
  • the fixing force at the fixed end 41b or the output end 41c may be variable.
  • the fixing force by the fixing portions 21 and 22 may be changed between an open state and a fixed state, or strength.
  • the coupling mechanism 21d may be switched between a state in which it is strongly tightened on the outer peripheral surface of the end sleeve 21a and a state in which it is weakly pressed against the outer peripheral surface of the end sleeve 21a. In this case, the end sleeve 21a rotates while rubbing against the set screw.
  • the heating wire 41d is directly wound around the material wire 41a.
  • a member may be disposed between the material wire 41a and the heating wire 41d.
  • a support member that is electrically insulating and has excellent thermal conductivity can be disposed.
  • the support member can be provided by insulating paper wound around the material wire 41a or a glass tube that accommodates the material wire 41a therein.
  • the heating wire 41d is in direct contact with the material wire 41a, but in another embodiment, the heating wire 41d is wound without being in direct contact with the material wire 41a.
  • a heat generating member may be disposed on the inner surface of the support member.
  • the actuator element 41 includes a bobbin 741s.
  • the energy transmission component can be supported in a reciprocating manner without the bobbin 741s.
  • the heating wire 741d itself may be fixed to the fixing portion 21. Further, the heating wire 741d may be disposed on the inner surface of the bobbin 741s.
  • the connecting members 33, 234, 334, 434 are provided by the FPC.
  • the electrical connection may be provided by a strip-shaped electric wire including a plurality of electric wires, a flat multi-core electric wire, or a plurality of independent covered electric wires. Also in these cases, the electric wire is used in a wound shape.
  • the energy of the material wire 41a is increased or decreased by heating with the heating wire 41d and heat radiation.
  • the energy of the material wire 41a can be increased or decreased by cooling with the cooling device and cooling.
  • the Peltier effect element can be disposed along the material line 41a. The Peltier effect element provides an energy transfer component. In this case, when the material wire 41a is cooled, the material wire 41a is thermally expanded or contracted to cause torsion deformation.
  • a nichrome wire is used as the heating wire 41d.
  • the energy transmission component can be provided by various electric heating members.
  • the heat generating member may be provided by a conductive thin film called a conductive polymer or a conductive metal film.
  • the film is formed on the surface of the material wire 41a.
  • the conductive polymer or the conductive metal film is formed on the surface of the material wire 41a by various methods such as plating, synthesis, and sputtering.
  • the shape is a spiral wound around the material wire 41a.
  • a spiral heat-generating member may be formed by winding a ribbon-like conductive polymer or conductive metal film formed separately from the material wire 41a and disposed outside the material wire 41a.

Landscapes

  • Micromachines (AREA)
  • Transmission Devices (AREA)
PCT/JP2018/008676 2017-03-23 2018-03-07 可動装置 Ceased WO2018173746A1 (ja)

Applications Claiming Priority (2)

Application Number Priority Date Filing Date Title
JP2017-057945 2017-03-23
JP2017057945A JP6784206B2 (ja) 2017-03-23 2017-03-23 可動装置

Publications (1)

Publication Number Publication Date
WO2018173746A1 true WO2018173746A1 (ja) 2018-09-27

Family

ID=63584371

Family Applications (1)

Application Number Title Priority Date Filing Date
PCT/JP2018/008676 Ceased WO2018173746A1 (ja) 2017-03-23 2018-03-07 可動装置

Country Status (2)

Country Link
JP (1) JP6784206B2 (enExample)
WO (1) WO2018173746A1 (enExample)

Cited By (2)

* Cited by examiner, † Cited by third party
Publication number Priority date Publication date Assignee Title
CN110048644A (zh) * 2019-05-17 2019-07-23 中国科学院沈阳自动化研究所 一种基于记忆合金丝的线性驱动器
US11002256B2 (en) 2017-03-23 2021-05-11 Denso Corporation Movable device

Families Citing this family (1)

* Cited by examiner, † Cited by third party
Publication number Priority date Publication date Assignee Title
WO2019159754A1 (ja) * 2018-02-19 2019-08-22 株式会社デンソー アクチュエータ装置

Citations (8)

* Cited by examiner, † Cited by third party
Publication number Priority date Publication date Assignee Title
US3291474A (en) * 1964-10-14 1966-12-13 Ametek Inc Heat-sensitive, non-cumulative force spiral spring and spring motor
US3720107A (en) * 1971-08-02 1973-03-13 Westinghouse Electric Corp Temperature responsive actuation
JPS60159378A (ja) * 1984-01-31 1985-08-20 Furukawa Electric Co Ltd:The 回転駆動機構
JPS6392081U (enExample) * 1986-12-05 1988-06-14
US5396769A (en) * 1993-10-12 1995-03-14 The United States Of America As Represented By The Administrator Of The National Aeronautics And Space Administration Rotary actuator
US20050023086A1 (en) * 2003-06-30 2005-02-03 Andrei Szilagyi Shape memory alloy-actuated and bender-actuated helical spring brakes
WO2016064220A1 (ko) * 2014-10-22 2016-04-28 한양대학교 산학협력단 온도 변화 또는 온도 구배에 의해 구동되는 회전형 구동기 및 이들을 이용한 에너지 하베스팅 장치
WO2017022146A1 (ja) * 2015-08-04 2017-02-09 パナソニックIpマネジメント株式会社 アクチュエータ

Patent Citations (8)

* Cited by examiner, † Cited by third party
Publication number Priority date Publication date Assignee Title
US3291474A (en) * 1964-10-14 1966-12-13 Ametek Inc Heat-sensitive, non-cumulative force spiral spring and spring motor
US3720107A (en) * 1971-08-02 1973-03-13 Westinghouse Electric Corp Temperature responsive actuation
JPS60159378A (ja) * 1984-01-31 1985-08-20 Furukawa Electric Co Ltd:The 回転駆動機構
JPS6392081U (enExample) * 1986-12-05 1988-06-14
US5396769A (en) * 1993-10-12 1995-03-14 The United States Of America As Represented By The Administrator Of The National Aeronautics And Space Administration Rotary actuator
US20050023086A1 (en) * 2003-06-30 2005-02-03 Andrei Szilagyi Shape memory alloy-actuated and bender-actuated helical spring brakes
WO2016064220A1 (ko) * 2014-10-22 2016-04-28 한양대학교 산학협력단 온도 변화 또는 온도 구배에 의해 구동되는 회전형 구동기 및 이들을 이용한 에너지 하베스팅 장치
WO2017022146A1 (ja) * 2015-08-04 2017-02-09 パナソニックIpマネジメント株式会社 アクチュエータ

Cited By (3)

* Cited by examiner, † Cited by third party
Publication number Priority date Publication date Assignee Title
US11002256B2 (en) 2017-03-23 2021-05-11 Denso Corporation Movable device
CN110048644A (zh) * 2019-05-17 2019-07-23 中国科学院沈阳自动化研究所 一种基于记忆合金丝的线性驱动器
CN110048644B (zh) * 2019-05-17 2023-12-12 中国科学院沈阳自动化研究所 一种基于记忆合金丝的线性驱动器

Also Published As

Publication number Publication date
JP6784206B2 (ja) 2020-11-11
JP2018159353A (ja) 2018-10-11

Similar Documents

Publication Publication Date Title
WO2018173746A1 (ja) 可動装置
JP6714858B2 (ja) アクチュエータ装置
JP2007004121A (ja) モータ、モータ装置及びそれを用いるレンズ駆動機構
WO2018173745A1 (ja) 可動装置
WO2018173742A1 (ja) 可動装置
US11025178B2 (en) Actuator device
CN101127476A (zh) 步进电机
JP4298443B2 (ja) 駆動装置
WO2018055972A1 (ja) アクチュエータ装置
WO2018173744A1 (ja) 可動装置
WO2018173743A1 (ja) 可動装置、その製造方法、および、その制御方法
EP4244485A1 (en) Shape memory alloy actuator architecture for driving adjustable aperture
WO2019159754A1 (ja) アクチュエータ装置
JP2008199755A (ja) 駆動装置、レンズユニット、および光学装置
WO2019003569A1 (ja) 駆動ユニットおよびロボット
JP7091888B2 (ja) アクチュエータ装置
WO2019082420A1 (ja) 可動装置
CN220629149U (zh) 一种振动马达和终端设备
Uemura et al. A stiffness adjustment mechanism maximally utilizing elastic energy of a linear spring for a robot joint
KR20220169988A (ko) 카메라 렌즈 이동 장치
KR20240049981A (ko) 강자성형상기억합금 스프링을 이용한 구동 장치 및 강자성형상기억합금 스프링을 이용한 구동 장치의 구동 방법
JPS63267906A (ja) 光学素子駆動装置
KR101648805B1 (ko) 압전형 스텝 모터
JP2020072573A (ja) アクチュエータ装置

Legal Events

Date Code Title Description
121 Ep: the epo has been informed by wipo that ep was designated in this application

Ref document number: 18770536

Country of ref document: EP

Kind code of ref document: A1

NENP Non-entry into the national phase

Ref country code: DE

122 Ep: pct application non-entry in european phase

Ref document number: 18770536

Country of ref document: EP

Kind code of ref document: A1