WO2018143790A1 - Hydrogen gas generating system and method thereof - Google Patents

Hydrogen gas generating system and method thereof Download PDF

Info

Publication number
WO2018143790A1
WO2018143790A1 PCT/MY2017/050007 MY2017050007W WO2018143790A1 WO 2018143790 A1 WO2018143790 A1 WO 2018143790A1 MY 2017050007 W MY2017050007 W MY 2017050007W WO 2018143790 A1 WO2018143790 A1 WO 2018143790A1
Authority
WO
WIPO (PCT)
Prior art keywords
liquid
reactant
generating system
hydrogen
hydrogen generating
Prior art date
Legal status (The legal status is an assumption and is not a legal conclusion. Google has not performed a legal analysis and makes no representation as to the accuracy of the status listed.)
Ceased
Application number
PCT/MY2017/050007
Other languages
English (en)
French (fr)
Inventor
Yoke Keen YEE
Albert KOK FOO NG
Chin Yang Chia
Current Assignee (The listed assignees may be inaccurate. Google has not performed a legal analysis and makes no representation or warranty as to the accuracy of the list.)
Galaxy Fct Sdn Bhd
Original Assignee
Galaxy Fct Sdn Bhd
Priority date (The priority date is an assumption and is not a legal conclusion. Google has not performed a legal analysis and makes no representation as to the accuracy of the date listed.)
Filing date
Publication date
Application filed by Galaxy Fct Sdn Bhd filed Critical Galaxy Fct Sdn Bhd
Priority to PCT/MY2017/050007 priority Critical patent/WO2018143790A1/en
Priority to CN201780054874.7A priority patent/CN109982963B/zh
Priority to US16/482,693 priority patent/US20200002164A1/en
Priority to SG11201907072WA priority patent/SG11201907072WA/en
Priority to MX2019008954A priority patent/MX2019008954A/es
Priority to JP2019563999A priority patent/JP2020506871A/ja
Priority to CA3052575A priority patent/CA3052575A1/en
Priority to KR1020197024820A priority patent/KR20190105241A/ko
Priority to BR112019016094-9A priority patent/BR112019016094B1/pt
Priority to MYPI2019004303A priority patent/MY201550A/en
Priority to EP17894778.4A priority patent/EP3577063A4/en
Priority to RU2019126861A priority patent/RU2819780C2/ru
Priority to PCT/MY2017/050033 priority patent/WO2018143791A1/en
Priority to AU2017397577A priority patent/AU2017397577A1/en
Priority to TW107100559A priority patent/TW201840465A/zh
Publication of WO2018143790A1 publication Critical patent/WO2018143790A1/en
Anticipated expiration legal-status Critical
Priority to ZA2019/05622A priority patent/ZA201905622B/en
Ceased legal-status Critical Current

Links

Images

Classifications

    • CCHEMISTRY; METALLURGY
    • C01INORGANIC CHEMISTRY
    • C01BNON-METALLIC ELEMENTS; COMPOUNDS THEREOF; METALLOIDS OR COMPOUNDS THEREOF NOT COVERED BY SUBCLASS C01C
    • C01B3/00Hydrogen; Gaseous mixtures containing hydrogen; Separation of hydrogen from mixtures containing it; Purification of hydrogen
    • C01B3/02Production of hydrogen or of gaseous mixtures containing a substantial proportion of hydrogen
    • C01B3/06Production of hydrogen or of gaseous mixtures containing a substantial proportion of hydrogen by reaction of inorganic compounds containing electro-positively bound hydrogen, e.g. water, acids, bases, ammonia, with inorganic reducing agents
    • C01B3/065Production of hydrogen or of gaseous mixtures containing a substantial proportion of hydrogen by reaction of inorganic compounds containing electro-positively bound hydrogen, e.g. water, acids, bases, ammonia, with inorganic reducing agents from a hydride
    • HELECTRICITY
    • H01ELECTRIC ELEMENTS
    • H01MPROCESSES OR MEANS, e.g. BATTERIES, FOR THE DIRECT CONVERSION OF CHEMICAL ENERGY INTO ELECTRICAL ENERGY
    • H01M8/00Fuel cells; Manufacture thereof
    • H01M8/06Combination of fuel cells with means for production of reactants or for treatment of residues
    • H01M8/0662Treatment of gaseous reactants or gaseous residues, e.g. cleaning
    • BPERFORMING OPERATIONS; TRANSPORTING
    • B01PHYSICAL OR CHEMICAL PROCESSES OR APPARATUS IN GENERAL
    • B01DSEPARATION
    • B01D5/00Condensation of vapours; Recovering volatile solvents by condensation
    • B01D5/0033Other features
    • B01D5/0054General arrangements, e.g. flow sheets
    • BPERFORMING OPERATIONS; TRANSPORTING
    • B01PHYSICAL OR CHEMICAL PROCESSES OR APPARATUS IN GENERAL
    • B01DSEPARATION
    • B01D5/00Condensation of vapours; Recovering volatile solvents by condensation
    • B01D5/0057Condensation of vapours; Recovering volatile solvents by condensation in combination with other processes
    • B01D5/0072Condensation of vapours; Recovering volatile solvents by condensation in combination with other processes with filtration
    • BPERFORMING OPERATIONS; TRANSPORTING
    • B01PHYSICAL OR CHEMICAL PROCESSES OR APPARATUS IN GENERAL
    • B01JCHEMICAL OR PHYSICAL PROCESSES, e.g. CATALYSIS OR COLLOID CHEMISTRY; THEIR RELEVANT APPARATUS
    • B01J8/00Chemical or physical processes in general, conducted in the presence of fluids and solid particles; Apparatus for such processes
    • B01J8/001Controlling catalytic processes
    • BPERFORMING OPERATIONS; TRANSPORTING
    • B01PHYSICAL OR CHEMICAL PROCESSES OR APPARATUS IN GENERAL
    • B01JCHEMICAL OR PHYSICAL PROCESSES, e.g. CATALYSIS OR COLLOID CHEMISTRY; THEIR RELEVANT APPARATUS
    • B01J8/00Chemical or physical processes in general, conducted in the presence of fluids and solid particles; Apparatus for such processes
    • B01J8/005Separating solid material from the gas/liquid stream
    • B01J8/006Separating solid material from the gas/liquid stream by filtration
    • BPERFORMING OPERATIONS; TRANSPORTING
    • B01PHYSICAL OR CHEMICAL PROCESSES OR APPARATUS IN GENERAL
    • B01JCHEMICAL OR PHYSICAL PROCESSES, e.g. CATALYSIS OR COLLOID CHEMISTRY; THEIR RELEVANT APPARATUS
    • B01J8/00Chemical or physical processes in general, conducted in the presence of fluids and solid particles; Apparatus for such processes
    • B01J8/02Chemical or physical processes in general, conducted in the presence of fluids and solid particles; Apparatus for such processes with stationary particles, e.g. in fixed beds
    • B01J8/0278Feeding reactive fluids
    • BPERFORMING OPERATIONS; TRANSPORTING
    • B01PHYSICAL OR CHEMICAL PROCESSES OR APPARATUS IN GENERAL
    • B01JCHEMICAL OR PHYSICAL PROCESSES, e.g. CATALYSIS OR COLLOID CHEMISTRY; THEIR RELEVANT APPARATUS
    • B01J8/00Chemical or physical processes in general, conducted in the presence of fluids and solid particles; Apparatus for such processes
    • B01J8/02Chemical or physical processes in general, conducted in the presence of fluids and solid particles; Apparatus for such processes with stationary particles, e.g. in fixed beds
    • B01J8/0285Heating or cooling the reactor
    • FMECHANICAL ENGINEERING; LIGHTING; HEATING; WEAPONS; BLASTING
    • F17STORING OR DISTRIBUTING GASES OR LIQUIDS
    • F17CVESSELS FOR CONTAINING OR STORING COMPRESSED, LIQUEFIED OR SOLIDIFIED GASES; FIXED-CAPACITY GAS-HOLDERS; FILLING VESSELS WITH, OR DISCHARGING FROM VESSELS, COMPRESSED, LIQUEFIED, OR SOLIDIFIED GASES
    • F17C11/00Use of gas-solvents or gas-sorbents in vessels
    • F17C11/005Use of gas-solvents or gas-sorbents in vessels for hydrogen
    • HELECTRICITY
    • H01ELECTRIC ELEMENTS
    • H01MPROCESSES OR MEANS, e.g. BATTERIES, FOR THE DIRECT CONVERSION OF CHEMICAL ENERGY INTO ELECTRICAL ENERGY
    • H01M16/00Structural combinations of different types of electrochemical generators
    • H01M16/003Structural combinations of different types of electrochemical generators of fuel cells with other electrochemical devices, e.g. capacitors, electrolysers
    • H01M16/006Structural combinations of different types of electrochemical generators of fuel cells with other electrochemical devices, e.g. capacitors, electrolysers of fuel cells with rechargeable batteries
    • HELECTRICITY
    • H01ELECTRIC ELEMENTS
    • H01MPROCESSES OR MEANS, e.g. BATTERIES, FOR THE DIRECT CONVERSION OF CHEMICAL ENERGY INTO ELECTRICAL ENERGY
    • H01M8/00Fuel cells; Manufacture thereof
    • H01M8/04Auxiliary arrangements, e.g. for control of pressure or for circulation of fluids
    • H01M8/04298Processes for controlling fuel cells or fuel cell systems
    • H01M8/04694Processes for controlling fuel cells or fuel cell systems characterised by variables to be controlled
    • H01M8/04701Temperature
    • H01M8/04708Temperature of fuel cell reactants
    • HELECTRICITY
    • H01ELECTRIC ELEMENTS
    • H01MPROCESSES OR MEANS, e.g. BATTERIES, FOR THE DIRECT CONVERSION OF CHEMICAL ENERGY INTO ELECTRICAL ENERGY
    • H01M8/00Fuel cells; Manufacture thereof
    • H01M8/04Auxiliary arrangements, e.g. for control of pressure or for circulation of fluids
    • H01M8/04298Processes for controlling fuel cells or fuel cell systems
    • H01M8/04694Processes for controlling fuel cells or fuel cell systems characterised by variables to be controlled
    • H01M8/04746Pressure; Flow
    • H01M8/04753Pressure; Flow of fuel cell reactants
    • HELECTRICITY
    • H01ELECTRIC ELEMENTS
    • H01MPROCESSES OR MEANS, e.g. BATTERIES, FOR THE DIRECT CONVERSION OF CHEMICAL ENERGY INTO ELECTRICAL ENERGY
    • H01M8/00Fuel cells; Manufacture thereof
    • H01M8/06Combination of fuel cells with means for production of reactants or for treatment of residues
    • HELECTRICITY
    • H01ELECTRIC ELEMENTS
    • H01MPROCESSES OR MEANS, e.g. BATTERIES, FOR THE DIRECT CONVERSION OF CHEMICAL ENERGY INTO ELECTRICAL ENERGY
    • H01M8/00Fuel cells; Manufacture thereof
    • H01M8/06Combination of fuel cells with means for production of reactants or for treatment of residues
    • H01M8/0606Combination of fuel cells with means for production of reactants or for treatment of residues with means for production of gaseous reactants
    • H01M8/065Combination of fuel cells with means for production of reactants or for treatment of residues with means for production of gaseous reactants by dissolution of metals or alloys; by dehydriding metallic substances
    • BPERFORMING OPERATIONS; TRANSPORTING
    • B01PHYSICAL OR CHEMICAL PROCESSES OR APPARATUS IN GENERAL
    • B01JCHEMICAL OR PHYSICAL PROCESSES, e.g. CATALYSIS OR COLLOID CHEMISTRY; THEIR RELEVANT APPARATUS
    • B01J2208/00Processes carried out in the presence of solid particles; Reactors therefor
    • B01J2208/00008Controlling the process
    • B01J2208/00017Controlling the temperature
    • B01J2208/00389Controlling the temperature using electric heating or cooling elements
    • B01J2208/00407Controlling the temperature using electric heating or cooling elements outside the reactor bed
    • BPERFORMING OPERATIONS; TRANSPORTING
    • B01PHYSICAL OR CHEMICAL PROCESSES OR APPARATUS IN GENERAL
    • B01JCHEMICAL OR PHYSICAL PROCESSES, e.g. CATALYSIS OR COLLOID CHEMISTRY; THEIR RELEVANT APPARATUS
    • B01J2208/00Processes carried out in the presence of solid particles; Reactors therefor
    • B01J2208/00008Controlling the process
    • B01J2208/00017Controlling the temperature
    • B01J2208/00389Controlling the temperature using electric heating or cooling elements
    • B01J2208/00415Controlling the temperature using electric heating or cooling elements electric resistance heaters
    • BPERFORMING OPERATIONS; TRANSPORTING
    • B01PHYSICAL OR CHEMICAL PROCESSES OR APPARATUS IN GENERAL
    • B01JCHEMICAL OR PHYSICAL PROCESSES, e.g. CATALYSIS OR COLLOID CHEMISTRY; THEIR RELEVANT APPARATUS
    • B01J2208/00Processes carried out in the presence of solid particles; Reactors therefor
    • B01J2208/00008Controlling the process
    • B01J2208/00539Pressure
    • BPERFORMING OPERATIONS; TRANSPORTING
    • B01PHYSICAL OR CHEMICAL PROCESSES OR APPARATUS IN GENERAL
    • B01JCHEMICAL OR PHYSICAL PROCESSES, e.g. CATALYSIS OR COLLOID CHEMISTRY; THEIR RELEVANT APPARATUS
    • B01J2208/00Processes carried out in the presence of solid particles; Reactors therefor
    • B01J2208/00008Controlling the process
    • B01J2208/00548Flow
    • BPERFORMING OPERATIONS; TRANSPORTING
    • B01PHYSICAL OR CHEMICAL PROCESSES OR APPARATUS IN GENERAL
    • B01JCHEMICAL OR PHYSICAL PROCESSES, e.g. CATALYSIS OR COLLOID CHEMISTRY; THEIR RELEVANT APPARATUS
    • B01J2208/00Processes carried out in the presence of solid particles; Reactors therefor
    • B01J2208/00008Controlling the process
    • B01J2208/00628Controlling the composition of the reactive mixture
    • B01J2208/00637Means for stopping or slowing down the reaction
    • BPERFORMING OPERATIONS; TRANSPORTING
    • B01PHYSICAL OR CHEMICAL PROCESSES OR APPARATUS IN GENERAL
    • B01JCHEMICAL OR PHYSICAL PROCESSES, e.g. CATALYSIS OR COLLOID CHEMISTRY; THEIR RELEVANT APPARATUS
    • B01J2208/00Processes carried out in the presence of solid particles; Reactors therefor
    • B01J2208/00796Details of the reactor or of the particulate material
    • B01J2208/00805Details of the particulate material
    • B01J2208/00814Details of the particulate material the particulate material being provides in prefilled containers
    • CCHEMISTRY; METALLURGY
    • C01INORGANIC CHEMISTRY
    • C01BNON-METALLIC ELEMENTS; COMPOUNDS THEREOF; METALLOIDS OR COMPOUNDS THEREOF NOT COVERED BY SUBCLASS C01C
    • C01B2203/00Integrated processes for the production of hydrogen or synthesis gas
    • C01B2203/06Integration with other chemical processes
    • C01B2203/066Integration with other chemical processes with fuel cells
    • CCHEMISTRY; METALLURGY
    • C01INORGANIC CHEMISTRY
    • C01BNON-METALLIC ELEMENTS; COMPOUNDS THEREOF; METALLOIDS OR COMPOUNDS THEREOF NOT COVERED BY SUBCLASS C01C
    • C01B2203/00Integrated processes for the production of hydrogen or synthesis gas
    • C01B2203/10Catalysts for performing the hydrogen forming reactions
    • C01B2203/1041Composition of the catalyst
    • C01B2203/1047Group VIII metal catalysts
    • C01B2203/1052Nickel or cobalt catalysts
    • YGENERAL TAGGING OF NEW TECHNOLOGICAL DEVELOPMENTS; GENERAL TAGGING OF CROSS-SECTIONAL TECHNOLOGIES SPANNING OVER SEVERAL SECTIONS OF THE IPC; TECHNICAL SUBJECTS COVERED BY FORMER USPC CROSS-REFERENCE ART COLLECTIONS [XRACs] AND DIGESTS
    • Y02TECHNOLOGIES OR APPLICATIONS FOR MITIGATION OR ADAPTATION AGAINST CLIMATE CHANGE
    • Y02EREDUCTION OF GREENHOUSE GAS [GHG] EMISSIONS, RELATED TO ENERGY GENERATION, TRANSMISSION OR DISTRIBUTION
    • Y02E60/00Enabling technologies; Technologies with a potential or indirect contribution to GHG emissions mitigation
    • Y02E60/10Energy storage using batteries
    • YGENERAL TAGGING OF NEW TECHNOLOGICAL DEVELOPMENTS; GENERAL TAGGING OF CROSS-SECTIONAL TECHNOLOGIES SPANNING OVER SEVERAL SECTIONS OF THE IPC; TECHNICAL SUBJECTS COVERED BY FORMER USPC CROSS-REFERENCE ART COLLECTIONS [XRACs] AND DIGESTS
    • Y02TECHNOLOGIES OR APPLICATIONS FOR MITIGATION OR ADAPTATION AGAINST CLIMATE CHANGE
    • Y02EREDUCTION OF GREENHOUSE GAS [GHG] EMISSIONS, RELATED TO ENERGY GENERATION, TRANSMISSION OR DISTRIBUTION
    • Y02E60/00Enabling technologies; Technologies with a potential or indirect contribution to GHG emissions mitigation
    • Y02E60/30Hydrogen technology
    • Y02E60/32Hydrogen storage
    • YGENERAL TAGGING OF NEW TECHNOLOGICAL DEVELOPMENTS; GENERAL TAGGING OF CROSS-SECTIONAL TECHNOLOGIES SPANNING OVER SEVERAL SECTIONS OF THE IPC; TECHNICAL SUBJECTS COVERED BY FORMER USPC CROSS-REFERENCE ART COLLECTIONS [XRACs] AND DIGESTS
    • Y02TECHNOLOGIES OR APPLICATIONS FOR MITIGATION OR ADAPTATION AGAINST CLIMATE CHANGE
    • Y02EREDUCTION OF GREENHOUSE GAS [GHG] EMISSIONS, RELATED TO ENERGY GENERATION, TRANSMISSION OR DISTRIBUTION
    • Y02E60/00Enabling technologies; Technologies with a potential or indirect contribution to GHG emissions mitigation
    • Y02E60/30Hydrogen technology
    • Y02E60/36Hydrogen production from non-carbon containing sources, e.g. by water electrolysis
    • YGENERAL TAGGING OF NEW TECHNOLOGICAL DEVELOPMENTS; GENERAL TAGGING OF CROSS-SECTIONAL TECHNOLOGIES SPANNING OVER SEVERAL SECTIONS OF THE IPC; TECHNICAL SUBJECTS COVERED BY FORMER USPC CROSS-REFERENCE ART COLLECTIONS [XRACs] AND DIGESTS
    • Y02TECHNOLOGIES OR APPLICATIONS FOR MITIGATION OR ADAPTATION AGAINST CLIMATE CHANGE
    • Y02EREDUCTION OF GREENHOUSE GAS [GHG] EMISSIONS, RELATED TO ENERGY GENERATION, TRANSMISSION OR DISTRIBUTION
    • Y02E60/00Enabling technologies; Technologies with a potential or indirect contribution to GHG emissions mitigation
    • Y02E60/30Hydrogen technology
    • Y02E60/50Fuel cells

Definitions

  • the present invention relates generally to a hydrogen gas generating system and method thereof, and more particularly to such a system and method that generates hydrogen gas from a chemical reaction between a solid reactant and a gaseous reactant.
  • Fuel cells that produce electricity using hydrogen gas as a fuel source are well known. Fuel cell applications are for the most part mobile, and that creates a problem to provide a constant supply of hydrogen gas to power the fuel cell. A traditional solution to this is to carry hydrogen gas in pressurized tanks. These pressurized tanks are often heavy and bulky, which is not suitable for applications where weight is a concern, such as UAV and bicycle applications. Another problem is pressurized hydrogen gas tanks is the low energy storage density. Yet another problem is the risk of leakage. Hydrogen gas is odourless and burns without any flame, making it especially hazardous in the case of a leak.
  • An alternative to carrying hydrogen gas around in pressurized tanks is to generate hydrogen gas in situ, and “on demand”. It is known that certain solid hydrides or borohydrides, when mixed with liquids such as water, can undergo a hydrolysis chemical reaction that produces hydrogen gas. This eradicates all the technical and hazardous drawbacks of carrying hydrogen gas around in pressurized tanks.
  • a typical example of solid hydride hydrogen gas generation is using sodium borohydride (NaBH4) as fuel.
  • NaBH4 sodium borohydride
  • NaOH sodium hydroxide
  • a noble metal catalyst such as platinum or ruthenium
  • hydrolysis of NaBH4 will take place and hydrogen gas is produced.
  • NaBH4 will be transformed into sodium borate (NaBO2), which is insoluble in the alkaline aqueous. NaBO2 precipitation also tends to cloak up the catalyst surface area and render the reaction terminated.
  • liquid NaBH4 as a fuel also presents other technical problems in a hydrogen generating system.
  • the presence of excess water gives rise to unwanted weight, thus reducing the specific storage density of the hydrogen generator.
  • a liquid mixture also poses a higher risk of an uncontrollable runaway reaction, which may lead to catastrophic consequences.
  • the present invention seeks to overcome the aforementioned disadvantages by providing a hydrogen gas generating system that gasifies a liquid reactant such as water, then channeling the resultant gaseous reactant to a reaction chamber containing a solid hydride.
  • a liquid reactant such as water
  • the chemical reaction between the gasified liquid reactant and solid hydride forming hydrogen gas.
  • This hydrogen gas can be filtered and regulated before being used in a fuel cell to produce electricity.
  • a control unit is used to control important parameters such as pressure and temperature of the various components, as well as initiate the hydrogen generating process when an energy storage device such as a battery goes below a preset level.
  • This invention thus relates to a hydrogen generating system, which includes a control unit having an energy storage reading input, a pressure reading input, a temperature reading input, a liquid driving unit controlling output, a heating controlling output, and a gaseous release controlling output.
  • This hydrogen generating system also includes a liquid storage having an intake port for receiving a liquid reactant from an external source, an exhaust port for expelling the liquid reactant from the liquid storage, and an excess intake port for receiving excess liquid recovered from a condensation unit.
  • This hydrogen generating system also includes a liquid gasification unit having an exhaust port, an intake port for receiving liquid reactant from the liquid storage, heating elements controllable by the control unit via the heating controlling output, the liquid gasification unit adapted to heat an amount of liquid reactant such that a portion of the liquid reactant enters a gaseous phase.
  • This hydrogen generating system also includes a reaction chamber having an intake port in fluid communication with the liquid gasification unit exhaust port via a control valve, the control valve controlled by the gaseous release controlling output, the reaction chamber containing a solid reactant, such as a metal hydride, and adapted to receive an amount of gaseous reactant from the liquid gasification unit, the gaseous reactant dispersed into the solid reactant thereby forming a chemical reaction that produces hydrogen gas.
  • This hydrogen generating system also includes a pressure sensing means for taking a pressure reading at the reaction chamber intake port and relaying the pressure reading to the control unit.
  • This hydrogen generating system also includes a temperature sensing means for taking a temperature reading inside the reaction chamber and relaying the temperature reading to the control unit.
  • This hydrogen generating system also includes a condensation unit having an intake port for receiving the product gas from the reaction chamber, an exhaust port for channeling primarily hydrogen gas out of the condensation unit, an excess liquid port for channeling a condensate of the gaseous reactant out of the condensation unit and back into the liquid storage, the condensation unit adapted to substantially condense the gaseous reactant.
  • this hydrogen generating system further comprises a filter unit adapted to filter said primarily hydrogen gas thereby substantially removing unwanted particles from said primarily hydrogen gas.
  • this hydrogen generating system further comprises a liquid driving unit provided between the said liquid storage exhaust port and said liquid gasification unit intake port, and adapted to propel liquid reactant from said liquid storage and into said liquid gasification unit, said liquid driving unit controllable by the said control unit.
  • this hydrogen generating system further comprises a control valve adapted to allow release of said product gas from said reaction chamber, said control valve controllable by the said control unit.
  • the liquid gasification unit is adapted to store an amount of said gaseous reactant.
  • this hydrogen generating system further comprises a heat transfer means adapted to transfer heat from said reaction chamber to said liquid gasification unit.
  • this hydrogen generating system further comprises an energy storage, such as a battery, said energy storage adapted to store an amount of electrical energy it receives. A storage level of this energy storage is relayed to the control unit.
  • an energy storage such as a battery
  • control unit initiates a hydrogen gas generating process when the said storage level of the energy storage is reduced to a preset level.
  • this hydrogen generating system further comprises a fuel cell having an intake port for receiving an amount of the primarily hydrogen gas for conversion to electrical energy.
  • a portion of the electrical energy produced by the fuel cell is used to power an external electrical load and another portion of the electrical energy produced is used to charge the energy storage.
  • this hydrogen generating system further comprises a means of ensuring that the liquid reactant flows out of the liquid storage so long as there is adequate liquid reactant in the liquid storage.
  • This means of ensuring that the liquid reactant flows out of the liquid storage comprises a flexible hose with a first end connected to a floatation device, and a second end in fluid communication with the liquid storage exhaust port, and such that the floatation device is adapted to keep the first end of the flexible hose underneath the surface of the liquid reactant, as long as there is adequate liquid reactant in the liquid storage. In this way, the flexible hose is able to extract liquid reactant from the liquid storage regardless of the orientation of the liquid storage.
  • the liquid reactant includes any of: water, acidic liquid, alkaline liquid, organic or inorganic liquids or a combination thereof.
  • the solid reactant comprises of a mixture of hydrogen fuel and a metal based catalyst.
  • the hydrogen fuel is sodium borohydride.
  • the hydrogen fuel is any of: boron hydride, nitrogen hydride, carbon hydride, metal hydride, boron nitrogen hydride, boron carbon hydride, nitrogen carbon hydride, metal boron hydride, metal nitrogen hydride, metal carbon hydride, metal boron nitrogen hydride, metal boron carbon hydride, metal carbon nitrogen hydride, boron nitrogen carbon hydride, metal boron nitrogen carbon hydride, or the combination thereof.
  • the hydrogen fuel is any of: NaH, LiBH4, LiH, CaH2, Ca(BH4)2, MgBH4, KBH4, Al(BH3)3, or the combination thereof.
  • the solid reactant may be various compounds having BxNyHz, where x, y and z are any integer numbers.
  • Tthe various compounds may include: H3BNH3, H2B(NH3)2BH3, NH2BH2, B3N3H6, morpholineborane (C4H12BNO), (CH2)4O composite material, B2H4, or a combination thereof.
  • the metal based catalyst is any of: a cobalt based oxide, a boride, a solid acid, a salt, or a combination thereof.
  • the salt can be a compound of the ions of any of: ruthenium (Ru), cobalt (Co), nickel (Ni), copper (Cu), iron (Fe) or a combination thereof.
  • the hydrogen generating system further comprises a gas regulating means located after a filter and before a fuel cell, the gas regulating means adapted to regulate a pressure and flow rate of a gas passing through it.
  • the reaction chamber is easily removable from the system and provided with means of temporarily closing the intake port and gas outlet during its removal. This facilitates easy changing of a reaction chamber when the solid reactant inside is used up.
  • Another aspect of this invention is a method of generating hydrogen gas, comprising the following steps:
  • a hydrogen gas generating system that gasifies a liquid reactant such as water, then channeling the resultant gaseous reactant to a reaction chamber containing a solid hydride.
  • the chemical reaction between the liquid reactant and solid hydride forming hydrogen gas.
  • This hydrogen gas can be filtered and regulated before being used in a fuel cell to produce electricity.
  • a control unit is used to control important parameters such as pressure and temperature of the various components, as well as initiate the hydrogen generating process when an energy storage device such as a battery goes below a preset level.
  • the hydrogen gas generating system of this invention also recovers extra heat from the reaction to assist in gasifying the liquid reactant.
  • FIG. 1 illustrates a diagrammatic view of a hydrogen generating system in an embodiment of the present invention.
  • FIG. 1 illustrates a cross-sectional view of a reaction chamber in an embodiment of the present invention.
  • FIG. 1 illustrates a cross-sectional view of a liquid storage in an embodiment of the present invention.
  • FIG. 1 illustrates an external and cross-sectional view of a liquid gasification unit in an embodiment of the present invention.
  • FIG. 1 illustrates a diagrammatic view of a portion of a hydrogen generating system in an embodiment of the present invention.
  • a hydrogen generating system there is shown a hydrogen generating system.
  • the overall purpose of this system is to generate hydrogen gas for electricity production in a fuel cell in situ , thus eliminating the need for storing large amounts of pressurized hydrogen gas.
  • an energy storage (13) which in preferred embodiments can be a battery or capacitor.
  • a control unit (10) initiates a hydrogen gas generating process.
  • the control unit (10) includes a microcontroller.
  • This hydrogen gas generating process includes the control unit (10), via heating controlling output (15), switching on heating elements (56) of a liquid gasification unit (50). This causes an internal temperature of the liquid gasification unit (50) to increase.
  • the control unit (10) will, via liquid driving unit controlling output (164), activate a liquid driving unit (64).
  • This liquid driving unit (64) is adapted to pump liquid reactant (91) that is stored in a liquid storage (60), out via a liquid storage exhaust port (63), through a liquid flow guide (635), and into the liquid gasification unit (50) via a liquid gasification unit intake port (55).
  • liquid reactant (91) enters the liquid gasification unit (50), it rapidly heats up until it undergoes a change into a gaseous phase, thus becoming a gaseous reactant (90).
  • This gaseous reactant (90) is stored and pressurized in the liquid gasification unit (50).
  • the control unit (10 via a gaseous release controlling output (152), activates a control valve (52).
  • This control valve (52) when activated releases the stored gaseous reactant (90) out from the liquid gasification unit (50) via a liquid gasification unit exhaust port (51).
  • the gaseous reactant (90) then passes through the control valve (52) and enters a reaction chamber (40) via a reaction chamber intake port (43).
  • the gaseous reactant Upon entering the reaction chamber (40), the gaseous reactant reacts chemically with a solid reactant (47) that is stored in the reaction chamber (40).
  • a pressure of the reaction chamber (40) is measured by a pressure sensing means (14). This pressure reading is fed back to the control unit (10).
  • a temperature of the reaction chamber (40) is also measured by a temperature sensing means (170), and this temperature reading is also fed back to the control unit (10).
  • the control unit (10) is able to shut down the reaction in the reaction chamber (40) by closing the control valve (52) thereby stopping the supply of gaseous reactant (90) into the reaction chamber (40). This is a safety measure.
  • the reaction between the gaseous reactant and the solid reactant (47) in the reaction chamber (40) produces hydrogen gas, among other by-products.
  • This reaction is an exothermic reaction, and thus increases the temperature of the reaction chamber (40).
  • This excess heat energy is transferred back to the liquid gasification unit (50) via a heat transfer device (53) located in between the reaction chamber (40) and the liquid gasification unit (50).
  • This heat transfer device (53) conductively transfers the excess heat produced in the reaction chamber (40) to the liquid gasification unit (50) by means of a heat conductor (54). This reduces the power requirement of the heating element (56) in the liquid gasification unit (50) and further enhances the output performance of this hydrogen gas generating system.
  • a product gas which is a mixture of this primarily hydrogen gas and any excess said gaseous reactant (90) which did not react with the solid reactant (47), is channeled out from the reaction chamber (40) through a gas outlet (42) and via a gas flow guide (41) into a condensation unit (70).
  • This gaseous reactant (90) reacts with a solid reactant (47) provided in the reaction chamber (40); this reaction producing primarily hydrogen gas and some by-products.
  • a product gas which is a mixture of said primarily hydrogen gas and any excess gaseous reactant (90), is expelled from the reaction chamber.
  • This condensation unit (70) is provided with an intake port (71) for receiving the said product gas from the reaction chamber (40).
  • the primary function of this condensation unit (70), is to condense the said gaseous reactant (90) back into a liquid, so that it separates from the primarily hydrogen gas.
  • the resulting condense liquid is then channeled out through an excess liquid port (73) to return to the liquid storage via a liquid storage return port (62).
  • the primarily hydrogen gas is expelled from the condensation unit (70) via an exhaust port (72) into a filter unit (80).
  • the filter unit (80) traps unwanted particles in the primarily hydrogen gas, to make it purer.
  • the hydrogen gas is channeled into a fuel cell unit (30) through an intake port (31), which in a preferred embodiment, is a valve.
  • the hydrogen gas undergoes an electrochemical conversion in the fuel cell (30) to produce electrical energy.
  • An exhaust gas produced by the fuel cell (30) is channeled out through an exhaust means (33), which in a preferred embodiment, is a valve.
  • the fuel cell (30) can be any device which converts hydrogen gas into usable electric energy, and can be any of, but not limited to, the following: a proton exchange membrane fuel cell (PEMFC), alkaline fuel cell (AFC), phosphoric acid fuel cell (PAFC), molten carbonate fuel cell (MCFC), solid oxide fuel cell (SOFC), or other sorts of fuel cells.
  • PEMFC proton exchange membrane fuel cell
  • AFC alkaline fuel cell
  • PAFC phosphoric acid fuel cell
  • MCFC molten carbonate fuel cell
  • SOFC solid oxide fuel cell
  • electrical energy produced by the fuel cell (30) is channeled through an electric power converter (20), which can be any of, but not limited to: DC converter, inverter, or charge controller.
  • the electric power converter (20) then outputs a portion of the said electrical energy to an electric load (21) through load interconnect (22).
  • another portion of the said electrical energy is sent back to the energy storage (13) via a recharge interconnect (12). This charges the energy storage (13) when needed.
  • Yet another portion of the said electrical energy is used to power the control unit (10).
  • the hydrogen generating system of the present invention can be used without the fuel cell, in any application where a supply of hydrogen gas is needed.
  • the liquid storage (60) is provided with a liquid storage intake port (61) through which liquid reactant (91) can be added.
  • the liquid reactant (91) is water.
  • the liquid reactant (91) can also be a diluted concoction of methyl alcohol, ethyl alcohol, and any other organic or inorganic solvent, such as ethylene glycol.
  • the solid reactant stored in the reaction chamber (40) comprises of a powder mixture of hydrogen fuel with a metal based catalyst.
  • the hydrogen fuel is sodium borohydride.
  • this hydrogen fuel can also be other types of solid hydrides, such as boron hydride, nitrogen hydride, carbon hydride, metal hydride, boron nitrogen hydride, boron carbon hydride, nitrogen carbon hydride, metal boron hydride, metal nitrogen hydride, metal carbon hydride, metal boron nitrogen hydride, metal boron carbon hydride, metal carbon nitrogen hydride, boron nitrogen carbon hydride, metal carbon nitrogen hydride, boron nitrogen carbon hydride, metal boron nitrogen carbon hydride, or combinations thereof.
  • This hydrogen fuel can also include: NaH, LiBH4, LiH, CaH2, Ca(BH4)2, MgBH4, KBH4 and Al(BH3)3, or combinations thereof.
  • the solid reactant may be various compounds having BxNyHz and include, but not limited thereto, H3BNH3, H2B(NH3)2BH3, NH2BH2, B3N3H6, morpholineborane (C4H12BNO), (CH2)4O composite material, B2H4, or combinations thereof.
  • the metal based catalyst is made of cobalt based oxide or boride, or may be solid acid or salt including ruthenium (Ru), cobalt (Co), nickel (Ni), copper (Cu), iron (Fe) or compound manufactured by the ions thereof.
  • FIG. 2 there is shown a cross-sectional view of a reaction chamber (40) in an embodiment of the present invention.
  • This reaction chamber (40) is encased in a casing (44), which in a preferred embodiment is made from a metallic material.
  • This reaction chamber (40) is provided on its top side with an intake port (43), said intake port (43) adapted to receive gaseous reactant (90) from the liquid gasification unit (50) for filling said gaseous reactant (90) into the reaction chamber (40).
  • the intake port (43) is a pipe structure, or a plurality of pipe structures protruding into the reaction chamber (40). At an end of the pipe structure (43) that protrudes into the reaction chamber (40), there is provided a plurality of holes (49) that allow said gaseous reactant (90) to be expelled from the pipe structure (43) and into the reaction chamber (40).
  • the plurality of holes (49) is surrounded by a first porous material (48).
  • the pipe structure (43) and the first porous material (48) are disposed in concentric arrangement with respect to the reaction chamber (40), when looked at from a top side of the reaction chamber (40).
  • the pipe structure (43) is located at the center of the concentric arrangement, and is enclosed concentrically by the first porous material (48).
  • the first porous material is in turn enclosed concentrically by the solid reactant (47).
  • the first porous material (48) is permeable to the gaseous reactant (90) but not to the solid reactant (47). In this way, the first porous material (48) allows the gaseous reactant (90) to pass into the solid reactant (47) but it does not allow the solid reactant (47) from escaping the reaction chamber (40).
  • the gaseous reactant (90) when the gaseous reactant (90) is introduced into the reaction chamber (40) through the pipe structure (43), it diffuses out through the plurality of holes (49), through the first porous material (48), and is dispersed into the solid reactant (47), with which it reacts chemically. Hydrogen gas is produced by this chemical reaction.
  • This hydrogen gas permeates through a second porous material (46) located at a top side of the solid reactant (47) and expelled from the reaction chamber (40) through the gas outlet (42).
  • the solid reactant (47) is further encapsulated around its side by a third porous material (45).
  • This third porous material (45) allows the hydrogen gas to permeate through, but it does not allow the solid reactant (47) to pass through. This prevents any melting of the solid reactant (47) from blocking the hydrogen gas passage to the top of the reaction chamber (40).
  • the first, second and third porous materials are carbon cloth.
  • a temperature sensing means (170) adapted to measure a temperature reading within the reaction chamber (40), this temperature reading then sent to the control unit (10).
  • the control unit (10) is able to shut down the reaction in the reaction chamber (40) by closing the control valve (52) thereby stopping the supply of gaseous reactant (90) into the reaction chamber (40). This is a safety measure.
  • reaction chamber (40) is a fixed part whereby the waste byproduct has to be cleaned out.
  • reaction chamber (40) is mounted on the generator system using coupling means to facilitate easy removal and replacement of the entire reaction chamber (40), along with the waste byproduct inside it.
  • FIG. 3 there is shown a cross-sectional view of a liquid storage (60) in an embodiment of the present invention.
  • Liquid reactant (91) is filled into the liquid storage (60) through an intake port (61) from an external source.
  • An exhaust port (63) channels the liquid reactant (91) out from the liquid storage (60).
  • FIG 3 there is shown a flexible hose (65) with a first end connected to a floatation device (67), and a second end in fluid communication with the exhaust port (63).
  • the floatation device (67) is adapted to float on a liquid storage level (66), and to keep the said first end of the flexible hose (65) underneath the surface level of said liquid reactant (91), as long as there is adequate liquid reactant (91) in the liquid storage (60).
  • the flexible hose (65) is able to extract liquid reactant (91) from the liquid storage (60) regardless of the orientation of the liquid storage (60).
  • the liquid gasification unit (50) is provided at a first end with an intake port (55) for receiving liquid reactant (91) from the liquid storage (60) via the liquid driving unit (64).
  • the liquid gasification unit (50) is provided at a second end with an exhaust port (51) for expelling gaseous reactant (90) out of the liquid gasification unit (50).
  • the intake port (55) has a narrower flow channel than the exhaust port (51). This narrower flow channel allows less of the liquid reactant (91) to enter the liquid gasification unit (50), thus allowing an easier conversion of the liquid reactant (91) into the gaseous reactant (90).
  • the larger diameter of the exhaust port (51) also allows a higher throughput for the gaseous reactant (90) as it is expelled out from the liquid gasification unit (50).
  • the liquid gasification unit (50) is provided with heating elements (56) for heating and gasifying the liquid reactant (91).
  • the liquid gasification unit (50) is further provided with a heat conductive means (57) located on the exterior of the liquid gasification unit (50). This heat conductive means (57) channels excessive heat from the heat transfer device (53) to the liquid gasification unit (50).
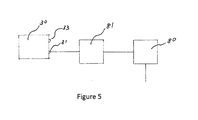
  • FIG. 5 there is shown a diagrammatic view of a portion of a hydrogen generating system in an embodiment of the present invention with the addition of a gas regulator (81).
  • This gas regulator (81) is located after the filter unit (80) and before the fuel cell (30) and in fluid communication with both the filter unit (80) and the fuel cell (30).
  • This gas regulator (81) controls the pressure and flow rate of the hydrogen gas that passes through it.
  • This gas regulator (81) is controlled by the control unit.
  • Liquid driving unit controlling output (164)

Landscapes

  • Chemical & Material Sciences (AREA)
  • Chemical Kinetics & Catalysis (AREA)
  • Engineering & Computer Science (AREA)
  • Organic Chemistry (AREA)
  • Sustainable Development (AREA)
  • Sustainable Energy (AREA)
  • Life Sciences & Earth Sciences (AREA)
  • Electrochemistry (AREA)
  • General Chemical & Material Sciences (AREA)
  • Manufacturing & Machinery (AREA)
  • Health & Medical Sciences (AREA)
  • General Health & Medical Sciences (AREA)
  • Combustion & Propulsion (AREA)
  • Inorganic Chemistry (AREA)
  • Mechanical Engineering (AREA)
  • General Engineering & Computer Science (AREA)
  • Fuel Cell (AREA)
  • Feeding, Discharge, Calcimining, Fusing, And Gas-Generation Devices (AREA)
PCT/MY2017/050007 2017-02-03 2017-02-03 Hydrogen gas generating system and method thereof Ceased WO2018143790A1 (en)

Priority Applications (16)

Application Number Priority Date Filing Date Title
PCT/MY2017/050007 WO2018143790A1 (en) 2017-02-03 2017-02-03 Hydrogen gas generating system and method thereof
MYPI2019004303A MY201550A (en) 2017-02-03 2017-06-28 Hydrogen gas generating system and method with buffer tank
EP17894778.4A EP3577063A4 (en) 2017-02-03 2017-06-28 HYDROGEN GAS GENERATION SYSTEM AND METHOD WITH BUFFER TANK
SG11201907072WA SG11201907072WA (en) 2017-02-03 2017-06-28 Hydrogen gas generating system and method with buffer tank
MX2019008954A MX2019008954A (es) 2017-02-03 2017-06-28 Sistema y metodo de generacion de gas hidrogeno con tanque de amortiguamiento.
JP2019563999A JP2020506871A (ja) 2017-02-03 2017-06-28 バッファタンクを備えた水素ガス発生システムおよび方法
CA3052575A CA3052575A1 (en) 2017-02-03 2017-06-28 Hydrogen gas generating system and method with buffer tank
KR1020197024820A KR20190105241A (ko) 2017-02-03 2017-06-28 버퍼 탱크를 이용한 수소 가스 발생 시스템 및 방법
BR112019016094-9A BR112019016094B1 (pt) 2017-02-03 2017-06-28 Sistema gerador de gás hidrogênio e método com tanque tampão
CN201780054874.7A CN109982963B (zh) 2017-02-03 2017-06-28 设有缓冲罐的氢气生成系统和方法
US16/482,693 US20200002164A1 (en) 2017-02-03 2017-06-28 Hydrogen gas generating system and method with buffer tank
RU2019126861A RU2819780C2 (ru) 2017-02-03 2017-06-28 Способ генерирования газообразного водорода и система для его осуществления с буферной емкостью
PCT/MY2017/050033 WO2018143791A1 (en) 2017-02-03 2017-06-28 Hydrogen gas generating system and method with buffer tank
AU2017397577A AU2017397577A1 (en) 2017-02-03 2017-06-28 Hydrogen gas generating system and method with buffer tank
TW107100559A TW201840465A (zh) 2017-02-03 2018-01-05 氫氣產生系統及其產生方法
ZA2019/05622A ZA201905622B (en) 2017-02-03 2019-08-26 Hydrogen gas generating system and method with buffer tank

Applications Claiming Priority (1)

Application Number Priority Date Filing Date Title
PCT/MY2017/050007 WO2018143790A1 (en) 2017-02-03 2017-02-03 Hydrogen gas generating system and method thereof

Related Child Applications (1)

Application Number Title Priority Date Filing Date
US16/482,693 Continuation-In-Part US20200002164A1 (en) 2017-02-03 2017-06-28 Hydrogen gas generating system and method with buffer tank

Publications (1)

Publication Number Publication Date
WO2018143790A1 true WO2018143790A1 (en) 2018-08-09

Family

ID=63039894

Family Applications (2)

Application Number Title Priority Date Filing Date
PCT/MY2017/050007 Ceased WO2018143790A1 (en) 2017-02-03 2017-02-03 Hydrogen gas generating system and method thereof
PCT/MY2017/050033 Ceased WO2018143791A1 (en) 2017-02-03 2017-06-28 Hydrogen gas generating system and method with buffer tank

Family Applications After (1)

Application Number Title Priority Date Filing Date
PCT/MY2017/050033 Ceased WO2018143791A1 (en) 2017-02-03 2017-06-28 Hydrogen gas generating system and method with buffer tank

Country Status (13)

Country Link
US (1) US20200002164A1 (enExample)
EP (1) EP3577063A4 (enExample)
JP (1) JP2020506871A (enExample)
KR (1) KR20190105241A (enExample)
CN (1) CN109982963B (enExample)
AU (1) AU2017397577A1 (enExample)
CA (1) CA3052575A1 (enExample)
MX (1) MX2019008954A (enExample)
MY (1) MY201550A (enExample)
SG (1) SG11201907072WA (enExample)
TW (1) TW201840465A (enExample)
WO (2) WO2018143790A1 (enExample)
ZA (1) ZA201905622B (enExample)

Cited By (3)

* Cited by examiner, † Cited by third party
Publication number Priority date Publication date Assignee Title
WO2018143791A1 (en) 2017-02-03 2018-08-09 Galaxy Fct Sdn. Bhd. Hydrogen gas generating system and method with buffer tank
WO2020124227A1 (en) * 2018-12-21 2020-06-25 Hydrogen In Motion Inc. (H2M) Method for generating hydrogen from a nitrogen containing borane compound and active metal borohydride mixture
CN111439724A (zh) * 2020-05-12 2020-07-24 河南中氢动力研究院有限公司 制氢系统、装置及制氢方法

Families Citing this family (8)

* Cited by examiner, † Cited by third party
Publication number Priority date Publication date Assignee Title
FR3108796B1 (fr) * 2020-03-25 2022-08-19 Air Liquide Installation et procédé d’approvisionnement en hydrogène d’une pile à combustible
KR102347152B1 (ko) * 2020-04-13 2022-01-04 국방과학연구소 수소 발생기를 포함하는 고분자 전해질 연료 전지 시스템
CN111509269B (zh) * 2020-04-24 2021-09-14 艾氢技术(苏州)有限公司 一种可连续生氢发电装置
EP3930061A1 (en) * 2020-06-23 2021-12-29 Dens B.V. A hydrogen generation electricity system for producing electricity from hydrogen using a hydrogen carrier substance and a method for operating the hydrogen generation electricity system
CN111675193A (zh) * 2020-07-22 2020-09-18 河南中氢动力研究院有限公司 一种便携式自动稳压制氢设备
CN112250038B (zh) * 2020-09-16 2023-08-25 艾氢技术(苏州)有限公司 一种固体氢恒温反应氢气发生装置
CN112290067B (zh) * 2020-09-21 2023-11-17 艾氢技术(苏州)有限公司 一种基于固体氢的果酸催化水合生氢发电装置
CN114634157A (zh) * 2022-03-28 2022-06-17 西安交通大学 一种控制水解产氢速度的系统及其控制方法

Citations (5)

* Cited by examiner, † Cited by third party
Publication number Priority date Publication date Assignee Title
JP2007335144A (ja) * 2006-06-13 2007-12-27 Matsushita Electric Ind Co Ltd 非定置型燃料電池システム
JP2010235359A (ja) * 2009-03-30 2010-10-21 Hitachi Ltd 水素供給方法及び水素供給装置
JP2012036023A (ja) * 2010-08-04 2012-02-23 Hitachi Maxell Energy Ltd 液体収容容器、水素製造装置及び燃料電池システム
JP2015227257A (ja) * 2014-05-30 2015-12-17 Jx日鉱日石エネルギー株式会社 水素供給システム
JP2016041647A (ja) * 2014-08-15 2016-03-31 中強光電股▲ふん▼有限公司 水素生成装置及び発電設備

Family Cites Families (17)

* Cited by examiner, † Cited by third party
Publication number Priority date Publication date Assignee Title
US7938077B1 (en) * 1993-05-27 2011-05-10 The United States Of America As Represented By The Secretary Of The Navy Hydrogen generation apparatus for an underwater vehicle
US5593640A (en) * 1995-06-07 1997-01-14 Ball Corporation Portable hydrogen generator
US6737184B2 (en) * 2001-11-09 2004-05-18 Hydrogenics Corporation Chemical hydride hydrogen generation system and an energy system incorporating the same
US20060225350A1 (en) * 2005-01-28 2006-10-12 John Spallone Systems and methods for controlling hydrogen generation
US7666386B2 (en) * 2005-02-08 2010-02-23 Lynntech Power Systems, Ltd. Solid chemical hydride dispenser for generating hydrogen gas
US7951349B2 (en) * 2006-05-08 2011-05-31 The California Institute Of Technology Method and system for storing and generating hydrogen
WO2008014460A2 (en) * 2006-07-27 2008-01-31 Trulite, Inc. Apparatus, system, and method for generating hydrogen from a chemical hydride
US8609054B2 (en) * 2007-05-18 2013-12-17 Enerfuel, Inc. Hydrogen production from borohydrides and glycerol
WO2008151367A1 (en) * 2007-06-12 2008-12-18 Alternative Energy International Ltd A system for production of hydrogen
JP5186824B2 (ja) * 2007-07-18 2013-04-24 株式会社豊田中央研究所 水素発生装置
TWI371427B (en) * 2009-03-13 2012-09-01 Ind Tech Res Inst Solid state hydrogen fuel with polymer matrix and fabrication methods thereof
CN103121663A (zh) * 2011-11-18 2013-05-29 扬光绿能股份有限公司 氢气产生设备
SG2013022967A (en) * 2013-03-25 2014-10-30 Horizon Energy Systems Pte Ltd Method and generator for hydrogen production
JP2016064935A (ja) * 2014-09-22 2016-04-28 渡邊 真理子 水素デリバリーシステム、そのための水素ステーションおよび水素発生設備
JP6295340B2 (ja) * 2014-10-28 2018-03-14 日産自動車株式会社 燃料電池システム
JP6135645B2 (ja) * 2014-11-13 2017-05-31 トヨタ自動車株式会社 燃料電池システム
WO2018143790A1 (en) 2017-02-03 2018-08-09 Galaxy Fct Sdn. Bhd. Hydrogen gas generating system and method thereof

Patent Citations (5)

* Cited by examiner, † Cited by third party
Publication number Priority date Publication date Assignee Title
JP2007335144A (ja) * 2006-06-13 2007-12-27 Matsushita Electric Ind Co Ltd 非定置型燃料電池システム
JP2010235359A (ja) * 2009-03-30 2010-10-21 Hitachi Ltd 水素供給方法及び水素供給装置
JP2012036023A (ja) * 2010-08-04 2012-02-23 Hitachi Maxell Energy Ltd 液体収容容器、水素製造装置及び燃料電池システム
JP2015227257A (ja) * 2014-05-30 2015-12-17 Jx日鉱日石エネルギー株式会社 水素供給システム
JP2016041647A (ja) * 2014-08-15 2016-03-31 中強光電股▲ふん▼有限公司 水素生成装置及び発電設備

Cited By (5)

* Cited by examiner, † Cited by third party
Publication number Priority date Publication date Assignee Title
WO2018143791A1 (en) 2017-02-03 2018-08-09 Galaxy Fct Sdn. Bhd. Hydrogen gas generating system and method with buffer tank
WO2020124227A1 (en) * 2018-12-21 2020-06-25 Hydrogen In Motion Inc. (H2M) Method for generating hydrogen from a nitrogen containing borane compound and active metal borohydride mixture
US11760628B2 (en) 2018-12-21 2023-09-19 Hydrogen In Motion Inc. (H2M) Method for generating hydrogen from a nitrogen containing borane compound and active metal borohydride mixture
CN111439724A (zh) * 2020-05-12 2020-07-24 河南中氢动力研究院有限公司 制氢系统、装置及制氢方法
CN111439724B (zh) * 2020-05-12 2023-12-19 河南中氢动力研究院有限公司 制氢系统、装置及制氢方法

Also Published As

Publication number Publication date
JP2020506871A (ja) 2020-03-05
AU2017397577A1 (en) 2019-09-19
CN109982963B (zh) 2023-04-04
KR20190105241A (ko) 2019-09-16
MX2019008954A (es) 2019-09-10
SG11201907072WA (en) 2019-08-27
ZA201905622B (en) 2020-05-27
CN109982963A (zh) 2019-07-05
EP3577063A1 (en) 2019-12-11
EP3577063A4 (en) 2020-12-02
BR112019016094A2 (pt) 2020-04-14
RU2019126861A3 (enExample) 2021-03-03
US20200002164A1 (en) 2020-01-02
RU2019126861A (ru) 2021-03-03
TW201840465A (zh) 2018-11-16
CA3052575A1 (en) 2018-08-09
WO2018143791A1 (en) 2018-08-09
MY201550A (en) 2024-02-28

Similar Documents

Publication Publication Date Title
WO2018143790A1 (en) Hydrogen gas generating system and method thereof
Liu et al. Hydrogen as a carrier of renewable energies toward carbon neutrality: State-of-the-art and challenging issues
Monteiro et al. Hydrogen supply chain: Current status and prospects
US20070217972A1 (en) Apparatus for production of hydrogen
CN105814241A (zh) 用于存储和释放能量的设备和方法
CN105720285B (zh) 一种封闭式燃料电池氢源系统
CN109638324A (zh) 针对多种碳氢燃料的一体化多套管结构的纯氢催化装置及pemfc发电系统
JP2025069227A (ja) 電源
WO2007100546A2 (en) Composite fuels for hydrogen generation
CN201777878U (zh) 一种微型化学制氢器
CN101330145A (zh) 便携式燃料电池系统
CN112174089B (zh) 一种用于密闭环境的有机液体供氢系统
KR20220114182A (ko) 하이브리드 탈수소화 반응 시스템
CN108400618A (zh) 一种利用电解制氢进行火电厂调峰的系统和方法
CN108110279A (zh) 可移动式甲醇重组燃料电池系统
JP2006298670A (ja) 水素発生方法及びその装置、並びに電気化学エネルギー生成方法及びそのシステム
CN201154897Y (zh) 一种简易型便携式氢气发生器
US8828108B2 (en) Apparatus, system, and method for producing energy using a stream of liquid alkali metal
CN105762383A (zh) 一种二氧化碳循环式水氢动力汽车
RU2819780C2 (ru) Способ генерирования газообразного водорода и система для его осуществления с буферной емкостью
CA2444313A1 (en) Chemical hydride hydrogen generation system and an energy system incorporating the same
CN105258265A (zh) 一种水氢加湿器
KR102190936B1 (ko) 선박
JP2007317496A (ja) 燃料電池発電システム
KR102438232B1 (ko) 수소공급 카트리지를 포함하는 소형 연료전지 기반 구명동의

Legal Events

Date Code Title Description
121 Ep: the epo has been informed by wipo that ep was designated in this application

Ref document number: 17895394

Country of ref document: EP

Kind code of ref document: A1

NENP Non-entry into the national phase

Ref country code: DE

122 Ep: pct application non-entry in european phase

Ref document number: 17895394

Country of ref document: EP

Kind code of ref document: A1