WO2018138997A1 - 管継手 - Google Patents
管継手 Download PDFInfo
- Publication number
- WO2018138997A1 WO2018138997A1 PCT/JP2017/039572 JP2017039572W WO2018138997A1 WO 2018138997 A1 WO2018138997 A1 WO 2018138997A1 JP 2017039572 W JP2017039572 W JP 2017039572W WO 2018138997 A1 WO2018138997 A1 WO 2018138997A1
- Authority
- WO
- WIPO (PCT)
- Prior art keywords
- joint
- female joint
- sleeve
- seal
- female
- Prior art date
- Legal status (The legal status is an assumption and is not a legal conclusion. Google has not performed a legal analysis and makes no representation as to the accuracy of the status listed.)
- Ceased
Links
Images
Classifications
-
- F—MECHANICAL ENGINEERING; LIGHTING; HEATING; WEAPONS; BLASTING
- F16—ENGINEERING ELEMENTS AND UNITS; GENERAL MEASURES FOR PRODUCING AND MAINTAINING EFFECTIVE FUNCTIONING OF MACHINES OR INSTALLATIONS; THERMAL INSULATION IN GENERAL
- F16L—PIPES; JOINTS OR FITTINGS FOR PIPES; SUPPORTS FOR PIPES, CABLES OR PROTECTIVE TUBING; MEANS FOR THERMAL INSULATION IN GENERAL
- F16L37/00—Couplings of the quick-acting type
- F16L37/28—Couplings of the quick-acting type with fluid cut-off means
- F16L37/30—Couplings of the quick-acting type with fluid cut-off means with fluid cut-off means in each of two pipe-end fittings
- F16L37/32—Couplings of the quick-acting type with fluid cut-off means with fluid cut-off means in each of two pipe-end fittings at least one of two lift valves being opened automatically when the coupling is applied
- F16L37/34—Couplings of the quick-acting type with fluid cut-off means with fluid cut-off means in each of two pipe-end fittings at least one of two lift valves being opened automatically when the coupling is applied at least one of the lift valves being of the sleeve type, i.e. a sleeve being telescoped over an inner cylindrical wall
-
- F—MECHANICAL ENGINEERING; LIGHTING; HEATING; WEAPONS; BLASTING
- F16—ENGINEERING ELEMENTS AND UNITS; GENERAL MEASURES FOR PRODUCING AND MAINTAINING EFFECTIVE FUNCTIONING OF MACHINES OR INSTALLATIONS; THERMAL INSULATION IN GENERAL
- F16L—PIPES; JOINTS OR FITTINGS FOR PIPES; SUPPORTS FOR PIPES, CABLES OR PROTECTIVE TUBING; MEANS FOR THERMAL INSULATION IN GENERAL
- F16L37/00—Couplings of the quick-acting type
- F16L37/22—Couplings of the quick-acting type in which the connection is maintained by means of balls, rollers or helical springs under radial pressure between the parts
- F16L37/23—Couplings of the quick-acting type in which the connection is maintained by means of balls, rollers or helical springs under radial pressure between the parts by means of balls
Definitions
- the present invention relates to a pipe joint.
- a pipe joint that includes a male joint and a female joint and is connected by inserting the male joint into the female joint is disclosed (for example, Patent Document 1).
- the female joint disclosed in Patent Document 1 is capable of moving back and forth while sealing the center shaft, the main poppet disposed rearward and rearward of the center shaft head, and the outer periphery of the center shaft head and the main poppet. It consists of subpoppets arranged.
- the female joint is opened when the sub poppet moves backward while sealing the outer periphery of the center shaft, and pushes down the main poppet.
- An object of the present invention is to provide a pipe joint provided with a female joint that can more reliably prevent fluid leakage.
- the pipe joint according to the present invention is a pipe joint including a female joint and a male joint inserted into the female joint.
- the female joint is provided in the female joint body and the female joint body, and includes a first orifice.
- the sleeve includes a first seal portion that seals between the distribution pipe when the first orifice is closed, and the distribution pipe is sealed with the first seal portion; And a tapered surface inclined with respect to the axial direction from the base end side toward the first seal surface.
- the female joint can close the first orifice by the first seal portion coming into contact with the tapered surface before the first seal surface. Therefore, the female joint can reliably prevent fluid leakage even when the sleeve does not return completely to the origin.
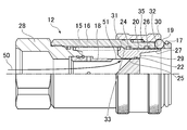
- a pipe joint 10 shown in FIG. 1 is a quick joint including a female joint 12 and a male joint 14 inserted into the female joint 12.
- the female joint 12 is made of a metal female joint body 16, a distribution pipe 18 provided in the female joint body 16, and between the female joint body 16 and the distribution pipe 18. And a sleeve 20 that opens and closes the first orifice 51.
- the female joint body 16 has a first cap 28 at the proximal end and an operating body 30 at the distal end.
- the female joint body 16 is a cylindrical member, and a female screw is formed on the inner peripheral surface of the base end.
- the first cap 28 has a male screw formed on the outer peripheral surface thereof, and is fixed to the female joint body 16 by being screwed into the female screw.
- a snap ring 17 is attached to the outer peripheral surface at the tip of the female joint body 16.
- the operating body 30 contacts the snap ring 17 and is held by the female joint body 16.
- the operating body 30 is pressed in the distal direction by a coil spring 35 as an elastic part provided between the female joint body 16.
- the female joint body 16 has a through hole 32 penetrating in the thickness direction on the distal end side, and a sphere 19 fitted in the through hole 32.
- the through hole 32 has a tapered shape from the outer side to the inner side of the female joint body 16 so that the sphere 19 does not drop out to the inner side of the female joint body 16.
- the distribution pipe 18 is a columnar member and has a flow path 50 penetrating from the center of the base end toward the first orifice 51 on the side surface on the other end side.
- the proximal end of the distribution pipe 18 is fixed to the first cap 28.
- the sleeve 20 is a cylindrical member, and is formed between the first inner periphery 25, the second inner periphery 27 having a larger inner diameter than the first inner periphery 25, and the first inner periphery 25 and the second inner periphery 27. Abutting portion 29.
- the sleeve 20 is pressed against the distal end side of the female joint body 16 by a coil spring 15 as an elastic part provided between the sleeve 20 and the first cap 28.
- the sleeve 20 is held in the female joint body 16 by the claw 31 provided on the outer peripheral surface contacting the first annular protrusion 33 provided on the inner peripheral surface of the female joint body 16.
- the space between the sleeve 20 and the female joint body 16 is sealed by a third seal portion 24 provided on the inner peripheral surface of the female joint body 16.
- the third seal portion 24 is always in contact with the outer peripheral surface of the sleeve 20 in the entire stroke in which the sleeve 20 moves in the axial direction.
- a fourth seal portion 26 is provided further to the distal end side than the third seal portion 24.
- the fourth seal portion 26 is in contact with a seal surface of a male joint main body 34 described later.
- the fourth seal portion 26 is not in contact with the outer peripheral surface of the sleeve 20.
- the seal portion is preferably a squeeze packing.
- an O-ring, a D-shaped D-ring, an X-shaped X-ring, or a T-shaped T-ring can be used.
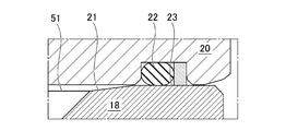
- the distribution pipe 18 has a first seal surface 23 at the tip, and a tapered surface 21 between the first seal surface 23 and the first orifice 51.
- the tapered surface 21 is inclined with respect to the axial direction from the proximal end side toward the first seal surface 23.
- a first seal portion 22 that contacts at least a part of the tapered surface 21 and the first seal surface 23 is provided on the inner peripheral surface of the sleeve 20.
- the sleeve 20 closes the first orifice 51 when the first seal portion 22 contacts a part of the tapered surface 21 or the first seal surface 23.
- the sleeve 20 moves to the proximal end side, and the first seal 51 is separated from the tapered surface 21 to open the first orifice 51.
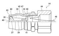
- the male joint 14 includes a metal male joint body 34 and a valve body 36 that is provided in the male joint body 34 and opens and closes the second orifice 49.
- the male joint body 34 has a valve body 36 at the distal end and a second cap 44 at the proximal end.
- the male joint main body 34 is a cylindrical member, and has an outer peripheral seal surface 45 and an annular recess 47 on the outer periphery, and a female screw is formed on the inner peripheral surface of the base end.
- the second cap 44 has a male screw formed on the outer peripheral surface thereof, and is fixed to the male joint main body 34 by being screwed into the female screw.
- the valve body 36 has a disc-shaped valve portion 37 and a shaft portion 39 formed coaxially with the valve portion 37, and is provided between a holder portion 46 fixed to the male joint body 34.
- the coil spring 38 as a part is pressed in the tip direction.
- the holder portion 46 includes a support hole 41 that supports the shaft portion 39 so as to be movable in the axial direction, and a passage that passes through the male joint body 34 in the axial direction, although not shown.
- the inner peripheral surface of the male joint body 34 has a tapered shape toward the tip, and a second annular projection 43 and an axial direction toward the second annular projection 43 are formed at the tip. And an inclined second seal surface 42.
- the valve body 36 is held in the male joint main body 34 by contacting the second annular protrusion 43.
- the valve body 36 has a second seal portion 40 that contacts the second seal surface 42 on the outer periphery. The valve body 36 closes the second orifice 49 when the second seal portion 40 contacts the second seal surface 42.
- the first cap 28 and the second cap 44 each have a female screw on the inner peripheral surface, and are connected to a tube (not shown).
- the sleeve 20 is in a position on the tip side of the female joint body 16 (hereinafter also referred to as the origin), and the first seal portion 22 is the first pipe 18 of the distribution pipe 18.
- the first orifice 51 is closed by being in contact with the one seal surface 23 to prevent fluid leakage.
- valve body 36 In the male joint 14, the valve body 36 is in a position on the distal end side of the male joint main body 34 (hereinafter also referred to as the origin), and the second seal portion 40 is in contact with the second seal surface 42, thereby Orifice 49 is closed to prevent fluid leakage.
- the tip of the male joint body 34 comes into contact with the abutting portion 29 of the sleeve 20.
- the sleeve 20 is retracted by the male joint body 34.
- the first orifice 51 is opened by the first seal portion 22 leaving the first seal surface 23.
- the third seal portion 24 is in contact with the outer peripheral surface of the sleeve 20, and in the male joint 14, the fourth seal portion 26 is in contact with the outer peripheral seal surface 45. In this way, the pipe joint 10 prevents fluid leakage.
- the tip of the distribution pipe 18 contacts the valve body 36, and the valve body 36 moves backward.
- the second seal portion 40 is separated from the second seal surface 42, the second orifice 49 is opened.
- the sleeve 20 stops when the rear end reaches the stopper 53 of the distribution pipe 18.
- the sphere 19 moves inward in the radial direction and a part thereof enters the annular recess 47.
- the operating body 30 can move forward.
- the sphere 19 is fixed, and the male joint 14 and the female joint 12 are fixed in a connected state. In this way, in the pipe joint 10, the female joint 12 and the male joint 14 are connected, and the flow paths 48 and 50 are connected.
- the operating body 30 is moved to the base end side. Then, the sphere 19 can move in the radial direction of the female joint body 16. Next, when the male joint 14 is pulled out from the female joint 12, the male joint 14 moves while pushing out the sphere 19 in the radial direction.
- the sleeve 20 advances until the claw 31 comes into contact with the first annular protrusion 33 of the female joint body 16 while the abutting portion 29 is in contact with the tip of the male joint 14. At this time, the first seal portion 22 passes through the first orifice 51 and reaches the first seal surface 23.
- the sleeve 20 is brought into contact with the first annular protrusion 33 by the contact resistance generated between the first seal portion 22 and the first seal surface 23, that is, the first The one seal portion 22 stops before the origin where it contacts the first seal surface 23.
- the female joint 12 can close the first orifice 51 by the first seal portion 22 coming into contact with the tapered surface 21 in front of the first seal surface 23. Accordingly, the female joint 12 can reliably prevent fluid leakage even when the sleeve 20 does not return completely to the origin.
- the valve element 36 advances while being in contact with the tip of the distribution pipe 18. Since the second seal surface 42 is inclined with respect to the axial direction, even if the valve body 36 stops before contacting the second annular protrusion 43, that is, before the origin, the second seal portion 40 is second. The second orifice 49 can be closed by contacting the sealing surface 42. Therefore, the male joint 14 can reliably prevent fluid leakage even when the valve body 36 does not completely return to the origin.
- the third seal portion 24 is always in contact with the outer peripheral surface of the sleeve 20 in the entire stroke in which the sleeve 20 moves in the axial direction, foreign matter is prevented from being mixed with the outer peripheral surface of the sleeve 20. It is possible to more reliably prevent fluid from leaking between the female joint body 16 and the sleeve 20.
- the female joint 12 Since the female joint 12 has the fourth seal portion 26 that contacts the outer peripheral seal surface 45 of the male joint 14 separately from the third seal portion 24, one operation is performed when the male joint 14 is connected to or separated from the male joint 14.
- the seal portion does not cross the contact surfaces of the female joint 12 and the male joint 14. Therefore, the pipe joint 10 can more reliably prevent fluid leakage during the operation of connecting to or separating from the male joint 14.
- the fourth seal portion 26 does not need to seal the outer peripheral surface of the sleeve 20.
- the fourth seal portion 26 since the fourth seal portion 26 is not in contact with the outer peripheral surface of the sleeve 20, the friction resistance when the sleeve 20 moves in the axial direction can be reduced.
- the present invention is not limited to the above-described embodiment, and can be appropriately changed within the scope of the gist of the present invention.
Landscapes
- Engineering & Computer Science (AREA)
- General Engineering & Computer Science (AREA)
- Mechanical Engineering (AREA)
- Quick-Acting Or Multi-Walled Pipe Joints (AREA)
Priority Applications (2)
| Application Number | Priority Date | Filing Date | Title |
|---|---|---|---|
| CN201780083739.5A CN110177971A (zh) | 2017-01-30 | 2017-11-01 | 管接头 |
| US16/481,510 US20190368642A1 (en) | 2017-01-30 | 2017-11-01 | Pipe joint |
Applications Claiming Priority (2)
| Application Number | Priority Date | Filing Date | Title |
|---|---|---|---|
| JP2017-014328 | 2017-01-30 | ||
| JP2017014328A JP2018123848A (ja) | 2017-01-30 | 2017-01-30 | 管継手 |
Publications (1)
| Publication Number | Publication Date |
|---|---|
| WO2018138997A1 true WO2018138997A1 (ja) | 2018-08-02 |
Family
ID=62978253
Family Applications (1)
| Application Number | Title | Priority Date | Filing Date |
|---|---|---|---|
| PCT/JP2017/039572 Ceased WO2018138997A1 (ja) | 2017-01-30 | 2017-11-01 | 管継手 |
Country Status (4)
| Country | Link |
|---|---|
| US (1) | US20190368642A1 (enExample) |
| JP (1) | JP2018123848A (enExample) |
| CN (1) | CN110177971A (enExample) |
| WO (1) | WO2018138997A1 (enExample) |
Cited By (2)
| Publication number | Priority date | Publication date | Assignee | Title |
|---|---|---|---|---|
| EP3971463A4 (en) * | 2019-07-17 | 2022-06-15 | Huawei Technologies Co., Ltd. | CONNECTOR, COOLING SYSTEM AND COMPUTER DEVICE |
| US20230144687A1 (en) * | 2020-04-16 | 2023-05-11 | Nitta Corporation | Male joint and pipe joint |
Families Citing this family (11)
| Publication number | Priority date | Publication date | Assignee | Title |
|---|---|---|---|---|
| JP2020000585A (ja) * | 2018-06-29 | 2020-01-09 | 株式会社三洋物産 | 遊技機 |
| JP2020000571A (ja) * | 2018-06-29 | 2020-01-09 | 株式会社三洋物産 | 遊技機 |
| JP2020000569A (ja) * | 2018-06-29 | 2020-01-09 | 株式会社三洋物産 | 遊技機 |
| JP2020000587A (ja) * | 2018-06-29 | 2020-01-09 | 株式会社三洋物産 | 遊技機 |
| JP2020000570A (ja) * | 2018-06-29 | 2020-01-09 | 株式会社三洋物産 | 遊技機 |
| JP2020000572A (ja) * | 2018-06-29 | 2020-01-09 | 株式会社三洋物産 | 遊技機 |
| JP2020000586A (ja) * | 2018-06-29 | 2020-01-09 | 株式会社三洋物産 | 遊技機 |
| JP7078492B2 (ja) * | 2018-08-24 | 2022-05-31 | 日東工器株式会社 | 管継手 |
| JP2020108425A (ja) * | 2018-12-28 | 2020-07-16 | 株式会社三洋物産 | 遊技機 |
| JP2020137957A (ja) * | 2019-03-01 | 2020-09-03 | 株式会社三洋物産 | 遊技機 |
| CN217272655U (zh) * | 2022-03-25 | 2022-08-23 | 深圳市英维克智能连接技术有限公司 | 一种流体连接器及储能散热系统 |
Citations (4)
| Publication number | Priority date | Publication date | Assignee | Title |
|---|---|---|---|---|
| EP0082922A1 (de) * | 1981-12-04 | 1983-07-06 | Carl Kurt Walther GmbH & Co. KG | Schnellverschlusskupplung |
| DE4114465A1 (de) * | 1990-05-05 | 1991-11-07 | Voswinkel Kg | Nehmerseitiges kupplungsteil einer hydraulik-steckkupplung |
| JPH11501715A (ja) * | 1995-11-20 | 1999-02-09 | エアロクイップ コーポレイション | 低漏洩雌継手 |
| JP2013068286A (ja) * | 2011-09-22 | 2013-04-18 | Nagahori Industry Co Ltd | 流体継手 |
Family Cites Families (20)
| Publication number | Priority date | Publication date | Assignee | Title |
|---|---|---|---|---|
| US2485006A (en) * | 1947-05-09 | 1949-10-18 | Aeroquip Corp | Coupling |
| US2648548A (en) * | 1948-09-02 | 1953-08-11 | Albert T Scheiwer | Valved pipe coupling |
| US3525361A (en) * | 1967-12-11 | 1970-08-25 | Weatherhead Co | Quick disconnect coupling |
| JPS576873Y2 (enExample) * | 1976-03-05 | 1982-02-09 | ||
| US4086939A (en) * | 1976-09-03 | 1978-05-02 | Snap-Tite, Inc. | Coupling assembly |
| DE3904098A1 (de) * | 1989-02-11 | 1990-08-16 | Voswinkel Kg | Leckarme hydraulik-kupplung |
| CN2095994U (zh) * | 1990-10-05 | 1992-02-12 | 四川航空液压机械厂 | 空调和制冷用自密封接头 |
| JP2578335Y2 (ja) * | 1993-02-03 | 1998-08-13 | 日東工器株式会社 | 管継手用バルブ |
| AU4854596A (en) * | 1995-01-06 | 1996-07-24 | Colder Products Company | Low spill high flow quick coupling valve assembly |
| JP3931176B2 (ja) * | 2003-01-31 | 2007-06-13 | 株式会社ニューマシン | 管継手 |
| JP4273487B2 (ja) * | 2003-08-27 | 2009-06-03 | Smc株式会社 | 管継手 |
| JP4499553B2 (ja) * | 2004-12-28 | 2010-07-07 | 日東工器株式会社 | 管継手の継手部材 |
| CN2937750Y (zh) * | 2006-08-15 | 2007-08-22 | 湖北新叶液压机械股份有限公司 | 液压平头快换接头 |
| JP3909339B1 (ja) * | 2006-11-17 | 2007-04-25 | 日東工器株式会社 | 管継手の継手部材 |
| FR2913089B1 (fr) * | 2007-02-22 | 2010-11-26 | Staubli Sa Ets | Element de raccord a soupape d'obturation et raccord incorporant un tel element |
| DE102007025787A1 (de) * | 2007-05-24 | 2008-11-27 | Faster S.P.A. | Rohrkupplung, Verfahren zum Rohrkuppeln, und zur Selbstreinigung von Kupplungshälften beim Rohrkuppeln |
| JP4912375B2 (ja) * | 2007-09-28 | 2012-04-11 | 長堀工業株式会社 | 流体継手 |
| JP5566759B2 (ja) * | 2010-04-19 | 2014-08-06 | 株式会社鷺宮製作所 | 弁付き配管継手 |
| FR2984990B1 (fr) * | 2011-12-23 | 2014-02-28 | Staubli Sa Ets | Raccord destine a realiser la jonction amovible de deux canalisations de fluide |
| EP3258157B1 (en) * | 2015-02-13 | 2020-08-12 | Nitto Kohki Co., Ltd. | Emergency detachable pipe joint |
-
2017
- 2017-01-30 JP JP2017014328A patent/JP2018123848A/ja active Pending
- 2017-11-01 CN CN201780083739.5A patent/CN110177971A/zh active Pending
- 2017-11-01 US US16/481,510 patent/US20190368642A1/en not_active Abandoned
- 2017-11-01 WO PCT/JP2017/039572 patent/WO2018138997A1/ja not_active Ceased
Patent Citations (4)
| Publication number | Priority date | Publication date | Assignee | Title |
|---|---|---|---|---|
| EP0082922A1 (de) * | 1981-12-04 | 1983-07-06 | Carl Kurt Walther GmbH & Co. KG | Schnellverschlusskupplung |
| DE4114465A1 (de) * | 1990-05-05 | 1991-11-07 | Voswinkel Kg | Nehmerseitiges kupplungsteil einer hydraulik-steckkupplung |
| JPH11501715A (ja) * | 1995-11-20 | 1999-02-09 | エアロクイップ コーポレイション | 低漏洩雌継手 |
| JP2013068286A (ja) * | 2011-09-22 | 2013-04-18 | Nagahori Industry Co Ltd | 流体継手 |
Cited By (5)
| Publication number | Priority date | Publication date | Assignee | Title |
|---|---|---|---|---|
| EP3971463A4 (en) * | 2019-07-17 | 2022-06-15 | Huawei Technologies Co., Ltd. | CONNECTOR, COOLING SYSTEM AND COMPUTER DEVICE |
| EP4403814A3 (en) * | 2019-07-17 | 2024-09-11 | Huawei Technologies Co., Ltd. | Joint, cooling system, and computer apparatus |
| US12253199B2 (en) | 2019-07-17 | 2025-03-18 | Huawei Technologies Co., Ltd. | Joint, cooling system, and computer apparatus |
| US20230144687A1 (en) * | 2020-04-16 | 2023-05-11 | Nitta Corporation | Male joint and pipe joint |
| US12000516B2 (en) * | 2020-04-16 | 2024-06-04 | Nitta Corporation | Male joint and pipe joint |
Also Published As
| Publication number | Publication date |
|---|---|
| CN110177971A (zh) | 2019-08-27 |
| JP2018123848A (ja) | 2018-08-09 |
| US20190368642A1 (en) | 2019-12-05 |
Similar Documents
| Publication | Publication Date | Title |
|---|---|---|
| WO2018138997A1 (ja) | 管継手 | |
| KR101482890B1 (ko) | 유체 커플링 | |
| US6681803B2 (en) | Socket and plug attachment mechanism for tube joint | |
| JP4596281B2 (ja) | 管継手 | |
| US9739367B2 (en) | Transmission anti-leak valve | |
| US11067208B2 (en) | Flat face female hydraulic coupling | |
| JP4036817B2 (ja) | 管継手の継手部材及び継手部材で用いられる弁体 | |
| US20130037141A1 (en) | Transmission anti-leak valve | |
| JP6360773B2 (ja) | ヒューズ付きガス栓 | |
| JP6276558B2 (ja) | 管継手 | |
| JP4540777B2 (ja) | 流体継手 | |
| JP4224120B1 (ja) | カップリング装置用のソケット | |
| JP2009281396A (ja) | プラグとソケットとの封止構造 | |
| JP6305118B2 (ja) | ヒューズ付きガス栓 | |
| JP5735024B2 (ja) | 管継手 | |
| JP4976175B2 (ja) | ガス供給接続具 | |
| JP5297728B2 (ja) | ガス用ソケット | |
| JP2010065764A (ja) | ガス用ソケット | |
| JP6265785B2 (ja) | ヒューズ付きガス栓 | |
| JP5204621B2 (ja) | プラグとソケットとの封止構造 | |
| KR20230008091A (ko) | 수형 조인트 및 관 조인트 | |
| JP5869090B2 (ja) | 管継手 | |
| JP5671252B2 (ja) | 管継手 | |
| JP2013249882A (ja) | 管体シール構造、及び、管継手 | |
| JP2007100811A (ja) | 管用継手 |
Legal Events
| Date | Code | Title | Description |
|---|---|---|---|
| 121 | Ep: the epo has been informed by wipo that ep was designated in this application |
Ref document number: 17894559 Country of ref document: EP Kind code of ref document: A1 |
|
| NENP | Non-entry into the national phase |
Ref country code: DE |
|
| 122 | Ep: pct application non-entry in european phase |
Ref document number: 17894559 Country of ref document: EP Kind code of ref document: A1 |