WO2018123820A1 - 突起形成方法および機械 - Google Patents

突起形成方法および機械 Download PDF

Info

Publication number
WO2018123820A1
WO2018123820A1 PCT/JP2017/045992 JP2017045992W WO2018123820A1 WO 2018123820 A1 WO2018123820 A1 WO 2018123820A1 JP 2017045992 W JP2017045992 W JP 2017045992W WO 2018123820 A1 WO2018123820 A1 WO 2018123820A1
Authority
WO
WIPO (PCT)
Prior art keywords
levee
layer
beads
protrusion
forming
Prior art date
Legal status (The legal status is an assumption and is not a legal conclusion. Google has not performed a legal analysis and makes no representation as to the accuracy of the status listed.)
Ceased
Application number
PCT/JP2017/045992
Other languages
English (en)
French (fr)
Japanese (ja)
Inventor
裕也 行徳
遼 森橋
雄斗 坂根
大河 藤田
裕貴 小野
勇人 岩崎
Current Assignee (The listed assignees may be inaccurate. Google has not performed a legal analysis and makes no representation or warranty as to the accuracy of the list.)
Kawasaki Heavy Industries Ltd
Kawasaki Motors Ltd
Original Assignee
Kawasaki Heavy Industries Ltd
Kawasaki Jukogyo KK
Priority date (The priority date is an assumption and is not a legal conclusion. Google has not performed a legal analysis and makes no representation as to the accuracy of the date listed.)
Filing date
Publication date
Application filed by Kawasaki Heavy Industries Ltd, Kawasaki Jukogyo KK filed Critical Kawasaki Heavy Industries Ltd
Priority to US16/474,373 priority Critical patent/US11420291B2/en
Priority to EP17888881.4A priority patent/EP3563966B1/en
Publication of WO2018123820A1 publication Critical patent/WO2018123820A1/ja
Anticipated expiration legal-status Critical
Ceased legal-status Critical Current

Links

Images

Classifications

    • BPERFORMING OPERATIONS; TRANSPORTING
    • B23MACHINE TOOLS; METAL-WORKING NOT OTHERWISE PROVIDED FOR
    • B23KSOLDERING OR UNSOLDERING; WELDING; CLADDING OR PLATING BY SOLDERING OR WELDING; CUTTING BY APPLYING HEAT LOCALLY, e.g. FLAME CUTTING; WORKING BY LASER BEAM
    • B23K26/00Working by laser beam, e.g. welding, cutting or boring
    • B23K26/14Working by laser beam, e.g. welding, cutting or boring using a fluid stream, e.g. a jet of gas, in conjunction with the laser beam; Nozzles therefor
    • B23K26/144Working by laser beam, e.g. welding, cutting or boring using a fluid stream, e.g. a jet of gas, in conjunction with the laser beam; Nozzles therefor the fluid stream containing particles, e.g. powder
    • BPERFORMING OPERATIONS; TRANSPORTING
    • B23MACHINE TOOLS; METAL-WORKING NOT OTHERWISE PROVIDED FOR
    • B23KSOLDERING OR UNSOLDERING; WELDING; CLADDING OR PLATING BY SOLDERING OR WELDING; CUTTING BY APPLYING HEAT LOCALLY, e.g. FLAME CUTTING; WORKING BY LASER BEAM
    • B23K26/00Working by laser beam, e.g. welding, cutting or boring
    • B23K26/34Laser welding for purposes other than joining
    • B23K26/342Build-up welding
    • BPERFORMING OPERATIONS; TRANSPORTING
    • B23MACHINE TOOLS; METAL-WORKING NOT OTHERWISE PROVIDED FOR
    • B23KSOLDERING OR UNSOLDERING; WELDING; CLADDING OR PLATING BY SOLDERING OR WELDING; CUTTING BY APPLYING HEAT LOCALLY, e.g. FLAME CUTTING; WORKING BY LASER BEAM
    • B23K26/00Working by laser beam, e.g. welding, cutting or boring
    • B23K26/14Working by laser beam, e.g. welding, cutting or boring using a fluid stream, e.g. a jet of gas, in conjunction with the laser beam; Nozzles therefor
    • B23K26/1462Nozzles; Features related to nozzles
    • B23K26/1464Supply to, or discharge from, nozzles of media, e.g. gas, powder, wire
    • B23K26/1476Features inside the nozzle for feeding the fluid stream through the nozzle
    • BPERFORMING OPERATIONS; TRANSPORTING
    • B23MACHINE TOOLS; METAL-WORKING NOT OTHERWISE PROVIDED FOR
    • B23KSOLDERING OR UNSOLDERING; WELDING; CLADDING OR PLATING BY SOLDERING OR WELDING; CUTTING BY APPLYING HEAT LOCALLY, e.g. FLAME CUTTING; WORKING BY LASER BEAM
    • B23K26/00Working by laser beam, e.g. welding, cutting or boring
    • B23K26/20Bonding
    • B23K26/21Bonding by welding
    • BPERFORMING OPERATIONS; TRANSPORTING
    • B33ADDITIVE MANUFACTURING TECHNOLOGY
    • B33YADDITIVE MANUFACTURING, i.e. MANUFACTURING OF THREE-DIMENSIONAL [3-D] OBJECTS BY ADDITIVE DEPOSITION, ADDITIVE AGGLOMERATION OR ADDITIVE LAYERING, e.g. BY 3-D PRINTING, STEREOLITHOGRAPHY OR SELECTIVE LASER SINTERING
    • B33Y10/00Processes of additive manufacturing
    • BPERFORMING OPERATIONS; TRANSPORTING
    • B33ADDITIVE MANUFACTURING TECHNOLOGY
    • B33YADDITIVE MANUFACTURING, i.e. MANUFACTURING OF THREE-DIMENSIONAL [3-D] OBJECTS BY ADDITIVE DEPOSITION, ADDITIVE AGGLOMERATION OR ADDITIVE LAYERING, e.g. BY 3-D PRINTING, STEREOLITHOGRAPHY OR SELECTIVE LASER SINTERING
    • B33Y30/00Apparatus for additive manufacturing; Details thereof or accessories therefor
    • BPERFORMING OPERATIONS; TRANSPORTING
    • B23MACHINE TOOLS; METAL-WORKING NOT OTHERWISE PROVIDED FOR
    • B23KSOLDERING OR UNSOLDERING; WELDING; CLADDING OR PLATING BY SOLDERING OR WELDING; CUTTING BY APPLYING HEAT LOCALLY, e.g. FLAME CUTTING; WORKING BY LASER BEAM
    • B23K2103/00Materials to be soldered, welded or cut
    • B23K2103/08Non-ferrous metals or alloys
    • B23K2103/14Titanium or alloys thereof

Definitions

  • the present invention relates to a protrusion forming method using laser metal overlaying (hereinafter referred to as “LMD”).
  • LMD laser metal overlaying
  • the present invention also relates to a machine in which a product obtained by the projection forming method is incorporated as a part.
  • Patent Document 1 discloses a method of forming protrusions as shown in FIGS. 13A to 13D.
  • a plurality of first beads 121 are formed on the surface of the workpiece 110 by LMD so as to be separated from each other.
  • a plurality of second beads 122 are formed between the first beads 121 by LMD.
  • the first layer is formed.
  • FIGS. 13C and 13D similarly to the formation of the first bead 121 and the second bead 122, the third bead 123 and the second bead 124 are formed, and the raised layer is formed.
  • the present invention has an object to provide a protrusion forming method capable of forming a protrusion rising with a substantially constant width using an LMD, and a machine in which a product obtained by the protrusion forming method is incorporated as a part.
  • the projection forming method of the present invention is a method for forming projections on the surface of a work, and the first embankment is formed by LMD so as to surround the projection forming area on the surface of the work.
  • the flow of the molten part in the edge at the time of forming a 1st raising layer is the first layer It is suppressed by the 1st embankment via. Therefore, the periphery of the first raised layer can be made coincident with the periphery of the first layer.
  • a second levee is formed along the periphery of the first raised layer, and the second raised layer is laminated on the intermediate base layer formed to cover the second levee, so the second raised layer is formed.
  • the flow of the melted part at the edge during the suppression is suppressed by the second dyke through the intermediate base layer. Therefore, the periphery of the second raised layer can be made coincident with the periphery of the intermediate base layer. Thereby, it is possible to form a protrusion that rises with a substantially constant width.
  • Each of the first dike and the second dike may be annular. According to this configuration, columnar protrusions can be formed.
  • the workpiece has a cylindrical shape
  • the surface of the workpiece is an inner peripheral surface or an outer peripheral surface of the workpiece
  • the projection forming region has a ring shape continuous in a circumferential direction
  • the first levee and the second levee Each may include a pair of beads facing each other in the axial direction of the workpiece. According to this configuration, a flange-like protrusion can be formed.
  • the surface of the workpiece is conical, and the height of the large-diameter side bead among the pair of beads of the first levee may be higher than the height of the small-diameter side bead. According to this configuration, it is possible to form the protrusions favorably with respect to the conical surface.
  • At least two rows of beads may be formed inside the first levee. According to this configuration, it is possible to form a relatively wide protrusion.
  • the height of the first embankment may be 20% or more of the height of the at least two rows of beads.
  • a bead constituting the first layer and located immediately above a bead constituting the first levee may be formed so as to cover at least a vertex of the bead constituting the first levee.
  • the workpiece may be made of a titanium alloy.
  • the protrusion may be machined so that the first levee and the second levee are removed. According to this configuration, high strength can be ensured in the final convex portion that is cut out by machining the protrusion.
  • the machine of the present invention is characterized in that a product obtained by the above-described projection forming method is incorporated as a part.
  • FIG. 1A is a plan view of a work used in the protrusion forming method according to the first embodiment of the present invention
  • FIG. 1B is a side view of the work.
  • FIG. 2A is a plan view of the work after the first embankment is formed in the first embodiment
  • FIG. 2B is a cross-sectional view of the work along the line II-II in FIG. 2A. It is an expanded sectional view of the nozzle of an LMD device. It is sectional drawing of the workpiece
  • the protrusion forming method according to the first embodiment of the present invention is a method of forming a columnar protrusion 8A on the surface 11 of a work (product to be processed) 1 as shown in FIGS. 1A and 1B.
  • the protrusion 8A has a rectangular shape in plan view.
  • the protrusion 8A has a rectangular shape in plan view, but the protrusion 8A may have a square shape in plan view.
  • the protrusion 8A may have a shape other than a rectangular shape such as a circular shape or an elliptical shape in plan view.
  • the projection forming method of this embodiment includes a first levee forming step, an initial layer forming step, a first raised layer forming step, a second levee forming step, an intermediate base layer forming step, and a second raised layer forming step.
  • the protrusion 8A formed by the protrusion forming method of this embodiment has a laminated structure of at least four layers. Hereinafter, these steps will be described in detail.
  • the first dike 2 is formed by LMD so as to surround the protrusion formation region 12 (see FIG. 1A) on the surface 11 of the work 1.
  • the 1st embankment 2 is formed so that the outline of the projection formation area
  • region 12 may be traced from an inner side.
  • the 1st embankment 2 may be formed so that the outline of the projection formation area 12 may be traced from the outside.
  • the first levee 2 may be formed so as to trace the outline of the projection forming region 12.
  • the center line of the first levee 2 may coincide with the contour of the projection forming region 12. Since the protrusion 8A has a rectangular columnar shape in plan view, the protrusion forming region 12 has a rectangular shape, and the first levee 2 has an annular shape.
  • an LMD device as shown in FIG. 3 is used (the same applies to other processes).
  • the LMD device emits laser light 91 from the nozzle 9 to the surface 11 of the work 1 and injects the metal powder 92 while melting the surface 11.
  • the optical axis direction of the laser beam 91 is a vertical direction. In this way, four beads (long side beads 21 and 22 and short side beads 23 and 24) constituting the first levee 2 are formed.
  • the supply metal for LMD does not necessarily need to be the metal powder 92, and may be a wire, for example.
  • work 1 is not specifically limited,
  • work 1 consists of titanium alloys.
  • the supplied metal may have the same composition as the workpiece 1 or may have a different composition.
  • the supplied metal may be the same or different titanium alloy as the workpiece 1 or may be an alloy other than the titanium alloy.
  • the beads 21 to 24 constituting the first dike 2 are relatively small.
  • the beads 21 to 24 constituting the first levee 2 are desirably smaller than the beads 31 to 36 constituting the first layer 3 described later.
  • Such small beads 21 to 24 can be formed, for example, by reducing the laser output or reducing the supply amount of the supplied metal.
  • the initial layer 3 is formed by LMD so as to cover the first levee 2 on the protrusion formation region 12 (see FIG. 1A).
  • the first layer 3 is composed of a plurality of beads arranged in a plane.
  • the first layer 3 is formed by forming six beads 31 to 36 parallel to the long side beads 21 and 22 of the first levee 2. That is, the beads 31 and 36 located at both ends are located immediately above the long side beads 21 and 22 of the first levee 2.
  • the other four beads 32 to 35 are located inside the first levee 2.
  • the beads 31 to 36 may be parallel to the short-side beads 23 and 24 of the first levee 2. Further, the number of beads constituting the first layer 3 can be changed as appropriate.
  • the number of beads matches the number of columns, but they do not necessarily have to match.
  • a plurality of rows of beads may be formed by one bead (a zigzag bead or the like is assumed to have a single number but a plurality of rows).
  • the bead constituting the first layer 3 and located immediately above the bead constituting the first levee 2 is preferably formed so as to cover at least the apex of the bead constituting the first levee 2.
  • the beads 31 and 36 located at both ends of the first layer 3 are formed so as to cover at least the apexes of the long side beads 21 and 22 of the first levee 2.
  • all the beads 31 to 36 are formed under substantially the same LMD conditions from the viewpoint of quality. For this reason, the apexes of the beads 31 and 36 located at both ends are higher than the apexes of the beads 32 to 35 located inside the first levee 2. That is, the surface of the first layer 3 is raised toward the periphery.
  • the bead constituting the first layer 3 and located immediately above the bead constituting the first levee 2 has the center of the bead at the first levee 2. It is desirable that the bead is formed so as to be located on the inner side from a position that coincides with the center of the bead (in the present embodiment, the long side bead (21 or 22)). Thereby, the surface of the first layer 3 can be efficiently raised toward the periphery.
  • the bead located immediately above the bead constituting the first levee 2 is such that the outer edge of the bead coincides with the outer edge of the bead constituting the first levee 2. It may be formed.
  • FIG. 4 shows the case where the beads 31 to 36 are formed in order from the left side to the right side, but the formation order of the beads 31 to 36 is not limited to this.
  • the beads 31 and 36 located at both ends may be formed first, followed by the beads 32 and 35, and finally the beads 33 and 34.
  • the first raised layer 4 the intermediate base layer 6 and the second raised layer 7, which will be described later, in that the bead formation order is not limited to the example shown in FIG.
  • the height H1 of the first levee 2 is desirably 20% or more of the height H2 of the beads 32 to 35 located inside the first levee 2. This is because if H1 ⁇ 0.2 ⁇ H2, the bulge toward the periphery on the surface of the initial layer 3 may be insufficient.
  • the 1st embankment 2 may be made into the height of 0.2 * H2, for example, by piled up two beads of the height of 0.1 * H2. More preferably, the height H1 of the first levee 2 is 40% or more of the height H2 of the beads 32 to 35.
  • the height H1 of the first dyke 2 is preferably lower than the height H2 of the beads 32 to 35 located inside the first levee 2 (H1 ⁇ H2).
  • each first raised layer 4 is laminated on the initial layer 3 by LMD.
  • Each first raised layer 4 is composed of a plurality of beads arranged in a plane.
  • each first raised layer 4 is formed by forming six beads 41 to 46 parallel to the long-side beads 21 and 22 of the first levee 2, similarly to the first layer 3. That is, the beads 41 to 46 are positioned immediately above the beads 31 to 36 constituting the first layer 3 respectively.
  • the number of the first raised layers 4 is one, but the number of the first raised layers 4 may be plural.
  • the first raised layer 4 is formed so that the periphery of the first raised layer 4 coincides with the periphery of the first layer 3. That is, the first raised layer 4 and the first layer 3 are overlapped with substantially the same size.
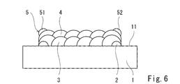
  • the 2nd embankment 5 is formed along the periphery of the 1st raising layer 4 by LMD.
  • the second bank 5 is formed so as to trace the outline of the first raised layer 4 from the inside.
  • the second levee 5 is annular like the first levee 2.
  • the bead composing the second dike 5 is relatively small.
  • the beads constituting the second levee 5 are desirably smaller than the beads 41 to 46 constituting the first raised layer 4 and the beads 61 to 66 constituting the intermediate base layer 6 described later.
  • the long side beads 51 and 52 of the second levee 5 cover only the outer portions of the beads 41 and 46 located at both ends of the first raised layer 4, and the inner portions of the beads 41 and 46 are exposed.
  • Such a small bead can be formed, for example, by reducing the output of the laser or reducing the supply amount of the supply metal.
  • At least the vertices of the long side beads 51 and 52 are located higher than the vertices of any of the beads 41 to 46 constituting the first raised layer 4.
  • the intermediate base layer 6 is formed on the first raised layer 4 so as to cover the second levee 5 by LMD.
  • the intermediate base layer 6 is composed of a plurality of beads arranged in a plane. More specifically, similar to the first layer 3, the intermediate base layer 6 is formed by forming six beads 61 to 66 parallel to the long side beads 21 and 22 of the first levee 2.
  • the beads 61 and 66 located at both ends are located immediately above the long side beads 51 and 52 of the second levee 5, and the other four beads 62 to 65 are located inside the second levee 5.
  • the bead positioned immediately above the beads constituting the second dyke 5 is preferably formed so as to cover at least the apex of the beads constituting the second dyke 5.
  • the beads 61 and 66 located at both ends of the intermediate base layer 6 are formed so as to cover at least the apexes of the long side beads 51 and 52 of the second levee 5.
  • all the beads 61 to 66 are formed under substantially the same LMD condition from the viewpoint of quality.
  • the apexes of the beads 61 and 66 located at both ends are higher than the apexes of the beads 62 to 65 located inside the second levee 5. That is, the surface of the intermediate base layer 6 is raised toward the periphery.
  • the beads (each of the beads 61 and 66 in the present embodiment) located immediately above the beads constituting the first dyke 2 have the second levee 5 at the center of the bead. It is desirable that the bead is formed so as to be located on the inner side from the position that coincides with the center of the bead (the long side bead (51 or 52) in the present embodiment). Thereby, the surface of the intermediate base layer 6 can be efficiently raised toward the periphery.
  • the bead positioned immediately above the bead constituting the second levee 5 is such that the outer edge of the bead coincides with the outer edge of the bead constituting the second levee 5. May be formed.
  • each second raised layer 7 is laminated on the intermediate base layer 6 by LMD.
  • Each second raised layer 7 is composed of a plurality of beads arranged in a plane.
  • each of the second raised layers 7 is formed by forming six beads 71 to 76 parallel to the long-side beads 21 and 22 of the first levee 2 as in the first layer 3. That is, the beads 71 to 76 are positioned directly above the beads 61 to 66 constituting the intermediate base layer 6, respectively.
  • the number of the second raised layers 7 is one, but the number of the second raised layers 7 may be plural.
  • the second raised layer 7 is formed so that the periphery of the second raised layer 7 coincides with the periphery of the intermediate base layer 6. That is, the second raised layer 7 and the intermediate base layer 6 are overlapped with substantially the same size.
  • the protrusion 8A can be formed. Moreover, if the 2nd embankment formation process, the intermediate
  • the workpiece 1 to which the protrusion 8A is added may be used as a product as it is. However, as shown by a two-dot chain line in FIG. 9, after the protrusion 8A is completed, the first dike 2 and the second dike 5 are removed.
  • the protrusion 8A may be machined. According to this configuration, it is possible to ensure high strength in the final convex portion that is cut out by machining the protrusion 8A.
  • the product having the protrusion 8A or the final protrusion may be incorporated into the machine as a part.
  • the first raised layer 4 is formed because the first raised layer 4 is laminated on the initial layer 3 formed so as to cover the first levee 2.
  • the flow of the melted part at the edge is suppressed by the first levee 2 through the first layer 3. Therefore, the periphery of the first raised layer 4 can be made coincident with the periphery of the first layer 3.
  • the second embankment 5 is formed along the peripheral edge of the first embankment layer 4, and the second embankment layer 7 is laminated on the intermediate base layer 6 formed so as to cover the second embankment 5.
  • the flow of the melted part at the edge when the two raised layers 7 are formed is suppressed by the second levee 5 via the intermediate base layer 6. Therefore, the periphery of the second raised layer 7 can be made coincident with the periphery of the intermediate base layer 6.
  • the surface of each layer (particularly, the first raised layer 4 and the second raised layer 7) can be kept almost flat, so that the focal point of the laser can be maintained on the surface of each layer.
  • the heat input to the surface of each layer is stabilized, and the undissolved portion or unmelted region of the supplied metal does not occur. Accordingly, the internal quality is stabilized without causing defects such as porosity due to unmelted supply metal.
  • FIG. 10 shows a protrusion 8A formed by repeating the second bank formation process, the intermediate base layer formation process, and the second raised layer formation process.
  • a cuboid-shaped protrusion 8A having a height of about 50 mm could be formed by using a total of 40 layers.
  • each layer is configured by linear beads that are parallel to each other, but the beads that configure each layer are not limited to a linear shape.
  • each layer may be formed of a plurality of concentric beads or a continuous spiral bead.
  • the first layer 3 is composed of a continuous spiral bead, if the bead circulates one or more times inside the first levee 2, there is only one bead, but the inside of the first levee 2 Thus, two or more rows of beads are formed.
  • the protrusion forming method according to the second embodiment of the present invention is a method of forming a flange-shaped protrusion 8B on the surface 11 of the workpiece 1 as shown in FIG. That is, in the present embodiment, the workpiece 1 is cylindrical, and the surface 11 of the workpiece 1 is the inner peripheral surface of the workpiece 1. However, the surface 11 of the workpiece 1 may be the outer peripheral surface of the workpiece 1.
  • the first levee 2 As in the first embodiment, as shown in FIG. 12, the first levee 2, the initial layer 3, the first raised layer 4, the second levee 5, the intermediate base layer 6 and the second raised layer. 7 is formed.
  • the protrusion 8B has a flange shape
  • the protrusion formation region 12 has a ring shape continuous in the circumferential direction.
  • the first levee 2 includes a pair of beads 25 and 26 that face each other in the axial direction of the workpiece 1.
  • the second dike 5 also includes a pair of beads 55 and 56 that face each other in the axial direction of the workpiece 1.
  • the surface 11 of the workpiece 1 is conical.
  • the height of the large-diameter side bead 26 of the first levee 2 is set to be higher than the height of the small-diameter side bead 25. According to this configuration, it is possible to form the protrusions favorably with respect to the conical surface.
  • the beads constituting the first levee 2 and the beads constituting the second levee 5 do not necessarily have to be continuous, and may be intermittent.
  • the second dyke 2 is formed when the first levee 2 is formed.
  • the projection can be formed favorably on the inclined surface.

Landscapes

  • Engineering & Computer Science (AREA)
  • Physics & Mathematics (AREA)
  • Optics & Photonics (AREA)
  • Plasma & Fusion (AREA)
  • Mechanical Engineering (AREA)
  • Chemical & Material Sciences (AREA)
  • Manufacturing & Machinery (AREA)
  • Materials Engineering (AREA)
  • Powder Metallurgy (AREA)
  • Laser Beam Processing (AREA)
  • Revetment (AREA)
PCT/JP2017/045992 2016-12-27 2017-12-21 突起形成方法および機械 Ceased WO2018123820A1 (ja)

Priority Applications (2)

Application Number Priority Date Filing Date Title
US16/474,373 US11420291B2 (en) 2016-12-27 2017-12-21 Projection forming method and machine
EP17888881.4A EP3563966B1 (en) 2016-12-27 2017-12-21 Projection forming method

Applications Claiming Priority (2)

Application Number Priority Date Filing Date Title
JP2016252570A JP6845686B2 (ja) 2016-12-27 2016-12-27 突起形成方法
JP2016-252570 2016-12-27

Publications (1)

Publication Number Publication Date
WO2018123820A1 true WO2018123820A1 (ja) 2018-07-05

Family

ID=62708140

Family Applications (1)

Application Number Title Priority Date Filing Date
PCT/JP2017/045992 Ceased WO2018123820A1 (ja) 2016-12-27 2017-12-21 突起形成方法および機械

Country Status (4)

Country Link
US (1) US11420291B2 (enExample)
EP (1) EP3563966B1 (enExample)
JP (1) JP6845686B2 (enExample)
WO (1) WO2018123820A1 (enExample)

Families Citing this family (2)

* Cited by examiner, † Cited by third party
Publication number Priority date Publication date Assignee Title
JP7411366B2 (ja) 2019-09-27 2024-01-11 三菱重工コンプレッサ株式会社 金属積層造形方法
CN114016018B (zh) * 2021-11-05 2023-07-04 江苏徐工工程机械研究院有限公司 具有复合涂层的工件及其制造方法

Citations (3)

* Cited by examiner, † Cited by third party
Publication number Priority date Publication date Assignee Title
JPH04336304A (ja) * 1991-01-21 1992-11-24 Gebr Sulzer Ag 金属製品の製造方法及び製造装置
JP2005152918A (ja) 2003-11-21 2005-06-16 Mitsubishi Heavy Ind Ltd 溶接方法
JP2016002565A (ja) * 2014-06-17 2016-01-12 川崎重工業株式会社 軸対称体および軸対称製品の製造方法

Family Cites Families (6)

* Cited by examiner, † Cited by third party
Publication number Priority date Publication date Assignee Title
US4903888A (en) * 1988-05-05 1990-02-27 Westinghouse Electric Corp. Turbine system having more failure resistant rotors and repair welding of low alloy ferrous turbine components by controlled weld build-up
US6144008A (en) * 1996-11-22 2000-11-07 Rabinovich; Joshua E. Rapid manufacturing system for metal, metal matrix composite materials and ceramics
US9292016B2 (en) * 2007-10-26 2016-03-22 Ariel Andre Waitzman Automated welding of moulds and stamping tools
US8618434B2 (en) * 2010-03-22 2013-12-31 Siemens Energy, Inc. Superalloy repair welding using multiple alloy powders
US9289845B2 (en) * 2012-11-07 2016-03-22 David S. Henn Metal deposition of exterior members in oil field tubulars
JP6887755B2 (ja) * 2016-02-16 2021-06-16 株式会社神戸製鋼所 積層制御装置、積層制御方法及びプログラム

Patent Citations (3)

* Cited by examiner, † Cited by third party
Publication number Priority date Publication date Assignee Title
JPH04336304A (ja) * 1991-01-21 1992-11-24 Gebr Sulzer Ag 金属製品の製造方法及び製造装置
JP2005152918A (ja) 2003-11-21 2005-06-16 Mitsubishi Heavy Ind Ltd 溶接方法
JP2016002565A (ja) * 2014-06-17 2016-01-12 川崎重工業株式会社 軸対称体および軸対称製品の製造方法

Non-Patent Citations (1)

* Cited by examiner, † Cited by third party
Title
See also references of EP3563966A4

Also Published As

Publication number Publication date
US11420291B2 (en) 2022-08-23
US20190344388A1 (en) 2019-11-14
JP2018103225A (ja) 2018-07-05
EP3563966A1 (en) 2019-11-06
JP6845686B2 (ja) 2021-03-24
EP3563966B1 (en) 2022-02-16
EP3563966A4 (en) 2020-10-07

Similar Documents

Publication Publication Date Title
RU2624884C2 (ru) Локализованный ремонт компонента из суперсплава
JP5609632B2 (ja) レーザ重ね溶接方法
US9636781B2 (en) Laser welding method
JP6846619B2 (ja) レーザ溶接方法
CN112743834B (zh) 一种多激光协同负载激光选区熔化增材制造方法
CN112601630A (zh) 焊接方法及焊接装置
JPWO2015129231A1 (ja) レーザ溶接方法
US20160045982A1 (en) Hybrid welding/printing process
JP2018051607A (ja) レーザ溶接装置
KR20150122083A (ko) 용접 방법 및 용접 구조체
WO2018123820A1 (ja) 突起形成方法および機械
US20210299752A1 (en) Irradiating method for additive production having a predetermined trajectory
JP2012223799A (ja) 溶接継手の製造方法
WO2011142324A1 (ja) 超伝導加速空洞の製造方法
US12214445B2 (en) Inclined structure and method of manufacturing same
JP6082276B2 (ja) 溶接方法
JP6191646B2 (ja) 溶接方法
JP6432480B2 (ja) レーザ肉盛方法
EP3572180B1 (en) Method of laser welding of metal plates
JP5312060B2 (ja) レーザ溶接方法
JP2017131905A (ja) メッキ鋼板の重ねレーザ溶接方法
JP7693601B2 (ja) レーザ溶接方法
JP2024074550A (ja) 積層鉄心及びその溶接割れ修正方法
JP2023148122A (ja) レーザー溶接方法
JP2006334641A (ja) 薄板の縁継手レーザ溶接方法

Legal Events

Date Code Title Description
121 Ep: the epo has been informed by wipo that ep was designated in this application

Ref document number: 17888881

Country of ref document: EP

Kind code of ref document: A1

NENP Non-entry into the national phase

Ref country code: DE

ENP Entry into the national phase

Ref document number: 2017888881

Country of ref document: EP

Effective date: 20190729