WO2018105592A1 - Image processing apparatus, image processing method, and optical member - Google Patents

Image processing apparatus, image processing method, and optical member Download PDF

Info

Publication number
WO2018105592A1
WO2018105592A1 PCT/JP2017/043593 JP2017043593W WO2018105592A1 WO 2018105592 A1 WO2018105592 A1 WO 2018105592A1 JP 2017043593 W JP2017043593 W JP 2017043593W WO 2018105592 A1 WO2018105592 A1 WO 2018105592A1
Authority
WO
WIPO (PCT)
Prior art keywords
image
marker
angle
endoscope
view
Prior art date
Legal status (The legal status is an assumption and is not a legal conclusion. Google has not performed a legal analysis and makes no representation as to the accuracy of the status listed.)
Ceased
Application number
PCT/JP2017/043593
Other languages
English (en)
French (fr)
Inventor
Yuki SUGIE
Koji Kashima
Masaya Takemoto
Kenji Ikeda
Current Assignee (The listed assignees may be inaccurate. Google has not performed a legal analysis and makes no representation or warranty as to the accuracy of the list.)
Sony Corp
Original Assignee
Sony Corp
Priority date (The priority date is an assumption and is not a legal conclusion. Google has not performed a legal analysis and makes no representation as to the accuracy of the date listed.)
Filing date
Publication date
Application filed by Sony Corp filed Critical Sony Corp
Priority to CN201780074717.2A priority Critical patent/CN110022750B/zh
Priority to EP17818313.3A priority patent/EP3551028A1/en
Priority to US16/465,827 priority patent/US10917572B2/en
Publication of WO2018105592A1 publication Critical patent/WO2018105592A1/en
Anticipated expiration legal-status Critical
Ceased legal-status Critical Current

Links

Images

Classifications

    • AHUMAN NECESSITIES
    • A61MEDICAL OR VETERINARY SCIENCE; HYGIENE
    • A61BDIAGNOSIS; SURGERY; IDENTIFICATION
    • A61B1/00Instruments for performing medical examinations of the interior of cavities or tubes of the body by visual or photographical inspection, e.g. endoscopes; Illuminating arrangements therefor
    • A61B1/00064Constructional details of the endoscope body
    • A61B1/00071Insertion part of the endoscope body
    • A61B1/0008Insertion part of the endoscope body characterised by distal tip features
    • A61B1/00096Optical elements
    • AHUMAN NECESSITIES
    • A61MEDICAL OR VETERINARY SCIENCE; HYGIENE
    • A61BDIAGNOSIS; SURGERY; IDENTIFICATION
    • A61B1/00Instruments for performing medical examinations of the interior of cavities or tubes of the body by visual or photographical inspection, e.g. endoscopes; Illuminating arrangements therefor
    • A61B1/00002Operational features of endoscopes
    • A61B1/00004Operational features of endoscopes characterised by electronic signal processing
    • A61B1/00009Operational features of endoscopes characterised by electronic signal processing of image signals during a use of endoscope
    • A61B1/000095Operational features of endoscopes characterised by electronic signal processing of image signals during a use of endoscope for image enhancement
    • AHUMAN NECESSITIES
    • A61MEDICAL OR VETERINARY SCIENCE; HYGIENE
    • A61BDIAGNOSIS; SURGERY; IDENTIFICATION
    • A61B1/00Instruments for performing medical examinations of the interior of cavities or tubes of the body by visual or photographical inspection, e.g. endoscopes; Illuminating arrangements therefor
    • A61B1/00002Operational features of endoscopes
    • A61B1/00043Operational features of endoscopes provided with output arrangements
    • A61B1/00045Display arrangement
    • AHUMAN NECESSITIES
    • A61MEDICAL OR VETERINARY SCIENCE; HYGIENE
    • A61BDIAGNOSIS; SURGERY; IDENTIFICATION
    • A61B1/00Instruments for performing medical examinations of the interior of cavities or tubes of the body by visual or photographical inspection, e.g. endoscopes; Illuminating arrangements therefor
    • A61B1/00163Optical arrangements
    • A61B1/00174Optical arrangements characterised by the viewing angles
    • A61B1/00183Optical arrangements characterised by the viewing angles for variable viewing angles
    • AHUMAN NECESSITIES
    • A61MEDICAL OR VETERINARY SCIENCE; HYGIENE
    • A61BDIAGNOSIS; SURGERY; IDENTIFICATION
    • A61B1/00Instruments for performing medical examinations of the interior of cavities or tubes of the body by visual or photographical inspection, e.g. endoscopes; Illuminating arrangements therefor
    • A61B1/06Instruments for performing medical examinations of the interior of cavities or tubes of the body by visual or photographical inspection, e.g. endoscopes; Illuminating arrangements therefor with illuminating arrangements
    • A61B1/0623Instruments for performing medical examinations of the interior of cavities or tubes of the body by visual or photographical inspection, e.g. endoscopes; Illuminating arrangements therefor with illuminating arrangements for off-axis illumination
    • AHUMAN NECESSITIES
    • A61MEDICAL OR VETERINARY SCIENCE; HYGIENE
    • A61BDIAGNOSIS; SURGERY; IDENTIFICATION
    • A61B90/00Instruments, implements or accessories specially adapted for surgery or diagnosis and not covered by any of the groups A61B1/00 - A61B50/00, e.g. for luxation treatment or for protecting wound edges
    • A61B90/39Markers, e.g. radio-opaque or breast lesions markers
    • HELECTRICITY
    • H04ELECTRIC COMMUNICATION TECHNIQUE
    • H04NPICTORIAL COMMUNICATION, e.g. TELEVISION
    • H04N23/00Cameras or camera modules comprising electronic image sensors; Control thereof
    • H04N23/60Control of cameras or camera modules
    • H04N23/68Control of cameras or camera modules for stable pick-up of the scene, e.g. compensating for camera body vibrations
    • H04N23/682Vibration or motion blur correction
    • H04N23/683Vibration or motion blur correction performed by a processor, e.g. controlling the readout of an image memory
    • AHUMAN NECESSITIES
    • A61MEDICAL OR VETERINARY SCIENCE; HYGIENE
    • A61BDIAGNOSIS; SURGERY; IDENTIFICATION
    • A61B90/00Instruments, implements or accessories specially adapted for surgery or diagnosis and not covered by any of the groups A61B1/00 - A61B50/00, e.g. for luxation treatment or for protecting wound edges
    • A61B90/39Markers, e.g. radio-opaque or breast lesions markers
    • A61B2090/3937Visible markers
    • A61B2090/3945Active visible markers, e.g. light emitting diodes
    • HELECTRICITY
    • H04ELECTRIC COMMUNICATION TECHNIQUE
    • H04NPICTORIAL COMMUNICATION, e.g. TELEVISION
    • H04N23/00Cameras or camera modules comprising electronic image sensors; Control thereof
    • H04N23/50Constructional details
    • H04N23/555Constructional details for picking-up images in sites, inaccessible due to their dimensions or hazardous conditions, e.g. endoscopes or borescopes

Definitions

  • the present disclosure relates to an image processing apparatus, an image processing method, and an optical member.
  • endoscopic surgeries using endoscopes have recently been conducted.
  • a worker can conduct an examination or a surgery while observing an image which is captured by an endoscope inserted into an observation target (patient) and which is displayed on a monitor.
  • Patent Literature 1 discloses a technology for displaying an endoscopic image by making the vertical and horizontal directions of the endoscopic image captured by an endoscope including an acceleration sensor that detects a rotation angle correspond to the vertical and horizontal manipulation directions of the worker.
  • the endoscope capable of changing an angle of a line-of-sight direction has been used. With such an endoscope capable of changing the angle of the line-of-sight direction, it becomes possible to save the effort of exchanging endoscopes having different line-of-sight directions.
  • the present disclosure suggests an image processing apparatus, an image processing method, and an optical member, which are novel and improved, and which can grasp the angle of the line-of-sight direction more easily.
  • an endoscopic system including an endoscope including an optical element including a marker disposed thereon, an optical formation device configured to change an angle of view, and an image capturing device receiving light from the optical element via the optical formation device and processing circuitry configured to identify the angle of view from an image captured by the image capturing device based on the marker in the image.
  • a medical image processing device including processing circuitry configured to identify an angle of view from an image based on a marker in the image, wherein the image is generated from light through the marker on an optical element, and wherein the angle of view is changed relative to the marker in an endoscope imaging device.
  • a medical image processing method including identifying, via processing circuitry, an angle of view from an image based on a marker in the image, wherein the image is generated from light through the marker on an optical element, and wherein the angle of view is changed relative to the marker in an endoscope imaging device including the marker and the optical element.
  • an endoscope including an optical element including a marker disposed thereon, and an optical formation device configured to change an angle of view relative to the marker on the optical element.
  • the angle of the line-of-sight direction i.e. angle of view
  • the angle of the line-of-sight direction can be grasped more easily.
  • FIG. 1 is an explanatory diagram showing an overall configuration of an endoscopic surgery system 1 according to an embodiment of the present disclosure.
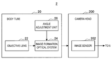
  • FIG. 2 is a block diagram showing an example of a functional configuration of an endoscope 2 according to the embodiment.
  • FIG. 3 is an explanatory diagram illustrating an objective lens 22 according to the embodiment.
  • FIG. 4 is an explanatory diagram illustrating an example of a marker included in the objective lens 22 according to the embodiment.
  • FIG. 5 is an explanatory diagram illustrating another example of a marker included in the objective lens 22 according to the embodiment.
  • FIG. 6 is an explanatory diagram illustrating another example of a marker included in the objective lens 22 according to the embodiment.
  • FIG. 7 is a block diagram showing an example of a functional configuration of a CCU 5-1 according to the embodiment.
  • FIG. 8 is an explanatory diagram showing an example of a captured image and an output image according to the embodiment.
  • FIG. 9 is a flowchart showing an operation example according to the embodiment.
  • FIG. 10 is an explanatory diagram illustrating an overview of Modified Example 1.
  • FIG. 11 is a block diagram showing an example of a functional configuration of a CCU 5-2 according to the modified example.
  • FIG. 12 is a flowchart showing an operation example of the modified example.
  • FIG. 13 is a block diagram showing an example of a functional configuration of a CCU 5-3 according to Modified Example 2.
  • FIG. 14 is a flowchart showing an operation example of the modified example.
  • FIG. 15 is an explanatory diagram showing a hardware configuration example.
  • FIG. 1 is an explanatory diagram showing an overall configuration of an endoscopic surgery system 1 according to an embodiment of the present disclosure.
  • “user” represents any medical staff who uses the endoscopic surgery system 1, such as a surgeon or an assistant of the surgery, and a scopist.
  • endoscopic surgeries have recently been carried out in the place of conventional abdominal surgeries.
  • an endoscopic surgery system 1 which is arranged in a surgery room as shown in FIG. 1 is used.
  • opening tools called trocars 12a and 12b are attached at several parts of the abdominal wall, and, through a hole provided to each of the trocars 12a and 12b, a laparoscope (hereinafter, may also be referred to as endoscope) 2, an energy treatment tool 3, a pair of forceps 4, and the like are inserted into the body.
  • an image of an affected part (tumor or the like) 16 which is captured as video by the endoscope 2 and displayed on a display device 9
  • procedures such as resecting the affected part 16 using the energy treatment tool 3 are performed.
  • the endoscope 2, the energy treatment tool 3, and the pair of forceps 4 are held by a user, a robot, or the like. Note that, in the present embodiment, an example is described in which the endoscope 2 is a so-called rigid endoscope.
  • a cart 14 which is loaded with devices for the endoscopic surgery, a patient's bed 13 on which a patient lies, a foot switch 15, and the like.
  • the cart 14 is loaded with medical devices, such as a camera control unit (CCU) 5, a light source device 6, a treatment tool device 7, a pneumoperitoneum device 8, a display device 9, a recorder 10, and a printer 11.
  • CCU camera control unit
  • An image signal of the affected part 16 which is acquired by imaging through an observation optical system of the endoscope 2 is transmitted to the CCU 5 via a camera cable, subjected to signal processing (image processing) in the CCU 5, and then output to the display device 9.
  • image processing image processing
  • the CCU 5 may be connected to the endoscope 2 via the camera cable, or may be wirelessly connected to the endoscope 2.
  • the image acquired by capturing inside a living body may be referred to as "in-vivo image”.
  • an image acquired by imaging is referred to as "captured image”
  • the captured image may include an in-vivo image.
  • the light source device 6 is connected to the endoscope 2 via a light guide cable, and can irradiate the affected part 16 with light beams having various different wavelengths in a switching manner.
  • the treatment tool device 7 is a high-frequency output device that outputs a high-frequency current to the energy treatment tool 3 which cuts the affected part 16 using electrical heat, for example.
  • the pneumoperitoneum device 8 includes air-supply means and air-suction means, and is a device that supplies the inside of the body of a patient, for example, the abdominal region, with air.
  • the foot switch 15 uses a foot operation of the user as a trigger signal and controls the CCU 5, the treatment tool device 7, and the like.
  • the endoscope written in Patent Literature 1 for example, there is considered the endoscope in which a sensor for detecting an angle of a line-of-sight direction is provided inside a body tube of the endoscope, and a method of detecting the angle of the line-of-sight direction by transmitting sensor information acquired by the sensor to the CCU.
  • the structure of the endoscope becomes complicated.
  • the sensor information is transmitted from the endoscope to the CCU, it is necessary to provide the endoscope with a mechanism that electrically connects the body tube including the sensor to a camera head of the endoscope connected to the CCU.
  • the body tube includes the sensor, and the body tube includes the mechanism for the electrical connection, it becomes more difficult to perform cleansing and sterilizing (for example, sterilizing by heating) of the body tube.
  • the endoscopic surgery system 1 according to the present embodiment can decrease complications of the endoscope 2, and can enable the user to grasp the angle of the line-of-sight direction although the endoscope 2 does not have the mechanism that electrically connects the body tube to the camera head.
  • the configurations of the endoscope 2 and the CCU 5 included in the endoscopic surgery system 1 according to the present embodiment for achieving those effects.
  • FIG. 2 is a block diagram showing an example of a functional configuration of an endoscope 2 according to an embodiment of the present disclosure.
  • the endoscope 2 according to the present embodiment includes a body tube 20 and a camera head 200. Further, the endoscope 2 according to the present embodiment is capable of changing an angle of a line-of-sight direction without exchanging body tubes 20.
  • the body tube 20 includes an objective lens 22, an image formation optical system 24, and an angle adjustment unit 26.
  • the objective lens 22 and the image formation optical system 24 are shown as the optical members included in the body tube 20 in FIG. 2, other optical members such as a cap or a filter that transmits light may also be present between the objective lens 22 and a subject or between the objective lens 22 and the image formation optical system 24.
  • the objective lens 22 is a lens (optical member or optical element) that transmits light from the subject.
  • the lens according to an embodiment of the present disclosure does not necessarily have a function of refracting light, and, in the present disclosure, an optical member that transmits at least some of the incident light is called a lens.
  • FIG. 3 is an explanatory diagram illustrating the objective lens 22.
  • the objective lens 22 does not move or rotate with respect to a housing of the body tube 20, and the body tube 20 may be capable of changing the angle of the line-of-sight direction using the mechanism of the image formation optical system 24 and the angle adjustment unit 26 to be described later.
  • the objective lens 22 may transmit the light from the line-of-sight direction of 0° to 120°, for example.
  • the objective lens 22 includes a marker.
  • the marker may show the angle of the line-of-sight direction, for example.
  • examples of the objective lens 22 that has a marker will be described.
  • FIG. 4 is an explanatory diagram illustrating an example of the objective lens 22 (objective lens 22-1) having a marker.
  • the objective lens 22-1 shown in FIG. 4 has a marker 221 (marker portions 221A to D) and a marker 223 (marker portions 223A to C) at the left and right ends of a light transmitting part 220-1.
  • the marker 221 and the marker 223 includes multiple colors corresponding to angles of line-of-sight directions, respectively (hereinafter, may be referred to as color patterns).
  • color patterns may be referred to as color patterns.
  • the marker portions 221A to D have different colors from each other, and the marker portions 223A to C also have different colors from each other.
  • the user, or the CCU 5 to be described later can recognize the angle of the current line-of-sight direction by recognizing which of the marker portions 221A to D and which of the marker portions 223A to C are included in the captured image.
  • the marker 221 and the marker 223 may be translucent, and may transmit at least some of the incident light, for example.
  • the captured image based on the light that has transmitted through the objective lens 22-1 may include information of the light that has transmitted through the marker 221 and the marker 223.
  • an image which makes the user not conscious of the marker 221 and the marker 223 may also be displayed through image processing performed by the CCU 5 as will be described later.
  • the marker 221 and the marker 223 are translucent, it is desirable that the marker 221 and the marker 223 have different colors from the colors that an observation target (for example, inside a living body) or a surgery tool may have. With such a structure, it makes easier for the user to visually recognize the marker 221 and the marker 223, and further, the accuracy of recognizing the angle of the line-of-sight direction by the CCU 5 may be enhanced.
  • the color patterns included in the marker 221 and the marker 223 may correspond to angles of hues, for example.
  • the user can grasp the angle of the current line-of-sight direction by visually recognizing the regions corresponding to the marker 221 and the marker 223 included in the captured image, without newly learning the correspondence between the color patterns and the angles.
  • positions of boundaries of color patterns in the vertical direction may differ.
  • the position in the vertical direction of the boundary between the marker portion 221A and the marker portion 221B is different from the position in the vertical direction of the boundary between the marker portion 223A and the marker portion 223B.
  • the combination of the marker 221 and the marker 223 can indicate a further detailed angle, and, for example, detection performance (resolution) of the angle of the CCU 5 can be enhanced.
  • FIG. 5 is an explanatory diagram illustrating another example of the objective lens 22 (objective lens 22-2) having a marker.
  • the objective lens 22-2 shown in FIG. 5 has a marker 225 (marker portions 225A to C) at the center part in the horizontal direction of a light transmitting part 220-2.
  • the marker portion 225A, the marker portion 225B, and the marker portion 225C have different colors from each other, and have color patterns indicating different angles of the line-of-sight directions from each other.
  • the grasping of the angle of the line-of-sight direction may become easier, since the marker 225 arranged at the center part in the horizontal direction of the light transmitting part 220-2 may be included in the captured image.
  • the marker 225 may also include color patterns corresponding to angles of hues in the same manner as the marker 221 and the marker 223 described with reference to FIG. 4. Further, the marker 225 may also be translucent in the same manner as the marker 221 and the marker 223 described with reference to FIG. 4.
  • the marker portions 225A to C be arranged such that any one of the marker portions 225A to C is included in the captured image all the time even in the case where the line-of-sight direction is changed in any manner.
  • FIG. 5 shows an example in which a marker is not present (is transparent) between the marker portion 225A and the marker portion 225B and between the marker portion 225B and the marker portion 225C, but the marker portions 225A to C may also be arranged continuously in the vertical direction.
  • the endoscope 2 has the optical zoom function, for example, a part of the marker 225 is included in the captured image all the time, and the angle can be grasped.
  • FIG. 6 is an explanatory diagram illustrating another example of the objective lens 22 (objective lens 22-3) having a marker.
  • the objective lens 22-3 shown in FIG. 6 has a marker 227 including a scale mark indicating the angle of the line-of-sight direction and character strings (0°, 40°, 80°, and 120°) indicating the angles of the line-of-sight direction on a light transmitting part 220-3.
  • FIG. 6 shows an example in which the marker 227 includes the scale mark indicating the angle of the line-of-sight direction and the character strings indicating the angles of the line-of-sight direction, the marker 227 may include only one of those.
  • the objective lens 22 is not limited to the examples shown in FIGS. 4 to 6.
  • the objective lens 22 according to the present embodiment may include the above-mentioned markers in combination.
  • the image formation optical system 24 (i.e. optical formation device) shown in FIG. 2 is optically connected to the objective lens 22, and forms an image of the light transmitted through the objective lens 22.
  • the image formation optical system 24 may include multiple lenses, for example, and, among the multiple lenses included in the image formation optical system 24, at least some of the lenses may be included on the inner side. Further, among the multiple lenses included in the image formation optical system 24, the image formation optical system 24 may be capable of changing the angle of the line-of-sight direction with at least some of the lenses being moved or being rotated. Further, the movement and the rotation of the lenses may be performed in conjunction with a user operation on the angle adjustment unit 26 to be described later.
  • the angle adjustment unit 26 is used for the user to adjust the angle of the line-of-sight direction, and may include a dial, for example.
  • a dial for example.
  • a lens included in the image formation optical system 24 moves or rotates in conjunction with the rotation, and thus, the angle of the line-of-sight direction can be adjusted.
  • the camera head 200 is optically connected to the body tube 20 as shown in FIG. 2 and includes an image sensor 202 (e.g. the image capturing device).
  • the camera head 200 is not necessarily electrically connected to the body tube 20.
  • the image sensor 202 acquires a captured image by receiving, on a photosensitive surface of the image sensor 202, light transmitted through the objective lens 22 which is subjected to image formation by the image formation optical system 24.
  • the image sensor 202 includes the photosensitive surface having light receiving elements such as photodiodes arranged thereon, receives light on the photosensitive surface, and acquires a captured image through photoelectric conversion.
  • Examples of the image sensor 202 include known image sensors such as a charge coupled device (CCD) image sensor and a complementary metal-oxide-semiconductor (CMOS) image sensor.
  • CCD charge coupled device
  • CMOS complementary metal-oxide-semiconductor
  • FIG. 7 is a block diagram showing an example of a functional configuration of the CCU 5-1.
  • the CCU 5-1 according to the present embodiment is an image processing apparatus including an angle specification unit 52 and an image processing unit 54.
  • the angle specification unit 52 specifies (detects) the angle of the line-of-sight direction on the basis of the captured image transmitted from the camera head 200 described with reference to FIG. 2. As described above, the captured image is acquired (captured) on the basis of the light transmitted through the objective lens 22, and the angle specification unit 52 may perform image recognition processing corresponding to the marker on the objective lens 22 and may specify the angle of the line-of-sight direction.
  • the angle specification unit 52 may specify the angle of the line-of-sight direction on the basis of color information of a region corresponding to the marker 221 and the marker 223 included in the captured image. Further, in such a case, the angle specification unit 52 may specify positions corresponding to boundaries of color patterns in the marker 221 and the marker 223 on the captured image, and may specify the angle of the line-of-sight direction on the basis of the positions.
  • the angle specification unit 52 may detect a region corresponding to any one of the marker portions 255A to C at the center part in the horizontal direction of the captured image, and may analyze color information of the region, to thereby specify the angle of the line-of-sight direction.
  • the angle specification unit 52 may specify the angle of the line-of-sight direction by recognizing the scale mark or the number indicating the angle of the line-of-sight direction included in the region corresponding to the marker 227 included in the captured image.
  • the angle specification unit 52 provides the image processing unit 54 with the angle of the line-of-sight direction that has been specified.
  • the image processing unit 54 performs image processing on the captured image transmitted from the camera head 200 on the basis of the angle of the line-of-sight direction specified by the angle specification unit 52, and generates an output image.
  • the image processing unit 54 may have functions as a color correction unit 542 and a combining unit 544 as shown in FIG. 7.
  • the color correction unit 542 performs color correction processing (an example of image processing) involving subtracting a color included in a marker of the objective lens 22 on the basis of the angle of the line-of-sight direction.
  • the color correction unit 542 may perform color correction processing corresponding to the marker of the objective lens 22.
  • the color correction unit 542 may perform color correction processing involving subtracting a color corresponding to the angle of the line-of-sight direction on the regions corresponding to the marker 221 and the marker 223 included in the captured image.
  • the color correction unit 542 may perform color correction processing involving subtracting a color corresponding to the angle of the line-of-sight direction (color corresponding to the detected marker) on a region corresponding to any one of the marker portions 255A to C detected from the captured image.
  • the combining unit 544 performs combining processing (an example of image processing) involving combining an indicator indicating the angle of the line-of-sight direction with the image which has been subjected to the color correction processing by the color correction unit 542.
  • the indicator that the combining unit 544 combines may include a character string indicating the angle of the line-of-sight direction.
  • the image processing unit 54 may also perform image processing such as gamma-correction processing or white balance adjustment processing, in addition to the above-mentioned image processing.
  • the output image that is generated by being subjected to the image processing by the image processing unit 54 is output to the display device 9 described with reference to FIG. 1, and is displayed on the display device 9.
  • FIG. 8 is an explanatory diagram showing an example of a captured image and an output image.
  • FIG. 8 shows an example of a captured image G10 and an output image G20 in the case where the objective lens 22-1 shown in FIG. 4 is used.
  • the captured image G10 shown in FIG. 8 includes a region G12 corresponding to the marker 221, and a region G14 corresponding to the marker 223. Further, the region G12 is obtained on the basis of the light transmitted through the translucent marker portion 221C, and the region G14 is obtained on the basis of the light transmitted through the translucent marker portion 223B and the translucent marker portion 223C.
  • the angle specification unit 52 to which the captured image G10 shown in FIG. 8 is input specifies the angle of the line-of-sight direction on the basis of color information of the region G12 and the region G14, and of positions corresponding to the boundaries of the color patterns included in the regions.
  • the output image G20 shown in FIG. 8 is generated by subjecting the captured image G10 to the image processing performed by the image processing unit 54, and is an output image displayed on the display device 9.
  • a user observing the output image G20 is capable of performing observation without being influenced by the marker 221 and the marker 223 through color correction processing involving subtracting colors in the region G22 corresponding to the marker 221 and the region G24 corresponding to the marker 223.
  • the output image G20 shown in FIG. 8 includes an indicator G26 indicating the angle of the line-of-sight direction.
  • the indicator G26 the user observing the output image G20 is capable of easily grasping the angle of the line-of-sight direction.
  • the configuration example according to the present embodiment has been described.
  • the CCU 5 does not necessarily have functions of the color correction unit 542 and the combining unit 544, and does not necessarily perform the correction processing involving subtracting a color or the combining processing on the captured image.
  • the user may grasp the angle of the line-of-sight direction from the marker shown on the displayed image.
  • the objective lens 22-3 described with reference to FIG. 6 the user can easily grasp the angle of the line-of-sight direction even in the case where the indicator indicating the angle of the line-of-sight direction is not combined with the displayed image.
  • FIG. 9 is a flowchart showing an operation example of the present embodiment. Note that, among the operations according to the present embodiment, FIG. 9 mainly shows processing performed by the CCU 5-1.
  • the angle specification unit 52 specifies an angle of a line-of-sight direction on the basis of a captured image (S102).
  • the color correction unit 542 of the image processing unit 54 performs color correction processing involving subtracting a color corresponding to the marker of the objective lens 22 on the captured image (S104).
  • the combining unit 544 of the image processing unit 54 performs combining processing involving combining a character string (an example of an indicator) indicating an angle with the image that has been subjected to the color correction processing of Step S104 (S106).
  • An output image obtained by the image processing (color correction processing and combining processing) performed by the image processing unit 54 is output to the display device 9, and is displayed on the display device 9 (S108).
  • FIG. 10 is an explanatory diagram illustrating an overview of the present modified example.
  • a body tube 20-2 according to the present modified example includes light output units 27 (light output units 27A to 27F) that output illumination light to an outside along the objective lens 22.
  • the light output from the light source device 6 described with reference to FIG. 1 may be introduced to the body tube 20-2 through a light cable (not shown), and may be output from the light output units 27 to the outside.
  • the description will be made below on a mechanism for reducing the power consumption and suppressing the decrease in the light source life by, performing control on the light source on the basis of the angle of the line-of-sight direction.
  • FIG. 11 is a block diagram showing an example of a functional configuration of the CCU 5-2.
  • the CCU 5-2 according to the present modified example is an image processing apparatus including an angle specification unit 52, an image processing unit 54, and a light source controller 56.
  • the configuration of the angle specification unit 52 and the configuration of the image processing unit 54 shown in FIG. 11 are substantially the same as the configuration of the angle specification unit 52 and the configuration of the image processing unit 54 described with reference to FIG. 7, respectively, and hence, the description thereof will be omitted here.
  • the light source controller 56 controls a light source on the basis of the angle of the line-of-sight direction specified by the angle specification unit 52.
  • the light source controller 56 may control the light source by outputting a control signal for controlling the light source to the light source device 6 described with reference to FIG. 1.
  • the light source controller 56 may control the light source such that, among the multiple light output units 27 (light output units 27A to 27F), light is output from one or multiple light output units that contribute to imaging and light is not output from the other light output unit(s) that does(/do) not contribute to imaging, the output units being specified in accordance with the angle of the line-of-sight direction, for example.
  • the control may be performed such that the light source(s) corresponding to the light output unit(s) 27 that contributes(/contribute) to imaging is(/are) turned on, and the other light source(s) is(/are) turned off.
  • the light source controller 56 not only performs the complete on/off control, but may also control the light sources such that, a stronger voltage is applied to the light source(s) that contributes(/contribute) more to imaging and a weaker voltage is applied to the light source(s) that does(/do) not contribute to imaging.
  • FIG. 12 is a flowchart showing an operation example of the present modified example. Note that, among the processing shown in FIG. 12, the processing of Steps S202 to S208 is similar to the processing of Steps S102 to S108 described with reference to FIG. 9, and hence, the description of the processing of Steps S202 to S208 will be omitted.
  • the light source controller 56 specifies, among the light output units 27, a light output unit corresponding to the angle of the line-of-sight direction specified in Step S202 (S210). In addition, the light source controller 56 outputs a light source control signal to the light source device 6 (S212).
  • the light source controller 56 may output a control signal for controlling the light source to the endoscope or the body tube.
  • the endoscope 2 is capable of changing the angle of the line-of-sight direction through a manipulation such as rotating the angle adjustment unit 26 at hand.
  • a manipulation such as rotating the angle adjustment unit 26 at hand.
  • camera shake may occur, and the camera shake may be a factor for inhibiting a surgical technique of a user observing an image based on the imaging performed by the endoscope 2.
  • camera shake correction processing is performed, which is processing for reducing disturbance of an image caused by the camera shake.
  • FIG. 13 is a block diagram showing an example of a functional configuration of the CCU 5-3.
  • the CCU 5-3 according to the present modified example is an image processing apparatus including an angle specification unit 52, a rotation direction specification unit 53, and an image processing unit 55.
  • the configuration of the angle specification unit 52 shown in FIG. 13 is substantially the same as the configuration of the angle specification unit 52 described with reference to FIG. 7, and hence, the description thereof will be omitted here.
  • the rotation direction specification unit 53 specifies a rotation direction of the line-of-sight direction (direction in which the line-of-sight direction changes in conjunction with a user operation on the angle adjustment unit 26) on the basis of the angle of the line-of-sight direction specified by the angle specification unit 52.
  • the rotation direction specification unit 53 specifies the rotation direction of the line-of-sight direction on the basis of the time-series change of the angle of the line-of-sight direction.
  • the rotation direction specification unit 53 provides the image processing unit 55 with the specified rotation direction.
  • the image processing unit 55 performs the camera shake correction processing on the captured image, on the basis of the rotation direction of the line-of-sight direction that has been specified on the basis of the angle of the line-of-sight direction.
  • the image processing unit 55 according to the present modified example has functions as a motion detector 551, a motion correction unit 553, an affine coefficient calculation unit 555, and an affine transformation unit 557.
  • the image processing unit 55 outputs an output image obtained by performing image processing for camera shake correction on the captured image to the display device 9.
  • the motion detector 551 acquires motion information indicating motion from a time-series captured image transmitted from the camera head 200.
  • the motion information may be a motion vector (MV), for example.
  • the motion correction unit 553 performs motion correction processing for suppressing a component corresponding to the rotation direction specified by the rotation direction specification unit 53, with respect to the motion information. For example, the motion correction unit 553 may perform processing such that, among the motion information, the component corresponding to the rotation direction is set to 0.
  • the motion correction unit 553 provides the affine coefficient calculation unit 555 with the corrected motion information obtained by the motion correction processing.
  • the affine coefficient calculation unit 555 calculates an affine coefficient for the camera shake correction on the basis of the corrected motion information obtained by the motion correction unit 553.
  • the affine transformation unit 557 performs affine transformation processing on the captured image using the affine coefficient calculated by the affine coefficient calculation unit 555.
  • FIG. 14 is a flowchart showing an operation example of the present modified example.
  • the angle specification unit 52 specifies an angle of a line-of-sight direction on the basis of a captured image (S302). Subsequently, the rotation direction specification unit 53 specifies a rotation direction on the basis of a time-series change of the angle specified in Step S302 (S304).
  • the motion detector 551 of the image processing unit 55 acquires motion information indicating a motion from the captured image (S306).
  • the motion correction unit 553 of the image processing unit 55 performs motion correction processing for suppressing, among the motion information, a component corresponding to the rotation direction specified in Step S306 (S308).
  • the affine coefficient calculation unit 555 of the image processing unit 55 calculates an affine coefficient for the camera shake correction on the basis of the corrected motion information obtained by the motion correction processing of Step S308 (S310).
  • the affine transformation unit 557 of the image processing unit 55 performs affine transformation processing on the captured image using the affine coefficient calculated in Step S310 (S312).
  • the output image obtained by the affine transformation processing is output to the display device 9, and is displayed on the display device 9 (S314).
  • the camera shake correction processing through the above-mentioned affine transformation is merely an example, and the present modified example is not limited to such an example and can be applied to various types of camera shake correction processing.
  • the motion correction processing may be performed also on the basis of a rotation amount.
  • the rotation amount of a line-of-sight direction can be specified on the basis of the angle of the line-of-sight direction.
  • the motion of the image caused by the rotation of the line-of-sight direction can be excluded from the motion information more accurately by performing motion correction on the basis of the rotation direction and the rotation amount.
  • the image processing unit 55 may also have functions as the color correction unit 542 and the combining unit 544 in the similar manner as the image processing unit 54 described with reference to FIG. 7.
  • an example in which the objective lens 22 included in the body tube 20 has the marker but the present technology is not limited to such an example.
  • an optical member such as a cap or a filter that transmits at least some light
  • the light transmitted through the optical member may enter the objective lens 22.
  • the optical member may be optically connected to the image formation optical system 24 via the objective lens 22. Note that, in such a case, the objective lens 22 does not necessarily have a marker.
  • FIG. 15 is an explanatory diagram showing an example of a hardware configuration of the CCU 5.
  • the CCU 5 includes, for example, an FPGA board 501, a CPU 502, GPU boards 5031 and 5032, a memory 504, an IO controller 505, a recording medium 506, and an interface 507. Further, the FPGA board 501, the CPU 502, and the GPU boards 5031 and 5032 are connected to each other via a bus 508, for example.
  • the FPGA board 501 includes, for example, an FPGA, an input interface through which an input image signal (captured image signal) is input from an AV controller 110 or the endoscope 2, and an output interface through which an output image signal is output to the AV controller 110 or the display device 9.
  • the CPU 502 and the GPU boards 5031 and 5032 execute various types of software such as related software, and performs various types of processing.
  • the CPU 502 includes a processor.
  • the GPU boards 5031 and 5032 each include a graphics processing unit (GPU) and a dynamic random access memory (DRAM).
  • the memory 504 stores various types of data such as data corresponding to the input image signal and data corresponding to the output image signal.
  • the CPU 502 has a role of controlling writing of various types of data in the memory 504 and reading of various types of data from the memory 504.
  • the CPU 502 divides image data stored in the memory 504 in accordance with data stored in the memory 504, processing capacity of the GPU boards 5031 and 5032, and processing details. Then, the GPU's of the respective GPU boards 5031 and 5032 perform predetermined processing on supplied divided data and output the processing results to the CPU 502.
  • the IO controller 505 has a role of controlling transmission of signals between the CPU 502, the recording medium 506, and the interface 507, for example.
  • the recording medium 506 functions as a storage (not shown), and stores various types of data such as image data and applications.
  • a solid-state drive as an example of the recording medium 506.
  • the recording medium 506 may be attachable to and detachable from the CCU 5.
  • Examples of the interface 507 include a universal serial bus (USB) terminal and a processing circuit, and a local area network (LAN) terminal and a transmission/reception circuit.
  • USB universal serial bus
  • LAN local area network
  • the hardware configuration of the CCU 5 is not limited to the configuration shown in FIG. 15.
  • FIG. 15 shows an example in which two GPU boards 5031 and 5032 are included, the number of GPU boards may be more than two.
  • the CPU 502 has a function of a GPU, the CCU 5 does not necessarily include the GPU boards 5031 and 5032.
  • a computer program for achieving each function of the CCU 5 according to the above present embodiment can be created.
  • a computer-readable recording medium that stores the computer program can be provided as well.
  • the recording medium include a magnetic disk, an optical disc, a magneto-optical disk, and a flash memory.
  • the computer program may be delivered via a network for example, without using the recording medium.
  • the number of computers for executing the computer program is not particularly limited.
  • the computer program may be executed by multiple computers (for example, multiple servers) in cooperation with each other.
  • the steps in the above embodiment may not necessarily be executed in a time-series manner in the order described in the flowcharts.
  • the steps in the processes in the above embodiment may also be executed in, for example, a different order from the order described in the flowcharts, or may be executed in parallel.
  • An endoscopic system including: an endoscope including an optical element including a marker disposed thereon, an optical formation device configured to change an angle of view, and an image capturing device receiving light from the optical element via the optical formation device; and processing circuitry configured to identify the angle of view from an image captured by the image capturing device based on the marker in the image.
  • the processing circuitry is further configured to control display of the identified angle of view on a display.
  • the processing circuitry is further configured to control display of the identified angle of view on the display as a number.
  • a medical image processing device including: processing circuitry configured to identify an angle of view from an image based on a marker in the image, wherein the image is generated from light through the marker on an optical element, and wherein the angle of view is changed relative to the marker in an endoscope imaging device.
  • processing circuitry is further configured to control display of the identified angle of view on a display.
  • processing circuitry is further configured to control display of the identified angle of view on the display as a number.
  • the medical image processing device is further configured to control display of the image captured by the image capturing device without displaying the marker in the image by processing the image.
  • the processing circuitry is further configured to control display of the image captured by the image capturing device without displaying the marker in the image by processing the image.
  • the endoscope further includes a light source and the processing circuitry is further configured to control a direction of the light source.
  • the processing circuitry is further configured to control the light source based on the identified angle of view.
  • the medical image processing device is further configured to process the image based on the identified angle of view.
  • a medical image processing method including: identifying, via processing circuitry, an angle of view from an image based on a marker in the image, wherein the image is generated from light through the marker on an optical element, and wherein the angle of view is changed relative to the marker in an endoscope imaging device including the marker and the optical element.
  • An endoscope comprising: an optical element including a marker disposed thereon; and an optical formation device configured to change an angle of view relative to the marker on the optical element .
  • An image processing apparatus including: an angle specification unit configured to specify an angle of a line-of-sight direction on the basis of an in-vivo image based on light transmitted through an optical member, the optical member including a marker and being optically connected to an image formation optical system capable of changing the angle of the line-of-sight direction; and an image processing unit configured to perform image processing on the in-vivo image.
  • An image processing apparatus according to (25) in which the image processing unit performs image processing based on the angle specified by the angle specification unit.
  • the image processing apparatus according to (26) in which the marker includes a plurality of colors corresponding to the angle, and the angle specification unit specifies the angle on the basis of color information of a region corresponding to the marker included in the in-vivo image.
  • the image processing apparatus in which the optical member includes a plurality of markers, in the plurality of markers, positions of boundaries of the plurality of colors in a vertical direction are different for each of the markers, and the angle specification unit specifies the angle further on the basis of positions corresponding to the boundaries in the in-vivo image.
  • the image processing apparatus in which the marker is translucent, and the image processing unit performs image processing involving subtracting a color corresponding to the angle on a region corresponding to the marker included in the in-vivo image.
  • the image processing apparatus according to any one of (26) to (29), in which the image processing unit performs image processing involving combining an indicator indicating the angle.
  • the image processing apparatus according to any one of (25) to (30), in which the image processing unit performs camera shake correction processing based on the angle specified by the angle specification unit.
  • the image processing apparatus according to (31), in which the image processing unit performs the camera shake correction processing on the basis of, among motion information acquired from the in-vivo image, corrected motion information acquired by suppressing a component corresponding to a rotation direction specified on the basis of the angle.
  • the image processing apparatus according to any one of (25) to (32), further including a light source controller configured to perform light source control based on the angle specified by the angle specification unit.
  • the image processing apparatus in which the light source controller performs light source control in a manner that a light source which is specified on the basis of the angle and which contributes to imaging is turned on and another light source is turned off. (35) The image processing apparatus according to (33), in which the light source controller performs light source control in a manner that a light source that contributes more to imaging is provided with stronger power, on the basis of the angle. (36) The image processing apparatus according to any one of (25) to (35), in which the image formation optical system is included in an endoscope.
  • An image processing method including: specifying, by a processor, an angle of a line-of-sight direction on the basis of an in-vivo image based on light transmitted through an optical member, the optical member including a marker and being optically connected to an image formation optical system capable of changing the angle of the line-of-sight direction; and performing image processing on the in-vivo image.
  • An optical member including a marker in which the optical member is optically connected to an image formation optical system capable of changing an angle of a line-of-sight direction.
  • optical member according to (39) in which the optical member includes a plurality of markers, and in the plurality of markers, positions of boundaries of the plurality of colors in a vertical direction are different for each of the markers.
  • endoscopic surgery system 2 endoscope 3 energy treatment tool 4 forceps 5 CCU (camera control unit) 6 light source device 7 treatment tool device 8 pneumoperitoneum device 9 display device 10 recorder 11 printer 20 body tube 22 objective lens 24 image formation optical system 26 angle adjustment unit 27 light output unit 52 angle specification unit 53 rotation direction specification unit 54, 55 image processing unit 56 light source controller

Landscapes

  • Health & Medical Sciences (AREA)
  • Life Sciences & Earth Sciences (AREA)
  • Surgery (AREA)
  • Engineering & Computer Science (AREA)
  • Public Health (AREA)
  • Animal Behavior & Ethology (AREA)
  • Pathology (AREA)
  • Nuclear Medicine, Radiotherapy & Molecular Imaging (AREA)
  • Veterinary Medicine (AREA)
  • Biomedical Technology (AREA)
  • Heart & Thoracic Surgery (AREA)
  • Medical Informatics (AREA)
  • Molecular Biology (AREA)
  • General Health & Medical Sciences (AREA)
  • Physics & Mathematics (AREA)
  • Biophysics (AREA)
  • Optics & Photonics (AREA)
  • Radiology & Medical Imaging (AREA)
  • Signal Processing (AREA)
  • Oral & Maxillofacial Surgery (AREA)
  • Multimedia (AREA)
  • Endoscopes (AREA)
  • Instruments For Viewing The Inside Of Hollow Bodies (AREA)
PCT/JP2017/043593 2016-12-09 2017-12-05 Image processing apparatus, image processing method, and optical member Ceased WO2018105592A1 (en)

Priority Applications (3)

Application Number Priority Date Filing Date Title
CN201780074717.2A CN110022750B (zh) 2016-12-09 2017-12-05 图像处理设备、图像处理方法和光学元件
EP17818313.3A EP3551028A1 (en) 2016-12-09 2017-12-05 Image processing apparatus, image processing method, and optical member
US16/465,827 US10917572B2 (en) 2016-12-09 2017-12-05 Image processing apparatus, image processing method, and optical member

Applications Claiming Priority (2)

Application Number Priority Date Filing Date Title
JP2016-239639 2016-12-09
JP2016239639A JP7031118B2 (ja) 2016-12-09 2016-12-09 画像処理装置、及び、画像処理方法

Publications (1)

Publication Number Publication Date
WO2018105592A1 true WO2018105592A1 (en) 2018-06-14

Family

ID=60782305

Family Applications (1)

Application Number Title Priority Date Filing Date
PCT/JP2017/043593 Ceased WO2018105592A1 (en) 2016-12-09 2017-12-05 Image processing apparatus, image processing method, and optical member

Country Status (5)

Country Link
US (1) US10917572B2 (enExample)
EP (1) EP3551028A1 (enExample)
JP (1) JP7031118B2 (enExample)
CN (1) CN110022750B (enExample)
WO (1) WO2018105592A1 (enExample)

Families Citing this family (2)

* Cited by examiner, † Cited by third party
Publication number Priority date Publication date Assignee Title
US11147629B2 (en) * 2018-06-08 2021-10-19 Acclarent, Inc. Surgical navigation system with automatically driven endoscope
CN110327119A (zh) * 2019-08-15 2019-10-15 山东大学第二医院 胆总管手术成像系统

Citations (3)

* Cited by examiner, † Cited by third party
Publication number Priority date Publication date Assignee Title
US6449103B1 (en) * 1997-04-16 2002-09-10 Jeffrey R. Charles Solid catadioptric omnidirectional optical system having central coverage means which is associated with a camera, projector, medical instrument, or similar article
JP2006218027A (ja) 2005-02-09 2006-08-24 Olympus Corp 内視鏡装置
WO2016072059A1 (en) * 2014-11-06 2016-05-12 Sony Corporation Endoscope system, image processing device, image processing method, and program

Family Cites Families (12)

* Cited by examiner, † Cited by third party
Publication number Priority date Publication date Assignee Title
DE10117095A1 (de) * 2001-04-06 2002-10-10 Rieter Ingolstadt Spinnerei Austauschbare Maschinenkomponente einer Spinnereimaschine mit einer Identifikationskennzeichnung und System zur Qualitätssicherung
JP2004081549A (ja) 2002-08-27 2004-03-18 Terumo Corp レーザ照射装置
DE10323088A1 (de) * 2003-05-16 2004-12-02 Dr. Johannes Heidenhain Gmbh Positionsmesseinrichtung
US7530948B2 (en) * 2005-02-28 2009-05-12 University Of Washington Tethered capsule endoscope for Barrett's Esophagus screening
EP2111147B1 (en) 2007-01-19 2016-06-29 Sunnybrook Health Science Centre Scanning mechanisms for imaging probe
US8251893B2 (en) * 2007-01-31 2012-08-28 National University Corporation Hamamatsu University School Of Medicine Device for displaying assistance information for surgical operation, method for displaying assistance information for surgical operation, and program for displaying assistance information for surgical operation
JP2011160998A (ja) 2010-02-10 2011-08-25 Masataka Funada 内視鏡および内視鏡装置
JP6253230B2 (ja) * 2012-12-25 2017-12-27 オリンパス株式会社 画像処理装置、プログラム及び画像処理装置の作動方法
JP6188369B2 (ja) 2013-03-22 2017-08-30 シャープ株式会社 撮像装置
CN103417181B (zh) * 2013-08-01 2015-12-09 北京航空航天大学 一种光场视频摄像机内窥方法
JP5932894B2 (ja) * 2014-03-24 2016-06-08 富士フイルム株式会社 医用画像処理装置及びその作動方法
CN105231984A (zh) * 2015-11-02 2016-01-13 西安索格医疗科技有限公司 一次性使用的喉镜镜片

Patent Citations (3)

* Cited by examiner, † Cited by third party
Publication number Priority date Publication date Assignee Title
US6449103B1 (en) * 1997-04-16 2002-09-10 Jeffrey R. Charles Solid catadioptric omnidirectional optical system having central coverage means which is associated with a camera, projector, medical instrument, or similar article
JP2006218027A (ja) 2005-02-09 2006-08-24 Olympus Corp 内視鏡装置
WO2016072059A1 (en) * 2014-11-06 2016-05-12 Sony Corporation Endoscope system, image processing device, image processing method, and program

Also Published As

Publication number Publication date
CN110022750B (zh) 2022-04-15
US20190335104A1 (en) 2019-10-31
JP7031118B2 (ja) 2022-03-08
CN110022750A (zh) 2019-07-16
JP2018093976A (ja) 2018-06-21
EP3551028A1 (en) 2019-10-16
US10917572B2 (en) 2021-02-09

Similar Documents

Publication Publication Date Title
US11672516B2 (en) Control apparatus, control method, and control system
US11123150B2 (en) Information processing apparatus, assistance system, and information processing method
US11033338B2 (en) Medical information processing apparatus, information processing method, and medical information processing system
EP3705018B1 (en) Surgical arm system and surgical arm control system
CN114051387A (zh) 医学观察系统、控制装置和控制方法
JPWO2018159328A1 (ja) 医療用アームシステム、制御装置及び制御方法
CN113645919A (zh) 医疗臂系统、控制装置和控制方法
US20200084379A1 (en) Control apparatus, control method, and program
JP5750669B2 (ja) 内視鏡システム
JP6401800B2 (ja) 画像処理装置、画像処理装置の作動方法、画像処理装置の作動プログラムおよび内視鏡装置
JPWO2014168128A1 (ja) 内視鏡システム及び内視鏡システムの作動方法
US20210169305A1 (en) Image processing apparatus, image processing method, and image processing system
US20230248231A1 (en) Medical system, information processing apparatus, and information processing method
US11348684B2 (en) Surgical support system, information processing method, and information processing apparatus
WO2022249593A1 (ja) 情報処理装置、情報処理システム及び情報処理方法
WO2018105592A1 (en) Image processing apparatus, image processing method, and optical member
JP7456385B2 (ja) 画像処理装置、および画像処理方法、並びにプログラム
WO2017145606A1 (ja) 画像処理装置、画像処理方法及び内視鏡システム
US20220022728A1 (en) Medical system, information processing device, and information processing method
US20240285157A1 (en) Medical observation system, information processing apparatus, and information processing method
EP3598735A1 (en) Imaging device, video signal processing device, and video signal processing method
JP7544033B2 (ja) 医療システム、情報処理装置及び情報処理方法
JP2000271081A (ja) 内視鏡カメラ視野制御方法
US20210304419A1 (en) Medical system, information processing apparatus, and information processing method
WO2023176133A1 (ja) 内視鏡用保持装置、内視鏡手術システム、及び制御方法

Legal Events

Date Code Title Description
121 Ep: the epo has been informed by wipo that ep was designated in this application

Ref document number: 17818313

Country of ref document: EP

Kind code of ref document: A1

NENP Non-entry into the national phase

Ref country code: DE

ENP Entry into the national phase

Ref document number: 2017818313

Country of ref document: EP

Effective date: 20190709