WO2018043073A1 - 電気接続箱 - Google Patents

電気接続箱 Download PDF

Info

Publication number
WO2018043073A1
WO2018043073A1 PCT/JP2017/028868 JP2017028868W WO2018043073A1 WO 2018043073 A1 WO2018043073 A1 WO 2018043073A1 JP 2017028868 W JP2017028868 W JP 2017028868W WO 2018043073 A1 WO2018043073 A1 WO 2018043073A1
Authority
WO
WIPO (PCT)
Prior art keywords
case
bus bar
liquid refrigerant
relay
junction box
Prior art date
Legal status (The legal status is an assumption and is not a legal conclusion. Google has not performed a legal analysis and makes no representation as to the accuracy of the status listed.)
Ceased
Application number
PCT/JP2017/028868
Other languages
English (en)
French (fr)
Japanese (ja)
Inventor
平光 宏臣
黒豆 友孝
正人 筒木
Current Assignee (The listed assignees may be inaccurate. Google has not performed a legal analysis and makes no representation or warranty as to the accuracy of the list.)
Sumitomo Wiring Systems Ltd
AutoNetworks Technologies Ltd
Sumitomo Electric Industries Ltd
Original Assignee
Sumitomo Wiring Systems Ltd
AutoNetworks Technologies Ltd
Sumitomo Electric Industries Ltd
Priority date (The priority date is an assumption and is not a legal conclusion. Google has not performed a legal analysis and makes no representation as to the accuracy of the date listed.)
Filing date
Publication date
Application filed by Sumitomo Wiring Systems Ltd, AutoNetworks Technologies Ltd, Sumitomo Electric Industries Ltd filed Critical Sumitomo Wiring Systems Ltd
Priority to US16/325,494 priority Critical patent/US10637224B2/en
Priority to CN201780051401.1A priority patent/CN109643885B/zh
Priority to DE112017004326.3T priority patent/DE112017004326B4/de
Publication of WO2018043073A1 publication Critical patent/WO2018043073A1/ja
Anticipated expiration legal-status Critical
Ceased legal-status Critical Current

Links

Images

Classifications

    • BPERFORMING OPERATIONS; TRANSPORTING
    • B60VEHICLES IN GENERAL
    • B60RVEHICLES, VEHICLE FITTINGS, OR VEHICLE PARTS, NOT OTHERWISE PROVIDED FOR
    • B60R16/00Electric or fluid circuits specially adapted for vehicles and not otherwise provided for; Arrangement of elements of electric or fluid circuits specially adapted for vehicles and not otherwise provided for
    • B60R16/02Electric or fluid circuits specially adapted for vehicles and not otherwise provided for; Arrangement of elements of electric or fluid circuits specially adapted for vehicles and not otherwise provided for electric constitutive elements
    • B60R16/023Electric or fluid circuits specially adapted for vehicles and not otherwise provided for; Arrangement of elements of electric or fluid circuits specially adapted for vehicles and not otherwise provided for electric constitutive elements for transmission of signals between vehicle parts or subsystems
    • B60R16/0239Electronic boxes
    • HELECTRICITY
    • H02GENERATION; CONVERSION OR DISTRIBUTION OF ELECTRIC POWER
    • H02GINSTALLATION OF ELECTRIC CABLES OR LINES, OR OF COMBINED OPTICAL AND ELECTRIC CABLES OR LINES
    • H02G3/00Installations of electric cables or lines or protective tubing therefor in or on buildings, equivalent structures or vehicles
    • H02G3/02Details
    • H02G3/08Distribution boxes; Connection or junction boxes
    • H02G3/16Distribution boxes; Connection or junction boxes structurally associated with support for line-connecting terminals within the box
    • BPERFORMING OPERATIONS; TRANSPORTING
    • B60VEHICLES IN GENERAL
    • B60RVEHICLES, VEHICLE FITTINGS, OR VEHICLE PARTS, NOT OTHERWISE PROVIDED FOR
    • B60R16/00Electric or fluid circuits specially adapted for vehicles and not otherwise provided for; Arrangement of elements of electric or fluid circuits specially adapted for vehicles and not otherwise provided for
    • B60R16/02Electric or fluid circuits specially adapted for vehicles and not otherwise provided for; Arrangement of elements of electric or fluid circuits specially adapted for vehicles and not otherwise provided for electric constitutive elements
    • BPERFORMING OPERATIONS; TRANSPORTING
    • B60VEHICLES IN GENERAL
    • B60RVEHICLES, VEHICLE FITTINGS, OR VEHICLE PARTS, NOT OTHERWISE PROVIDED FOR
    • B60R16/00Electric or fluid circuits specially adapted for vehicles and not otherwise provided for; Arrangement of elements of electric or fluid circuits specially adapted for vehicles and not otherwise provided for
    • B60R16/02Electric or fluid circuits specially adapted for vehicles and not otherwise provided for; Arrangement of elements of electric or fluid circuits specially adapted for vehicles and not otherwise provided for electric constitutive elements
    • B60R16/023Electric or fluid circuits specially adapted for vehicles and not otherwise provided for; Arrangement of elements of electric or fluid circuits specially adapted for vehicles and not otherwise provided for electric constitutive elements for transmission of signals between vehicle parts or subsystems
    • B60R16/0238Electrical distribution centers
    • HELECTRICITY
    • H02GENERATION; CONVERSION OR DISTRIBUTION OF ELECTRIC POWER
    • H02GINSTALLATION OF ELECTRIC CABLES OR LINES, OR OF COMBINED OPTICAL AND ELECTRIC CABLES OR LINES
    • H02G3/00Installations of electric cables or lines or protective tubing therefor in or on buildings, equivalent structures or vehicles
    • H02G3/02Details
    • H02G3/03Cooling
    • HELECTRICITY
    • H02GENERATION; CONVERSION OR DISTRIBUTION OF ELECTRIC POWER
    • H02GINSTALLATION OF ELECTRIC CABLES OR LINES, OR OF COMBINED OPTICAL AND ELECTRIC CABLES OR LINES
    • H02G3/00Installations of electric cables or lines or protective tubing therefor in or on buildings, equivalent structures or vehicles
    • H02G3/02Details
    • H02G3/08Distribution boxes; Connection or junction boxes
    • H02G3/081Bases, casings or covers
    • HELECTRICITY
    • H02GENERATION; CONVERSION OR DISTRIBUTION OF ELECTRIC POWER
    • H02GINSTALLATION OF ELECTRIC CABLES OR LINES, OR OF COMBINED OPTICAL AND ELECTRIC CABLES OR LINES
    • H02G5/00Installations of bus-bars
    • H02G5/10Cooling
    • HELECTRICITY
    • H05ELECTRIC TECHNIQUES NOT OTHERWISE PROVIDED FOR
    • H05KPRINTED CIRCUITS; CASINGS OR CONSTRUCTIONAL DETAILS OF ELECTRIC APPARATUS; MANUFACTURE OF ASSEMBLAGES OF ELECTRICAL COMPONENTS
    • H05K7/00Constructional details common to different types of electric apparatus
    • H05K7/02Arrangements of circuit components or wiring on supporting structure
    • H05K7/06Arrangements of circuit components or wiring on supporting structure on insulating boards, e.g. wiring harnesses
    • HELECTRICITY
    • H05ELECTRIC TECHNIQUES NOT OTHERWISE PROVIDED FOR
    • H05KPRINTED CIRCUITS; CASINGS OR CONSTRUCTIONAL DETAILS OF ELECTRIC APPARATUS; MANUFACTURE OF ASSEMBLAGES OF ELECTRICAL COMPONENTS
    • H05K7/00Constructional details common to different types of electric apparatus
    • H05K7/20Modifications to facilitate cooling, ventilating, or heating
    • HELECTRICITY
    • H05ELECTRIC TECHNIQUES NOT OTHERWISE PROVIDED FOR
    • H05KPRINTED CIRCUITS; CASINGS OR CONSTRUCTIONAL DETAILS OF ELECTRIC APPARATUS; MANUFACTURE OF ASSEMBLAGES OF ELECTRICAL COMPONENTS
    • H05K7/00Constructional details common to different types of electric apparatus
    • H05K7/20Modifications to facilitate cooling, ventilating, or heating
    • H05K7/20218Modifications to facilitate cooling, ventilating, or heating using a liquid coolant without phase change in electronic enclosures
    • H05K7/20236Modifications to facilitate cooling, ventilating, or heating using a liquid coolant without phase change in electronic enclosures by immersion
    • HELECTRICITY
    • H05ELECTRIC TECHNIQUES NOT OTHERWISE PROVIDED FOR
    • H05KPRINTED CIRCUITS; CASINGS OR CONSTRUCTIONAL DETAILS OF ELECTRIC APPARATUS; MANUFACTURE OF ASSEMBLAGES OF ELECTRICAL COMPONENTS
    • H05K7/00Constructional details common to different types of electric apparatus
    • H05K7/20Modifications to facilitate cooling, ventilating, or heating
    • H05K7/20218Modifications to facilitate cooling, ventilating, or heating using a liquid coolant without phase change in electronic enclosures
    • H05K7/20254Cold plates transferring heat from heat source to coolant
    • HELECTRICITY
    • H05ELECTRIC TECHNIQUES NOT OTHERWISE PROVIDED FOR
    • H05KPRINTED CIRCUITS; CASINGS OR CONSTRUCTIONAL DETAILS OF ELECTRIC APPARATUS; MANUFACTURE OF ASSEMBLAGES OF ELECTRICAL COMPONENTS
    • H05K7/00Constructional details common to different types of electric apparatus
    • H05K7/20Modifications to facilitate cooling, ventilating, or heating
    • H05K7/20218Modifications to facilitate cooling, ventilating, or heating using a liquid coolant without phase change in electronic enclosures
    • H05K7/20272Accessories for moving fluid, for expanding fluid, for connecting fluid conduits, for distributing fluid, for removing gas or for preventing leakage, e.g. pumps, tanks or manifolds

Definitions

  • the technology disclosed in this specification relates to an electrical junction box.
  • Vehicles such as electric vehicles and hybrid vehicles are equipped with a battery module as a power source.
  • the battery module includes a plurality of single cells and supplies power to a load such as a motor.
  • the battery module is connected to an electrical junction box that turns on / off the power supplied to the load.
  • An electrical junction box disclosed in this specification is an electrical junction box arranged between a power source and a load, and includes a case having an opening and a circuit configuration arranged by closing the opening of the case And a liquid refrigerant stored inside the case, the circuit component having a case facing surface facing the case, and disposed on the case facing surface between the power source and the load.
  • a bus bar constituting the conductive path is provided, and the bus bar is immersed in the liquid refrigerant.
  • a relatively large current flows through the bus bar that constitutes the conductive path between the power source and the load, so that a relatively large amount of heat is generated from the bus bar.
  • the bus bar since the bus bar is immersed in the liquid refrigerant, heat generated in the bus bar when energized is transmitted to the liquid refrigerant.
  • positioned can be cooled efficiently.
  • a member having a relatively small calorific value may be disposed on the surface opposite to the case, so that the size of the case and the amount of liquid refrigerant are minimized. can do.
  • the said circuit structure is provided with the relay which has a terminal, The said terminal is provided with the contact part connected with the said bus-bar, The said contact part may be immersed in the said liquid refrigerant. .
  • the circuit configuration body includes a main relay, a precharge relay and a precharge resistor that are connected in parallel to the main relay to form a precharge circuit, and the precharge resistor May be immersed in the liquid refrigerant.
  • the precharge resistor having a relatively large calorific value since the precharge resistor having a relatively large calorific value is immersed in the liquid refrigerant, the heat generated by the precharge resistor when energized is transmitted to the liquid refrigerant. Thereby, the electrical junction box in which the precharge resistor is arranged can be efficiently cooled.
  • the case may include an inflow port through which the liquid refrigerant can flow in and an outflow port through which the liquid refrigerant can flow out.
  • the cooled liquid refrigerant can be flowed into the case from the inflow port, and the liquid refrigerant whose temperature has been increased by receiving heat can be flowed out of the case from the outflow port.
  • the cooling efficiency of an electrical junction box can be improved.
  • the case may include a heat sink that is in contact with the liquid refrigerant.
  • the heat received by the liquid refrigerant can be efficiently radiated through the heat sink.
  • the cooling efficiency of an electrical junction box can be improved.
  • the electrical junction box can be efficiently cooled.
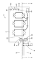
  • FIG. 1 is a perspective view of an electrical junction box according to Embodiment 1.
  • FIG. Perspective view of electrical junction box 2 Disassembled perspective view of electrical junction box Top view of electrical junction box Cooling case perspective view Perspective view of circuit structure Bottom view of circuit structure Perspective view of power distribution board AA line sectional view of FIG. BB sectional view of FIG. Enlarged view of circle R1 in FIG. Enlarged view of circle R2 in FIG.
  • the electrical connection box 10 of this embodiment is a device that is mounted on a vehicle (not shown) such as an electric vehicle or a hybrid vehicle, and turns on / off power supplied from a power source (not shown) to a load.
  • the electrical junction box 10 includes a cooling case 20 (corresponding to the case) and a circuit component 30 assembled to the cooling case 20, and the liquid refrigerant R is stored inside the cooling case 20. ing.
  • the cooling case 20 is made of an insulating synthetic resin and includes a case main body 21 and an inflow pipe 25P and an outflow pipe 26P connected to the case main body 21 as shown in FIG.
  • the case body 21 includes a substantially rectangular bottom wall 22 and a peripheral wall 23 extending perpendicularly from the outer peripheral edge of the bottom wall 22 to the bottom wall 22, and has an opening 24 on the opposite side of the bottom wall 22.
  • a rectangular container in the peripheral wall 23, two wall portions extending from two long sides of the bottom wall 22 are referred to as a long side wall 23L, and two wall portions extending from two short sides of the bottom wall 22 are referred to as short piece walls 23S1, 23S2.
  • one short side wall 23S1 of the two short piece walls 23S1 and 23S2 has an inflow port 25 penetrating from the outer surface to the inner surface.
  • a cylindrical inflow pipe 25P is inserted.
  • the other short side wall 23 ⁇ / b> S ⁇ b> 2 has an outlet 26 that penetrates from the outer surface to the inner surface, and a cylindrical outlet pipe 26 ⁇ / b> P is inserted into the outlet 26.
  • the peripheral wall 23 has a support surface 27 that supports the circuit component 30.
  • the support surface 27 is a surface parallel to the bottom wall 22 formed by cutting out the edge of the opening 24.
  • the support surface 27 has a seal groove 28.
  • the seal groove 28 is a recess that is recessed from the support surface 27 toward the bottom wall 22, and is accommodated in a state in which the seal ring S ⁇ b> 1 slightly protrudes to the outside.
  • the seal ring S1 is a rectangular frame-shaped member made of an elastic member such as rubber.
  • the insulating liquid refrigerant R is stored in the cooling case 20.
  • the liquid refrigerant R for example, one or a plurality selected from the group consisting of perfluorocarbons, hydrofluoroethers, hydrofluoroketones, fluorine inert liquids, silicone oils, mineral oils, and hydrocarbon refrigerants are used. be able to. In FIG. 9, FIG. 10, FIG. 11 and FIG. 12, the liquid refrigerant R is shaded.
  • a radiator 91, a reservoir tank 92, and a pump 93 having a well-known configuration can be connected to the electrical junction box 10 via a connection pipe 90 connected to the inflow pipe 25P and the outflow pipe 26P.
  • the liquid refrigerant R cooled by the radiator 91 can be circulated inside the cooling case 20.
  • the circuit component 30 is a member disposed so as to close the opening 24 of the cooling case 20, and as shown in FIG. 3, as shown in FIG. 3, the power distribution plate 40 and the power distribution plate 40. And a plurality of bus bars 80A, 80B, 80C, 80D, 80E, two main relays 50B, 50C (corresponding to relays), and two main relays 50B constituting a conductive path between a power source and a load. , A precharge relay 50A (corresponding to a relay) and a precharge resistor 70 which are connected in parallel with 50C and constitute a precharge circuit.
  • the power distribution plate 40 is made of synthetic resin, and as shown in FIG. 8, a rectangular plate-shaped main plate 41, three relay holding portions 42A, 42B, 42C disposed on the main plate 41, and four Connectors 48A, 48B, 48C, and 48D are provided.
  • the main plate 41 is disposed so as to close the opening 24 of the cooling case 20, and the peripheral portion is supported by the support surface 27.
  • the seal ring S1 is sandwiched between the inner wall of the seal groove 28 and the main plate 41, so that the gap between the cooling case 20 and the power distribution plate 40 is sealed in a liquid-tight manner.
  • One surface of the main plate 41 is a case facing surface 41 ⁇ / b> F that faces the cooling case 20.
  • the three relay holding parts 42A, 42B, and 42C are a first relay holding part 42A, a second relay holding part 42B, and a third relay holding part 42C from the right side of FIG.
  • the second relay holding unit 42B and the third relay holding unit 42C have the same configuration as the first relay holding unit 42A except that the second relay holding unit 42B and the third relay holding unit 42C are slightly larger than the first relay holding unit 42A.
  • the first relay holding unit 42A will be described in detail, and the second relay holding unit 42B and the third relay holding unit 42C will be denoted by the same reference numerals as those of the first relay holding unit 42A, and description thereof will be omitted. .
  • the first relay holding portion 42A includes a relay holding cylinder 43, a relay holding wall 44, and two relay fixing columns 45.
  • the relay holding cylinder 43 is a rectangular tube-shaped portion that is disposed through the main plate 41 and that is open at both ends, and is slightly cooled from the power distribution plate 40 at one end. 20 projects toward the opposite side of the cooling case 20.
  • the relay holding wall 44 is a plate wall-shaped portion that extends perpendicularly to the relay holding cylinder 43 inward from the opening edge of the relay holding cylinder 43 facing the cooling case 20.
  • each of the two relay fixing pillars 45 is disposed adjacent to the relay holding cylinder 43 and extends from the main plate 41 to the opposite side of the cooling case 20 and is opposite to the main plate 41.
  • a nut housing portion 46 for housing a nut (not shown) and a bolt insertion hole 47 for inserting the bolt B are provided.
  • Two of the four connectors 48A, 48B, 48C, 48D are a first positive connector 48A and a first negative connector 48B for connection to a power source, and as shown in FIG. It is arranged side by side.
  • the other two are a second positive electrode connector 48C and a second negative electrode connector 48D for connection to a load.
  • the first positive electrode connector 48A and the second positive electrode connector 48D sandwich the three relay holding portions 42A, 42B, and 42C.
  • the first negative connector 48B is arranged side by side on the opposite side.
  • the three relays 50A, 50B, 50C are precharge relay 50A held by the first relay holding unit 42A, positive main relay 50B held by the second relay holding unit 42B, and third relay holding. This is the negative main relay 50C held by the part 42C.
  • the positive main relay 50B and the negative main relay 50C have the same configuration as the precharge relay 50A except that the positive main relay 50B and the negative main relay 50C are slightly larger than the precharge relay 50A. Therefore, the precharge relay 50A will be described in detail below.
  • symbol is attached
  • the precharge relay 50 ⁇ / b> A includes a relay case 51, two fixed terminals 57 assembled to the relay case 51, a coil 63 accommodated in the relay case 51, and a movable member 66.
  • the relay case 51 is made of a synthetic resin, and includes a rectangular plate-like upper wall 52 and a lower wall 53 that are arranged to face each other, and a rectangular tubular peripheral wall 54 that connects the upper wall 52 and the lower wall 53. It is a rectangular case provided. As shown in FIG. 3, two attachment pieces 55 extend from the upper wall 52. Each of the two attachment pieces 55 is a rectangular plate-like portion and extends from the periphery of the upper wall 52 on the same plane as the upper wall 52.
  • Each of the two fixed terminals 57 is a metal columnar member and is disposed through the lower wall 53. Between each fixed terminal 57 and the lower wall 53, a packing P1 made of an elastic member such as rubber is interposed. With this packing P1, a gap between the fixed terminal 57 and the lower wall 53 is liquid-tight. It is designed to be sealed.
  • Each fixed terminal 57 has a bus bar contact 58 (corresponding to the contact) at one end arranged outside the relay case 51, and has a bolt hole (not shown) that opens to the bus bar contact 58. is doing.
  • the other end disposed inside the relay case 51 is a fixed contact 59.
  • a coil bobbin 62 fixed to the upper wall 52 via a pedestal portion 61 is arranged inside the relay case 51.
  • a metal wire is wound around the coil bobbin 62 to form a coil 63.
  • a core (not shown) made of a magnetic material is accommodated in the coil bobbin 62.
  • a protruding shaft portion 64 protrudes from the coil bobbin 62 toward the lower wall 53.
  • a magnetic member 65 made of a magnetic material is fixed to the end of the protruding shaft portion 64.
  • a movable member 66 is disposed on the surface facing the lower wall 53 of the magnetic member 65.
  • the movable member 66 is made of a material that has conductivity and can be attracted to the magnetic member 65 by magnetic force.
  • the movable member 66 has two movable contacts 67 that are hemispherically raised on the surface facing the fixed terminal 57. Each of the two movable contacts 67 is disposed to face each of the two fixed contacts 59.
  • a spring that urges the movable member 66 toward the fixed terminal 57 is disposed between the movable member 66 and the magnetic member 65.
  • the movable member 66 Due to the elastic force of the spring, the movable member 66 is urged toward the fixed terminal 57 so that the fixed contact 59 and the movable contact 67 come into contact with each other.
  • the coil 63 is energized, the movable member 66 is attracted to the magnetic member 65 by the magnetic force generated in the coil 63 and the core. Thereby, the electrical connection between the fixed contact 59 and the movable contact 67 is cut off.
  • the precharge relay 50 ⁇ / b> A includes a portion adjacent to the lower wall 53 inside the relay holding cylinder 43 of the first relay holding portion 42 ⁇ / b> A, and each of the two attachment pieces 55 includes two pieces.
  • each of the relay fixing pillars 45 By being fixed to each of the relay fixing pillars 45 by bolts B, they are held by the first relay holding portion 42A.
  • the lower wall 53 is supported by the relay holding wall 44.
  • the bus bar contacts 58 of the two fixed terminals 57 protrude from the relay holding wall 44 toward the bottom wall 22 and are disposed on the case facing surface 41 ⁇ / b> F of the power distribution plate 40.
  • the relay case 51 is located on the opposite side of the cooling case 20 with respect to the main plate 41.
  • the relay case 51 is entirely located outside the cooling case 20.
  • a seal ring S2 is interposed between the relay holding wall 44 and the lower wall 53, and the gap between the power distribution plate 40 and the precharge relay 50A is liquid-tightly sealed by the seal ring S2. ing.
  • a positive main relay 50B is held in the second relay holding portion 42B, and a negative main relay 50C is held in the third relay holding portion 42C.
  • the precharge resistor 70 is a resistor disposed on the case facing surface 41 ⁇ / b> F of the power distribution plate 40, and includes a resistor main body 71 and two terminal portions 72 connected to the resistor main body 71.
  • bus bar 80A, 80B, 80C, 80D, 80E The plurality of bus bars are five bus bars (first positive bus bar 80A, second positive bus bar 80B, third positive bus bar 80C, first negative bus bar 80D, second negative bus bar 80E) disposed on the case facing surface 41F of the power distribution plate 40. )including.
  • each bus bar 80A, 80B, 80C, 80D, 80E is an elongated plate-like member made of metal, and some of the bus bars 80B, 80C, 80D are arranged in the routing route. Accordingly, it has a bent shape.
  • the first positive electrode bus bar 80A includes an elongated plate-like bus bar main body 81A and a connection portion 82A extending perpendicularly to the bus bar main body 81A from one end of the bus bar main body 81A.
  • the bus bar body 81A abuts against one bus bar contact 58 of the positive main relay 50B and the bus bar contact 58 of one fixed terminal 57 of the negative main relay 50C, and is fixed by bolts B, respectively.
  • the connection portion 82 ⁇ / b> A penetrates the main plate 41 and is disposed on the first positive connector 48 ⁇ / b> A, and is fixed to the positive connection bus bar 84 with a bolt B.
  • the positive connection bus bar 84 is connected to the positive electrode of the power supply.
  • the second positive electrode bus bar 80B includes an elongated plate-like bus bar main body 81B and a connection portion 82B continuous from one end of the bus bar main body 81B.
  • the bus bar main body 81 ⁇ / b> B is in contact with the other bus bar contact 58 of the negative main relay 50 ⁇ / b> C and is fixed by a bolt B.
  • the connection part 82B is fixed to one terminal part 72 of the precharge resistor 70 with a bolt B.
  • the third positive electrode bus bar 80C includes an elongated plate-like bus bar main body 81C, a first connection portion 82C extending perpendicularly from one end of the bus bar main body 81C to the bus bar main body 81C, and the other bus bar main body 81C. And a second connection portion 83 ⁇ / b> C continuous from a portion close to the end. As shown in FIG. 7, the bus bar main body 81 ⁇ / b> C abuts on the other bus bar contact 58 of the positive main relay 50 ⁇ / b> B and is fixed by a bolt B. As shown in FIG.
  • the first connection portion 82 ⁇ / b> C passes through the main plate 41, is disposed on the second positive connector 48 ⁇ / b> C, and is connected to a load.
  • the second connection portion 83 ⁇ / b> C is fixed to the other terminal portion 72 of the precharge resistor 70 with a bolt B.
  • the first negative electrode bus bar 80D includes an elongated plate-like bus bar body 81D and a connection portion 82D extending perpendicularly from one end of the bus bar body 81D to the bus bar body 81D.
  • the bus bar main body 81 ⁇ / b> D is in contact with one bus bar contact 58 of the precharge relay 50 ⁇ / b> A and is fixed by a bolt B.
  • the connecting portion 82 ⁇ / b> D passes through the main plate 41, is disposed on the first negative connector 48 ⁇ / b> B, and is fixed to the negative connection bus bar 85 with bolts B.
  • the negative electrode connection bus bar 85 is connected to the negative electrode of the power source.
  • a current sensor 86 is attached to the negative electrode bus bar 88.
  • the second negative electrode bus bar 80E includes an elongated plate-like bus bar body 81E and a connection portion 82E extending perpendicularly from the one end of the bus bar body 81E to the bus bar body 81E.
  • the bus bar main body 81 ⁇ / b> E is in contact with the other bus bar contact 58 of the precharge relay 50 ⁇ / b> A and is fixed by a bolt B.
  • the connecting portion 82 ⁇ / b> E is disposed in the second negative connector 48 ⁇ / b> D through the main plate 41 and connected to a load.
  • connection part 82A, 82C, 82D, 82E which penetrates the main board 41, and the main board 41, packing P2 comprised with elastic members, such as rubber
  • the precharge resistor 70 is disposed entirely on the case facing surface 41 ⁇ / b> F of the power distribution plate 40 and is immersed in the liquid refrigerant R.
  • the five bus bars 80A, 80B, 80C, 80D, and 80E are portions of the power distribution board 40 except for the connection portions 82A, 82C, 82D, and 82E for connection to the power source and the load. These portions are disposed on the facing surface 41F, and these portions are immersed in the liquid refrigerant R as shown in FIGS.
  • the two bus bar contacts 58 of the precharge relay 50A are immersed in the liquid refrigerant R.
  • the bus bar contact 58 is similarly immersed in the liquid refrigerant R.
  • bus bar 80A, 80B, 80C, 80D, 80E, precharge resistor 70, and bus bar contact 58 can be cooled.
  • the electrical junction box 10 disposed between the power source and the load is disposed by closing the cooling case 20 having the opening 24 and the opening 24 of the cooling case 20.
  • the circuit structure 30 and the liquid refrigerant R stored in the cooling case 20 are provided.
  • the circuit structure 30 has a case facing surface 41F facing the cooling case 20, and a plurality of bus bars 80A, 80B, 80C, 80D arranged on the case facing surface 41F to form a conductive path between the power source and the load.
  • the bus bars 80A, 80B, 80C, 80D, and 80E are provided with 80E, and the portions excluding the connection portions 82A, 82C, 82D, and 82E for connection to the power source and the load are immersed in the liquid refrigerant R.
  • the bus bars 80A, 80B, 80C, 80D, and 80E are relatively large. Heat is generated.
  • the bus bars 80A, 80B, 80C, 80D, and 80E are configured such that portions other than the connection portions 82A, 82C, 82D, and 82E for connection to the power source and the load are immersed in the liquid refrigerant R. Therefore, the heat generated from the bus bars 80A, 80B, 80C, 80D, 80E when energized is transmitted to the liquid refrigerant R.
  • the bus bars 80A, 80B, 80C, 80D, and 80E can be efficiently cooled, so that the electrical junction box 10 in which the bus bars 80A, 80B, 80C, 80D, and 80E are disposed can be efficiently cooled.
  • a member having a relatively small calorific value may be disposed on the surface opposite to the cooling case 20, so that the size of the cooling case 20 and the liquid refrigerant R The amount can be minimized.
  • the circuit structure 30 includes three relays 50A, 50B, and 50C having fixed terminals 57.
  • Each fixed terminal 57 includes a bus bar contact 58 that contacts any one of the bus bars 80A, 80B, 80C, 80D, and 80E, and the bus bar contact 58 is immersed in the liquid refrigerant R.
  • the bus bar contact 58 having a relatively large calorific value is immersed in the liquid refrigerant R. Therefore, the current is generated at the bus bar contact 58 when energized. Heat is transferred to the liquid refrigerant R. Thereby, the electrical junction box 10 in which the relays 50A, 50B, and 50C are disposed can be efficiently cooled.
  • the relay case 51 is entirely located outside the cooling case 20. Thereby, the size of the cooling case 20 and the amount of the liquid refrigerant R can be minimized.
  • the circuit structure 30 includes two main relays 50B and 50C, and a precharge relay 50A and a precharge resistor 70 that are connected in parallel to the main relays 50B and 50C to form a precharge circuit.
  • the precharge resistor 70 is immersed in the liquid refrigerant R.
  • the precharge resistor 70 having a relatively large calorific value is immersed in the liquid refrigerant R, the heat generated in the precharge resistor 70 when energized is transmitted to the liquid refrigerant R. Is done. Thereby, the electrical junction box 10 provided with the precharge resistor 70 can be efficiently cooled.
  • the cooling case has an inlet 25 through which the liquid refrigerant R can flow in and an outlet 26 through which the liquid refrigerant R can flow out.
  • the cooled liquid refrigerant R flows into the cooling case 20 from the inlet 25 and receives the heat, and the liquid refrigerant R whose temperature has risen from the outlet 26 to the outside of the cooling case 20. Can be drained. Thereby, the cooling efficiency of the electrical junction box 10 can be improved.
  • Embodiment 2 will be described with reference to FIGS.
  • the electrical junction box 100 according to the second embodiment is different from the first embodiment in that the cooling case 110 includes a heat sink 113 instead of the inlet 25, the outlet 26, the inlet pipe 25P, and the outlet pipe 26P.
  • the same components as those of the first embodiment are denoted by the same reference numerals and description thereof is omitted.
  • the cooling case 110 includes a frame body 111 and a heat sink 113 fixed to the frame body 111.
  • the frame body 111 is a flat rectangular tube-shaped member made of an insulating synthetic resin and having openings at both ends.
  • the heat sink 113 is a heat radiating member made of a metal having excellent thermal conductivity. As shown in FIG. 16, the heat sink 113 has a closing surface 114 disposed so as to close one opening 112 ⁇ / b> A of the frame body 111, and a raised bottom portion 115 protruding from the closing surface 114.
  • the raised bottom portion 115 is a flat rectangular convex portion disposed on a portion of the closing surface 114 excluding a portion adjacent to the outer peripheral edge.
  • the raised bottom portion 115 is fitted almost tightly inside the one opening portion 112A of the frame body 111, and the portion around the raised bottom portion 115 abuts the frame body 111 on the closing surface 114, whereby the opening portion 24 is formed. It is blocked.
  • the gap between the frame body 111 and the closing surface 114 is sealed with a caulking material 116 as shown in FIG.
  • the liquid refrigerant R is stored in the internal space of the cooling case 110 surrounded by the frame body 111 and the closing surface 114, and the liquid refrigerant R contacts the raised bottom portion 115. Yes.
  • the opening 112 ⁇ / b> B on the opposite side to the heat sink 113 is closed by the circuit configuration body 30 as in the first embodiment.
  • the portions of the five bus bars 80A, 80B, 80C, 80D, and 80E except for the connection portions 82A, 82C, 82D, and 82E, the precharge resistor 70, and the three The bus bar contacts 5 of the relays 50A, 50B, and 50C are immersed in the liquid refrigerant R.
  • the heat sink 113 is disposed so that the surface opposite to the closing surface 114 is in contact with the vehicle body 120.
  • bus bar 80A, 80B, 80C, 80D, 80E, precharge resistor 70, and the bus bar contact 58 When energized, the heat generated at the bus bars 80A, 80B, 80C, 80D, 80E, the precharge resistor 70, and the bus bar contact 58 is transmitted to the liquid refrigerant R. Thereby, bus bar 80A, 80B, 80C, 80D, 80E, precharge resistor 70, and bus bar contact 58 can be cooled.
  • the heat transmitted to the liquid refrigerant R is transmitted to the vehicle body 120 via the heat sink 113 and is radiated.
  • the electrical junction box 100 can be efficiently cooled.
  • the cooling case 110 includes a heat sink 113 that is in contact with the liquid refrigerant R. According to such a configuration, the heat received by the liquid refrigerant R can be efficiently radiated through the heat sink 113. Thereby, the cooling efficiency of the electrical junction box 100 can be improved.
  • the circuit configuration body includes the five bus bars 80A, 80B, 80C, 80D, and 80E and the three relays 50A, 50B, and 50C, but the number of bus bars and relays is the above embodiment. However, the number is not limited to any number.
  • the circuit component is not limited to the precharge resistor, and any electronic component having a relatively large calorific value may be used. In this case, it may be arranged on the surface facing the case and immersed in the liquid refrigerant.
  • Precharge relay (relay) 50B Positive main relay (relay, main relay) 50C ... Negative electrode main relay (relay, main relay) 57 ... Fixed terminal 58 ...

Landscapes

  • Engineering & Computer Science (AREA)
  • Microelectronics & Electronic Packaging (AREA)
  • Physics & Mathematics (AREA)
  • Thermal Sciences (AREA)
  • Architecture (AREA)
  • Civil Engineering (AREA)
  • Structural Engineering (AREA)
  • Mechanical Engineering (AREA)
  • Connection Or Junction Boxes (AREA)
  • Cooling Or The Like Of Electrical Apparatus (AREA)
  • Electric Propulsion And Braking For Vehicles (AREA)
PCT/JP2017/028868 2016-08-30 2017-08-09 電気接続箱 Ceased WO2018043073A1 (ja)

Priority Applications (3)

Application Number Priority Date Filing Date Title
US16/325,494 US10637224B2 (en) 2016-08-30 2017-08-09 Electrical junction box
CN201780051401.1A CN109643885B (zh) 2016-08-30 2017-08-09 电连接箱
DE112017004326.3T DE112017004326B4 (de) 2016-08-30 2017-08-09 Elektrischer Verteilerkasten

Applications Claiming Priority (2)

Application Number Priority Date Filing Date Title
JP2016167616A JP6604289B2 (ja) 2016-08-30 2016-08-30 電気接続箱
JP2016-167616 2016-08-30

Publications (1)

Publication Number Publication Date
WO2018043073A1 true WO2018043073A1 (ja) 2018-03-08

Family

ID=61300540

Family Applications (1)

Application Number Title Priority Date Filing Date
PCT/JP2017/028868 Ceased WO2018043073A1 (ja) 2016-08-30 2017-08-09 電気接続箱

Country Status (5)

Country Link
US (1) US10637224B2 (enExample)
JP (1) JP6604289B2 (enExample)
CN (1) CN109643885B (enExample)
DE (1) DE112017004326B4 (enExample)
WO (1) WO2018043073A1 (enExample)

Cited By (3)

* Cited by examiner, † Cited by third party
Publication number Priority date Publication date Assignee Title
JP2023540768A (ja) * 2020-10-15 2023-09-26 エルジー エナジー ソリューション リミテッド 冷却性能が向上した電池パック及びこれを含むデバイス
JP2025037578A (ja) * 2023-09-06 2025-03-18 矢崎総業株式会社 電気接続箱
JP2025037579A (ja) * 2023-09-06 2025-03-18 矢崎総業株式会社 電気接続箱

Families Citing this family (17)

* Cited by examiner, † Cited by third party
Publication number Priority date Publication date Assignee Title
DE112018000105T5 (de) * 2017-04-27 2019-05-29 Fuji Electric Co., Ltd. Elektronisches bauelement und leistungsumwandlungseinrichtung
JP6958164B2 (ja) * 2017-05-23 2021-11-02 株式会社オートネットワーク技術研究所 コイル装置、基板付きコイル装置及び電気接続箱
JP7052689B2 (ja) 2018-11-21 2022-04-12 株式会社オートネットワーク技術研究所 回路構成体
JP7255453B2 (ja) * 2019-11-06 2023-04-11 株式会社オートネットワーク技術研究所 回路構成体
JP7375652B2 (ja) * 2020-03-30 2023-11-08 株式会社アイシン 車両用駆動装置及びバスバーモジュール
JP7230876B2 (ja) * 2020-04-15 2023-03-01 株式会社デンソー 電力分配装置
JP7409214B2 (ja) 2020-04-24 2024-01-09 株式会社オートネットワーク技術研究所 回路ユニット
US11622479B2 (en) * 2020-10-29 2023-04-04 Ford Global Technologies, Llc Liquid cooled terminal block assemblies
US11101630B1 (en) * 2021-01-14 2021-08-24 Liquidstack Holding B.V. Busbar assembly for immersion cooling
DE102021130486B4 (de) * 2021-04-06 2024-07-18 Lear Corporation Elektrische Anordnung
JP7596903B2 (ja) * 2021-04-09 2024-12-10 住友電装株式会社 電気接続箱
JP7485646B2 (ja) * 2021-12-02 2024-05-16 矢崎総業株式会社 電子部品ユニット
DE102022200644A1 (de) * 2022-01-20 2023-07-20 Robert Bosch Gesellschaft mit beschränkter Haftung Energieversorgungseinheit für ein Brennstoffzellensystem, Verfahren zur Herstellung einer Energieversorgungseinheit
CN114980667B (zh) * 2022-05-12 2024-09-06 西安交通大学 一种被动式热控系统
US12238905B2 (en) * 2022-12-16 2025-02-25 Bae Systems Controls Inc. Cooling systems and methods for cooling contactors
JP7744110B2 (ja) 2023-05-15 2025-09-25 矢崎総業株式会社 電気接続箱、及び、ワイヤハーネス
FR3150349B1 (fr) * 2023-06-26 2025-12-12 Renault Sas Boîtier de connexion électrique pour batterie d’accumulateurs, batterie d’accumulateurs et véhicule automobile

Citations (3)

* Cited by examiner, † Cited by third party
Publication number Priority date Publication date Assignee Title
JPS6487822A (en) * 1987-09-30 1989-03-31 Hitachi Ltd Electronic control device for car
JP2000315757A (ja) * 1999-05-06 2000-11-14 Nissan Motor Co Ltd 電力用半導体装置の冷却構造
JP2013034273A (ja) * 2011-08-01 2013-02-14 Denso Corp 電源装置

Family Cites Families (10)

* Cited by examiner, † Cited by third party
Publication number Priority date Publication date Assignee Title
DE19645636C1 (de) * 1996-11-06 1998-03-12 Telefunken Microelectron Leistungsmodul zur Ansteuerung von Elektromotoren
US7551439B2 (en) * 2006-03-28 2009-06-23 Delphi Technologies, Inc. Fluid cooled electronic assembly
DE102008061468A1 (de) * 2008-12-10 2010-06-17 Siemens Aktiengesellschaft Stromrichtermodul mit gekühlter Verschienung
JP5805926B2 (ja) 2009-10-26 2015-11-10 矢崎総業株式会社 電源回路
JP5501257B2 (ja) * 2011-01-12 2014-05-21 日立オートモティブシステムズ株式会社 回転電機ユニット
DE102013215913A1 (de) * 2013-08-12 2015-02-12 Siemens Aktiengesellschaft Hochspannungsdiodengleichrichter
JP6004192B2 (ja) * 2013-11-05 2016-10-05 株式会社オートネットワーク技術研究所 電気接続箱
CN105491849A (zh) * 2014-09-17 2016-04-13 联想(北京)有限公司 冷却装置和具有冷却装置的电子产品
CN204810797U (zh) * 2014-10-10 2015-11-25 汤金菊 高密度服务器液体浸没冷却机柜
CN205213249U (zh) * 2015-12-22 2016-05-04 西安因变光电科技有限公司 一种复合冷却机箱

Patent Citations (3)

* Cited by examiner, † Cited by third party
Publication number Priority date Publication date Assignee Title
JPS6487822A (en) * 1987-09-30 1989-03-31 Hitachi Ltd Electronic control device for car
JP2000315757A (ja) * 1999-05-06 2000-11-14 Nissan Motor Co Ltd 電力用半導体装置の冷却構造
JP2013034273A (ja) * 2011-08-01 2013-02-14 Denso Corp 電源装置

Cited By (4)

* Cited by examiner, † Cited by third party
Publication number Priority date Publication date Assignee Title
JP2023540768A (ja) * 2020-10-15 2023-09-26 エルジー エナジー ソリューション リミテッド 冷却性能が向上した電池パック及びこれを含むデバイス
JP7643793B2 (ja) 2020-10-15 2025-03-11 エルジー エナジー ソリューション リミテッド 冷却性能が向上した電池パック及びこれを含むデバイス
JP2025037578A (ja) * 2023-09-06 2025-03-18 矢崎総業株式会社 電気接続箱
JP2025037579A (ja) * 2023-09-06 2025-03-18 矢崎総業株式会社 電気接続箱

Also Published As

Publication number Publication date
US10637224B2 (en) 2020-04-28
JP2018038128A (ja) 2018-03-08
CN109643885A (zh) 2019-04-16
DE112017004326B4 (de) 2026-01-15
JP6604289B2 (ja) 2019-11-13
US20190214805A1 (en) 2019-07-11
DE112017004326T5 (de) 2019-06-19
CN109643885B (zh) 2020-10-20

Similar Documents

Publication Publication Date Title
JP6604289B2 (ja) 電気接続箱
CN114041230B (zh) 顶部冷却型电池组
US8134343B2 (en) Energy storage device for starting engines of motor vehicles and other transportation systems
JP6826331B1 (ja) 回路構成体
JP7255453B2 (ja) 回路構成体
CN108604789B (zh) 电气设备
JP7091971B2 (ja) 電池ユニット
US11991815B2 (en) Circuit structure
JP2014121260A (ja) Dcリンクコンデンサアセンブリ
JP2021052189A5 (enExample)
CN101874280B (zh) 电磁开关装置
US20220263305A1 (en) Circuit structure
CN112839480B (zh) 液体冷却式电力电子装置
CN114256531A (zh) 电池模块壳体和用于制造电池模块的方法
JP2015122165A (ja) 電池モジュールおよびそれに用いられるバスバー
US20180034120A1 (en) Battery module and battery
JP7352833B2 (ja) 回路構成体
US20250079612A1 (en) Cell holder for holding battery cells
JP6560988B2 (ja) 蓄電装置
US20250079812A1 (en) Electric junction box
WO2012121099A1 (ja) 蓄電装置
CN110277519A (zh) 电池组
CN210792818U (zh) 充电机
JP2025059281A (ja) 回路ユニット
WO2021215524A1 (ja) 回路ユニット

Legal Events

Date Code Title Description
121 Ep: the epo has been informed by wipo that ep was designated in this application

Ref document number: 17846082

Country of ref document: EP

Kind code of ref document: A1

122 Ep: pct application non-entry in european phase

Ref document number: 17846082

Country of ref document: EP

Kind code of ref document: A1