WO2018016550A1 - シャント抵抗器およびその実装方法 - Google Patents

シャント抵抗器およびその実装方法 Download PDF

Info

Publication number
WO2018016550A1
WO2018016550A1 PCT/JP2017/026176 JP2017026176W WO2018016550A1 WO 2018016550 A1 WO2018016550 A1 WO 2018016550A1 JP 2017026176 W JP2017026176 W JP 2017026176W WO 2018016550 A1 WO2018016550 A1 WO 2018016550A1
Authority
WO
WIPO (PCT)
Prior art keywords
shunt resistor
mark
bonding wire
resistor
line segment
Prior art date
Legal status (The legal status is an assumption and is not a legal conclusion. Google has not performed a legal analysis and makes no representation as to the accuracy of the status listed.)
Ceased
Application number
PCT/JP2017/026176
Other languages
English (en)
French (fr)
Japanese (ja)
Inventor
淳平 ▲高▼石
敬昌 林
Current Assignee (The listed assignees may be inaccurate. Google has not performed a legal analysis and makes no representation or warranty as to the accuracy of the list.)
Denso Corp
Original Assignee
Denso Corp
Priority date (The priority date is an assumption and is not a legal conclusion. Google has not performed a legal analysis and makes no representation as to the accuracy of the date listed.)
Filing date
Publication date
Application filed by Denso Corp filed Critical Denso Corp
Priority to CN201780044706.XA priority Critical patent/CN109478450A/zh
Publication of WO2018016550A1 publication Critical patent/WO2018016550A1/ja
Priority to US16/245,611 priority patent/US20190146007A1/en
Anticipated expiration legal-status Critical
Ceased legal-status Critical Current

Links

Images

Classifications

    • GPHYSICS
    • G01MEASURING; TESTING
    • G01RMEASURING ELECTRIC VARIABLES; MEASURING MAGNETIC VARIABLES
    • G01R15/00Details of measuring arrangements of the types provided for in groups G01R17/00 - G01R29/00, G01R33/00 - G01R33/26 or G01R35/00
    • G01R15/14Adaptations providing voltage or current isolation, e.g. for high-voltage or high-current networks
    • G01R15/146Measuring arrangements for current not covered by other subgroups of G01R15/14, e.g. using current dividers, shunts, or measuring a voltage drop
    • GPHYSICS
    • G01MEASURING; TESTING
    • G01RMEASURING ELECTRIC VARIABLES; MEASURING MAGNETIC VARIABLES
    • G01R1/00Details of instruments or arrangements of the types included in groups G01R5/00 - G01R13/00 and G01R31/00
    • G01R1/20Modifications of basic electric elements for use in electric measuring instruments; Structural combinations of such elements with such instruments
    • G01R1/203Resistors used for electric measuring, e.g. decade resistors standards, resistors for comparators, series resistors, shunts
    • GPHYSICS
    • G01MEASURING; TESTING
    • G01RMEASURING ELECTRIC VARIABLES; MEASURING MAGNETIC VARIABLES
    • G01R19/00Arrangements for measuring currents or voltages or for indicating presence or sign thereof
    • G01R19/10Measuring sum, difference or ratio
    • HELECTRICITY
    • H01ELECTRIC ELEMENTS
    • H01CRESISTORS
    • H01C1/00Details
    • H01C1/01Mounting; Supporting
    • HELECTRICITY
    • H01ELECTRIC ELEMENTS
    • H01CRESISTORS
    • H01C1/00Details
    • H01C1/04Arrangements of distinguishing marks, e.g. colour coding
    • HELECTRICITY
    • H01ELECTRIC ELEMENTS
    • H01CRESISTORS
    • H01C1/00Details
    • H01C1/14Terminals or tapping points or electrodes specially adapted for resistors; Arrangements of terminals or tapping points or electrodes on resistors
    • HELECTRICITY
    • H01ELECTRIC ELEMENTS
    • H01CRESISTORS
    • H01C1/00Details
    • H01C1/14Terminals or tapping points or electrodes specially adapted for resistors; Arrangements of terminals or tapping points or electrodes on resistors
    • H01C1/142Terminals or tapping points or electrodes specially adapted for resistors; Arrangements of terminals or tapping points or electrodes on resistors the terminals or tapping points being coated on the resistive element
    • HELECTRICITY
    • H01ELECTRIC ELEMENTS
    • H01CRESISTORS
    • H01C13/00Resistors not provided for elsewhere
    • HELECTRICITY
    • H01ELECTRIC ELEMENTS
    • H01CRESISTORS
    • H01C13/00Resistors not provided for elsewhere
    • H01C13/02Structural combinations of resistors

Definitions

  • the present disclosure relates to a shunt resistor used for current detection and a mounting method thereof.
  • the measurement of the current value using the shunt resistor is performed based on the resistance value of the resistor constituting the shunt resistor and the potential difference between both ends of the shunt resistor.
  • a bonding wire for taking out the electric potential is bonded to a metal band bonded so as to sandwich the resistor.
  • the bonding position of the bonding wire is preferably on the metal band and closer to the resistor. This is because the electrical resistance caused by the metal band may be superimposed as current noise to be detected.
  • the current flowing through the shunt resistor is likely to cause an induced current in the current path including the bonding wire.
  • the origin is determined based on an edge detected when imaging is performed so that the bonding surface of the bonding wire is viewed from the front. Then, on the assumption that the shunt resistor is placed along the x direction, two coordinates that are separated from the determined origin by a predetermined distance are determined as bonding positions. As a result, the bonding position can be corrected for the translational displacement of the shunt resistor.
  • the longitudinal direction of the shunt resistor is one direction defined by the coordinate system that the imaging apparatus has internally (for example, the x direction described in Patent Document 1). It is assumed that That is, correction can be made when the translational deviation occurs in the state where the longitudinal direction of the shunt resistor is along the x direction, but it cannot cope with the case where the shunt resistor is displaced in the rotational direction.
  • the shift in the rotational direction may cause a bonding abnormality such that the bonding wire is bonded to the resistor itself.
  • an object of the present disclosure is to provide a shunt resistor capable of correcting the bonding position even with respect to a shift in the rotation direction of the shunt resistor and a mounting method thereof.
  • a shunt resistor includes a pair of connection portions that are electrically connected to two electrodes, and a resistor, and extends from one connection portion to the other connection portion.
  • a cross-linking portion that cross-links between the connection portions of the two, and a mark.
  • the shunt resistor has a resistor whose resistivity is set in advance.
  • a bonding wire is connected to the shunt resistor. Further, the bonding wire detects the current value of the current flowing between the two electrodes by bridging the two electrodes and detecting a voltage drop due to the resistor. When one surface to which a bonding wire is connected is viewed from the front, a virtual line segment can be defined by the Mac.
  • a virtual line segment can be defined by detecting a mark from the image data of the photographed shunt resistor, and a virtual line segment fixed to the shunt resistor and a predetermined straight line can be defined.
  • the angle difference ⁇ can be detected, and the deviation in the rotational direction of the bonding wire connection position can be corrected according to the angle difference ⁇ .
  • FIG. 1 is a perspective view showing a schematic configuration of the shunt resistor in the first embodiment.
  • FIG. 2 is a diagram showing a mark formation position and shape in the shunt resistor
  • FIG. 3 is a top view showing bonding coordinates when no deviation in the rotational direction occurs.
  • FIG. 4 is a top view showing bonding coordinates when a deviation in the rotation direction occurs.
  • FIG. 5 is a diagram showing mark formation positions and shapes in the second embodiment
  • FIG. 6 is a diagram showing mark formation positions and shapes in the second embodiment.
  • a local coordinate system fixed to the shunt resistor and a global coordinate system fixed to the imaging device for imaging the shunt resistor and calculating the connection position of the bonding wire are used.
  • the x direction, the y direction orthogonal to the x direction, and the z direction orthogonal to the xy plane defined by the x direction and the y direction are defined as directions. That is, the x direction, the y direction, and the z direction are linearly independent from each other.
  • the u direction, the v direction orthogonal to the u direction, and the w direction orthogonal to the uv plane defined by the u direction and the v direction are defined as directions. That is, the u direction, the v direction, and the w direction are linearly independent from each other.
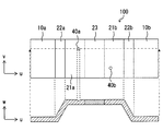
  • the shunt resistor 100 has a surface along the uv plane and electrically connects two electrodes 200 arranged in the u direction to each other.
  • the shunt resistor 100 described here connects one first electrode 200a and the other second electrode 200b.
  • the electrode 200 is, for example, a land or a lead frame formed on a certain substrate, and its configuration is not limited.
  • the shunt resistor 100 includes a pair of connection portions 10 connected to the two electrodes 200 via a solder 300 as a conductive adhesive, and a bridge portion 20 that bridges the two connection portions 10. ing.
  • the bridging part 20 has a main part 21, an intermediate part 22, and a resistor 23.
  • the shunt resistor 100 is connected to a bonding wire 30 for detecting the current value of the current flowing through the resistor 23.
  • connection unit 10 has a first terminal 10a connected to the first electrode 200a and a second terminal 10b connected to the second electrode 200b.
  • the connecting portion 10 has a planar shape along the uv plane, and the surface of the connecting portion 10 that faces the electrode 200 is connected to the electrode 200 via the solder 300.
  • the main part 21 in the bridging part 20 is composed of a first main part 21a and a second main part 21b, both of which are plate-like members along the uv plane.
  • the resistor 23 formed along the uv plane is disposed so as to be sandwiched between the first main portion 21a and the second main portion 21b.
  • the 1st main part 21a, the resistor 23, and the 2nd main part 21b are joined along with the u direction in this order, and become the integral conductor as a whole.
  • the conductor in which the first main portion 21a, the resistor 23, and the second main portion 21b are integrated is extended in the u direction to electrically connect the first terminal 10a and the second terminal 10b.
  • the main portion 21, together with the resistor 23, is formed at a position higher than the connection portion 10 in the w direction.
  • the mediation part 22 in the bridging part 20 connects the connection part 10 and the main part 21 as shown in FIG.
  • the main part 21 and the connection part 10 are integrally formed via the mediation part 22.
  • the 1st main part 21a and the 1st terminal 10a are connected via the 1st mediation part 22a
  • the 2nd main part 21b and the 2nd terminal 10b are connected via the 2nd mediation part 22b.
  • the bridging portion 20 has a substantially trapezoidal shape that becomes an upper base and a leg portion.
  • a plate-shaped member in which the main portion 21 and the resistor 23 are integrally formed is an upper base, and a substantially trapezoidal shape having the mediating portion 22 as a leg portion is formed.
  • the main portion 21 and the mediation portion 22 in the bridging portion 20 are conductive portions made of metal such as copper, for example, and have a resistivity lower than that of the resistor 23.
  • the resistor 23 is made of, for example, CnMnSn or CuMnNi as a main component.
  • the bonding wire 30 is made of a generally known material such as aluminum.
  • the bonding wire 30 is connected to a sense electrode 400 for detecting the potential of the bonding wire 30.
  • the bonding wire 30 has a first wire 30a and a second wire 30b.
  • the first wire 30 a has one end bonded to the first main portion 21 a and the other end connected to the first sense electrode 400 a in the sense electrode 400.
  • the second wire 30 b has one end bonded to the second main portion 21 b and the other end connected to the second sense electrode 400 b of the sense electrode 400. That is, one end of the bonding wire 30 in the present embodiment is bonded to the main portion 21 corresponding to the upper base in the bridging portion 20 having a substantially trapezoidal shape.
  • the shunt resistor 100 has marks 40a and 40b that can be recognized by imaging.
  • the marks 40a and 40b in the present embodiment are dot-like holes.
  • the first mark 40a is formed on the first main portion 21a
  • the second mark 40b is formed on the second main portion 21b. That is, the marks 40 a and 40 b in the present embodiment are formed on the same surface as the surface to which the bonding wire 30 is connected, particularly on the bridging portion 20.
  • the marks 40a and 40b are formed so as to be recognized by imaging. Specifically, the recognition of the marks 40a and 40b is realized by detecting the contrast difference between the portion where the marks 40a and 40b are formed and the portion where the marks 40a and 40b are not formed as edges by the Canny method or the second-order differential method.
  • the cross-sectional shape of the hole part as the marks 40a and 40b is arbitrary, it is preferable not to produce a corner
  • two marks are formed as marks, and each can be recognized by imaging.
  • An imaging device (not shown) that images the shunt resistor 100 has a global coordinate system fixed to the imaging device, and determines the coordinates of the first mark 40a and the second mark 40b based on the captured image. Can do. Then, the imaging apparatus can define a line segment passing through two points of the first mark 40a and the second mark 40b. The virtual line segment defined by the first mark 40a and the second mark 40b corresponds to the virtual line segment.
  • the soldering process is a process of electrically connecting the shunt resistor 100 to the electrode 200 via the solder 300.
  • the first terminal 10 a of the shunt resistor 100 and the first electrode 200 a are welded with a solder 300 interposed therebetween.
  • the second terminal 10b of the shunt resistor 100 and the second electrode 200b are welded with the solder 300 interposed therebetween.
  • the u direction of the shunt resistor 100 is adjusted so as to coincide with the arrangement direction of the first electrode 200a and the second electrode 200b.
  • FIG. In FIG. 4 the degree of rotational deviation is greatly illustrated in consideration of simplicity of explanation.
  • the bonding process is a process of connecting the bonding wire 30 to the shunt resistor 100.
  • the bonding process includes an origin determination process, a virtual line segment detection process, a rotation angle difference determination process, a bonding coordinate determination process, and a wire connection process.
  • the imaging device is installed so that the x direction of the global coordinate system fixed to the imaging device matches the arrangement direction of the first electrode 200a and the second electrode 200b. That is, in the captured image, the first electrode 200a and the second electrode 200b are arranged along the x direction.
  • the origin determination process is first executed.
  • the imaging device images the welded shunt resistor 100 in a form including the marks 40a and 40b.
  • the imaging device detects edges caused by the marks 40a and 40b.
  • the edges of the first mark 40a and the second mark 40b are detected by calculating the contrast difference between the portion where the marks 40a and 40b are formed and the portion where the marks 40a and 40b are not formed by the Canny method or the second derivative method. This is done by detecting as
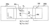
  • the imaging apparatus determines the coordinate where one of the two marks 40a and 40b is located as the origin in the global coordinate system. In the present embodiment, as shown in FIG. 3, for example, the first mark 40a is set as the origin.
  • the virtual line segment detection step and the rotation angle difference determination step are executed in accordance with the program configuration.
  • the virtual line segment detection step and the rotation angle are detected.
  • the angle difference ⁇ obtained through the difference determination step is zero degrees, and the bonding position angle correction is not substantially performed. That is, in this example, both processes have no effective meaning, and details of these processes will be described later.
  • the imaging device determines a relatively fixed coordinate as a position for bonding the bonding wire 30 with respect to the determined origin. Specifically, for example, coordinates that are separated by a predetermined distance in the y direction with respect to the coordinates of the first mark 40a serving as the origin are set as bonding coordinates A 0 (x a0 , y a0 ) of the first wire 30a. . Further, the coordinates separated by a predetermined distance in the x direction and the y direction with respect to the coordinates of the first mark 40a serving as the origin are defined as bonding coordinates B 0 (x b0 , y b0 ) of the second wire 30b.
  • This coordinate is a coordinate set in advance as an appropriate position, and is uniquely determined under the condition that the shunt resistor 100 has no deviation in the rotational direction. Since the coordinates are based on the first mark 40a as the origin, even if the shunt resistor 100 is displaced in the translation direction, the bonding position does not deviate from the shunt resistor 100. That is, the translational shift is absorbed in the bonding coordinate determination process.
  • the bonding coordinates when the shunt resistor 100 is not displaced in the rotational direction may be generally indicated as (x 0 , y 0 ) with a subscript 0.
  • the bonder connects the bonding wire 30 to the shunt resistor 100 based on the bonding coordinate information determined by the imaging device. Specifically, the bonder connects the first wire to the bonding coordinate A 0 (x a0 , y a0 ), and connects the second wire 30 b to the bonding coordinate B 0 (x b0 , y b0 ). Thereby, the bonding process is completed.
  • the origin determination step is the same as that in the case where there is no deviation in the rotation direction.
  • the first mark 40a is set as the origin.
  • a virtual line segment detection step is executed.
  • the imaging apparatus detects a straight line passing through two different coordinates indicating the first mark 40a and the second mark 40b as a virtual line segment L.
  • the state in which the virtual line segment L is detected indicates, for example, a state in which a straight line equation of the virtual line segment L in the global coordinate system is determined.
  • FIG. 3 illustrates a virtual line L 0 when there is no deviation in the rotational direction to the shunt resistor 100.
  • a rotation angle difference determination step is executed.
  • the imaging apparatus calculates an angle difference ⁇ 1 between the virtual line segment L and the x direction in the global coordinate system.
  • a general method may be used such as obtaining an arc tangent of a straight line inclination of the virtual line segment L. I won't go into detail here. Note that one axis of the two-dimensional orthogonal coordinate system fixed to the imaging device that images the shunt resistor corresponds to the x direction in the present embodiment.
  • the angle difference ⁇ 0 when the shunt resistor 100 is not displaced in the rotational direction is an angle difference between the virtual line segment L 0 and the x direction, as shown in FIG.
  • This angle difference ⁇ 0 is uniquely determined if the formation positions of the two marks 40a and 40b are determined, and is stored in advance in the imaging device and used for correcting the deviation in the rotation direction.
  • angular difference
  • the imaging apparatus calculates bonding coordinates when there is no shift in the rotation direction based on the coordinates of the origin. That is, the imaging apparatus calculates the bonding coordinates A 0 (x a0 , y a0 ) before rotation correction and the bonding coordinates B 0 (x b0 , y b0 ) before rotation correction.
  • the calculation of the coordinates before the rotation correction is the same as the calculation when there is no rotation direction deviation.
  • the coordinates A (x a , y a ) and B (x b , y b ) obtained by rotating the bonding coordinates A 0 and B 0 before the rotation correction by ⁇ around the origin are determined as the corrected coordinates.
  • the bonding wire 30 can be bonded at a position equivalent to the bonding position when there is no rotational direction deviation.
  • bonding is performed to a coordinate rotated by an angle difference ⁇ around the origin with respect to the bonding coordinates (x 0 , y 0 ) when the shunt resistor 100 has no rotational deviation.
  • the bonding coordinates (x, y) after correction and the bonding coordinates (x 0 , y 0 ) before correction need only satisfy the relationship of Equation 1.
  • the shunt resistor 100 has two marks 40a and 40b that can be detected by the imaging device. From these two points, a linear equation can be defined in the global coordinate system. That is, the shunt resistor 100 has marks 40a and 40b that can define the virtual line segment L. For this reason, the angle difference ⁇ , which is the angle of deviation of the shunt resistor 100 in the rotational direction, can be calculated. Then, the bonding coordinates of the bonding wire 30 can be corrected using the angle difference ⁇ .
  • the marks 40a and 40b in the present embodiment are formed on the main portion 21 of the bridging portion 20, which is the same surface as the surface to which the bonding wire 30 is bonded. For this reason, since the surface for calculating the angle difference ⁇ and the surface for wire bonding coincide with each other in the w direction, bonding errors due to parallax can be suppressed.
  • the two marks 40a and 40b are formed at positions sandwiching the resistor 23. Specifically, the first mark 40a is formed on the first main portion 21a, and the second mark 40b is formed on the second main portion 21b. For this reason, when the holes as the marks 40a and 40b are formed, the shock and stress applied to the shunt resistor 100 are not unevenly distributed, so that the deformation of the shunt resistor 100 related to the mark formation can be suppressed.
  • each band is formed by two long sides and short sides. The long side or the short side corresponds to the straight line portion.
  • a straight line along a side recognized as a long side is defined as a virtual line segment L.
  • one of the long side end points is defined as the origin 41a.
  • the mark is not limited to the dot shape as in the first embodiment or the above-described belt shape.
  • the mark 42 may have a cross shape.
  • the cross-shaped hole portion includes 12 straight portions as its outline.
  • a cross-shaped form is adopted as the mark 42, for example, a straight line along an arbitrary side is defined as a virtual line segment L. Further, one of the end points of the side passing through the virtual line segment L is defined as the origin 42a.
  • difference of the rotation direction of the shunt resistor 100 can be correct
  • two marks 40a and 40b are respectively formed on the first main portion 21a and the second main portion 21b with the resistor 23 in between is shown.
  • Two points 40a and 40b may be formed on the first main portion 21a, or both points may be formed on the second main portion 21b.
  • the marks 40 a, 40 b, 41, 42 are formed on the main portion 21 that is the same as the connection surface of the bonding wire 30 is shown, but the marks 40 a, 40 b, 41, 42 may be formed on the connection portion 10. Since the mediation unit 22 may be formed to be inclined in the z direction with respect to the imaging surface of the imaging device, the mediation unit 22 is not preferable as a formation surface of the marks 40a, 40b, 41, and 42. The formation of the marks 40a, 40b, 41, 42 is not hindered.
  • the marks 40a, 40b, 41, and 42 are formed as holes.
  • the holes do not necessarily have to be formed, and the protrusions project in the w direction and are convex. It may be drawn by laser printing or a resist film may be applied to form an edge side.

Landscapes

  • Engineering & Computer Science (AREA)
  • Microelectronics & Electronic Packaging (AREA)
  • Physics & Mathematics (AREA)
  • General Physics & Mathematics (AREA)
  • Details Of Resistors (AREA)
  • Measuring Instrument Details And Bridges, And Automatic Balancing Devices (AREA)
PCT/JP2017/026176 2016-07-21 2017-07-20 シャント抵抗器およびその実装方法 Ceased WO2018016550A1 (ja)

Priority Applications (2)

Application Number Priority Date Filing Date Title
CN201780044706.XA CN109478450A (zh) 2016-07-21 2017-07-20 分流电阻器及其安装方法
US16/245,611 US20190146007A1 (en) 2016-07-21 2019-01-11 Shunt resistor and method of mounting the same

Applications Claiming Priority (2)

Application Number Priority Date Filing Date Title
JP2016-143302 2016-07-21
JP2016143302A JP2018014420A (ja) 2016-07-21 2016-07-21 シャント抵抗器およびその実装方法

Related Child Applications (1)

Application Number Title Priority Date Filing Date
US16/245,611 Continuation US20190146007A1 (en) 2016-07-21 2019-01-11 Shunt resistor and method of mounting the same

Publications (1)

Publication Number Publication Date
WO2018016550A1 true WO2018016550A1 (ja) 2018-01-25

Family

ID=60992539

Family Applications (1)

Application Number Title Priority Date Filing Date
PCT/JP2017/026176 Ceased WO2018016550A1 (ja) 2016-07-21 2017-07-20 シャント抵抗器およびその実装方法

Country Status (4)

Country Link
US (1) US20190146007A1 (enExample)
JP (1) JP2018014420A (enExample)
CN (1) CN109478450A (enExample)
WO (1) WO2018016550A1 (enExample)

Families Citing this family (4)

* Cited by examiner, † Cited by third party
Publication number Priority date Publication date Assignee Title
CN108398584B (zh) * 2018-04-12 2024-07-30 彭浩明 电流取样结构及开关装置
CN115461826B (zh) * 2020-04-27 2025-02-25 Koa株式会社 分流电阻器、分流电阻器的制造方法、以及电流检测装置
JP2021190543A (ja) * 2020-05-29 2021-12-13 Koa株式会社 シャント抵抗器
DE102023120909B3 (de) * 2023-08-07 2024-12-19 Wieland & Munich Electrification Gmbh Elektronisches Bauelement zum Messen eines elektrischen Stroms, Leiterplatte sowie Messanordnung

Citations (2)

* Cited by examiner, † Cited by third party
Publication number Priority date Publication date Assignee Title
WO2015146433A1 (ja) * 2014-03-25 2015-10-01 コーア株式会社 電流検出装置
JP2016025328A (ja) * 2014-07-24 2016-02-08 株式会社デンソー シャント抵抗器およびその実装方法

Family Cites Families (4)

* Cited by examiner, † Cited by third party
Publication number Priority date Publication date Assignee Title
CN100570760C (zh) * 2007-08-14 2009-12-16 北京三维正基科技有限公司 无触点电位器
CN105023678A (zh) * 2014-04-23 2015-11-04 天津泰新益科技发展有限公司 稳定性好的片式固定电阻器的制备工艺
US10156587B2 (en) * 2014-10-22 2018-12-18 Koa Corporation Current detecting device and current detecting resistor
CN105632666A (zh) * 2014-10-31 2016-06-01 陕西高华知本化工科技有限公司 一种片式电阻器的封端方法

Patent Citations (2)

* Cited by examiner, † Cited by third party
Publication number Priority date Publication date Assignee Title
WO2015146433A1 (ja) * 2014-03-25 2015-10-01 コーア株式会社 電流検出装置
JP2016025328A (ja) * 2014-07-24 2016-02-08 株式会社デンソー シャント抵抗器およびその実装方法

Also Published As

Publication number Publication date
US20190146007A1 (en) 2019-05-16
CN109478450A (zh) 2019-03-15
JP2018014420A (ja) 2018-01-25

Similar Documents

Publication Publication Date Title
JP6384211B2 (ja) シャント抵抗器
WO2018016550A1 (ja) シャント抵抗器およびその実装方法
JP2008275418A (ja) 配線基板、電流検出装置
JP6344163B2 (ja) シャント抵抗器
JP6839127B2 (ja) 圧力センサ、圧力センサの製造方法
WO2018003361A1 (ja) シャント抵抗器の実装構造および実装基板
US9702777B2 (en) Sensor module and method for producing sensor module
JP6528369B2 (ja) シャント抵抗器およびその実装方法
US20140217581A1 (en) Electronic component, mother substrate, and electronic component manufacturing method
JP7581819B2 (ja) 電流検出装置
US9966170B2 (en) Shunt resistor
JP2018014420A5 (enExample)
JP2022030815A (ja) 電流検出装置
JP6517434B2 (ja) 電子装置及び接続体
CN118511656A (zh) 焊点检查特征
JP6295410B2 (ja) チップ抵抗器の抵抗値測定方法およびチップ抵抗器の実装方法
US10188000B2 (en) Component mounting board
WO2022219866A1 (ja) 電流センサ
CN103038668A (zh) 放射线检测器以及放射线检测装置
JP4900951B2 (ja) 生産ラインの検査システム及び検査方法
JP2013239529A (ja) 配線基板、実装基板、電子機器、製造システム、および位置調整方法
JP2008187159A (ja) プリント配線基板のパッドパターン、および電流または電圧の検出方法
CN111292612B (zh) 显示模组及移动终端
JP2008300690A (ja) 表面部品実装方法および表面部品実装用基板
KR20100078388A (ko) 반도체 소자의 테스트 패턴 및 그의 제조 방법

Legal Events

Date Code Title Description
121 Ep: the epo has been informed by wipo that ep was designated in this application

Ref document number: 17831066

Country of ref document: EP

Kind code of ref document: A1

NENP Non-entry into the national phase

Ref country code: DE

122 Ep: pct application non-entry in european phase

Ref document number: 17831066

Country of ref document: EP

Kind code of ref document: A1