WO2017090250A1 - Communication apparatus and method for controlling the same - Google Patents

Communication apparatus and method for controlling the same Download PDF

Info

Publication number
WO2017090250A1
WO2017090250A1 PCT/JP2016/004954 JP2016004954W WO2017090250A1 WO 2017090250 A1 WO2017090250 A1 WO 2017090250A1 JP 2016004954 W JP2016004954 W JP 2016004954W WO 2017090250 A1 WO2017090250 A1 WO 2017090250A1
Authority
WO
WIPO (PCT)
Prior art keywords
user
printer
communication apparatus
access point
wireless communication
Prior art date
Legal status (The legal status is an assumption and is not a legal conclusion. Google has not performed a legal analysis and makes no representation as to the accuracy of the status listed.)
Ceased
Application number
PCT/JP2016/004954
Other languages
English (en)
French (fr)
Inventor
Nobuhiko Maki
Current Assignee (The listed assignees may be inaccurate. Google has not performed a legal analysis and makes no representation or warranty as to the accuracy of the list.)
Canon Inc
Original Assignee
Canon Inc
Priority date (The priority date is an assumption and is not a legal conclusion. Google has not performed a legal analysis and makes no representation as to the accuracy of the date listed.)
Filing date
Publication date
Application filed by Canon Inc filed Critical Canon Inc
Priority to KR1020187018227A priority Critical patent/KR102046736B1/ko
Priority to US15/778,092 priority patent/US10652741B2/en
Priority to CN201680069431.0A priority patent/CN108370609B9/zh
Publication of WO2017090250A1 publication Critical patent/WO2017090250A1/en
Anticipated expiration legal-status Critical
Priority to US16/842,506 priority patent/US11363458B2/en
Priority to US17/743,872 priority patent/US11678185B2/en
Priority to US18/309,706 priority patent/US11950095B2/en
Priority to US18/438,950 priority patent/US12439252B2/en
Priority to US19/299,119 priority patent/US20250374350A1/en
Ceased legal-status Critical Current

Links

Images

Classifications

    • HELECTRICITY
    • H04ELECTRIC COMMUNICATION TECHNIQUE
    • H04WWIRELESS COMMUNICATION NETWORKS
    • H04W12/00Security arrangements; Authentication; Protecting privacy or anonymity
    • H04W12/06Authentication
    • GPHYSICS
    • G06COMPUTING OR CALCULATING; COUNTING
    • G06FELECTRIC DIGITAL DATA PROCESSING
    • G06F3/00Input arrangements for transferring data to be processed into a form capable of being handled by the computer; Output arrangements for transferring data from processing unit to output unit, e.g. interface arrangements
    • G06F3/12Digital output to print unit, e.g. line printer, chain printer
    • G06F3/1201Dedicated interfaces to print systems
    • G06F3/1278Dedicated interfaces to print systems specifically adapted to adopt a particular infrastructure
    • G06F3/1292Mobile client, e.g. wireless printing
    • HELECTRICITY
    • H04ELECTRIC COMMUNICATION TECHNIQUE
    • H04WWIRELESS COMMUNICATION NETWORKS
    • H04W12/00Security arrangements; Authentication; Protecting privacy or anonymity
    • H04W12/08Access security
    • HELECTRICITY
    • H04ELECTRIC COMMUNICATION TECHNIQUE
    • H04WWIRELESS COMMUNICATION NETWORKS
    • H04W12/00Security arrangements; Authentication; Protecting privacy or anonymity
    • H04W12/30Security of mobile devices; Security of mobile applications
    • H04W12/35Protecting application or service provisioning, e.g. securing SIM application provisioning
    • HELECTRICITY
    • H04ELECTRIC COMMUNICATION TECHNIQUE
    • H04WWIRELESS COMMUNICATION NETWORKS
    • H04W76/00Connection management
    • H04W76/10Connection setup
    • H04W76/14Direct-mode setup
    • HELECTRICITY
    • H04ELECTRIC COMMUNICATION TECHNIQUE
    • H04WWIRELESS COMMUNICATION NETWORKS
    • H04W8/00Network data management
    • H04W8/005Discovery of network devices, e.g. terminals
    • HELECTRICITY
    • H04ELECTRIC COMMUNICATION TECHNIQUE
    • H04WWIRELESS COMMUNICATION NETWORKS
    • H04W84/00Network topologies
    • H04W84/02Hierarchically pre-organised networks, e.g. paging networks, cellular networks, WLAN [Wireless Local Area Network] or WLL [Wireless Local Loop]
    • H04W84/10Small scale networks; Flat hierarchical networks
    • H04W84/12WLAN [Wireless Local Area Networks]
    • HELECTRICITY
    • H04ELECTRIC COMMUNICATION TECHNIQUE
    • H04WWIRELESS COMMUNICATION NETWORKS
    • H04W92/00Interfaces specially adapted for wireless communication networks
    • H04W92/16Interfaces between hierarchically similar devices
    • H04W92/18Interfaces between hierarchically similar devices between terminal devices
    • HELECTRICITY
    • H04ELECTRIC COMMUNICATION TECHNIQUE
    • H04WWIRELESS COMMUNICATION NETWORKS
    • H04W12/00Security arrangements; Authentication; Protecting privacy or anonymity
    • H04W12/60Context-dependent security
    • H04W12/69Identity-dependent
    • H04W12/73Access point logical identity

Definitions

  • the present invention relates to a communication apparatus and a method for controlling the same.
  • Communication apparatuses such as smartphones, portable game machines, and printers have a wireless local area network (LAN) function.
  • LAN wireless local area network
  • PTL 1 discloses a configuration where a printer and a mobile terminal are directly connected using an access point mode, which is one example of the direct wireless communication mode.
  • the user needs to instruct a communication apparatus to start operating in the direct wireless communication mode.
  • the communication apparatus displays a "start button" for starting the operation in the direct wireless communication mode.
  • the communication apparatus starts operating in the direct wireless communication mode.
  • the communication apparatus executes user authentication.
  • the user who has been successfully authenticated logs in to the communication apparatus.
  • the user who has logged in to the communication apparatus can use functions provided by the communication apparatus.
  • the user's logging in to the communication apparatus and the communication apparatus's starting operating in the direct wireless communication mode are not in conjunction with each other. That is, the user needs to separately do the job of logging in to the communication apparatus and the job of instructing the communication apparatus to start operating in the direct wireless communication mode, which is bothersome for the user.
  • the present invention provides a communication apparatus including: a wireless communication unit configured to include a direct wireless communication function of performing wireless communication with an external device without having a relay device therebetween; and a controller configured to control the wireless communication unit to start the direct wireless communication function in response to a user's logging in to the communication apparatus when a first setting is configured on the communication apparatus, the first setting indicating that the direct wireless communication function is started in response to a user's logging in to the communication apparatus.
  • Fig. 1 is a diagram illustrating the outline of a communication system.
  • Fig. 2 is a diagram illustrating the hardware configuration of a printer.
  • Fig. 3A is a diagram illustrating a screen displayed by the printer.
  • Fig. 3B is a diagram illustrating a screen displayed by the printer.
  • Fig. 3C is a diagram illustrating a screen displayed by the printer.
  • Fig. 4 is a diagram illustrating a user management table.
  • Fig. 5A is a diagram illustrating a wireless connection screen.
  • Fig. 5B is a diagram illustrating a wireless connection screen.
  • Fig. 6 is a flowchart illustrating a process of starting operation in an access point mode.
  • Fig. 7 is a flowchart illustrating a process of stopping operation in the access point mode.
  • Fig. 8 is a flowchart illustrating a process of starting operation in the access point mode.
  • Fig. 9 is a diagram illustrating a user management table.
  • Fig. 10A is a diagram illustrating a wireless connection screen.
  • Fig. 10B is a diagram illustrating a wireless connection screen.
  • Fig. 11 is a flowchart illustrating a process of starting operation in the access point mode.
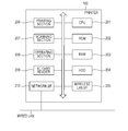
  • the communication system includes a printer 100 and a mobile terminal 101.
  • the printer 100 has a wireless LAN function.
  • the wireless LAN function of the printer 100 has two wireless communication modes, that is, an infrastructure mode and an access point mode.
  • the infrastructure mode is a wireless communication mode where the printer 100 connects wirelessly to a relay device such as an access point (not illustrated) and communicates with a device such as a personal computer (PC) on a network.
  • a relay device such as an access point (not illustrated)
  • PC personal computer
  • the access point mode is a wireless communication mode where a software access point is activated on the printer 100 and the printer 100 itself acts as an access point.
  • the mobile terminal 101 such as a smartphone wirelessly connects to the printer 100 operating in the access point mode and transmits print data for printing an electronic file such as a photograph to the printer 100.
  • wireless communication can be established directly between the printer 100 and the mobile terminal 101, without having a relay device such as an access point therebetween.
  • the access point mode is an example of a direct wireless communication mode of establishing wireless communication directly between the printer 100 and the mobile terminal 101.
  • other wireless communication systems such as Wi-Fi Direct (registered trademark) may be applied to the first embodiment.
  • the printer 100 has a user authenticating function, which will be described in detail later.
  • the first embodiment is characterized in the point that the printer 100 starts operating in the access point mode in conjunction with the user's logging in to the printer 100 with the use of the user authenticating function.
  • a central processing unit (CPU) 201 reads a control program stored in a read-only memory (ROM) 202 and executes various processes for controlling the operation of the printer 100.
  • the ROM 202 stores the control program.
  • a random-access memory (RAM) 203 is used as a temporary storage area such a main memory or a work area for the CPU 201.
  • a hard disk drive (HDD) 204 is a non-volatile storage medium for storing various types of data.
  • one CPU 201 executes processes illustrated in later-described flowcharts in the case of the printer 100, other modes are also conceivable. For example, a plurality of CPUs may cooperate to execute the processes illustrated in the later-described flowcharts. Alternatively, part or some of the processes illustrated in the later-described flowcharts may be executed using a hardware circuit such as an application-specific integrated circuit (ASIC).
  • ASIC application-specific integrated circuit
  • a wireless LAN interface (I/F) 205 executes wireless LAN communication between the mobile terminal 101 and an external device such as an access point.
  • Wireless LAN communication executed by the wireless LAN I/F 205 is wireless communication such as Institute of Electrical and Electronics Engineers (IEEE) 802.11 a/b/g/n/ac.
  • IEEE Institute of Electrical and Electronics Engineers
  • the wireless LAN I/F 205 is operable in the infrastructure mode and the access point mode.
  • the wireless LAN I/F 205 selects one of the infrastructure mode and the access point mode in accordance with device settings configured in advance by the user, and operates in the selected mode.
  • a network I/F 210 connects to a wired LAN via a LAN cable.
  • the network I/F 210 is capable of communicating with an external device (such as a PC) on the wired LAN.
  • a printing section 206 executes printing on a sheet on the basis of print data received by the wireless LAN I/F 205 or the network I/F 210.
  • a scanning section 207 scans a document placed by the user and generates a document image. The document image generated by the scanning section 207 is printed (so-called copied) by the printing section 206 or accumulated in the HDD 204.
  • An operating section 208 includes a liquid crystal display (LCD) with a touchscreen function and a keyboard, and displays various operation screens. The user can input instructions and information to the printer 100 via the operating section 208.
  • LCD liquid crystal display
  • An IC card reader 209 reads user information from an IC card.
  • a user ID and a password are stored as user information in an IC card.
  • the printer 100 executes user authentication on the basis of user information read by the IC card reader 209 from an IC card.
  • the printer 100 is given as an example of a communication apparatus operable in the access point mode.
  • a communication apparatus to which the present invention is applicable is not limited to the printer 100.
  • the present invention is applicable to various communication apparatuses including a digital camera, a camcorder, a smartphone, and a portable game machine as long as they are operable in the access point mode.
  • a log-in screen 300 illustrated in Fig. 3A is a screen displayed by the operating section 208 of the printer 100.
  • the operating section 208 initially displays the log-in screen 300.
  • the user places his/her IC card over the IC card reader 209.
  • a user management table 400 illustrated in Fig. 4 is information for managing user information (user name, user ID, and password) on a user who is permitted to log in to the printer 100, and is stored in the HDD 204 of the printer 100.
  • a user who is registered in the user management table 400 can log in to the printer 100.
  • the IC card reader 209 reads user information (user ID and password) from the IC card.
  • the CPU 201 determines whether the user information, read by the IC card reader 209 from the IC card, is registered in the user management table 400.
  • the operating section 208 displays a menu screen 310 illustrated in Fig. 3B.
  • the state becomes such that the user who has been successfully authenticated logs in to the printer 100 and can use the printer 100.
  • the user information read from the IC card is not registered in the user management table 400, the user authentication failed, and the operating section 208 informs the user of the authentication failure and does not display the menu screen 310.
  • the user may enter his/her user ID and password in an entry field 301 and an entry field 302, without using the IC card reader 209.
  • the printer 100 executes user authentication.
  • the user management table 400 may be included not in the printer 100, but in an external authentication server.
  • the printer 100 transmits the user information to the authentication server.
  • the printer 100 executes user authentication.
  • the menu screen 310 illustrated in Fig. 3B displays buttons for the user to use functions provided by the printer 100.
  • a button 311 is a button for the user to use a copy function.
  • the operating section 208 displays a copy screen (not illustrated).
  • a button 312 is a button for the user to use a send function (function of transmitting a document image generated by the scanning section 207 to an external device).
  • a send function function of transmitting a document image generated by the scanning section 207 to an external device.
  • the operating section 208 displays a send screen (not illustrated).
  • a button 314 is a button for the user to configure device settings of the printer 100.
  • the operating section 208 displays various setting screens in accordance with the user operation.
  • a setting screen 320 illustrated in Fig. 3C is one of the operation screens provided by the printer 100 to the user, and is displayed by the operating section 208. Items that can be set on the setting screen 320 will be described in detail.
  • the setting screen 320 is a screen accessible to a user who has special privileges, such as a system administrator.
  • An item 321 is for setting which of a fixed service set identifier (SSID) and a one-time SSID is to be used as an SSID used in the access point mode.
  • a fixed SSID is a setting that indicates that the same SSID is used whenever the printer 100 operates in the access point mode.
  • the system administrator enters a desired SSID in an entry field 322.
  • the printer 100 uses the SSID entered in the entry field 322 as a fixed SSID.
  • a one-time SSID is a setting that indicates that a random SSID is generated and that random SSID is used.
  • An item 323 is for setting whether to automatically start the operation in the access point mode in conjunction with the user's logging in.
  • the printer 100 automatically starts operating in the access point in conjunction with the user's logging in. In this case, the printer 100 automatically starts operating in the access point in conjunction with the user's logging in, without waiting for the user to press a later-described start button 501.
  • the printer 100 does not automatically start operating in the access point in conjunction with the user's logging in.
  • a register button 324 is a button for reflecting the settings configured on the setting screen 320 in the printer 100.
  • the results of the settings configured on the setting screen 320 are stored in the HDD 204, and the settings configured on the setting screen 320 are reflected in the printer 100.
  • a button 313 is a button for the user to use the access point mode. To use the access point mode, the user first presses the button 313.
  • a screen displayed after the user presses the button 313 is switched in accordance with the results of the settings configured on the setting screen 320.
  • the printer 100 does not start operating in the access point mode at a time point at which the user presses the button 313.
  • the operating section 208 displays a wireless connection screen 500 illustrated in Fig. 5A in response to the user's pressing the button 313.
  • the wireless connection screen 500 displays the start button 501.
  • the start button 501 is a button for the user to instruct the printer 100 to start operating in the access point mode.
  • the operating section 208 is displaying the wireless connection screen 500, the printer 100 has not started operating in the access point mode. Thus, even when the mobile terminal 101 searches for surrounding access points, the mobile terminal 101 cannot find the printer 100, and no wireless connection can be established between the mobile terminal 101 and the printer 100.
  • the user needs to instruct the printer 100 to start operating in the access point mode.
  • the printer 100 starts operating in the access point mode.
  • the operating section 208 displays a wireless connection screen 510 illustrated in Fig. 5B.
  • the printer 100 To operate in the access point mode, the printer 100 generates an SSID and a connection key (such as a Wired Equivalent Privacy (WEP) key).
  • a field 511 of the wireless connection screen 510 displays the SSID and connection key generated by the printer 100.
  • a fixed SSID is generated and displayed in the field 511.
  • a random SSID is generated and displayed in the field 511.
  • the user who has checked the details displayed in the field 511 uses his/her mobile terminal 101 to search for surrounding access points, and selects an access point with the SSID displayed in the field 511 from the search result list.
  • wireless connection based on the access point mode is established between the printer 100 and the mobile terminal 101.
  • the user selects on the mobile terminal 101 a photograph that the user wants to print.
  • the mobile terminal 101 uses wireless communication in the access point mode to transmit print data for printing the photograph selected by the user to the printer 100.
  • the printer 100 executes printing based on the received print data on a sheet.
  • the printer 100 When the printer 100 starts operating in the access point mode, the printer 100 enters a standby state for receiving a request for establishing wireless connection from an external device such as the mobile terminal 101. When the printer 100 starts operating in the access point mode, the mobile terminal 101 can find the printer 100 when searching for surrounding access points. On receipt of a request from an external device for establishing wireless communication, the printer 100 establishes wireless connection in the access point mode with the external device. After establishing the wireless connection, actual data communication (such as transmission of print data from the mobile terminal 101 to the printer 100) is executed between the printer 100 and the external device.
  • the wireless connection screen 510 displays a stop button 512.
  • the stop button 512 is for receiving from the user a stop instruction for stopping the operation in the access point mode.
  • the printer 100 stops operating in the access point mode.
  • the printer 100 also stops operating in the access point mode when the user logs out from the printer 100.
  • the printer 100 when "In conjunction with logging in” is set on the setting screen 320, the printer 100 has already started operating in the access point mode at a time point at which the user presses the button 313.
  • the operating section 208 displays the wireless connection screen 510 illustrated in Fig. 5B in response to the user's pressing the button 313.
  • the printer 100 automatically starts operating in the access point mode in conjunction with the user's logging in to the printer 100, before the user presses the start button 501.
  • the printer 100 starts operating in the access point when the user simply logs in to the printer 100; thus, the user need not additionally press the start button 501.
  • a process executed by the printer 100 when the user logs in to the printer 100 and uses the access point mode will be described using a flowchart illustrated in Fig. 6.
  • Each step illustrated in the flowchart in Fig. 6 is processed when the CPU 201 expands and executes a control program stored in a memory such as the ROM 202 or the like in the RAM 203.
  • the printer 100 may be configured such that at least some of the steps of the flowchart illustrated in Fig. 6 are executed by the CPU 201, and the remaining steps are executed by a CPU (not illustrated) different from the CPU 201.
  • step S601 the CPU 201 determines whether to execute user authentication.
  • the CPU 201 determines whether to execute user authentication.
  • the CPU 201 determines to execute user authentication. The process proceeds to step S602.
  • step S602 the CPU 201 determines whether a user indicated by the user information is a user who is permitted to log in. This determination is done by checking whether the user information is registered in the user management table 400. When the user information is registered in the user management table 400 (the user authentication is successful), the process proceeds to step S603. In contrast, when the user information is not registered in the user management table 400 (the user authentication failed), the process returns to step S601.
  • step S603 the CPU 201 determines whether to start the operation in the access point mode in conjunction with the user's logging in. This determination is executed by checking the results of the settings configured on the setting screen 320. When "In conjunction with logging in" is set on the setting screen 320, it is determined in step S603 to start the operation in the access point mode in conjunction with the user's logging in, and the process proceeds to step S604.
  • step S604 the CPU 201 controls the wireless LAN I/F 205 to start the operation in the access point mode.
  • the wireless LAN I/F 205 generates a fixed SSID or a one-time SSID in accordance with the results of the settings configured on the setting screen 320, and starts the operation in the access point mode.
  • the printer 100 automatically starts operating in the access point mode in conjunction with the user's logging in to the printer 100. This saves the user's workload.
  • step S603 it is determined in step S603 not to start the operation in the access point mode in conjunction with the user's logging in, and the process proceeds to step S605.
  • step S605 the CPU 201 determines whether the user has pressed the start button 501. When the CPU 201 detects that the user has pressed the start button 501, the process proceeds to step S604.
  • step S604 the CPU 201 controls the wireless LAN I/F 205 to start the operation in the access point mode.
  • the printer 100 does not start operating in the access point mode at a time point at which the user logs in.
  • a process executed by the printer 100 for stopping the operation in the access point mode will be described using a flowchart illustrated in Fig. 7.
  • Each step illustrated in the flowchart in Fig. 7 is processed when the CPU 201 expands and executes a control program stored in a memory such as the ROM 202 or the like in the RAM 203.
  • the printer 100 may be configured such that at least some of the steps of the flowchart illustrated in Fig. 7 are executed by the CPU 201, and the remaining steps are executed by a CPU (not illustrated) different from the CPU 201.
  • step S701 the CPU 201 determines whether the user has pressed the stop button 512.
  • the process proceeds to step S702.
  • step S702 the CPU 201 controls the wireless LAN I/F 205 to stop the operation in the access point mode, and the wireless LAN I/F 205 stops the operation in the access point mode.
  • step S703 the CPU 201 determines whether the user has logged out from the printer 100.
  • the CPU 201 determines in step S703 that the user has logged out, and the process proceeds to step S702.
  • step S702 the CPU 201 controls the wireless LAN I/F 205 to stop the operation in the access point mode, and the wireless LAN I/F 205 stops the operation in the access point mode.
  • the printer 100 automatically stops operating in the access point mode in conjunction with the user's logging out.
  • the CPU 201 determines in step S703 that the user has not logged out, the process returns to step S701.
  • the wireless LAN I/F 205 operates in one of the infrastructure mode and the access point mode, and is incapable of simultaneously operating in both the infrastructure mode and the access point mode.
  • the wireless LAN I/F 205 can neither operate in the infrastructure mode nor receive print data from a PC via an external access point mode. Therefore, in the first embodiment, the wireless LAN I/F 205 automatically stops the operation in the access point mode in conjunction with the user's logging out. The fact that the user has logged out can be determined that the user's use of the access point mode has ended. By automatically stopping the operation in the access point mode in conjunction with the user's logging out, the operation mode of the wireless LAN I/F 205 can be switched from the access point mode to the infrastructure mode.
  • the printer 100 automatically starts operating in the access point in conjunction with the user's logging in. For the user, the user no longer need to separately do the job of logging in to the printer 100 and the job of inputting an instruction to start the operation in the access point mode to the printer 100. This saves the user's workload and enhances convenience.
  • the mobile terminal 101 stores the SSID of an access point to which the mobile terminal 101 was connected in the past as a connection log.
  • the mobile terminal 101 has the function of, when the mobile terminal 101 finds an access point with an SSID stored in the connection log, automatically establishing wireless connection with the access point.
  • wireless connection in the access point mode can be established between the mobile terminal 101 and the printer 100 in conjunction with the user's logging in.
  • the mobile terminal 101 can transmit print data to the printer 100 when the user simply logs in to the printer 100. This enhances convenience.
  • the printer 100 automatically stops operating in the access point in conjunction with the user's logging out.
  • the operation in the access point mode can be stopped at a time point at which the user logs out from the printer 100, without being conscious of stopping the operation in the access point mode.
  • the printer 100 can switch the operation mode of the wireless LAN I/F 205 from the access point mode to the infrastructure mode in conjunction with the user's logging out.
  • the printer 100 when "In conjunction with logging in" is set on the setting screen 320, the printer 100 uniformly starts operating in the access point mode in conjunction with the user's logging in.
  • a process of switching, on the basis of settings regarding the access point mode, whether to automatically start the operation in the access point mode in conjunction with the user's logging in will be described.
  • the configuration of the printer 100 is the same as that in the first embodiment.
  • a mobile terminal stores the SSID of an access point to which the mobile terminal was connected in the past as a connection log.
  • the mobile terminal finds an access point with an SSID stored in the connection log, the mobile terminal wirelessly connects to the access point.
  • the printer 100 is using a fixed SSID in the access point mode, there may be cases where a mobile terminal that has wirelessly connected to the printer 100 in the past stores this fixed SSID in the connection log. In such cases, when the printer 100 starts operating in the access point mode in conjunction with the user's logging in and uses the fixed SSID, it is highly likely that another surrounding mobile terminal establishes wireless connection with the printer 100 prior to the user of the printer 100. Because the number of concurrent connections is limited for wireless connection in the access point mode, if a plurality of other mobile terminals first connect to the printer 100, the user of the printer 100 cannot connect his/her mobile terminal to the printer 100.
  • the printer 100 is characterized in the point that, when an SSID used in the access point mode is not a fixed SSID but is a one-time SSID, the printer 100 automatically starts operating in the access point mode in conjunction with the user's logging in.
  • a process executed by the printer 100 when the user logs in to the printer 100 and uses the access point mode will be described using a flowchart illustrated in Fig. 8.
  • Each step illustrated in the flowchart in Fig. 8 is processed when the CPU 201 expands and executes a control program stored in a memory such as the ROM 202 or the like in the RAM 203.
  • the printer 100 may be configured such that at least some of the steps of the flowchart illustrated in Fig. 8 are executed by the CPU 201, and the remaining steps are executed by a CPU (not illustrated) different from the CPU 201.
  • the processing in, among the steps of the flowchart in Fig. 8, steps with the same step numbers as those in the flowchart in Fig. 6 is identical to that described in Fig. 6, and accordingly descriptions thereof will be omitted.
  • step S603 the CPU 201 determines whether to start the operation in the access point mode in conjunction with the user's logging in.
  • the CPU 201 determines in step S603 to start the operation in the access point mode in conjunction with the user's logging in, the process proceeds to step S801.
  • step S801 the CPU 201 determines whether an SSID used in the access point mode is a one-time SSID. This determination is executed by checking the results of the settings configured on the setting screen 320.
  • the process proceeds to step S604.
  • step S604 the CPU 201 controls the wireless LAN I/F 205 to start the operation in the access point mode.
  • the wireless LAN I/F 205 generates a one-time SSID and starts the operation in the access point mode.
  • the printer 100 When using a one-time SSID, the printer 100 generates a random SSID. It is very unlikely that surrounding mobile terminals store this randomly generated SSID as their connection logs by chance. Therefore, according to the second embodiment, when an SSID used in the access point mode is a one-time SSID, the printer 100 automatically starts operating in the access point mode in conjunction with the user's logging in.
  • step S801 when the CPU 201 determines in step S801 that an SSID used in the access point mode is not a one-time SSID, the process proceeds to step S605.
  • step S605 the CPU 201 determines whether the user has pressed the start button 501.
  • the printer 100 does not automatically start operating in the access point mode in conjunction with the user's logging in, and waits until the user presses the start button 501. In doing so, even when other surrounding mobile terminals store the fixed SSID as their connection logs, the possibility of the user's mobile terminal failing in wirelessly connecting to the printer 100 using the access point mode can be reduced.
  • whether to automatically start the operation in the access point mode in conjunction with the user's logging in can be switched on the basis of the type of SSID used in the access point mode.
  • the printer 100 automatically starts operating in the access point mode in conjunction with the user's logging in on condition that the settings regarding the access point mode include a one-time SSID.
  • the printer 100 does not automatically start operating in the access point mode in conjunction with the user's logging in on condition that the settings regarding the access point mode include a fixed SSID.
  • the printer 100 automatically stops operating in the access point in conjunction with the user's logging out.
  • a third embodiment will be described.
  • a user SSID issued for each user is used, in addition to a fixed SSID and a one-time SSID.
  • the configuration of the printer 100 is the same as that in the first embodiment.
  • a user SSID is an SSID issued for each user.
  • the printer 100 uses a user SSID issued for the user who is currently logged in. For example, when a user A is currently logged in, the printer 100 uses a user SSID for the user A; and, when a user B is currently logged in, the printer 100 uses a user SSID for the user B.
  • a user management table 900 illustrated in Fig. 9 is information for managing user information on a user who is permitted to log in to the printer 100, his/her user SSID, and information for determining whether to operate in conjunction with logging in, and is stored in the HDD 204 of the printer 100.
  • the user information corresponds to a user name, a user ID, and a password.
  • the user management table 900 it is seen that the user SSID "Direct_2226_2966" is prepared for the user "Tanaka”. Whether to operate in conjunction with logging in is separately set by each user on a later-described setting screen 1010.
  • a setting screen 1000 illustrated in Fig. 10A is a screen for setting the type of SSID used in the access point mode and is displayed by the operating section 208.
  • the setting screen 1000 is a screen accessible to a user who has special privileges, such as a system administrator.
  • An item 1001 is for setting which of a fixed SSID, a one-time SSID, and a user SSID is to be used as an SSID used in the access point mode.
  • the system administrator enters a desired SSID in an entry field 1002.
  • a register button 1003 is a button for reflecting the settings configured on the setting screen 1000 in the printer 100. When the system administrator presses the register button 1003, the results of the settings configured on the setting screen 1000 are stored in the HDD 204, and the settings configured on the setting screen 1000 are reflected in the printer 100.
  • the setting screen 1010 illustrated in Fig. 10B is a screen for editing the settings of the user SSID and is displayed by the operating section 208.
  • the setting screen 1010 is a screen accessible not only to the system administrator, but also to general users, and the settings of the user SSID of a user who is currently logged in to the printer 100 can be edited.
  • An item 1011 displays the user SSID of a user who is currently logged in.
  • a change button 1012 is a button for changing the user SSID.
  • an item 1013 is for setting whether to automatically start the operation in the access point mode in conjunction with the user's logging in.
  • a user SSID is set on the setting screen 1000 and when "In conjunction with logging in" is set on the setting screen 1010, the printer 100 automatically starts operating in the access point mode in conjunction with the user's logging in. At this time, the printer 100 uses the user SSID.
  • "Not in conjunction with logging in” is set on the setting screen 1010, even when a user SSID is set on the setting screen 1000, the printer 100 does not automatically start operating in the access point mode in conjunction with the user's logging in.
  • a register button 1014 is a button for reflecting the settings configured on the setting screen 1010 in the printer 100.
  • the register button 1014 When the user presses the register button 1014, the results of the settings configured on the setting screen 1010 are stored in the HDD 204, and the settings configured on the setting screen 1010 are reflected in the printer 100.
  • the setting screen 1010 illustrated in Fig. 10B indicates a screen in the case where the user "Tanaka” is currently logged in to the printer 100.
  • the setting screen 1010 is a screen for editing the settings of the user SSID of the user "Sato”.
  • a process executed by the printer 100 when the user logs in to the printer 100 and uses the access point mode will be described using a flowchart illustrated in Fig. 11.
  • Each step illustrated in the flowchart in Fig. 11 is processed when the CPU 201 expands and executes a control program stored in a memory such as the ROM 202 or the like in the RAM 203.
  • the printer 100 may be configured such that at least some of the steps of the flowchart illustrated in Fig. 11 are executed by the CPU 201, and the remaining steps are executed by a CPU (not illustrated) different from the CPU 201.
  • step S1101 the CPU 201 determines whether to execute user authentication.
  • the CPU 201 determines whether to execute user authentication.
  • the CPU 201 determines to execute user authentication. The process proceeds to step S1102.
  • step S1102 the CPU 201 determines whether a user indicated by the user information is a user who is permitted to log in. This determination is done by checking whether the user information is registered in the user management table 900. When the user information is registered in the user management table 900 (the user authentication is successful), the process proceeds to step S1103. In contrast, when the user information is not registered in the user management table 900 (the user authentication failed), the process returns to step S1101.
  • step S1103 the CPU 201 determines whether an SSID used in the access point mode is a user SSID. This determination is executed by checking the results of the settings configured on the setting screen 1000.
  • an SSID used in the access point mode is a user SSID
  • the process proceeds to step S1104.
  • an SSID used in the access point mode is not a user SSID, the process proceeds to step S1107.
  • step S1104 the CPU 201 determines whether to start the operation in the access point mode in conjunction with the user's logging in. This determination is executed by checking the results of the settings configured on the setting screen 1010, which are the user-specific settings.
  • step S1104 When "In conjunction with logging in” is set for the user who is currently logged in, it is determined in step S1104 to start the operation in the access point mode in conjunction with the user's logging in, and the process proceeds to step S1106.
  • the CPU 201 controls the wireless LAN I/F 205 to start the operation in the access point mode.
  • the wireless LAN I/F 205 generates a user SSID corresponding to the user who is currently logged in, and starts the operation in the access point mode. For example, when the user who is currently logged in is "Tanaka", the wireless LAN I/F 205 uses the SSID "Direct_2226_2966" and starts the operation in the access point mode.
  • the wireless LAN I/F 205 uses the SSID "Direct_8219_1728" and starts the operation in the access point mode.
  • the to-be-used SSID setting indicates a user SSID and when "In conjunction with logging in” is set on the setting screen 1010 for the user who is currently logged in, the printer 100 automatically starts operating in the access point mode in conjunction with the user's logging in.
  • step S1104 when “Not in conjunction with logging in” is set for the user who is currently logged in, it is determined in step S1104 not to start the operation in the access point mode in conjunction with the user's logging in, and the process proceeds to step S1105.
  • step S1105 the CPU 201 determines whether the user has pressed the start button 501. When the CPU 201 detects that the user has pressed the start button 501, the process proceeds to step S1106.
  • step S1106 the CPU 201 controls the wireless LAN I/F 205 to start the operation in the access point mode.
  • the wireless LAN I/F 205 generates a user SSID corresponding to the user who is currently logged in, and starts the operation in the access point mode.
  • the printer 100 does not start operating in the access point mode at a time point at which the user logs in.
  • step S1107 The processing in step S1107 is executed when an SSID used in the access point mode is a fixed SSID or a one-time SSID.
  • the CPU 201 determines whether the user has pressed the start button 501. When the CPU 201 detects that the user has pressed the start button 501, the process proceeds to step S1108.
  • the CPU 201 controls the wireless LAN I/F 205 to start the operation in the access point mode.
  • the wireless LAN I/F 205 generates a fixed SSID or a one-time SSID in accordance with the results of the settings configured on the setting screen 1000, and starts the operation in the access point mode.
  • the printer 100 does not start operating in the access point mode at a time point at which the user logs in.
  • the printer 100 automatically starts operating in the access point mode in conjunction with the user's logging in on condition that the settings regarding the access point mode include a user SSID. For the user, the user no longer need to separately do the job of logging in to the printer 100 and the job of inputting an instruction to start the operation in the access point mode to the printer 100. This saves the user's workload and enhances convenience.
  • the printer 100 automatically stops operating in the access point in conjunction with the user's logging out.
  • Embodiment(s) of the present invention can also be realized by a computer of a system or apparatus that reads out and executes computer executable instructions (e.g., one or more programs) recorded on a storage medium (which may also be referred to more fully as a 'non-transitory computer-readable storage medium') to perform the functions of one or more of the above-described embodiment(s) and/or that includes one or more circuits (e.g., application specific integrated circuit (ASIC)) for performing the functions of one or more of the above-described embodiment(s), and by a method performed by the computer of the system or apparatus by, for example, reading out and executing the computer executable instructions from the storage medium to perform the functions of one or more of the above-described embodiment(s) and/or controlling the one or more circuits to perform the functions of one or more of the above-described embodiment(s).
  • computer executable instructions e.g., one or more programs
  • a storage medium which may also be referred to more fully as
  • the computer may comprise one or more processors (e.g., central processing unit (CPU), micro processing unit (MPU)) and may include a network of separate computers or separate processors to read out and execute the computer executable instructions.
  • the computer executable instructions may be provided to the computer, for example, from a network or the storage medium.
  • the storage medium may include, for example, one or more of a hard disk, a random-access memory (RAM), a read only memory (ROM), a storage of distributed computing systems, an optical disk (such as a compact disc (CD), digital versatile disc (DVD), or Blu-ray Disc (BD) TM ), a flash memory device, a memory card, and the like.

Landscapes

  • Engineering & Computer Science (AREA)
  • Computer Networks & Wireless Communication (AREA)
  • Signal Processing (AREA)
  • Computer Security & Cryptography (AREA)
  • Theoretical Computer Science (AREA)
  • Human Computer Interaction (AREA)
  • Physics & Mathematics (AREA)
  • General Engineering & Computer Science (AREA)
  • General Physics & Mathematics (AREA)
  • Databases & Information Systems (AREA)
  • Mobile Radio Communication Systems (AREA)
  • Accessory Devices And Overall Control Thereof (AREA)
  • Facsimiles In General (AREA)
PCT/JP2016/004954 2015-11-28 2016-11-25 Communication apparatus and method for controlling the same Ceased WO2017090250A1 (en)

Priority Applications (8)

Application Number Priority Date Filing Date Title
KR1020187018227A KR102046736B1 (ko) 2015-11-28 2016-11-25 통신 장치 및 통신 장치 제어 방법
US15/778,092 US10652741B2 (en) 2015-11-28 2016-11-25 Communication apparatus and method for controlling the same
CN201680069431.0A CN108370609B9 (zh) 2015-11-28 2016-11-25 通信装置和通信装置的控制方法
US16/842,506 US11363458B2 (en) 2015-11-28 2020-04-07 Communication apparatus and method for controlling the same
US17/743,872 US11678185B2 (en) 2015-11-28 2022-05-13 Communication apparatus and method for controlling the same
US18/309,706 US11950095B2 (en) 2015-11-28 2023-04-28 Communication apparatus and method for controlling the same
US18/438,950 US12439252B2 (en) 2015-11-28 2024-02-12 Communication apparatus and method for controlling the same
US19/299,119 US20250374350A1 (en) 2015-11-28 2025-08-13 Communication apparatus and method for controlling the same

Applications Claiming Priority (2)

Application Number Priority Date Filing Date Title
JP2015-232515 2015-11-28
JP2015232515A JP6635769B2 (ja) 2015-11-28 2015-11-28 通信装置、通信装置の制御方法及びプログラム

Related Child Applications (2)

Application Number Title Priority Date Filing Date
US15/778,092 A-371-Of-International US10652741B2 (en) 2015-11-28 2016-11-25 Communication apparatus and method for controlling the same
US16/842,506 Continuation US11363458B2 (en) 2015-11-28 2020-04-07 Communication apparatus and method for controlling the same

Publications (1)

Publication Number Publication Date
WO2017090250A1 true WO2017090250A1 (en) 2017-06-01

Family

ID=58763407

Family Applications (1)

Application Number Title Priority Date Filing Date
PCT/JP2016/004954 Ceased WO2017090250A1 (en) 2015-11-28 2016-11-25 Communication apparatus and method for controlling the same

Country Status (5)

Country Link
US (6) US10652741B2 (enExample)
JP (1) JP6635769B2 (enExample)
KR (1) KR102046736B1 (enExample)
CN (1) CN108370609B9 (enExample)
WO (1) WO2017090250A1 (enExample)

Families Citing this family (4)

* Cited by examiner, † Cited by third party
Publication number Priority date Publication date Assignee Title
JP6853742B2 (ja) * 2017-06-27 2021-03-31 キヤノン株式会社 画像処理装置、その制御方法、及びプログラム
JP7073072B2 (ja) * 2017-10-17 2022-05-23 キヤノン株式会社 情報処理装置、情報処理装置の制御方法及びプログラム
JP7268458B2 (ja) * 2019-04-12 2023-05-08 富士フイルムビジネスイノベーション株式会社 画像処理装置およびプログラム
IL294222A (en) * 2020-01-02 2022-08-01 Gabriel Lavi Methods and systems for supporting communication a plurality of client communication devices in a wireless local area network

Citations (1)

* Cited by examiner, † Cited by third party
Publication number Priority date Publication date Assignee Title
JP2015073253A (ja) * 2013-10-04 2015-04-16 シャープ株式会社 アクセスポイント制御装置、アクセスポイント制御方法および画像形成装置

Family Cites Families (17)

* Cited by examiner, † Cited by third party
Publication number Priority date Publication date Assignee Title
KR101347576B1 (ko) 2008-10-24 2014-01-03 삼성전자주식회사 화상형성장치 및 화상형성장치의 보안설정 방법
US20130039352A1 (en) * 2011-08-11 2013-02-14 Seagate Technology Llc. Configuring a wireless network interface to provide a network service
JP5468595B2 (ja) 2011-11-22 2014-04-09 レノボ・シンガポール・プライベート・リミテッド 共有通信による無線ネットワークへのアクセス方法および無線端末装置
EP2608625B1 (en) 2011-12-12 2015-12-09 Samsung Electronics Co., Ltd Image forming apparatus supporting peer to peer connection and method of performing image forming operation thereof
US9380039B2 (en) * 2013-03-15 2016-06-28 Google Inc. Systems and methods for automatically logging into a user account
JP6224902B2 (ja) * 2013-03-15 2017-11-01 キヤノン株式会社 通信装置、その制御方法、及びプログラム
JP2015023440A (ja) 2013-07-19 2015-02-02 キヤノン株式会社 通信装置、通信方法およびプログラム
JP6149933B2 (ja) * 2013-08-08 2017-06-21 富士通株式会社 無線通信システム、無線通信方法、及び、無線局
TWI514902B (zh) * 2013-11-15 2015-12-21 環旭電子股份有限公司 智慧家電之無線網路設定方法及系統
JP6327075B2 (ja) * 2014-09-08 2018-05-23 ブラザー工業株式会社 機能実行機器
CN104580401A (zh) 2014-12-23 2015-04-29 小米科技有限责任公司 连接方法及装置
US10623502B2 (en) * 2015-02-04 2020-04-14 Blackberry Limited Link indication referring to content for presenting at a mobile device
JP6233338B2 (ja) * 2015-03-19 2017-11-22 株式会社リコー 情報端末、システム、情報処理方法、及びプログラム
JP6166746B2 (ja) * 2015-04-10 2017-07-19 キヤノン株式会社 通信装置とその制御方法及びプログラム
JP6296025B2 (ja) * 2015-08-31 2018-03-20 京セラドキュメントソリューションズ株式会社 ネットワーク機器及び機能制限プログラム
JP6610124B2 (ja) * 2015-09-25 2019-11-27 富士ゼロックス株式会社 情報処理装置及びプログラム
JP6724338B2 (ja) * 2015-10-30 2020-07-15 ブラザー工業株式会社 通信機器

Patent Citations (1)

* Cited by examiner, † Cited by third party
Publication number Priority date Publication date Assignee Title
JP2015073253A (ja) * 2013-10-04 2015-04-16 シャープ株式会社 アクセスポイント制御装置、アクセスポイント制御方法および画像形成装置

Also Published As

Publication number Publication date
JP2017098916A (ja) 2017-06-01
US20250374350A1 (en) 2025-12-04
KR102046736B1 (ko) 2019-11-19
US20180352431A1 (en) 2018-12-06
KR20180088434A (ko) 2018-08-03
CN108370609B9 (zh) 2022-04-29
CN108370609B (zh) 2021-12-31
US11363458B2 (en) 2022-06-14
US11950095B2 (en) 2024-04-02
US10652741B2 (en) 2020-05-12
US12439252B2 (en) 2025-10-07
US20240187854A1 (en) 2024-06-06
US11678185B2 (en) 2023-06-13
US20220279349A1 (en) 2022-09-01
CN108370609A (zh) 2018-08-03
US20230269585A1 (en) 2023-08-24
JP6635769B2 (ja) 2020-01-29
US20200236551A1 (en) 2020-07-23

Similar Documents

Publication Publication Date Title
US10798758B2 (en) Communication apparatus and method for controlling the same
US12439252B2 (en) Communication apparatus and method for controlling the same
KR102093639B1 (ko) 다이렉트 무선통신 기능을 갖는 통신장치 및 통신장치의 제어방법
US10264148B2 (en) Information processing apparatus, control method, and storage medium storing program
KR102100248B1 (ko) 인쇄 장치 및 인쇄 장치의 제어 방법
JP7786837B2 (ja) 情報処理装置とその制御方法
KR102165480B1 (ko) 인쇄 장치, 인쇄 장치의 제어 방법 및 저장 매체
US10747476B2 (en) Printing apparatus, method for controlling the same, and storage medium having a wireless communication interface that performs an access point operation to cause the printing apparatus to operate as an access point, and an operation conforming to Wi-Fi® direct
JP7305815B2 (ja) 画像処理装置、画像処理装置の制御方法及びプログラム

Legal Events

Date Code Title Description
121 Ep: the epo has been informed by wipo that ep was designated in this application

Ref document number: 16868201

Country of ref document: EP

Kind code of ref document: A1

NENP Non-entry into the national phase

Ref country code: DE

ENP Entry into the national phase

Ref document number: 20187018227

Country of ref document: KR

Kind code of ref document: A

122 Ep: pct application non-entry in european phase

Ref document number: 16868201

Country of ref document: EP

Kind code of ref document: A1