WO2017051487A1 - 情報取得装置、情報再生装置、情報取得方法、情報再生方法、情報取得プログラムおよび情報再生プログラム - Google Patents

情報取得装置、情報再生装置、情報取得方法、情報再生方法、情報取得プログラムおよび情報再生プログラム Download PDF

Info

Publication number
WO2017051487A1
WO2017051487A1 PCT/JP2015/085694 JP2015085694W WO2017051487A1 WO 2017051487 A1 WO2017051487 A1 WO 2017051487A1 JP 2015085694 W JP2015085694 W JP 2015085694W WO 2017051487 A1 WO2017051487 A1 WO 2017051487A1
Authority
WO
WIPO (PCT)
Prior art keywords
information
data
information acquisition
acquisition device
unit
Prior art date
Legal status (The legal status is an assumption and is not a legal conclusion. Google has not performed a legal analysis and makes no representation as to the accuracy of the status listed.)
Ceased
Application number
PCT/JP2015/085694
Other languages
English (en)
French (fr)
Japanese (ja)
Inventor
寿一 林
利廣 尾方
和男 神田
吉田 英明
野中 修
Current Assignee (The listed assignees may be inaccurate. Google has not performed a legal analysis and makes no representation or warranty as to the accuracy of the list.)
Olympus Corp
Original Assignee
Olympus Corp
Priority date (The priority date is an assumption and is not a legal conclusion. Google has not performed a legal analysis and makes no representation as to the accuracy of the date listed.)
Filing date
Publication date
Application filed by Olympus Corp filed Critical Olympus Corp
Priority to CN201580002763.2A priority Critical patent/CN106804118B/zh
Priority to EP15904744.8A priority patent/EP3355575A4/en
Priority to US15/176,574 priority patent/US10382690B2/en
Publication of WO2017051487A1 publication Critical patent/WO2017051487A1/ja
Anticipated expiration legal-status Critical
Ceased legal-status Critical Current

Links

Images

Classifications

    • GPHYSICS
    • G01MEASURING; TESTING
    • G01LMEASURING FORCE, STRESS, TORQUE, WORK, MECHANICAL POWER, MECHANICAL EFFICIENCY, OR FLUID PRESSURE
    • G01L19/00Details of, or accessories for, apparatus for measuring steady or quasi-steady pressure of a fluent medium insofar as such details or accessories are not special to particular types of pressure gauges
    • G01L19/0092Pressure sensor associated with other sensors, e.g. for measuring acceleration or temperature
    • HELECTRICITY
    • H04ELECTRIC COMMUNICATION TECHNIQUE
    • H04NPICTORIAL COMMUNICATION, e.g. TELEVISION
    • H04N23/00Cameras or camera modules comprising electronic image sensors; Control thereof
    • H04N23/60Control of cameras or camera modules
    • H04N23/66Remote control of cameras or camera parts, e.g. by remote control devices
    • GPHYSICS
    • G01MEASURING; TESTING
    • G01LMEASURING FORCE, STRESS, TORQUE, WORK, MECHANICAL POWER, MECHANICAL EFFICIENCY, OR FLUID PRESSURE
    • G01L19/00Details of, or accessories for, apparatus for measuring steady or quasi-steady pressure of a fluent medium insofar as such details or accessories are not special to particular types of pressure gauges
    • GPHYSICS
    • G06COMPUTING OR CALCULATING; COUNTING
    • G06FELECTRIC DIGITAL DATA PROCESSING
    • G06F16/00Information retrieval; Database structures therefor; File system structures therefor
    • G06F16/50Information retrieval; Database structures therefor; File system structures therefor of still image data
    • G06F16/51Indexing; Data structures therefor; Storage structures
    • HELECTRICITY
    • H04ELECTRIC COMMUNICATION TECHNIQUE
    • H04NPICTORIAL COMMUNICATION, e.g. TELEVISION
    • H04N23/00Cameras or camera modules comprising electronic image sensors; Control thereof
    • H04N23/50Constructional details
    • H04N23/51Housings
    • HELECTRICITY
    • H04ELECTRIC COMMUNICATION TECHNIQUE
    • H04NPICTORIAL COMMUNICATION, e.g. TELEVISION
    • H04N23/00Cameras or camera modules comprising electronic image sensors; Control thereof
    • H04N23/60Control of cameras or camera modules
    • H04N23/65Control of camera operation in relation to power supply
    • HELECTRICITY
    • H04ELECTRIC COMMUNICATION TECHNIQUE
    • H04NPICTORIAL COMMUNICATION, e.g. TELEVISION
    • H04N5/00Details of television systems
    • H04N5/76Television signal recording
    • H04N5/765Interface circuits between an apparatus for recording and another apparatus
    • H04N5/77Interface circuits between an apparatus for recording and another apparatus between a recording apparatus and a television camera
    • H04N5/772Interface circuits between an apparatus for recording and another apparatus between a recording apparatus and a television camera the recording apparatus and the television camera being placed in the same enclosure

Definitions

  • the present invention relates to an information acquisition device, an information reproduction device, an information acquisition method, an information reproduction method, an information acquisition program, and an information reproduction program.
  • Patent Document 1 discloses a camera that includes a water pressure sensor that detects water depth and records water depth data at the time of photographing in association with image data.
  • the water depth data is one piece of information that can be used as a clue to remember the situation at the time of photographing when viewing image data taken by the user after a lapse of time.
  • the present invention has been made in view of the above, and an information acquisition device and an information reproduction device capable of adding information in consideration of an error even when there is an error in sensors for determining a use environment, a state, and the like
  • An object of the present invention is to provide an information acquisition method, an information reproduction method, an information acquisition program, and an information reproduction program.
  • an information acquisition device is an information acquisition device that acquires information data of an object, and a state in which usage state data of the information acquisition device is detected
  • a detection unit, and a file generation unit that generates a file in which the information data, the usage state data, and information related to the constraint condition of the state detection unit are associated with each other are provided.
  • An information acquisition device is an information acquisition device that acquires information data of an object, and a state detection unit that periodically detects use state data of the information acquisition device and the use state data detected
  • a file generation unit that generates a file in which the time data, the usage state data, and the information on the constraint condition of the state detection unit are associated with each other.
  • An information reproduction apparatus reproduces information acquired by an information acquisition apparatus that acquires information data of an object and includes a state detection unit that detects use state data of the information acquisition apparatus.
  • An information reproducing apparatus which acquires a file in which object information data acquired by the information acquisition apparatus, usage state data of the information acquisition apparatus, and information related to constraint conditions of the state detection unit are associated with each other.
  • a reproduction control unit that reproduces information processed according to the constraint condition together with the information data.
  • An information acquisition method is an information acquisition method performed by an information acquisition apparatus that acquires information data of an object, an information acquisition step of acquiring information data of the object and storing it in a storage unit, and the information A state detection step of detecting use state data of the acquisition device and storing it in the storage unit; a file in which the information data and the use state data are read from the storage unit and information relating to the constraint condition of the state detection step is associated; And a file generation step for generating.
  • An information acquisition method is an information acquisition method performed by an information acquisition apparatus that acquires information data of an object, an information acquisition step of acquiring information data of the object and storing it in a storage unit, and the information A state detection step of periodically detecting use state data of the acquisition device and storing it in the storage unit, reading out time data when the use state data is detected and the use state data from the storage unit, and detecting the state And a file generation step of generating a file in which information relating to the constraint condition of the step is associated.
  • An information reproduction method reproduces information acquired by an information acquisition device that acquires information data of an object and that includes a state detection unit that detects use state data of the information acquisition device.
  • An information reproduction method performed by an information reproduction apparatus wherein information information on an object acquired by the information acquisition apparatus, usage state data of the information acquisition apparatus, and information on a constraint condition of the state detection unit are associated with each other It has a reproduction step of obtaining a file from a storage unit and reproducing information processed according to the constraint condition together with the information data.
  • An information acquisition program includes an information acquisition step of acquiring information data of an object, an information acquisition step of acquiring information data of the target, and a state detection step of detecting use state data of the information acquisition device. And a file generation step of generating a file in which the information data, the usage state data, and the information relating to the constraint condition of the state detection step are associated with each other.
  • An information acquisition program includes an information acquisition step of acquiring information data of an object and storing it in a storage unit in an information acquisition apparatus that acquires information data of the object, and usage state data of the information acquisition apparatus
  • a state detection step of periodically detecting, and a file generation step of generating a file in which the time data when the use state data is detected, the use state data, and information relating to the constraint conditions of the state detection step are associated with each other. It is made to perform.
  • An information reproduction program reproduces information acquired by an information acquisition apparatus that acquires information data of an object and includes a state detection unit that detects use state data of the information acquisition apparatus. Acquires a file that associates information data of the object acquired by the information acquisition device, usage state data of the information acquisition device, and information on the constraint condition of the state detection unit from the storage unit with the information reproduction device. A reproduction step of reproducing the information processed in accordance with the constraint condition together with the information data.
  • FIG. 1 is a block diagram showing a configuration of an imaging apparatus according to Embodiment 1 of the present invention.
  • FIG. 2 is a diagram illustrating a configuration of an acceleration sensor that forms part of the acceleration detection unit of the imaging apparatus according to Embodiment 1 of the present invention.
  • FIG. 3 is a diagram schematically showing the configuration of the acceleration detection unit of the imaging apparatus according to Embodiment 1 of the present invention.
  • FIG. 4 is a diagram illustrating a situation where the user taps the imaging apparatus according to Embodiment 1 of the present invention.
  • FIG. 5 is a diagram schematically showing a detectable region of the hold detection unit of the imaging apparatus according to Embodiment 1 of the present invention.
  • FIG. 1 is a block diagram showing a configuration of an imaging apparatus according to Embodiment 1 of the present invention.
  • FIG. 2 is a diagram illustrating a configuration of an acceleration sensor that forms part of the acceleration detection unit of the imaging apparatus according to Embodiment 1 of the present invention.
  • FIG. 3
  • FIG. 6 is a diagram illustrating a situation in which the user holds the imaging apparatus according to Embodiment 1 of the present invention with one hand.
  • FIG. 7 is a diagram schematically showing the configuration of an image file.
  • FIG. 8 is a diagram illustrating a situation in which a user performs photographing while underwater in the water using the imaging apparatus according to Embodiment 1 of the present invention.
  • FIG. 9 is a diagram illustrating a situation in which the user performs shooting while floating near the water surface using the imaging apparatus according to Embodiment 1 of the present invention.
  • FIG. 10 is a diagram illustrating a temporal change in the water depth of the imaging apparatus when the user performs imaging in water using the imaging apparatus according to Embodiment 1 of the present invention.
  • FIG. 10 is a diagram illustrating a temporal change in the water depth of the imaging apparatus when the user performs imaging in water using the imaging apparatus according to Embodiment 1 of the present invention.
  • FIG. 11 is a flowchart showing an outline of processing performed by the imaging apparatus according to Embodiment 1 of the present invention.
  • FIG. 12 is a diagram showing an outline of motion detection activation processing performed by the imaging apparatus according to Embodiment 1 of the present invention.
  • FIG. 13 is a diagram illustrating a situation in which the user places the imaging device according to Embodiment 1 of the present invention in a chest pocket of a shirt.
  • FIG. 14 is a diagram illustrating a situation in which the imaging apparatus according to Embodiment 1 of the present invention is set in a posture in which a user takes out a photograph from a chest pocket of a shirt.
  • FIG. 15 is a diagram illustrating time-dependent changes in gravity acceleration and atmospheric pressure in the coordinate system unique to the imaging apparatus when the state shown in FIG.
  • FIG. 16 is a diagram illustrating a holding mode and a difficulty level of switch operation in still image shooting and moving image shooting according to the usage state of the imaging apparatus according to Embodiment 2 of the present invention.
  • FIG. 17 is a flowchart illustrating an outline of processing performed by the imaging apparatus according to Embodiment 2 of the present invention.
  • An information acquisition device includes an information acquisition unit that acquires information data of an object, a state detection unit that detects use state data of the information acquisition device, information data, use state data, and And a control unit that generates a file in which information related to the constraint condition of the state detection unit is associated.
  • FIG. 1 is a block diagram showing a configuration of an imaging apparatus which is an example of an information acquisition apparatus according to Embodiment 1 of the present invention.
  • An imaging apparatus 1 shown in FIG. 1 captures a subject, generates electronic image data of the captured image, and edge enhancement, color correction, and image compression for the image data generated by the imaging unit 2.
  • the image processing unit 3 that performs image processing such as the above, creates an image file, the display unit 4 that displays information including an image corresponding to the image data processed by the image processing unit 3, and various types of the imaging device 1
  • An operation input unit 5 that receives input of an operation signal and the like, a water depth detection unit 6 that detects the water depth of the imaging device 1 in a predetermined cycle, and a water depth change calculation unit 7 that calculates the amount of change in water depth detected by the water depth detection unit 6.
  • an acceleration detection unit 8 that detects an acceleration according to an external force (including gravity) applied to the imaging device 1, and a posture determination unit that determines the posture of the imaging device 1 based on the detection result of the gravitational acceleration in the acceleration detection unit 8.
  • a hold detector 10 for detecting a hold from the outside in the area, an atmospheric pressure detector 11 for detecting the atmospheric pressure, a clock 12 having an imaging date determination function and a timer function, and auxiliary light is projected onto the visual field area of the imaging unit 2
  • the storage unit 14 that stores various information including image data processed by the image processing unit 3, and the auxiliary light projection unit 13.
  • movement and the power supply part 16 which supplies electric power to each component of the imaging device 1 under control of the control part 15 are provided.
  • the imaging unit 2 includes one or a plurality of lenses, and includes an optical system that collects light from a subject existing in a predetermined visual field area, a diaphragm that adjusts the amount of incident light collected by the optical system, and a release.
  • a shutter that operates in response to input, an image sensor such as a CMOS (Complementary Metal Oxide Semiconducter) or CCD (Charge Coupled Device) that receives light passing through the aperture and shutter and converts it into an electrical signal, and is output from the image sensor
  • CMOS Complementary Metal Oxide Semiconducter
  • CCD Charge Coupled Device
  • the image processing unit 3 has a function as a file generation unit that generates an image file including image data captured by the imaging unit 2, and writes the generated image file in the image file storage unit 141 included in the storage unit 14 for storage.
  • the image processing unit 3 is configured using a general-purpose processor such as a CPU (Central Processing Unit).
  • the display unit 4 is provided on a surface (rear surface) located on the back side of the surface (front surface) on which the optical system of the image capturing unit 2 is exposed, and appropriately displays operation information of the image capturing apparatus 1 and information on photographing in addition to image data. To do.
  • the display unit 4 is realized using a display panel made of liquid crystal, plasma, organic EL (Electro Luminescence), or the like.
  • the operation input unit 5 includes a release switch for inputting a release signal and a power switch for inputting a power-on / power-off instruction signal.
  • “power on” means that the power supply unit 16 makes a transition to a state where power can be supplied to the entire imaging apparatus 1
  • “power off” means that the power supply unit This means that the power supply to the entire imaging apparatus 1 according to 16 is stopped.
  • the water depth detection unit 6 is realized using a water pressure sensor.
  • the water pressure detected by the water pressure sensor is about 1060 hectopascals (hPa) at a water depth of 50 cm, and increases as the water depth increases.
  • the water depth detection unit 6 has a function of temporarily storing at least two latest water depth detection results.
  • the water depth change calculation unit 7 calculates the two most recent changes in water depth detected by the water depth detection unit 6.
  • the water depth change calculation unit 7 has a function of determining whether or not the detection result of the water depth detection unit 6 is a value that can be regarded as underwater.
  • the water depth change calculation unit 7 supplies power to the entire imaging apparatus 1 including the imaging unit 2 when the release switch is pressed in a state where power is not supplied to the site including the imaging unit 2 and A change in water depth is calculated when an operation input other than the release switch is performed in the input unit 5.
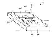
  • FIG. 2 is a diagram showing the configuration of an acceleration sensor that forms part of the acceleration detection unit 8.
  • the acceleration sensor 81 shown in the figure is a capacitance type acceleration sensor formed by a MEMS (Micro Electro Mechanical Systems) process.
  • the acceleration sensor 81 includes a metal movable portion 83 having a beam structure that is bridged in a state where the ends are fixed in the vicinity of the four corners of the main surface of the rectangular parallelepiped chip 82, and the main surface of the chip 82 and the movable portion. 83, and two metal flat plate portions 84 provided on the main surface to which the end portions of 83 are fixed.
  • the movable portion 83 extends along the same direction of the main surface of the chip 82, and two extending portions 83a each having both end portions fixed to each other, and the central portions of the two extending portions 83a extend to the extending portion 83a.
  • a connecting portion 83b that is connected along a direction orthogonal to the direction in which the extending portion extends, and a protruding portion 83c that protrudes in a strip shape in parallel with the direction in which the extending portion 83a extends from the central portion of the connecting portion 83b.
  • the acceleration sensor 81 outputs a change in signal based on the change in capacitance. Note that the acceleration detection unit 8 can also be used when determining camera shake and performing correction based on this determination.
  • FIG. 3 is a diagram schematically showing the configuration of the acceleration detection unit 8.
  • the acceleration detection unit 8 includes three acceleration sensors 81 whose acceleration detection directions are orthogonal to each other. Specifically, as a coordinate system unique to the imaging apparatus 1 (hereinafter referred to as “imaging coordinate system”), an x axis parallel to the thickness direction of the imaging apparatus 1, a y axis parallel to the width direction of the imaging apparatus 1, The three acceleration sensors 81 that take the z-axis parallel to the height direction of the imaging apparatus 1 and detect acceleration components in the respective axis directions are attached to predetermined positions of the main body of the imaging apparatus 1. According to the acceleration detection unit 8 having such a configuration, when the user performs a tap operation by momentarily tapping the surface of the imaging device 1, the acceleration generated by the tap operation can be accurately detected.
  • FIG. 4 is a diagram illustrating a situation where the user taps the surface of the imaging device 1.
  • the acceleration detection unit 8 has main components in the left-right direction in FIG. 4 and can be regarded as a tap.
  • An acceleration having a magnitude larger than a predetermined value and indicating a pulse-like time change is detected. Thereby, it can be determined that the imaging device 1 has been tapped.
  • the first embodiment since there is a high possibility that there is vibration similar to a tap when carrying on land, it is prevented that the power is easily turned on by the tap.
  • buttons 5a and 5b provided on the upper surface of the imaging apparatus 1 are a release switch and a power switch, respectively.
  • the button 5a is referred to as a release switch 5a
  • the button 5b is referred to as a power switch 5b.
  • the posture determination unit 9 is configured by combining a comparator and a logic circuit, for example. By providing such an attitude determination unit 9, it is possible to realize a power-on operation based on a change in attitude of the imaging device 1 on land, as will be described later. Note that the posture determination unit 9 can be realized as a function of the control unit 15. The posture determination unit 9 can determine the posture based on the output of the acceleration detection unit 8 to detect the elevation angle, the depression angle, and the like of the imaging device 1 and use it for specifying the imaging target. Further, it is possible to detect an orientation in which a predetermined part of the imaging device 1 (for example, the optical axis of the imaging unit 2) is directed using an electronic compass or the like.
  • FIG. 5 is a diagram schematically showing a detectable region of the hold detection unit 10.
  • the hold detection unit 10 has a function of detecting the presence or absence of external contact with the left and right rectangular regions 1L and 1R on the front surface of the imaging apparatus 1.
  • the hold detection unit 10 having such a function is realized, for example, by disposing one or a plurality of pressure sensors inside each of the rectangular regions 1L and 1R.
  • the hold detection unit 10 detects external contact in the rectangular areas 1L and 1R.
  • the hold detection unit 10 detects an external contact with one of the rectangular regions 1L and 1R.
  • the release switch 5a and the power switch 5b are provided on the right side of the upper surface when viewed from the user, so that the user holds the imaging apparatus 1 with the right hand RH as shown in FIG. There is a high possibility of doing. For this reason, when the user holds the imaging apparatus 1 with one hand, the hold detection unit 10 is highly likely to detect an external contact with the rectangular region 1R.
  • a technique for determining a pulse or a blood flow by monitoring reflection of infrared light or the like by using a contact sensor is also known.
  • the hold detection unit 10 includes such a contact sensor, it is possible to detect biological information. Note that if a temperature sensor is provided in the imaging apparatus 1, the user's body temperature can also be detected.
  • the detection result may vary depending on the characteristics of the sensor and the way the user grips when the determination is made using the rectangular region 1R and the determination using the rectangular region 1L. Therefore, it is more preferable to store information on the detected rectangular area in the storage unit 14 as usage state data (information).
  • usage state data information
  • the body temperature is different depending on the part of the human body, and also varies depending on the heat radiation characteristics, heat conduction characteristics, etc. of the material constituting the imaging apparatus 1, and thus the usage state data is important information. That is, by storing the usage state data, it becomes possible for the first time to handle the detection result accurately.
  • the atmospheric pressure detection unit 11 is realized using an atmospheric pressure sensor.
  • the atmospheric pressure detected by the atmospheric pressure sensor is, for example, in the range of about 100 to 1500 hPa.
  • An atmospheric pressure sensor may detect the water pressure. It is also possible to calculate and record the altitude by using the atmospheric pressure. However, since the atmospheric pressure and altitude are likely to cause errors due to weather, it is more preferable to add information describing the fact as a constraint.
  • the water depth detection unit 6, the water depth change calculation unit 7, the acceleration detection unit 8, the posture determination unit 9, the hold detection unit 10, and the atmospheric pressure detection unit 11 are part of a function as a state detection unit that detects the state of the imaging device 1. Respectively. These functions are affected by performance such as resolution of various sensors and peripheral circuits, mounting conditions, layout, environmental noise, response characteristics (time constant), sensitivity, and the like. That is, the state detection unit does not necessarily output an ideal value, and its function is accompanied by a fixed condition or a constraint condition due to environmental changes.
  • the storage unit 14 stores an image file storage unit 141 that stores an image file including imaged image data that has been captured by the imaging unit 2 and processed by the image processing unit 3, and various programs that the imaging device 1 executes. It has a program storage unit 142 for storing, and a sensor characteristic storage unit 143 for storing sensor characteristic information of various sensors constituting the state detection unit.
  • the sensor characteristic information stored in the sensor characteristic storage unit 143 includes, for example, information on the response time (time constant) of the sensor, the relationship between the sensor error and the ambient temperature and / or humidity around the imaging device 1.
  • the storage unit 14 stores various programs including an imaging program for executing the imaging method according to the present embodiment.
  • the storage unit 14 may store a file that records only surrounding environment change information as log data.
  • the storage unit 14 includes a volatile memory such as a RAM (Random Access Memory) and a nonvolatile memory such as a ROM (Read Only Memory). Note that the storage unit 14 may be configured using a computer-readable recording medium such as a memory card that can be externally mounted.
  • a volatile memory such as a RAM (Random Access Memory)
  • a nonvolatile memory such as a ROM (Read Only Memory).
  • the storage unit 14 may be configured using a computer-readable recording medium such as a memory card that can be externally mounted.
  • FIG. 7 is a diagram schematically showing the structure of an image file.
  • the image file 100 includes image data 101, imaging information 102, thumbnail image data 103, sensor characteristic data 104, and sensor detection data 105.
  • the imaging information 102 is information when the image data 101 is generated, and includes information such as generation date / time, exposure, focus position, ISO sensitivity, and the like.
  • the sensor characteristic data 104 is data read and written from the sensor characteristic storage unit 143, and includes characteristic information of various sensors. Examples of sensor characteristics include response times (time constants) of various sensors.
  • the sensor detection data 105 is recorded only for a predetermined recording period including detection timing of detection data of various sensors.
  • the shooting timing here is the timing when the user inputs a shooting instruction signal (release signal).
  • the recording period is set based on characteristic information of various sensors, and is preferably set to include, for example, a period from imaging timing to response time of various sensors.
  • the control unit 15 includes an imaging control unit 151 that controls imaging in the imaging unit 2 and a power supply control unit 152 that controls supply of power by the power supply unit 16.
  • the control unit 15 is realized using a CPU (Central Processing Unit) or the like, and is connected to each component of the imaging device 1 via a bus line.
  • the control unit 15 is configured using a general-purpose processor such as a CPU. Note that the control unit 15 may be configured by a CPU common to the image processing unit 3.
  • the control unit 15 may have a function as a file generation unit that generates an image file.
  • the control unit 15 may have a function of generating not only an image file but also an environment change file that generates only environment change information and usage status information as log data. This is because the function of the state detector is affected by the performance of various sensors and peripheral circuits, such as the resolution, mounting conditions, layout, environmental noise, response characteristics (time constant), sensitivity, etc. This is because there are restrictions due to constant or environmental changes.
  • control unit 15 acquires a file in which the information data of the object, the usage state data of the information acquisition device, and the information related to the predetermined constraint condition of the state detection unit are acquired, and processed according to the constraint condition It may have a function as a reproduction control unit that reproduces information together with information data. That is, the control unit 15 may display the environment information and the usage state data at the same time when the photographing data is displayed on the display unit 4. Since there is a possibility that an error may occur in the environmental information and the usage state data as described above, this fact may be displayed as constraint information.
  • control unit 15 performs processing such as averaging of multiple data, interpolation, and the like as processing according to the constraint condition, thereby reducing errors in environment information and usage state data. You may make it reflect the performed result at the time of image reproduction. As a specific example of the reflection here, for example, the fact that the error reduction processing has been performed may be expressed with characters or characters, or a special image that makes it possible to identify that the error reduction processing has been performed on the reproduced image itself. An effect may be added. As described above, the imaging apparatus 1 can also function as an information reproduction apparatus having a reproduction control unit.
  • the information acquisition apparatus and the information reproduction apparatus can be separated.
  • communication via a communication network may be performed between the information acquisition device and the information reproduction device.
  • the information reproducing apparatus can acquire other information via the communication network, it is possible to reproduce and provide information more accurately by referring to the information.
  • the power supply unit 16 includes an operation input unit 5, a water depth detection unit 6, a water depth change calculation unit 7, an acceleration detection unit 8, an attitude determination unit 9, and hold detection. Power is always supplied to the unit 10, the atmospheric pressure detection unit 11, the timepiece 12, and the power supply control unit 152. For this reason, the operation input unit 5, the water depth detection unit 6, the water depth change calculation unit 7, the acceleration detection unit 8, the posture determination unit 9, the hold detection unit 10, the atmospheric pressure detection unit 11, the clock 12, and the power control unit 152 are powered. Regardless of whether it is turned on or not, it is always running.
  • the operation input unit 5, the water depth detection unit 6, the water depth change calculation unit 7, the acceleration detection unit 8, the posture determination unit 9, the hold detection unit 10, the atmospheric pressure detection unit 11, the clock 12, and the power supply control unit 152 are always supplied with power. That's it.
  • the constant power supply part may be changed according to the mode setting by the user.
  • the underwater shooting mode can be manually set, and power may be supplied to the water depth detection unit 6, the water depth change calculation unit 7, the hold detection unit 10 and the like only when the underwater shooting mode is set.
  • the imaging device 1 having the above configuration is externally covered with a casing having a waterproof structure with a sealed surface.
  • a casing having such a waterproof structure is disclosed in, for example, Japanese Patent Application Laid-Open No. 2008-180898.
  • FIG. 8 and 9 are diagrams illustrating a situation where processing characteristic of the imaging apparatus 1 is performed. Specifically, FIG. 8 shows a situation in which the user takes a picture while underwater, while FIG. 9 shows a situation in which the user takes a picture while floating near the water surface.
  • “elementary dive” includes snorkeling, but does not include diving operation of heavy equipment such as scuba diving.
  • the water depth of the imaging device 1 before and after the user dives and shoots changes as shown by a curve L1 shown in FIG.
  • the horizontal axis represents time t
  • the vertical axis represents water depth d (downward positive).
  • the water depth d of the imaging device 1 before and after imaging by the user is substantially constant and changes as shown by a curve L2 shown in FIG.
  • a curve L3 illustrated in FIG. 10 indicates the detection result of the water depth detection unit 6.
  • the curve L3 has the same shape as the curve L1, and the change is delayed by ⁇ t 1 from the curve L1.
  • the water pressure sensor of the water depth detector 6 has a response time ⁇ t 1 .
  • the detection result recording period Tr shown in FIG. 10 includes an imaging timing and a period from the imaging timing until the response time ⁇ t 1 of the water pressure sensor elapses.
  • the change in the water depth per predetermined time is determined based on the fact that the release switch 5a is pushed as the operation of the imaging device 1 during the submergence.
  • the imaging control unit 151 performs control to continuously capture a predetermined number of images after changing shooting conditions such as exposure time and gain in the imaging unit 2. Do. More specifically, in view of the fact that the user's body easily shakes in water, control is performed to improve the sensitivity by shortening the exposure time and increasing the gain. By performing such control, a user who is in a situation where the body is not free in water and it is difficult to adjust the photographing timing can accurately photograph a desired subject.
  • the main shooting is performed when performing a diving operation in an area up to a depth of about 5 m where the user can reach with a simple dive and the degree of freedom of the holding mode when performing still image shooting or moving image shooting is low. Is assumed.
  • the imaging apparatus 1 when performing a shooting operation deeper than the water depth that can be reached by a natural dive, such as when performing a diving operation with heavy equipment such as scuba diving, the imaging apparatus 1 is covered and protected by an underwater protector or housing that can withstand water pressure. There is a need. In this case, there is a possibility that the correct water pressure cannot be measured by the sensor arranged on the surface of the imaging device 1. Under such circumstances, it is more preferable to write information “in the underwater protector” to the image file as a constraint condition. This restriction condition may be recorded in conjunction with the mode setting when shooting with the underwater protector.
  • the control unit 15 can store the image file in the storage unit 14.
  • Information to that effect may be automatically added to the image file.
  • Various protective cases other than the underwater protector and the housing may also cover the sensor portion.
  • the protection case type information may be added to the image file. By adding such information, each sensor data can be determined more accurately.
  • FIG. 11 is a flowchart showing an outline of processing performed by the imaging apparatus 1.
  • the water depth change calculation unit 7 calculates the two most recent water depth changes detected by the water depth detection unit 6 and stores them. 14 is temporarily stored (step S2).
  • the water depth change calculation unit 7 calculating, when the water depth change amount ⁇ d (see FIG. 10) is larger than the second threshold value H (> 0) (step S3: Yes), the imaging apparatus 1 must be turned on. If so (step S4: No), the power supply control unit 152 controls the power supply unit 16 to transition to a state in which power can be supplied to the entire imaging apparatus 1 (step S5).
  • the second threshold value H can take a value of about 1 m.
  • the detection period ⁇ t of the water depth detection unit 6 can be set to about 2 seconds.
  • step S4 when the imaging apparatus 1 is turned on (step S4: Yes), the imaging apparatus 1 proceeds to step S6 described later.
  • step S6 the imaging control unit 151 changes the imaging condition (step S6), and causes the imaging unit 2 to perform imaging (step S7). Specifically, the imaging control unit 151 sets the exposure time in the imaging unit 2 to be shorter than the initial setting, increases the gain of the imaging unit 2 from the initial setting, and then sets a predetermined number (for example, 5) in the imaging unit 2. Controls to shoot continuously. At this time, when the auxiliary light projecting unit 13 projects the auxiliary light, the imaging control unit 151 can compensate for the red component that tends to be lost in water, and can capture a more vivid image. It is more preferable.
  • the image processing unit 3 generates an image file by adding the usage state data and the constraint conditions of the state detection unit (including sensor characteristic information and sensor reliability information) to the generated image data, and generates the generated image data.
  • the file is written and stored in the image file storage unit 141 (step S8).
  • the image data may be reproduced for confirmation.
  • the environmental information and the state information are also displayed together, and are displayed after correction based on the constraint condition of the state detection unit, if necessary.
  • step S9: Yes when there is an operation by the operation input unit 5 within a predetermined time (for example, 1 minute) and the operation is an operation of the release switch 5a (step S10: Yes), the imaging apparatus 1 performs step S7.
  • the water depth change calculating unit 7 calculates the amount of change ⁇ d of the water depth using the two detection results closest to the water depth detecting unit 6. If the calculation result is smaller than the predetermined value ⁇ H (third threshold value) (step S12: Yes), the power supply control unit 152 excludes a portion that constantly supplies power to the power supply unit 16. Then, control for stopping the supply of power to the entire imaging apparatus 1 is performed (step S13).
  • the processing in step S13 is referred to as “turning off the power”.
  • step S9 when there is no operation by the operation input part 5 within predetermined time (step S9: No), the imaging device 1 transfers to step S13.
  • step S12 when the change amount ⁇ d of the water depth is equal to or greater than the third threshold ⁇ H (step S12: No), the imaging device 1 returns to step S9.
  • step S1: No a case where the release switch 5a is not pressed in step S1
  • step S3: No a case where the water depth change amount ⁇ d is equal to or smaller than the second threshold value H in step S3
  • step S14: Yes when the acceleration detection unit 8 detects a tap or the hold detection unit 10 detects a hold (step S14: Yes), the water depth change calculation unit 7 displays the result detected by the water depth detection unit 6. If the value of the latest detection result is a value that can be regarded as underwater (step S15: Yes), the two most recent depth changes ⁇ d detected by the water depth detector 6 are calculated (step S16).
  • a water detection switch that conducts when water intervenes between the two electrodes may be provided on the surface of the imaging device 1.
  • step S17: Yes when the absolute value
  • of the change amount of the water depth is equal to or greater than the first threshold value h (step S17: No)
  • the imaging device 1 returns to step S1.
  • the first threshold value h is a value of about 30 to 50 cm, for example.
  • step S19 the control unit 15 performs normal control (step S19).
  • normal control means that control is started as a shooting mode, and shooting and mode switching are performed in response to input of various operation signals from the operation input unit 5.
  • step S20: Yes when an operation to turn off the power is performed (step S20: Yes), the imaging device 1 proceeds to step S13. On the other hand, when the operation to turn off the power is not performed (step S20: No), the imaging apparatus 1 continues the normal control (step S19).
  • step S14 the imaging apparatus 1 returns to step S1.
  • Step S15 the imaging device 1 performs a motion detection activation process that turns on the power when a predetermined posture change is detected (step S21). Details of the motion detection activation process will be described later.
  • step S22: Yes If the imaging apparatus 1 is in the power-on state after the motion detection activation process in step S21 (step S22: Yes), the imaging apparatus 1 proceeds to step S19. On the other hand, after the motion detection activation process in step S21, when the imaging apparatus 1 is not in the power-on state (step S22: No), the imaging apparatus 1 returns to step S1.
  • FIG. 12 is a flowchart showing an outline of the motion detection activation process in step S21.
  • the acceleration detection unit 8 detects gravitational acceleration (g x , g y , g z ) in the imaging coordinate system with a period ⁇ T 1 , while the atmospheric pressure detection unit 11 detects the atmospheric pressure P with a period ⁇ T 1 and stores it in the storage unit 14.
  • Store step S211).
  • the period ⁇ T 1 may be about 1 second, for example. Note that the detection periods of the acceleration detection unit 8 and the atmospheric pressure detection unit 11 may be different.
  • the control unit 15 changes the detection period of the gravitational acceleration in the acceleration detection unit 8 to ⁇ T 2 shorter than ⁇ T 1 for detection (step S213).
  • the period ⁇ T 2 can be set to about 1/50 second, for example.
  • the predetermined value g 0 here corresponds to the value of gravity when the angle formed by one axis of the imaging coordinate system and the vertical direction is smaller than a predetermined angle (for example, about 45 to 60 degrees). It is a value that can be regarded as the degree of gravitational acceleration in the direction cannot be ignored.
  • the detection period of the atmospheric pressure detection unit 11 may be similarly ⁇ T 2 or may be ⁇ T 1 .
  • the state detection unit periodically detects the state, the time data at the time of detection is associated with the usage state data and information on the constraint condition of the state detection unit to generate the image file. Good.
  • step S212 when the acceleration detection unit 8 detects the gravitational acceleration in the imaging coordinate system, the magnitude relationship between the gravitational acceleration g z in the z-axis direction and the predetermined value g 0 remains unchanged as g z ⁇ g 0 (step S212: No), the imaging apparatus 1 returns to step S211.
  • the posture determination unit 9 determines that the gravitational acceleration (g x , g y , g z ) and the atmospheric pressure P satisfy predetermined conditions. It is determined whether or not (step S214).
  • the power control unit 152 performs control to turn on the power (step S215). Thereafter, the imaging apparatus 1 returns to the main routine and proceeds to step S22.
  • the predetermined condition determined in step S214 is a condition relating to the gravitational acceleration (g x , g y , g z ) and the time change of the atmospheric pressure P. For example, after detecting each component of gravitational acceleration and the atmospheric pressure a predetermined number of times, it can be made a condition that the detected value is within a predetermined range. Moreover, when a vibration pattern is seen with each component of gravitational acceleration and the time change of atmospheric pressure, the period of the vibration may be used as a condition.
  • step S214 when the gravitational acceleration (g x , g y , g z ) and the atmospheric pressure P do not satisfy the predetermined conditions (step S214: No), the imaging device 1 returns to the main routine and proceeds to step S22.
  • FIGS. 13 and 14 are diagrams illustrating a situation where the imaging apparatus 1 is activated by the motion detection activation process described above. Specifically, FIG. 13 shows a situation where the user walks with the imaging device 1 in the shirt pocket Pkt of the shirt, while FIG. 14 shows that the user takes the imaging device 1 out of the shirt pocket Pkt of the shirt and shoots it. It shows the situation prepared for the posture.
  • the width direction (the y-axis direction in FIG. 3) is substantially parallel to the vertical direction, so the gravitational acceleration in the imaging coordinate system shown in FIG. Only the y component g y has a value greater than the predetermined value g 0 .
  • the height direction (z-axis direction in FIG. 3) is substantially parallel to the vertical direction when the user holds the imaging apparatus 1, only the z component g z of the gravitational acceleration in the imaging coordinate system has a predetermined value. g has a value greater than 0 .
  • FIG. 15 is a diagram showing temporal changes in gravitational acceleration (g x , g y , g z ) and pressure P when changing from the state shown in FIG. 13 to the state shown in FIG.
  • the horizontal axis t is time.
  • the vertical axis g is the magnitude of gravitational acceleration.
  • the vertical axis P represents the pressure.
  • Curves L x (displayed with a broken line), L y (displayed with a solid line), and L z (displayed with a thick line) shown in FIG. 15A are the x component g x and the y component g of the gravitational acceleration applied to the imaging device 1.
  • FIG. 15B shows a time change of the atmospheric pressure.
  • the atmospheric pressure has a substantially constant value at a time after ⁇ t 2 after the time t c when the z component g z of the gravitational acceleration becomes substantially constant. Therefore, the response time of the atmospheric pressure sensor of the atmospheric pressure detection unit 11 is ⁇ t 2 .
  • the atmospheric pressure detection unit 11 outputs a value higher than the lowest value by ⁇ P as the detection value at time t c .
  • the detection result recording period T r ′ includes the imaging timing and includes a period from the imaging timing until the response time ⁇ t 2 of the atmospheric pressure sensor elapses.
  • the gravity detection cycle is shortened ( ⁇ T 1 ⁇ ⁇ T 2 ).
  • the power supply control unit 152 controls the power supply unit 16 to turn on the power.
  • the detection result of the atmospheric pressure detection unit 11 is used, and the atmospheric pressure change condition is determined by referring to the response delay due to the sensor characteristics of the atmospheric pressure detection unit 11.
  • the image data is generated by associating the image data generated by the imaging unit, the detection result of the state by the state detection unit in the predetermined period, and the information on the characteristics of the state detection unit. Even when the environment changes with time, the shooting operation and the shooting environment can be associated with high reliability. As a result, it is possible to determine the posture information of the user at the time of shooting. However, since such information is also information that may cause an error, it is more preferable to record that information as reliability information.
  • the information related to the characteristics of the state detection unit includes information related to the response delay of the detection in the state detection unit, and therefore the image reflecting the constraints such as the response characteristics of the state detection unit.
  • the state at the time of imaging can be reliably associated with the image data.
  • the case of being underwater and the case of being on land are detected as different states, and the recording mode of the image data is switched according to the operation of the operation input unit according to the detection result. Therefore, it is possible to perform shooting according to the characteristics of the shooting location.
  • the first embodiment when a tap operation or a hold operation is detected while the water depth is substantially constant, it is recognized that the user has made an active intention to start the operation on the imaging device 1. Since the process of turning on the power is performed, it is possible to perform a quicker operation than pressing a small switch.
  • a continuous shooting is performed a predetermined number of times.
  • a desired image is included in the continuously shot images even in a situation where the image is full. Therefore, it is possible to easily perform photographing during diving and obtain a desired image with high possibility.
  • the battery since the power is frequently turned off when the user ascends in the water or when the release signal is not input, the battery can be extended.
  • An imaging device includes an information acquisition unit that acquires information data of an object, a state detection unit that detects use state data of the information acquisition device, information data, use state data, and A control unit that generates a file that associates information related to the constraint condition of the state detection unit, and switches the shooting mode according to the holding mode when floating near the water surface It is characterized by performing.
  • the configuration of the imaging apparatus according to the second embodiment is the same as the configuration of the imaging apparatus described in the first embodiment.
  • FIG. 16 is a diagram illustrating a holding mode and a switch operation difficulty level in still image shooting and moving image shooting according to the usage state of the imaging apparatus 1.
  • the imaging control unit 151 performs control for continuous shooting by changing shooting conditions such as exposure and gain.
  • the imaging control unit 151 performs control such that when the user holds the imaging device 1 with both hands, the still image shooting is performed, and when the user holds the imaging device 1 with one hand, moving image shooting is performed. I will do it.
  • control unit 15 When the photographer uses the imaging device 1 on land, the control unit 15 performs normal control. That is, when the imaging device 1 is on land, the control unit 15 switches between still image shooting and moving image shooting by a switch operation.
  • FIG. 17 is a flowchart showing an outline of processing performed by the imaging apparatus 1.
  • the acceleration detection unit 8 detects a tap or the hold detection unit 10 detects a hold
  • the water depth change calculation unit 7 refers to the result detected by the water depth detection unit 6, and when the latest detection result value is a value that can be regarded as underwater (step S32: Yes), the water depth detection unit 6
  • the detected two latest depth changes ⁇ d are calculated and temporarily stored in the storage unit 14 (step S33).
  • step S34 When the absolute value
  • step S37: Yes if the image pickup apparatus 1 is held by both hands as a result of detection by the hold detection unit 10 (step S37: Yes), the image pickup apparatus 1 performs still image shooting (step S38) and returns to step S31. . On the other hand, if the imaging device 1 is held with one hand (step S37: No), the imaging device 1 performs moving image shooting (step S39) and returns to step S31.
  • step S36: No If the release switch 5a is not operated in step S36 (step S36: No), the imaging apparatus 1 returns to step S36 if the predetermined time has not elapsed since the power was turned on in step S35 (step S40: No). . On the other hand, when a predetermined time has elapsed since the power was turned on in step S35 (step S40: Yes), the imaging device 1 proceeds to step S51 described later.
  • Step S34: No the case where the absolute value
  • the power control unit 152 performs control to turn on the power (step S42).
  • the imaging control unit 151 changes the imaging condition (step S44) and causes the imaging unit 2 to perform imaging (step S45).
  • the imaging control unit 151 performs control to shorten the exposure time of the imaging unit 2 from the initial setting and increase the gain of the imaging unit 2 from the initial setting. Then, the imaging unit 2 is controlled to continuously take a predetermined number.
  • the imaging unit 2 performs photographing, it is the same as in the first embodiment also about a more preferable point if the auxiliary light projecting unit 13 projects auxiliary light.
  • the image processing unit 3 generates an image file by adding the usage state data and the constraint condition of the state detection unit to the generated image data, and writes the generated image file in the image file storage unit 141 to be stored (Ste S46). Also in the second embodiment, the generated image data may be reproduced for confirmation, and environment information and state information are also displayed together when reproducing the image data, and restrictions on the state detection unit are necessary. Corrections based on conditions may be performed.
  • step S41: No When the change amount ⁇ d of the water depth is equal to or smaller than the second threshold H in step S41 (step S41: No), and when the release switch 5a is not operated in step S43 (step S43: No), the imaging device 1 goes to step S31. Return.
  • Steps S47 to S51 performed subsequent to step S46 sequentially correspond to steps S9 to S13 in FIG.
  • step S31: No when the acceleration detection unit 8 does not detect a tap in step S31 and the hold detection unit 10 does not detect a hold (step S31: No), and the latest detection result by the water depth detection unit 6 is underwater in step S32. A case where it is not a value that can be regarded as (step S32: No) will be described. In these cases, the imaging apparatus 1 proceeds to the motion detection activation process (step S52). The details of the motion detection activation process are the same as those in the first embodiment described above (see FIG. 12).
  • step S53: Yes when the imaging device 1 is in a power-on state (step S53: Yes), the imaging device 1 performs normal control (step S54). On the other hand, when the imaging device 1 is not in the power-on state (step S53: No), the imaging device 1 returns to step S31.
  • step S54 when an operation to turn off the power is performed through the operation input unit 5 (step S55: Yes), the imaging device 1 proceeds to step S51. On the other hand, when the operation to turn off the power is not performed (step S55: No), the imaging apparatus 1 continues the normal control (step S54).
  • the shooting operation and the shooting environment can be associated with high reliability.
  • the second embodiment as in the first embodiment, it is possible to associate with the image data reflecting the response characteristics of the state detection unit, and reliably associate the state at the time of imaging with the image data. be able to.
  • the second embodiment since still image shooting and moving image shooting are switched according to the holding mode of the imaging device by the user at the time of diving, it is possible to perform optimal control according to the diving situation of the user. Become. In particular, when the user jumps into the water or when the user rapidly rises in the water, the water pressure applied excessively becomes effective information for estimating the correct water pressure considering the time change.
  • an information acquisition unit that acquires information data of an object
  • a state detection unit that detects use state data of the information acquisition device, information data, use state data, and state detection
  • a control unit that generates a file in which information related to the constraint condition of the image is associated
  • the information on the constraint condition of the state detection unit includes information on either the arrangement or performance of the state detection unit, erroneous reproduction is not performed in consideration of response characteristics, time constant, and resolution.
  • the above-described error may lead to an erroneous classification result. Therefore, providing correct information can increase the value of acquired content.
  • the information acquisition apparatus can be realized as an apparatus that generates audio files by acquiring audio data with a sound collection unit such as a microphone, such as an IC recorder.
  • a sound collection unit such as a microphone
  • the sound can be collected only when the user lifts the apparatus.
  • a file that records only environment change information as log data may be further generated.
  • the state detection unit may detect at least one of speed, temperature, humidity, and latitude and longitude as position information detected by GPS (Global Positioning System). Also good.
  • GPS Global Positioning System
  • the imaging device includes a temperature sensor or a humidity sensor and has a configuration capable of detecting temperature and / or humidity as the surrounding environment, in addition to the response time of the temperature sensor and / or humidity sensor, other various sensors It is more preferable to store the relationship between the measurement accuracy and temperature and / or humidity in the sensor characteristic storage unit 143 as characteristic information of various sensors. If the humidity sensor or the like is disposed at a position where the user grips or is disposed at a position where water droplets are likely to remain, an error may occur immediately.
  • the imaging device includes a speed sensor and a GPS sensor
  • information (detection error) related to the position detection accuracy of the GPS sensor is associated with the speed information, and a sensor characteristic storage unit 143 can also be stored.
  • azimuth information, posture information, elevation angle, depression angle information, etc. at the time of shooting may be handled in the same row as the above various information.
  • pulse information and body temperature information obtained by detecting the user's hold, facial expressions using the in-camera, biological information, and the like are also applicable.
  • the user may perform some switch operations by shaking the imaging device.
  • processing algorithm described using the flowchart in this specification can be described as a program.
  • a program may be recorded by a storage unit inside the computer, or may be recorded on a computer-readable recording medium.
  • the recording of the program in the storage unit or the recording medium may be performed when the computer or the recording medium is shipped as a product, or may be performed by downloading via a communication network.
  • devices that acquire information other than images and sound devices that reproduce the acquired information, and devices that provide different information by processing (measurement device, observation device, diagnostic device) instead of displaying the acquired information as it is Can also be applied.
  • Appendix 3 An operation input unit that receives an input of an operation signal including a shooting instruction signal instructing shooting by the imaging unit;
  • the state detection unit It is possible to distinguish between when the imaging device is underwater and when it is on land, A water depth detector that detects the water depth of the imaging device when the imaging device is in water; An atmospheric pressure detection unit for detecting an atmospheric pressure applied to the imaging device when the imaging device is on land;
  • the state detection unit The environment around the imaging device can be detected, Information on the characteristics of the state detection unit is The imaging apparatus according to any one of appendices 1 to 4, further including a relationship between a detection accuracy of a state detected by the state detection unit and the surrounding environment.
  • the state detection unit At least one of temperature and humidity can be detected as the environment around the imaging device, Information on the characteristics of the state detection unit is The imaging apparatus according to appendix 5, including a relationship between detection accuracy of a state other than the temperature or humidity detected by the state detection unit and at least one of the temperature and humidity.
  • the state detection unit The position and speed of the imaging device can be detected; Information on the characteristics of the state detection unit is The imaging apparatus according to any one of appendices 1 to 6, including a relationship between a detection accuracy and a speed of a position detected by the state detection unit.
  • a state detecting step in which a state detecting unit for detecting the state of the imaging device periodically detects the state of the imaging device;
  • An imaging step of generating the image data when receiving an input of a shooting instruction signal for instructing shooting during the state detection step;
  • a file generation step of generating an image file by associating the image data generated in the imaging step, a detection result in a recording period of the state recorded in the state detection step, and information on characteristics of the state detection unit;
  • the imaging program characterized by performing.

Landscapes

  • Engineering & Computer Science (AREA)
  • Physics & Mathematics (AREA)
  • General Physics & Mathematics (AREA)
  • Multimedia (AREA)
  • Signal Processing (AREA)
  • Theoretical Computer Science (AREA)
  • Chemical & Material Sciences (AREA)
  • Analytical Chemistry (AREA)
  • Data Mining & Analysis (AREA)
  • Databases & Information Systems (AREA)
  • General Engineering & Computer Science (AREA)
  • Software Systems (AREA)
  • Studio Devices (AREA)
  • Television Signal Processing For Recording (AREA)
  • Signal Processing For Digital Recording And Reproducing (AREA)
PCT/JP2015/085694 2015-09-24 2015-12-21 情報取得装置、情報再生装置、情報取得方法、情報再生方法、情報取得プログラムおよび情報再生プログラム Ceased WO2017051487A1 (ja)

Priority Applications (3)

Application Number Priority Date Filing Date Title
CN201580002763.2A CN106804118B (zh) 2015-09-24 2015-12-21 信息取得装置和方法、信息再现装置和方法、摄像装置和方法
EP15904744.8A EP3355575A4 (en) 2015-09-24 2015-12-21 INFORMATION RECORDING, INFORMATION REPRODUCTION, INFORMATION ACCOUNTING, INFORMATION REPRODUCTION, INFORMATION ACCOUNTING PROGRAM AND INFORMATION PLAY PROGRAM
US15/176,574 US10382690B2 (en) 2015-09-24 2016-06-08 Information acquiring device, information playback device, information acquiring method, information playback method, and computer-readable recording medium

Applications Claiming Priority (2)

Application Number Priority Date Filing Date Title
JP2015-187023 2015-09-24
JP2015187023A JP6643847B2 (ja) 2015-09-24 2015-09-24 情報取得装置、情報再生装置、情報取得方法、情報再生方法、情報取得プログラムおよび情報再生プログラム

Related Child Applications (1)

Application Number Title Priority Date Filing Date
US15/176,574 Continuation US10382690B2 (en) 2015-09-24 2016-06-08 Information acquiring device, information playback device, information acquiring method, information playback method, and computer-readable recording medium

Publications (1)

Publication Number Publication Date
WO2017051487A1 true WO2017051487A1 (ja) 2017-03-30

Family

ID=58386393

Family Applications (1)

Application Number Title Priority Date Filing Date
PCT/JP2015/085694 Ceased WO2017051487A1 (ja) 2015-09-24 2015-12-21 情報取得装置、情報再生装置、情報取得方法、情報再生方法、情報取得プログラムおよび情報再生プログラム

Country Status (5)

Country Link
US (1) US10382690B2 (enExample)
EP (1) EP3355575A4 (enExample)
JP (1) JP6643847B2 (enExample)
CN (1) CN106804118B (enExample)
WO (1) WO2017051487A1 (enExample)

Families Citing this family (4)

* Cited by examiner, † Cited by third party
Publication number Priority date Publication date Assignee Title
CN108012076A (zh) * 2017-11-07 2018-05-08 北京臻迪科技股份有限公司 一种水下图像采集方法和设备
CN110753184A (zh) * 2019-10-17 2020-02-04 广东小天才科技有限公司 一种基于位置状态的拍摄方法、装置、设备及存储介质
KR20210105783A (ko) * 2020-02-19 2021-08-27 삼성전자주식회사 전자 장치 및 그의 상황을 인지하는 방법
CN112329615B (zh) * 2020-11-04 2022-04-15 中国海洋大学 一种用于水下视觉目标自主抓取的环境态势评估方法

Citations (6)

* Cited by examiner, † Cited by third party
Publication number Priority date Publication date Assignee Title
JP2004312281A (ja) * 2003-04-04 2004-11-04 Sony Corp 映像編集装置,映像編集装置の処理方法
JP2004326192A (ja) * 2003-04-21 2004-11-18 Sony Corp 画像管理システム及び画像管理方法、並びにコンピュータ・プログラム
JP2012044454A (ja) * 2010-08-19 2012-03-01 Canon Inc 撮像装置及びその制御方法、並びにプログラム
JP2012138813A (ja) * 2010-12-27 2012-07-19 Nikon Corp 撮影機器
JP2014171057A (ja) * 2013-03-01 2014-09-18 Nec Casio Mobile Communications Ltd 携帯装置、その制御方法及びプログラム
JP2014236319A (ja) * 2013-05-31 2014-12-15 キヤノン株式会社 撮像装置、撮像装置の制御方法、プログラム

Family Cites Families (7)

* Cited by examiner, † Cited by third party
Publication number Priority date Publication date Assignee Title
JPH0667277A (ja) 1992-08-24 1994-03-11 Olympus Optical Co Ltd 水中撮影情報記録可能なカメラ
JP3386012B2 (ja) * 1999-07-23 2003-03-10 日本電気株式会社 像流れ補正装置および像流れ補正方法
JP2008180898A (ja) 2007-01-24 2008-08-07 Olympus Imaging Corp カメラ
US8531515B2 (en) * 2009-09-29 2013-09-10 Olympus Imaging Corp. Imaging apparatus
US20110228075A1 (en) * 2010-03-22 2011-09-22 Madden Thomas E Digital camera with underwater capture mode
JP5435804B2 (ja) * 2010-07-28 2014-03-05 富士機械製造株式会社 Fa機器用カメラ
JP5861564B2 (ja) * 2012-06-01 2016-02-16 ソニー株式会社 情報処理装置、情報処理方法およびプログラム

Patent Citations (6)

* Cited by examiner, † Cited by third party
Publication number Priority date Publication date Assignee Title
JP2004312281A (ja) * 2003-04-04 2004-11-04 Sony Corp 映像編集装置,映像編集装置の処理方法
JP2004326192A (ja) * 2003-04-21 2004-11-18 Sony Corp 画像管理システム及び画像管理方法、並びにコンピュータ・プログラム
JP2012044454A (ja) * 2010-08-19 2012-03-01 Canon Inc 撮像装置及びその制御方法、並びにプログラム
JP2012138813A (ja) * 2010-12-27 2012-07-19 Nikon Corp 撮影機器
JP2014171057A (ja) * 2013-03-01 2014-09-18 Nec Casio Mobile Communications Ltd 携帯装置、その制御方法及びプログラム
JP2014236319A (ja) * 2013-05-31 2014-12-15 キヤノン株式会社 撮像装置、撮像装置の制御方法、プログラム

Non-Patent Citations (1)

* Cited by examiner, † Cited by third party
Title
See also references of EP3355575A4 *

Also Published As

Publication number Publication date
JP2017063283A (ja) 2017-03-30
US20170094177A1 (en) 2017-03-30
US10382690B2 (en) 2019-08-13
EP3355575A1 (en) 2018-08-01
CN106804118B (zh) 2020-11-06
EP3355575A4 (en) 2019-03-20
CN106804118A (zh) 2017-06-06
JP6643847B2 (ja) 2020-02-12

Similar Documents

Publication Publication Date Title
JP5550989B2 (ja) 撮影装置、その制御方法、及びプログラム
US8531515B2 (en) Imaging apparatus
CN102483559B (zh) 摄影装置
US9106835B2 (en) Imaging device, azimuth information processing method and program
KR101256543B1 (ko) 촬상 장치, 촬상 방법, 및 기억 매체
JP5630041B2 (ja) 電子装置
KR20120099071A (ko) 촬상 장치, 방위 기록 방법 및 프로그램
KR20110015309A (ko) 디지털 촬영장치, 그 제어방법 및 이를 실행시키기 위한 프로그램을 저장한 기록매체
JP6643847B2 (ja) 情報取得装置、情報再生装置、情報取得方法、情報再生方法、情報取得プログラムおよび情報再生プログラム
CN102158649A (zh) 摄影设备和该摄影设备的摄影方法
US20250358507A1 (en) Image processing apparatus, image processing method, and image capture apparatus
JP2017173252A (ja) 画像処理装置、画像処理方法および画像処理プログラム
JP2009260630A (ja) 画像処理装置および画像処理プログラム
US20240027590A1 (en) Range finding device and control method therefor
JP5869046B2 (ja) 撮影装置、その制御方法、及びプログラム
JP5530143B2 (ja) 撮像装置
JP4939451B2 (ja) 撮像装置および撮像装置の角度情報の補正方法
JP5609673B2 (ja) データ処理装置
JP6045348B2 (ja) 撮像装置及び撮像装置の制御方法
JP2019106686A (ja) 電子機器、およびその制御方法
JP2011077706A (ja) 撮像装置
JP2016105613A (ja) 撮影装置、その制御方法、及びプログラム
JP2016136690A (ja) 電子機器
JP2011244270A (ja) 撮像装置

Legal Events

Date Code Title Description
121 Ep: the epo has been informed by wipo that ep was designated in this application

Ref document number: 15904744

Country of ref document: EP

Kind code of ref document: A1

NENP Non-entry into the national phase

Ref country code: DE

WWE Wipo information: entry into national phase

Ref document number: 2015904744

Country of ref document: EP