WO2017038427A1 - 車両用表示装置 - Google Patents

車両用表示装置 Download PDF

Info

Publication number
WO2017038427A1
WO2017038427A1 PCT/JP2016/073689 JP2016073689W WO2017038427A1 WO 2017038427 A1 WO2017038427 A1 WO 2017038427A1 JP 2016073689 W JP2016073689 W JP 2016073689W WO 2017038427 A1 WO2017038427 A1 WO 2017038427A1
Authority
WO
WIPO (PCT)
Prior art keywords
light
vehicle
display device
light guide
guide member
Prior art date
Legal status (The legal status is an assumption and is not a legal conclusion. Google has not performed a legal analysis and makes no representation as to the accuracy of the status listed.)
Ceased
Application number
PCT/JP2016/073689
Other languages
English (en)
French (fr)
Japanese (ja)
Inventor
吉正 大角
勇司 広瀬
景一朗 田中
山末 利紀
Current Assignee (The listed assignees may be inaccurate. Google has not performed a legal analysis and makes no representation or warranty as to the accuracy of the list.)
Omron Corp
Original Assignee
Omron Corp
Omron Tateisi Electronics Co
Priority date (The priority date is an assumption and is not a legal conclusion. Google has not performed a legal analysis and makes no representation as to the accuracy of the date listed.)
Filing date
Publication date
Application filed by Omron Corp, Omron Tateisi Electronics Co filed Critical Omron Corp
Priority to CN201680041508.3A priority Critical patent/CN107848456A/zh
Priority to DE112016004018.0T priority patent/DE112016004018B4/de
Publication of WO2017038427A1 publication Critical patent/WO2017038427A1/ja
Priority to US15/876,031 priority patent/US10801691B2/en
Anticipated expiration legal-status Critical
Ceased legal-status Critical Current

Links

Images

Classifications

    • FMECHANICAL ENGINEERING; LIGHTING; HEATING; WEAPONS; BLASTING
    • F21LIGHTING
    • F21SNON-PORTABLE LIGHTING DEVICES; SYSTEMS THEREOF; VEHICLE LIGHTING DEVICES SPECIALLY ADAPTED FOR VEHICLE EXTERIORS
    • F21S43/00Signalling devices specially adapted for vehicle exteriors, e.g. brake lamps, direction indicator lights or reversing lights
    • F21S43/20Signalling devices specially adapted for vehicle exteriors, e.g. brake lamps, direction indicator lights or reversing lights characterised by refractors, transparent cover plates, light guides or filters
    • F21S43/235Light guides
    • F21S43/236Light guides characterised by the shape of the light guide
    • F21S43/239Light guides characterised by the shape of the light guide plate-shaped
    • BPERFORMING OPERATIONS; TRANSPORTING
    • B60VEHICLES IN GENERAL
    • B60QARRANGEMENT OF SIGNALLING OR LIGHTING DEVICES, THE MOUNTING OR SUPPORTING THEREOF OR CIRCUITS THEREFOR, FOR VEHICLES IN GENERAL
    • B60Q1/00Arrangement of optical signalling or lighting devices, the mounting or supporting thereof or circuits therefor
    • B60Q1/26Arrangement of optical signalling or lighting devices, the mounting or supporting thereof or circuits therefor the devices being primarily intended to indicate the vehicle, or parts thereof, or to give signals, to other traffic
    • B60Q1/2607Arrangement of optical signalling or lighting devices, the mounting or supporting thereof or circuits therefor the devices being primarily intended to indicate the vehicle, or parts thereof, or to give signals, to other traffic comprising at least two indicating lamps
    • BPERFORMING OPERATIONS; TRANSPORTING
    • B60VEHICLES IN GENERAL
    • B60QARRANGEMENT OF SIGNALLING OR LIGHTING DEVICES, THE MOUNTING OR SUPPORTING THEREOF OR CIRCUITS THEREFOR, FOR VEHICLES IN GENERAL
    • B60Q1/00Arrangement of optical signalling or lighting devices, the mounting or supporting thereof or circuits therefor
    • B60Q1/26Arrangement of optical signalling or lighting devices, the mounting or supporting thereof or circuits therefor the devices being primarily intended to indicate the vehicle, or parts thereof, or to give signals, to other traffic
    • B60Q1/2661Arrangement of optical signalling or lighting devices, the mounting or supporting thereof or circuits therefor the devices being primarily intended to indicate the vehicle, or parts thereof, or to give signals, to other traffic mounted on parts having other functions
    • B60Q1/2665Arrangement of optical signalling or lighting devices, the mounting or supporting thereof or circuits therefor the devices being primarily intended to indicate the vehicle, or parts thereof, or to give signals, to other traffic mounted on parts having other functions on rear-view mirrors
    • BPERFORMING OPERATIONS; TRANSPORTING
    • B60VEHICLES IN GENERAL
    • B60QARRANGEMENT OF SIGNALLING OR LIGHTING DEVICES, THE MOUNTING OR SUPPORTING THEREOF OR CIRCUITS THEREFOR, FOR VEHICLES IN GENERAL
    • B60Q1/00Arrangement of optical signalling or lighting devices, the mounting or supporting thereof or circuits therefor
    • B60Q1/26Arrangement of optical signalling or lighting devices, the mounting or supporting thereof or circuits therefor the devices being primarily intended to indicate the vehicle, or parts thereof, or to give signals, to other traffic
    • B60Q1/2661Arrangement of optical signalling or lighting devices, the mounting or supporting thereof or circuits therefor the devices being primarily intended to indicate the vehicle, or parts thereof, or to give signals, to other traffic mounted on parts having other functions
    • B60Q1/268Arrangement of optical signalling or lighting devices, the mounting or supporting thereof or circuits therefor the devices being primarily intended to indicate the vehicle, or parts thereof, or to give signals, to other traffic mounted on parts having other functions on windscreens or windows
    • BPERFORMING OPERATIONS; TRANSPORTING
    • B60VEHICLES IN GENERAL
    • B60QARRANGEMENT OF SIGNALLING OR LIGHTING DEVICES, THE MOUNTING OR SUPPORTING THEREOF OR CIRCUITS THEREFOR, FOR VEHICLES IN GENERAL
    • B60Q1/00Arrangement of optical signalling or lighting devices, the mounting or supporting thereof or circuits therefor
    • B60Q1/26Arrangement of optical signalling or lighting devices, the mounting or supporting thereof or circuits therefor the devices being primarily intended to indicate the vehicle, or parts thereof, or to give signals, to other traffic
    • B60Q1/34Arrangement of optical signalling or lighting devices, the mounting or supporting thereof or circuits therefor the devices being primarily intended to indicate the vehicle, or parts thereof, or to give signals, to other traffic for indicating change of drive direction
    • BPERFORMING OPERATIONS; TRANSPORTING
    • B60VEHICLES IN GENERAL
    • B60QARRANGEMENT OF SIGNALLING OR LIGHTING DEVICES, THE MOUNTING OR SUPPORTING THEREOF OR CIRCUITS THEREFOR, FOR VEHICLES IN GENERAL
    • B60Q1/00Arrangement of optical signalling or lighting devices, the mounting or supporting thereof or circuits therefor
    • B60Q1/26Arrangement of optical signalling or lighting devices, the mounting or supporting thereof or circuits therefor the devices being primarily intended to indicate the vehicle, or parts thereof, or to give signals, to other traffic
    • B60Q1/34Arrangement of optical signalling or lighting devices, the mounting or supporting thereof or circuits therefor the devices being primarily intended to indicate the vehicle, or parts thereof, or to give signals, to other traffic for indicating change of drive direction
    • B60Q1/38Arrangement of optical signalling or lighting devices, the mounting or supporting thereof or circuits therefor the devices being primarily intended to indicate the vehicle, or parts thereof, or to give signals, to other traffic for indicating change of drive direction using immovably-mounted light sources, e.g. fixed flashing lamps
    • B60Q1/381Arrangement of optical signalling or lighting devices, the mounting or supporting thereof or circuits therefor the devices being primarily intended to indicate the vehicle, or parts thereof, or to give signals, to other traffic for indicating change of drive direction using immovably-mounted light sources, e.g. fixed flashing lamps with several light sources activated in sequence, e.g. to create a sweep effect
    • BPERFORMING OPERATIONS; TRANSPORTING
    • B60VEHICLES IN GENERAL
    • B60QARRANGEMENT OF SIGNALLING OR LIGHTING DEVICES, THE MOUNTING OR SUPPORTING THEREOF OR CIRCUITS THEREFOR, FOR VEHICLES IN GENERAL
    • B60Q1/00Arrangement of optical signalling or lighting devices, the mounting or supporting thereof or circuits therefor
    • B60Q1/26Arrangement of optical signalling or lighting devices, the mounting or supporting thereof or circuits therefor the devices being primarily intended to indicate the vehicle, or parts thereof, or to give signals, to other traffic
    • B60Q1/44Arrangement of optical signalling or lighting devices, the mounting or supporting thereof or circuits therefor the devices being primarily intended to indicate the vehicle, or parts thereof, or to give signals, to other traffic for indicating braking action or preparation for braking, e.g. by detection of the foot approaching the brake pedal
    • BPERFORMING OPERATIONS; TRANSPORTING
    • B60VEHICLES IN GENERAL
    • B60QARRANGEMENT OF SIGNALLING OR LIGHTING DEVICES, THE MOUNTING OR SUPPORTING THEREOF OR CIRCUITS THEREFOR, FOR VEHICLES IN GENERAL
    • B60Q1/00Arrangement of optical signalling or lighting devices, the mounting or supporting thereof or circuits therefor
    • B60Q1/26Arrangement of optical signalling or lighting devices, the mounting or supporting thereof or circuits therefor the devices being primarily intended to indicate the vehicle, or parts thereof, or to give signals, to other traffic
    • B60Q1/50Arrangement of optical signalling or lighting devices, the mounting or supporting thereof or circuits therefor the devices being primarily intended to indicate the vehicle, or parts thereof, or to give signals, to other traffic for indicating other intentions or conditions, e.g. request for waiting or overtaking
    • BPERFORMING OPERATIONS; TRANSPORTING
    • B60VEHICLES IN GENERAL
    • B60QARRANGEMENT OF SIGNALLING OR LIGHTING DEVICES, THE MOUNTING OR SUPPORTING THEREOF OR CIRCUITS THEREFOR, FOR VEHICLES IN GENERAL
    • B60Q1/00Arrangement of optical signalling or lighting devices, the mounting or supporting thereof or circuits therefor
    • B60Q1/26Arrangement of optical signalling or lighting devices, the mounting or supporting thereof or circuits therefor the devices being primarily intended to indicate the vehicle, or parts thereof, or to give signals, to other traffic
    • B60Q1/50Arrangement of optical signalling or lighting devices, the mounting or supporting thereof or circuits therefor the devices being primarily intended to indicate the vehicle, or parts thereof, or to give signals, to other traffic for indicating other intentions or conditions, e.g. request for waiting or overtaking
    • B60Q1/503Arrangement of optical signalling or lighting devices, the mounting or supporting thereof or circuits therefor the devices being primarily intended to indicate the vehicle, or parts thereof, or to give signals, to other traffic for indicating other intentions or conditions, e.g. request for waiting or overtaking using luminous text or symbol displays in or on the vehicle, e.g. static text
    • B60Q1/5035Arrangement of optical signalling or lighting devices, the mounting or supporting thereof or circuits therefor the devices being primarily intended to indicate the vehicle, or parts thereof, or to give signals, to other traffic for indicating other intentions or conditions, e.g. request for waiting or overtaking using luminous text or symbol displays in or on the vehicle, e.g. static text electronic displays
    • B60Q1/5037Arrangement of optical signalling or lighting devices, the mounting or supporting thereof or circuits therefor the devices being primarily intended to indicate the vehicle, or parts thereof, or to give signals, to other traffic for indicating other intentions or conditions, e.g. request for waiting or overtaking using luminous text or symbol displays in or on the vehicle, e.g. static text electronic displays the display content changing automatically, e.g. depending on traffic situation
    • BPERFORMING OPERATIONS; TRANSPORTING
    • B60VEHICLES IN GENERAL
    • B60QARRANGEMENT OF SIGNALLING OR LIGHTING DEVICES, THE MOUNTING OR SUPPORTING THEREOF OR CIRCUITS THEREFOR, FOR VEHICLES IN GENERAL
    • B60Q1/00Arrangement of optical signalling or lighting devices, the mounting or supporting thereof or circuits therefor
    • B60Q1/26Arrangement of optical signalling or lighting devices, the mounting or supporting thereof or circuits therefor the devices being primarily intended to indicate the vehicle, or parts thereof, or to give signals, to other traffic
    • B60Q1/50Arrangement of optical signalling or lighting devices, the mounting or supporting thereof or circuits therefor the devices being primarily intended to indicate the vehicle, or parts thereof, or to give signals, to other traffic for indicating other intentions or conditions, e.g. request for waiting or overtaking
    • B60Q1/545Arrangement of optical signalling or lighting devices, the mounting or supporting thereof or circuits therefor the devices being primarily intended to indicate the vehicle, or parts thereof, or to give signals, to other traffic for indicating other intentions or conditions, e.g. request for waiting or overtaking for indicating other traffic conditions, e.g. fog, heavy traffic
    • BPERFORMING OPERATIONS; TRANSPORTING
    • B60VEHICLES IN GENERAL
    • B60RVEHICLES, VEHICLE FITTINGS, OR VEHICLE PARTS, NOT OTHERWISE PROVIDED FOR
    • B60R1/00Optical viewing arrangements; Real-time viewing arrangements for drivers or passengers using optical image capturing systems, e.g. cameras or video systems specially adapted for use in or on vehicles
    • B60R1/02Rear-view mirror arrangements
    • B60R1/06Rear-view mirror arrangements mounted on vehicle exterior
    • BPERFORMING OPERATIONS; TRANSPORTING
    • B60VEHICLES IN GENERAL
    • B60RVEHICLES, VEHICLE FITTINGS, OR VEHICLE PARTS, NOT OTHERWISE PROVIDED FOR
    • B60R1/00Optical viewing arrangements; Real-time viewing arrangements for drivers or passengers using optical image capturing systems, e.g. cameras or video systems specially adapted for use in or on vehicles
    • B60R1/12Mirror assemblies combined with other articles, e.g. clocks
    • B60R1/1207Mirror assemblies combined with other articles, e.g. clocks with lamps; with turn indicators
    • FMECHANICAL ENGINEERING; LIGHTING; HEATING; WEAPONS; BLASTING
    • F21LIGHTING
    • F21SNON-PORTABLE LIGHTING DEVICES; SYSTEMS THEREOF; VEHICLE LIGHTING DEVICES SPECIALLY ADAPTED FOR VEHICLE EXTERIORS
    • F21S43/00Signalling devices specially adapted for vehicle exteriors, e.g. brake lamps, direction indicator lights or reversing lights
    • F21S43/10Signalling devices specially adapted for vehicle exteriors, e.g. brake lamps, direction indicator lights or reversing lights characterised by the light source
    • F21S43/13Signalling devices specially adapted for vehicle exteriors, e.g. brake lamps, direction indicator lights or reversing lights characterised by the light source characterised by the type of light source
    • F21S43/14Light emitting diodes [LED]
    • FMECHANICAL ENGINEERING; LIGHTING; HEATING; WEAPONS; BLASTING
    • F21LIGHTING
    • F21SNON-PORTABLE LIGHTING DEVICES; SYSTEMS THEREOF; VEHICLE LIGHTING DEVICES SPECIALLY ADAPTED FOR VEHICLE EXTERIORS
    • F21S43/00Signalling devices specially adapted for vehicle exteriors, e.g. brake lamps, direction indicator lights or reversing lights
    • F21S43/20Signalling devices specially adapted for vehicle exteriors, e.g. brake lamps, direction indicator lights or reversing lights characterised by refractors, transparent cover plates, light guides or filters
    • F21S43/235Light guides
    • F21S43/242Light guides characterised by the emission area
    • F21S43/245Light guides characterised by the emission area emitting light from one or more of its major surfaces
    • FMECHANICAL ENGINEERING; LIGHTING; HEATING; WEAPONS; BLASTING
    • F21LIGHTING
    • F21SNON-PORTABLE LIGHTING DEVICES; SYSTEMS THEREOF; VEHICLE LIGHTING DEVICES SPECIALLY ADAPTED FOR VEHICLE EXTERIORS
    • F21S43/00Signalling devices specially adapted for vehicle exteriors, e.g. brake lamps, direction indicator lights or reversing lights
    • F21S43/20Signalling devices specially adapted for vehicle exteriors, e.g. brake lamps, direction indicator lights or reversing lights characterised by refractors, transparent cover plates, light guides or filters
    • F21S43/235Light guides
    • F21S43/247Light guides with a single light source being coupled into the light guide
    • FMECHANICAL ENGINEERING; LIGHTING; HEATING; WEAPONS; BLASTING
    • F21LIGHTING
    • F21SNON-PORTABLE LIGHTING DEVICES; SYSTEMS THEREOF; VEHICLE LIGHTING DEVICES SPECIALLY ADAPTED FOR VEHICLE EXTERIORS
    • F21S43/00Signalling devices specially adapted for vehicle exteriors, e.g. brake lamps, direction indicator lights or reversing lights
    • F21S43/30Signalling devices specially adapted for vehicle exteriors, e.g. brake lamps, direction indicator lights or reversing lights characterised by reflectors
    • F21S43/31Optical layout thereof
    • FMECHANICAL ENGINEERING; LIGHTING; HEATING; WEAPONS; BLASTING
    • F21LIGHTING
    • F21SNON-PORTABLE LIGHTING DEVICES; SYSTEMS THEREOF; VEHICLE LIGHTING DEVICES SPECIALLY ADAPTED FOR VEHICLE EXTERIORS
    • F21S43/00Signalling devices specially adapted for vehicle exteriors, e.g. brake lamps, direction indicator lights or reversing lights
    • F21S43/40Signalling devices specially adapted for vehicle exteriors, e.g. brake lamps, direction indicator lights or reversing lights characterised by the combination of reflectors and refractors
    • BPERFORMING OPERATIONS; TRANSPORTING
    • B60VEHICLES IN GENERAL
    • B60RVEHICLES, VEHICLE FITTINGS, OR VEHICLE PARTS, NOT OTHERWISE PROVIDED FOR
    • B60R1/00Optical viewing arrangements; Real-time viewing arrangements for drivers or passengers using optical image capturing systems, e.g. cameras or video systems specially adapted for use in or on vehicles
    • B60R1/12Mirror assemblies combined with other articles, e.g. clocks
    • B60R2001/1215Mirror assemblies combined with other articles, e.g. clocks with information displays
    • GPHYSICS
    • G02OPTICS
    • G02BOPTICAL ELEMENTS, SYSTEMS OR APPARATUS
    • G02B6/00Light guides; Structural details of arrangements comprising light guides and other optical elements, e.g. couplings
    • G02B6/0001Light guides; Structural details of arrangements comprising light guides and other optical elements, e.g. couplings specially adapted for lighting devices or systems
    • G02B6/0011Light guides; Structural details of arrangements comprising light guides and other optical elements, e.g. couplings specially adapted for lighting devices or systems the light guides being planar or of plate-like form
    • G02B6/0033Means for improving the coupling-out of light from the light guide
    • G02B6/0035Means for improving the coupling-out of light from the light guide provided on the surface of the light guide or in the bulk of it
    • G02B6/00362-D arrangement of prisms, protrusions, indentations or roughened surfaces
    • GPHYSICS
    • G02OPTICS
    • G02BOPTICAL ELEMENTS, SYSTEMS OR APPARATUS
    • G02B6/00Light guides; Structural details of arrangements comprising light guides and other optical elements, e.g. couplings
    • G02B6/0001Light guides; Structural details of arrangements comprising light guides and other optical elements, e.g. couplings specially adapted for lighting devices or systems
    • G02B6/0011Light guides; Structural details of arrangements comprising light guides and other optical elements, e.g. couplings specially adapted for lighting devices or systems the light guides being planar or of plate-like form
    • G02B6/0033Means for improving the coupling-out of light from the light guide
    • G02B6/005Means for improving the coupling-out of light from the light guide provided by one optical element, or plurality thereof, placed on the light output side of the light guide
    • G02B6/0055Reflecting element, sheet or layer

Definitions

  • the present invention relates to a vehicle display device that can be attached to a vehicle.
  • Patent Document 1 discloses a door mirror that includes a light source and a long light guide and is attached with a turn signal lamp that emits light in a long shape.
  • This invention is made
  • An object of the present invention is to provide a display device for a vehicle that can be used.
  • a display device for a vehicle described in the present application is a display device for a vehicle that can be attached to a vehicle, and includes a mirror member that reflects light from the outside that has entered from the surface to the surface side, and a light emitting device.
  • the light-emitting device includes a light source that emits light, and a light guide member that guides light incident from the light source.
  • the light guide member includes an exit surface that emits the incident light, and light incident
  • An optical path changing unit that changes the optical path of the emitted light to the exit surface side, and the mirror member and the light guide member are stacked on the surface side of the mirror member so that the optical path changing unit changes the optical path. It is arranged.
  • the light guide member has a planar shape, and is disposed on the surface side of the mirror member so as to overlap the mirror member.
  • the mirror member has a thin plate shape, and one surface is formed on the surface of the light transmitting portion and the other surface of the light transmitting portion, and enters from the surface. And a reflection layer that reflects light from the outside that has passed through the translucent part to the surface side, and the light guide member is disposed on the other surface side of the mirror member.
  • the display device for a vehicle described in the present application is a display device for a vehicle that can be attached to a vehicle, and includes a light emitting device.
  • the light emitting device has a light source that emits light, has a planar shape, and receives light from the light source.
  • a light guide member that guides the emitted light, and the light guide member emits light incident from the light source, and an optical path changing unit that changes the path of the light incident from the light source to the exit surface side.
  • a reflective layer that is formed on the surface opposite to the light exit surface of the light guide member and reflects light from the outside that has entered the light exit surface and transmitted through the light guide member to the light exit surface side. It is characterized by having.
  • the display device for a vehicle described in the present application is a display device for a vehicle that can be attached to a vehicle, and includes a light emitting device.
  • the light emitting device has a light source that emits light, has a planar shape, and receives light from the light source.
  • a light guide member that guides the received light, the light guide member having an emission surface that emits light incident from the light source, and an optical path changing unit that changes a path of the incident light.
  • a light-transmitting layer that is formed on a surface opposite to the light-exiting surface of the optical member and that enters from the light-emitting surface side and transmits light from the outside that has passed through the light guide member; And a reflective layer that reflects the light from the light-emitting surface side.
  • the vehicle display device described in the present application is characterized in that the optical path changing unit changes the optical path in a direction outside the attached vehicle.
  • the vehicle display device described in the present application includes an attachment portion that is attached to the vehicle, and the light guide member is disposed so as to receive light emitted from the light source from the attachment portion side. To do.
  • vehicle display device described in the present application can be attached to the vehicle as a door mirror.
  • the vehicle display device described in the present application is a vehicle display device that can be attached to a vehicle, and includes a window glass material and a light emitting device, and the light emitting device includes a light source that emits light, and the light source.
  • a light guide member that guides the incident light, and the light guide member includes an emission surface that emits the incident light and an optical path changing unit that changes an optical path of the incident light to the emission surface side.
  • the window glass material and the light guide member are arranged to overlap each other.
  • the vehicle display device described in the present application is a vehicle display device that can be attached to a vehicle, and includes a light emitting device, and the light emitting device is used as a light source that emits light and a glass material for a window.
  • a light guide member that guides light incident from the light source, and the light guide member changes an exit surface that emits light incident from the light source and a path of light incident from the light source to the exit surface side.
  • an optical path changing unit is a vehicle display device that can be attached to a vehicle, and includes a light emitting device, and the light emitting device is used as a light source that emits light and a glass material for a window.
  • a light guide member that guides light incident from the light source, and the light guide member changes an exit surface that emits light incident from the light source and a path of light incident from the light source to the exit surface side.
  • an optical path changing unit is a light guide member that guides light incident from the light source, and the light guide member changes an exit surface that emits light incident
  • the vehicle display device described in the present application can be provided with a light-emitting device having a light source and a light guide member on a door mirror, a window glass, or the like attached to the vehicle, for example, to emit light.
  • the vehicle display device can be applied to, for example, a door mirror and a window glass attached to a vehicle, and includes a light emitting device having a light source and a light guide member, and the light emitting device has a mirror surface, a glass surface, and the like.
  • the light path is changed so that light is emitted, and the light is emitted. As a result, it is possible to improve the visibility from other vehicles.
  • FIG. 1 is a schematic plan view schematically showing an example of the appearance of a vehicle equipped with a door mirror using the vehicle display device according to the first embodiment of the present invention.
  • 1 is a vehicle, and a door mirror 2 to which the vehicle display device according to the present invention is applied is attached to the vehicle 1.
  • the door mirror 2 incorporates a light emitting device 3 (see FIG. 3 and the like) described later, and the light emitting device 3 emits light with high directivity.
  • FIG. 1 shows, in a plan view of the vehicle 1, a hatched area in which light emission of the light emitting device 3 incorporated in the left door mirror 2 can be visually recognized.
  • the light emitting device 3 emits light having directivity toward the direction outside the vehicle 1 to which the light emitting device 3 is attached. Thereby, the light emitted from the light emitting device 3 is visible from a range outside the vehicle 1 illustrated in FIG. 1, for example, from the rear vehicle, but from the driver located inside the vehicle 1, particularly in the driver's seat. It cannot be visually recognized and functions as a normal mirror for a passenger such as a driver of the vehicle 1. Although not shown, the same applies to the right door mirror 2.
  • FIG. 2 is a schematic perspective view showing an example of the appearance of the door mirror 2 using the vehicle display device according to the first embodiment of the present invention.
  • 2A shows the door mirror 2 in a normal state
  • FIG. 2B shows a state in which the built-in light emitting device 3 emits light.
  • the light emitting device 3 emits light
  • the entire mirror surface of the door mirror 2 emits light.
  • the light emission area is large, and light emission can be easily visually recognized from the outside of the vehicle 1 such as the vehicle behind.
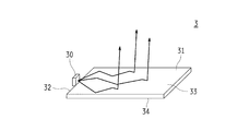
  • FIG. 3 is an explanatory diagram schematically illustrating the light emitting device 3 included in the vehicular display device according to the first embodiment of the present invention
  • FIG. 4 is for the vehicle according to the first embodiment of the present invention.
  • It is a conceptual diagram which illustrates typically the outline of the cross section of the light-emitting device 3 with which a display apparatus is provided, and an optical path.
  • the figure used for description is shown schematically and schematically for the purpose of easy-to-understand explanation.
  • the drawings used for the description may not be drawn at an actual scale ratio including the aspect ratio of each member, the size ratio between members, and the like.
  • the light emitting device 3 includes a light source 30 that emits light, and a light guide plate (light guide member) 31 that guides light incident from the light source 30.
  • the light source 30 is configured using a light emitting element such as an LED, and emits light to the light guide plate 31 by light emission.
  • the light guide plate 31 is made of a transparent, high refractive index resin material such as polycarbonate resin (PC) or polymethyl methacrylate resin (PMMA), or an inorganic material such as glass. It is formed in a rectangular surface shape such as a plate shape.
  • the term “planar shape” as used herein refers to a shape having a smaller length (thickness) in the thickness direction perpendicular to the direction of the plane extending in two dimensions. That is, although the light guide plate 31 is formed in a rectangular parallelepiped shape, the length in the thickness direction is small compared to the longitudinal direction and the short direction, which are two-dimensional planar shapes.
  • the light guide plate 31 guides light that has entered the light guide plate 31 from the light incident end surface 32 in a planar shape.
  • the planar light guide plate 31 includes an emission surface 33 that emits light incident from the light source 30 and a back surface 34 opposite to the emission surface 33.
  • the optical path changing unit 35 is a part that changes the path of light incident from the light incident end face 32, that is, the optical path to the emission surface 33 side at a predetermined angle.
  • an optical surface such as a reflection surface 35a that reflects light incident from the light incident end surface 32 is formed in the light guide plate 31, and for example, a cut obliquely intersecting the back surface 34 is shown.
  • the slope due to the notch functions as the reflecting surface 35a.
  • the light that has entered the light guide plate 31 is guided to the position of each optical path changing unit 35, and the optical path of the light that has entered each position is changed by a predetermined angle by each optical path changing unit 35, and the emission surface The light is emitted from 33 in a predetermined direction.
  • the light source 30 is attached to the light incident end surface 32 of the light guide plate 31, and the light incident end surface 32 and the emission surface 33 are substantially orthogonal to each other.
  • the surface facing the emission surface 33 is a back surface 34, and the back surface 34 is also substantially orthogonal to the light incident end surface 32.
  • the back surface 34 includes a flat surface that is substantially parallel to the emission surface 33 and an inclined surface that forms the optical path changing unit 35.
  • the flat surface of the back surface 34 has a function of guiding the light incident from the light incident end surface 32 while totally reflecting the light incident from the light incident end surface 32 together with the light exit surface 33, and spreading the light in the light guide plate 31 into a planar shape.
  • the inclined surface forming the optical path changing unit 35 functions as the reflecting surface 35a, reflects the light incident on the light guide plate 31, and changes the optical path toward the emission surface 33 side.
  • the form which forms the reflective surface 35a was shown here as the optical path change part 35, if it is possible to change the optical path of the light which the light-guide plate 31 entered, various optical path change parts 35 will be shown. It is possible to form. For example, it is possible to change the optical path of the incident light by forming the optical path changing unit 35 with a cylindrical type or other type of Fresnel lens and by the refracting action of the refractive surface (prism surface) of the Fullel lens. . Further, in that case, the fullnel lens may be configured by a plurality of portions each having a gap.
  • optical path changing unit 35 it is also possible to form the optical path changing unit 35 with a diffraction grating and change the optical path of the incident light by the diffraction action. Furthermore, it is possible to change the optical path of the incident light by the reflection or refraction action of the prism.
  • the vehicle display device provided with such a light emitting device 3 can be realized in various forms such as the door mirror 2.
  • a light emitting device 3 can be realized in various forms such as the door mirror 2.
  • embodiments of various internal structures for realizing the door mirror 2 using the vehicle display device will be described.
  • FIG. 5 is a schematic perspective view schematically showing a part of the internal structure of the door mirror 2 using the vehicle display device according to the first embodiment of the present invention.
  • FIG. 6 is a schematic front view schematically showing a part of the internal structure of the door mirror 2 using the vehicle display device according to the first embodiment of the present invention.
  • 7 and 8 are schematic cross-sectional views schematically showing a part of the internal structure of the door mirror 2 using the vehicle display device according to the first embodiment of the present invention.
  • 5 and 6 show a state in which some members such as the light emitting device 3 are removed from the door mirror 2 so that the inside can be visually recognized.
  • FIG. 1 shows a state in which some members such as the light emitting device 3 are removed from the door mirror 2 so that the inside can be visually recognized.
  • FIG. 7 schematically shows the arrangement of the light emitting device 3 and the mirror member 20 in the door mirror 2 from a viewpoint from above.
  • FIG. 8 shows an enlarged configuration of members such as the light emitting device 3 and the mirror member 20 in the door mirror 2 from the viewpoint from above.
  • the door mirror 2 includes a housing 21 that houses various members such as the light emitting device 3 and the mirror member 20.
  • the front surface of the housing 21 is open, and the opening of the housing 21 is closed in a state in which the mirror member 20 is loosely fitted with a gap at the edge.
  • the housing 21 includes a drive mechanism 22 that can change the angle of the mirror member 20, and the mirror member 20 is fixed to the drive mechanism 22.
  • the housing 21 is attached to the vehicle 1 by an attachment portion 23. Inside the attachment portion 23, various electrical components such as the light source 30 of the light emitting device 3 in the door mirror 2, the drive mechanism 22, and the interior of the vehicle 1 are provided.
  • Various communication lines are connected to connect units such as control devices. Then, the driver can adjust the angle of the mirror member 20 by driving the drive mechanism 22 by operating various operation buttons arranged in the vicinity of the driver's seat. Further, it is possible to cause the light source 30 to emit light by performing an operation such as a course change.
  • a frame is formed, and a fixed frame 24 for fixing the light guide plate 31 and the mirror member 20 to the drive mechanism 22 is disposed.
  • the light guide plate 31 and the mirror member 20 housed in the fixed frame 24 are disposed.
  • the opening on the front surface of the housing 21 is blocked.
  • the fixed frame 24 has a fixed plate on the rear side, and the fixed light guide plate 31 and the mirror member 20 are fixed to the drive mechanism 22 by fixing the fixed plate to the drive mechanism 22.
  • the light guide plate 31 has a rectangular shape when viewed from the front, and is disposed such that the long side direction and the short side direction are substantially parallel to the horizontal direction and the vertical direction, respectively.
  • the light guide plate 31 has a light source 30 disposed on the attachment portion 23 side, and receives light emitted from the light source 30 from the attachment portion 23 side. By disposing light incident from the attachment portion 23 side, it is easy to change the optical path in the direction outside the vehicle 1. It is also possible to design the light guide plate 31 to be made of a thin film material having flexibility, and to arrange the light source 30 behind the drive mechanism 22 by bending the end portion on the light source 30 side. . Even in such a case, the light emitted from the light source 30 is disposed so as to enter the light guide plate 31 from the mounting portion 23 side.
  • a light guide plate 31 is disposed behind the mirror member 20.
  • the mirror member 20 and the light guide plate 31 are bonded and fixed to the fixed plate with an adhesive as necessary.
  • the mirror member 20 is formed on a light transmitting portion 20b having a front surface 20a through which light enters, and a rear surface of the light transmitting portion 20b, and the light that has entered through the surface 20a and transmitted through the light transmitting portion 20b is a surface.
  • a reflective layer 20c that reflects toward the 20a side.
  • the translucent portion 20b is formed using a material such as a transparent polycarbonate resin, a resin material such as polymethyl methacrylate resin, or an inorganic material such as glass.
  • the reflective layer 20c is a layer such as a plating layer or a vapor deposition film formed by a method such as plating or vapor deposition using a metal such as aluminum or silver. And the external light which approached from the surface 20a of the mirror member 20 reflects in the reflective layer 20c, and the mirror member 20 functions as a mirror.
  • the door mirror 2 to which the vehicle display device according to the first embodiment of the present invention is applied has a configuration in which the light guide plate 31 is placed behind the mirror member 20. More specifically, the mirror member 20 and the planar portions of the light guide plate 31 behind the mirror member 20 are arranged so as to be parallel to each other. That is, the mirror member 20 has a book-plate shape, and is formed on the light transmitting portion 20b whose front surface that is one surface is the surface 20a and the rear surface that is the other surface of the light transmitting portion 20b, and enters from the surface 20a. And a reflective layer 20c that reflects the light transmitted through the translucent part 20b toward the surface 20a.
  • the light guide plate 31 is disposed on the other surface side of the mirror member 20.
  • FIG. 9 is a schematic diagram illustrating an example of an optical path related to the light-emitting device 3 included in the vehicle display device according to the first embodiment of the present invention.
  • FIG. 9 is superimposed on the schematic cross-sectional view of the light emitting device 3 according to the first embodiment, shows the path of light emitted from the light source 30 with a solid line with arrows, and indicates the path of external light entering from the outside. Shown with a dotted double line.
  • the light emitted from the light source 30 enters the light guide plate 31 from the mounting portion 23 side.
  • the light guide plate 31 guides light incident from the light source 30 while repeating total reflection between the output surface 33 and the back surface 34, reflects the light by the optical path changing unit 35 (not shown in FIG. 9), and outputs the light from the output surface 33. .
  • the light emitted from the emission surface 33 of the light guide plate 31 passes through the mirror member 20 and is emitted from the door mirror 2.
  • the mirror member 20 functions as a mirror by entering the light from the outside through the surface 20a and transmitting the light transmitted through the light transmitting portion 20b through the reflection layer 20c and reflecting the light through the surface 20a.
  • the reflected image is not distorted when functioning as a mirror.
  • Embodiment comprised as mentioned above is a form which applies the display apparatus for vehicles provided with the light-emitting device 3 as the door mirror 2, and the light-emitting device 3 with which the display apparatus for vehicles (door mirror 2) is provided is the light source 30. And a light guide plate 31.
  • the vehicle display device functions as a door mirror 2 similar to a normal mirror, and when viewed from outside the vehicle 1, for example, from the rear vehicle, The display device functions as the light-emitting device 3 that can emit light on the entire mirror surface, and notifies various operational states of the vehicle such as direction indication by light emission.
  • the operation state is displayed as a direction indicator (turn signal lamp).
  • the operating state is displayed as a brake indicator (brake lamp).
  • the operation state is displayed as an emergency blinking indicator (hazard lamp).
  • the vehicle display device can notify various information to persons outside the vehicle such as the driver of the vehicle behind the vehicle by emitting light.
  • the mirror member 20 accommodated in the door mirror 2 is disposed in front of the light guide plate 31, the image reflected by the mirror member 20 does not cause a phenomenon such as distortion due to the influence of the light guide plate 31. .
  • the second embodiment is a form in which the positions of the light guide plate 31 and the mirror member 20 provided in the vehicle display device are switched in the first embodiment.
  • the first embodiment since the configuration other than the positions of the light guide plate 31 and the mirror member 20 is the same as that of the first embodiment, the first embodiment is referred to for the other configurations. The description is omitted.
  • components similar to those in the first embodiment are denoted by the same reference numerals as those in the first embodiment.
  • FIG. 10 is a schematic cross-sectional view schematically showing an example of the internal structure of the door mirror 2 using the vehicle display device according to the second embodiment of the present invention.
  • FIG. 10 schematically shows the arrangement of the light-emitting device 3 and the mirror member 20 in the door mirror 2 from the viewpoint of the door mirror 2 to which the vehicle display device according to the second embodiment of the present invention is applied.
  • the vehicular display device according to the second embodiment of the present invention includes a light guide plate 31 disposed in front of the mirror member 20. More specifically, the mirror member 20 and the planar portions of the light guide plate 31 in front of the mirror member 20 are arranged so as to be parallel to each other.
  • the mirror member 20 has a book-plate shape, and is formed on a light transmitting portion 20b having a front surface 20a through which light enters and a rear surface of the light transmitting portion 20b.
  • a reflection layer 20c that reflects the light transmitted through the portion 20b toward the surface 20a.
  • the light guide plate 31 is disposed so as to overlap the surface 20 a side of the mirror member 20.
  • FIG. 11 is a schematic diagram illustrating an example of an optical path related to the light-emitting device 3 included in the vehicle display device according to the second embodiment of the present invention.
  • FIG. 11 is superimposed on the schematic cross-sectional view of the light emitting device 3 according to the second embodiment, and shows the path of light emitted from the light source 30 with a solid line with an arrow, and indicates the path of external light entering from the outside. Shown with a dotted double line.
  • the light emitted from the light source 30 enters the light guide plate 31 from the light incident end face 32 side.
  • the light guide plate 31 guides light incident from the light source 30 while repeating total reflection between the emission surface 33 and the back surface 34, reflects the light by the optical path changing unit 35 (not shown in FIG. 11), and emits the light from the emission surface 33. .
  • the light emitted from the emission surface 33 of the light guide plate 31 is emitted from the door mirror 2.
  • emitted from the output surface 33 of the light-guide plate 31 does not need to permeate
  • the mirror member 20 is transmitted through the light guide plate 31 from the outside, further enters through the surface 20a, reflects the external light transmitted through the light transmitting portion 20b to the surface 20a side by the reflective layer 20c, and the light guide plate 31. By transmitting the light and emitting it to the outside, it functions as a mirror.
  • the external light reflected by the mirror member 20 is transmitted through the light guide plate 31, but the area of the reflection surface 35a of the optical path changing unit 35 is smaller than the area of the surface 20a (the number of reflection surfaces 35a). Therefore, it is possible to suppress the distortion of the reflected image when functioning as a mirror to such an extent that the observer, that is, the driver cannot recognize it.
  • the 2nd Embodiment comprised as mentioned above is a form which applies the display apparatus for vehicles provided with the light-emitting device 3 as the door mirror 2, and the light-emitting device 3 with which the display apparatus for vehicles (door mirror 2) is provided is the light source 30. And a light guide plate 31.
  • the vehicle display device functions as a door mirror 2 similar to a normal mirror, and when viewed from outside the vehicle 1, for example, from the rear vehicle, The display device functions as the light-emitting device 3 that can emit light on the entire mirror surface, and notifies various operational states of the vehicle such as direction indication by light emission.
  • the light guide plate 31 housed in the door mirror 2 is disposed in front of the mirror member 20, it can emit brighter light.
  • 3rd Embodiment is a form which uses the light-guide plate 31 of the light-emitting device 3 with which the display apparatus for vehicles is provided also as the mirror member 20 in 1st Embodiment.
  • 3rd Embodiment since structures other than the light-guide plate 31 and the mirror member 20 are the same as that of 1st Embodiment, it shall refer to 1st Embodiment about other structures, The description Is omitted.
  • components similar to those in the first embodiment are denoted by the same reference numerals as those in the first embodiment.
  • FIG. 12 is a schematic diagram illustrating an example of an optical path related to the light-emitting device 3 included in the vehicular display device according to the third embodiment of the present invention.
  • FIG. 12 is superimposed on the schematic cross-sectional view of the light emitting device 3 according to the third embodiment, and shows the path of light emitted from the light source 30 with a solid line with an arrow, and indicates the path of external light entering from the outside. Shown with a dotted double line.
  • a light guide plate 31 to which a light source 30 is attached is inserted into a fixed frame 24 fixed to the front surface of the drive mechanism 22 in the housing 21.
  • the light guide plate 31 also has a function as a mirror member, and the dedicated mirror member 20 is not disposed.
  • the light guide plate 31 uses a metal such as aluminum or silver on the rear surface, and a plating layer formed by a method such as plating or vapor deposition, vapor deposition.
  • a reflective layer 36 such as a film is formed. For this reason, when external light enters from the emission surface 33, the incoming external light is reflected by the reflective layer 36, so that the light guide plate 31 also functions as a mirror member.
  • Light emitted from the light source 30 enters the light guide plate 31 from the light incident end face 32.
  • the light guide plate 31 guides the light incident from the light source 30 while repeating total reflection between the emission surface 33 and the back surface 34, reflects the light by the optical path changing unit 35, and emits the light from the emission surface 33.
  • the light emitted from the emission surface 33 of the light guide plate 31 is emitted from the door mirror 2. That is, the light guide plate 31 of the light emitting device 3 has an emission surface 33 that emits light incident from the light source 30 and an optical path changing unit 35 that changes the path of the light incident from the light source 30 to the emission surface 33 side.
  • a reflection layer 36 is formed on the back surface 34 opposite to the emission surface 33 and reflects external light entering from the emission surface 33 toward the emission surface 33 side.
  • the light guide plate 31 emits light in the direction outside the vehicle 1 and also functions as a mirror.
  • emitted from the output surface 33 of the light-guide plate 31 does not permeate
  • Embodiment comprised as mentioned above is a form which applies the display apparatus for vehicles provided with the light-emitting device 3 as the door mirror 2, and the light-emitting device 3 with which the display apparatus for vehicles (door mirror 2) is provided is the light source 30. And a light guide plate 31.
  • the vehicle display device functions as a door mirror 2 similar to a normal mirror, and when viewed from outside the vehicle 1, for example, from the rear vehicle, The display device functions as the light-emitting device 3 that can emit light on the entire mirror surface, and notifies various operational states of the vehicle such as direction indication by light emission.
  • the light guide plate 31 is formed with a reflective layer 36 and also has a function as the mirror member 20, the emitted light can be brightened.
  • the fourth embodiment is a form in which a layer for protecting the surface is provided on the rear light guide plate 31 in the third embodiment.
  • the third embodiment since the configuration other than the newly provided layer is the same as that of the third embodiment, the third embodiment is referred to for the other configuration, and the description thereof is omitted. .
  • components similar to those in the third embodiment are denoted by the same reference numerals as those in the third embodiment.
  • FIG. 13 is a schematic diagram illustrating an example of an optical path related to the light-emitting device 3 included in the vehicle display device according to the fourth embodiment of the present invention.
  • FIG. 13 is superimposed on the schematic cross-sectional view of the light emitting device 3 according to the fourth embodiment, and shows the path of light emitted from the light source 30 with a solid line with an arrow, and indicates the path of external light entering from the outside. Shown with a dotted double line.
  • a light guide plate 31 to which a light source 30 is attached is inserted into a fixed frame 24 fixed to the front surface of the drive mechanism 22 in the housing 21.
  • the light guide plate 31 also has a function as a mirror member, and the dedicated mirror member 20 is not disposed.
  • a layer for protecting the rear surface is formed on the rear surface of the attached light guide plate 31.
  • the formed layer is a plated layer formed by a method such as plating or vapor deposition using a metal such as aluminum or silver on a light transmitting layer 37 using a resin material such as transparent polycarbonate resin or polymethyl methacrylate resin.
  • the light transmitting layer 37 is integrated with the light guide plate 31 by a process such as a heat treatment at a flat portion where the optical path changing unit 35 is not formed.
  • a process such as a heat treatment at a flat portion where the optical path changing unit 35 is not formed.
  • the protective layer having the light transmissive layer 37 and the reflective layer 36 functions as a mirror member.
  • Light emitted from the light source 30 enters the light guide plate 31 from the light incident end face 32.
  • the light guide plate 31 guides the light incident from the light source 30 while repeating total reflection between the emission surface 33 and the back surface 34, reflects the light by the optical path changing unit 35, and emits the light from the emission surface 33.
  • the light emitted from the emission surface 33 of the light guide plate 31 is emitted from the door mirror 2. That is, the light guide plate 31 of the light emitting device 3 includes an emission surface 33 that emits light incident from the light source 30 and an optical path changing unit 35 that changes the optical path of the light incident from the light source 30 to the emission surface 33 side. .
  • the light guide plate 31 when the light source 30 emits light, the light guide plate 31 emits light in the direction outside the vehicle 1 and also functions as a mirror.
  • emitted from the output surface 33 of the light-guide plate 31 does not permeate
  • the light-emitting device 3 which concerns on 4th Embodiment can emit a bright light with respect to the exterior.
  • the light guide plate 31 is not affected by the reflective layer 36 because the reflective layer 36 is not formed on the optical path changing unit 35 formed as a notch on the rear surface, for example, and the light guide plate 31 according to the third embodiment. Compared with the light-emitting device 3, it is possible to display a bright image.
  • the 4th Embodiment comprised as mentioned above is a form which applies the display apparatus for vehicles provided with the light-emitting device 3 as the door mirror 2, and the light-emitting device 3 with which the display apparatus for vehicles (door mirror 2) is provided is the light source 30.
  • a light guide plate 31 includes a translucent layer 37 that transmits external light from the outside that has entered the exit surface 33 and transmitted through the light guide plate 31, and a translucent layer 37 on the rear side 34 that faces the exit surface 33.
  • a reflection layer 36 that reflects the transmitted external light toward the emission surface 33 side is provided. Then, external light reflected from the reflection layer 36 passes through the transmission layer and is emitted from the emission surface 33 of the light guide plate 31. Thereby, the transmission layer also functions as a mirror.
  • the vehicle display device according to the present invention is applied to a window glass for a vehicle.
  • components similar to those in the first embodiment are denoted by the same reference numerals as those in the first embodiment, and description thereof is omitted.
  • FIG. 14 is a schematic explanatory diagram showing an example in which the vehicle display device according to the fifth embodiment of the present invention is applied to a vehicle window glass.
  • FIG. 14A shows a state in which the light emitting device 3 included in the vehicle display device does not emit light.
  • FIG. 14B and FIG. 14C show the light emitted from the light emitting device 3 included in the vehicle display device. Indicates the state.
  • the vehicle display device illustrated in FIG. 14 is applied as a vehicle window glass, specifically, the rear side glass 4 of the vehicle 1.
  • the light emitting device 3 included in the vehicle display device does not emit light, it functions as a normal window glass as shown in FIG.
  • the function of notifying various operating states of the vehicle such as the direction instruction shown in FIG. 14B is exhibited.
  • FIG. 14C it is also possible to notify the operation state such as an instruction of the direction to the outside of the vehicle by displaying at least one of an arrow symbol indicating that the course is changed and character information. is there.
  • the display of symbol information such as arrow symbols and information of arbitrary shapes such as character information is realized by appropriately designing the formation position of the optical path changing unit 35 in the light guide plate 31 and the reflection direction of the incident light. be able to.
  • FIG. 15 is a schematic explanatory view showing an example in which the vehicle display device according to the fifth embodiment of the present invention is applied to a vehicle window glass.
  • FIG. 15 shows a modification of the display illustrated in FIG. 14 and shows an example in which a vehicle display device is applied to the rear glass 5 of the vehicle 1 and a symbol imitating a triangular display plate for emergency stop is displayed. ing.
  • the vehicle display device according to the fifth embodiment can be developed in various forms.
  • FIG. 16 is a schematic diagram illustrating an example of an optical path related to the light-emitting device 3 included in the vehicle display device according to the fifth embodiment of the present invention.
  • FIG. 16 is superimposed on the schematic cross-sectional view of the light emitting device 3 according to the fifth embodiment, shows the path of light emitted from the light source 30 with a solid line with arrows, and shows the light transmitted from the inside of the vehicle to the outside of the vehicle.
  • the course is indicated by a double line with an arrow pointing from the top to the bottom in the figure
  • the path of light transmitted from the outside of the vehicle into the vehicle is indicated by a double line with an arrow pointing upward from the figure.
  • the light guide plate 31 of the light emitting device 3 is disposed so as to overlap the vehicle interior (upper side in the drawing) of the window glass material 40 used as the window glass such as the rear side glass 4 and the rear glass 5.
  • the light guide plate 31 guides the light incident from the light source 30 while repeating total reflection between the emission surface 33 and the back surface 34, reflects the light by the optical path changing unit 35, and emits the light from the emission surface 33.
  • the light emitted from the emission surface 33 of the light guide plate 31 passes through the window glass material 40 and is emitted outside the vehicle.
  • the window glass material 40 transmits light from outside the vehicle to the inside of the vehicle, and transmits light from the inside of the vehicle to the outside of the vehicle.
  • the 5th Embodiment comprised as mentioned above is a form which applies the display apparatus for vehicles provided with the light-emitting device 3 as window glasses, such as the rear side glass 4 and the rear glass 5, and displays the vehicle (rear side glass 4,
  • the light emitting device 3 provided in the rear glass 5) has a light source 30 and a light guide plate 31.
  • a window glass material 40 is disposed on the outside of the light guide plate 31 in an overlapping manner.
  • the rear side glass 4 and the rear glass 5 function as a normal window glass when the light source 30 does not emit light, and when the light source 30 emits light, the rear side glass 4 and the rear glass 5 exhibit a function of notifying various operation states of the vehicle such as direction indications. .
  • 6th Embodiment is a form which replaced the position of the light-guide plate 31 with which the display apparatus for vehicles is equipped, and the glass material 40 for windows in 5th Embodiment.
  • the configuration other than the positions of the light guide plate 31 and the window glass member 40 is the same as that of the fifth embodiment, and therefore the fifth embodiment is referred to for the other configurations. It shall be omitted.
  • components similar to those in the first embodiment are denoted by the same reference numerals as those in the fifth embodiment.
  • FIG. 17 is a schematic diagram illustrating an example of an optical path related to the light-emitting device 3 included in the vehicle display device according to the sixth embodiment of the present invention.
  • FIG. 17 is a schematic cross-sectional view of the light emitting device 3 according to the sixth embodiment, and shows the path of light emitted from the light source 30 with a solid line with an arrow, and shows the light transmitted from the inside of the vehicle to the outside of the vehicle. The course is indicated by a double line with an arrow pointing from the top to the bottom in the figure, and the path of light transmitted from the outside of the vehicle into the vehicle is indicated by a double line with an arrow pointing upward from the figure.
  • the light guide plate 31 of the light emitting device 3 is disposed so as to overlap the vehicle exterior side (lower side in the figure) of the window glass material 40 used as the window glass such as the rear side glass 4 and the rear glass 5.
  • the light guide plate 31 guides the light incident from the light source 30 while repeating total reflection between the emission surface 33 and the back surface 34, reflects the light by the optical path changing unit 35, and emits the light from the emission surface 33.
  • the window glass material 40 transmits light from outside the vehicle to the inside of the vehicle, and transmits light from the inside of the vehicle to the outside of the vehicle.
  • the 6th Embodiment comprised as mentioned above is a form which applies the display apparatus for vehicles provided with the light-emitting device 3 as window glasses, such as the rear side glass 4 and the rear glass 5, and is a display apparatus for vehicles (rear side glass 4,
  • the light emitting device 3 provided in the rear glass 5) has a light source 30 and a light guide plate 31.
  • a window glass material 40 is disposed on the inner side of the light guide plate 31 in an overlapping manner.
  • the rear side glass 4 and the rear glass 5 function as a normal window glass when the light source 30 does not emit light, and when the light source 30 emits light, the rear side glass 4 and the rear glass 5 exhibit a function of notifying various operation states of the vehicle such as direction indications. .
  • 7th Embodiment is a form which uses the light-guide plate 31 of the light-emitting device 3 with which the display apparatus for vehicles is provided also as the glass material 40 for windows in 5th Embodiment.
  • the display apparatus for vehicles is provided also as the glass material 40 for windows in 5th Embodiment.
  • components similar to those in the fifth embodiment are denoted by the same reference numerals as those in the fifth embodiment.
  • FIG. 18 is a schematic diagram illustrating an example of an optical path with respect to the light emitting device 3 included in the vehicular display device according to the seventh embodiment of the present invention.
  • FIG. 18 superimposes on the schematic sectional view of the light emitting device 3 according to the seventh embodiment, shows the path of light emitted from the light source 30 by solid lines with arrows, and shows the light transmitted from the inside of the vehicle to the outside of the vehicle. The course is indicated by a double line with an arrow pointing from the top to the bottom in the figure, and the path of light transmitted from the outside of the vehicle into the vehicle is indicated by a double line with an arrow pointing upward from the figure.
  • the light guide plate 31 of the light emitting device 3 is used as a window glass such as the rear side glass 4 and the rear glass 5.
  • the light guide plate 31 also has a function as a window glass material, and the dedicated window glass material 40 is not disposed. Therefore, in the fifth embodiment and the sixth embodiment, it is possible to use the thin-film light guide plate 31 having flexibility, but the seventh embodiment has sufficient durability as a window glass.
  • the light guide plate 31 having a hard plate shape is used.
  • the light guide plate 31 guides the light incident from the light source 30 while repeating total reflection between the emission surface 33 and the back surface 34, reflects the light by the optical path changing unit 35, and emits the light from the emission surface 33. Further, light from outside the vehicle is transmitted to the inside of the vehicle, and light from the inside of the vehicle is transmitted to the outside of the vehicle.
  • the 7th Embodiment comprised as mentioned above is a form which applies the display apparatus for vehicles provided with the light-emitting device 3 as window glass, such as the rear side glass 4 and the rear glass 5, and displays the vehicle (rear side glass 4,
  • the light emitting device 3 provided in the rear glass 5) has a light source 30 and a light guide plate 31.
  • the rear side glass 4 and the rear glass 5 function as a normal window glass when the light source 30 does not emit light, and when the light source 30 emits light, the rear side glass 4 and the rear glass 5 exhibit a function of notifying various operation states of the vehicle such as direction indications. .
  • the form using one light guide plate 31 is shown.
  • the present invention is not limited to this, and can be developed in various forms such as using a plurality of light guide plates 31. is there.
  • a light guide plate 31 that emits light in a direction in which the driver is an observer may be disposed so as to be superimposed on the light guide plate 31 that emits light toward the outside of the vehicle 1.
  • the light guide plate 31 having the driver as an observer changes the exit surface 33 for emitting the incident light, and changes the optical path of the incident light to the exit surface 33 side to an external convergence point or convergence line.
  • the vehicular display device configured as described above is applied as the door mirror 2, the light guide plate 31 causes the driver to form an image of light that can be seen as if it has jumped out to a position different from the mirror surface of the door mirror 2. be able to.
  • the basic principle of the door mirror 2 shown as the first to fourth embodiments can be applied to other mirrors such as a rearview mirror, and the fifth to seventh embodiments.
  • the basic principle of the rear side glass 4 and the rear glass 5 shown as the form can be applied to other glass surfaces such as a windshield.
  • the vehicle display device described in the present application configured as described above is applied to a mirror such as the door mirror 2, a window glass surface such as the rear side glass 4 and the rear glass 5, thereby indicating a direction to the person outside the vehicle, a braking display, It is possible to notify various operation states of the vehicle such as an emergency display.
  • the information is not limited to the operation state of the vehicle as long as the information can be notified by light emission.
  • Vehicle 2 Door Mirror (Vehicle Display Device) 20 Mirror member 20a Surface 20b Translucent portion 20c Reflective layer 3 Light emitting device 30 Light source 31 Light guide plate (light guide member) 32 Light entrance end surface 33 Light exit surface 34 Back surface 35 Optical path changing portion 35a Reflective surface 36 Reflective layer 37 Translucent layer 4 Rear side glass (vehicle display device) 5 Rear glass (vehicle display device) 40 Glass material for windows

Landscapes

  • Engineering & Computer Science (AREA)
  • Mechanical Engineering (AREA)
  • General Engineering & Computer Science (AREA)
  • Multimedia (AREA)
  • Physics & Mathematics (AREA)
  • Optics & Photonics (AREA)
  • Microelectronics & Electronic Packaging (AREA)
  • Lighting Device Outwards From Vehicle And Optical Signal (AREA)
  • Fittings On The Vehicle Exterior For Carrying Loads, And Devices For Holding Or Mounting Articles (AREA)
  • Rear-View Mirror Devices That Are Mounted On The Exterior Of The Vehicle (AREA)
  • Non-Portable Lighting Devices Or Systems Thereof (AREA)
  • General Physics & Mathematics (AREA)
PCT/JP2016/073689 2015-09-04 2016-08-11 車両用表示装置 Ceased WO2017038427A1 (ja)

Priority Applications (3)

Application Number Priority Date Filing Date Title
CN201680041508.3A CN107848456A (zh) 2015-09-04 2016-08-11 车辆用显示装置
DE112016004018.0T DE112016004018B4 (de) 2015-09-04 2016-08-11 Fahrzeug-displayvorrichtung
US15/876,031 US10801691B2 (en) 2015-09-04 2018-01-19 Vehicle display device

Applications Claiming Priority (2)

Application Number Priority Date Filing Date Title
JP2015174797A JP6651750B2 (ja) 2015-09-04 2015-09-04 車両用表示装置
JP2015-174797 2015-09-04

Related Child Applications (1)

Application Number Title Priority Date Filing Date
US15/876,031 Continuation US10801691B2 (en) 2015-09-04 2018-01-19 Vehicle display device

Publications (1)

Publication Number Publication Date
WO2017038427A1 true WO2017038427A1 (ja) 2017-03-09

Family

ID=58188647

Family Applications (1)

Application Number Title Priority Date Filing Date
PCT/JP2016/073689 Ceased WO2017038427A1 (ja) 2015-09-04 2016-08-11 車両用表示装置

Country Status (6)

Country Link
US (1) US10801691B2 (enExample)
JP (1) JP6651750B2 (enExample)
CN (1) CN107848456A (enExample)
DE (1) DE112016004018B4 (enExample)
TW (1) TW201711876A (enExample)
WO (1) WO2017038427A1 (enExample)

Cited By (1)

* Cited by examiner, † Cited by third party
Publication number Priority date Publication date Assignee Title
WO2019201554A1 (de) * 2018-04-20 2019-10-24 Volkswagen Aktiengesellschaft Verfahren zur kommunikation eines kraftfahrzeugs mit einem verkehrsteilnehmer sowie kraftfahrzeug zur durchführung des verfahrens

Families Citing this family (12)

* Cited by examiner, † Cited by third party
Publication number Priority date Publication date Assignee Title
JP6743419B2 (ja) * 2015-11-10 2020-08-19 オムロン株式会社 表示システム及びゲート装置
US10406973B2 (en) * 2016-02-01 2019-09-10 Irvin Automotive Products, LLC Lighted auto visor mirror
JPWO2019073986A1 (ja) * 2017-10-10 2020-09-10 積水化学工業株式会社 発光装置、車輌用ドア、及び報知方法
US11358521B2 (en) * 2018-08-08 2022-06-14 Uatc, Llc Vehicle wheel units
KR102552508B1 (ko) * 2018-11-20 2023-07-11 현대자동차주식회사 차량 디스플레이 장치, 그를 제어하는 차량 디스플레이 제어 장치, 그를 포함한 시스템
JP7728756B2 (ja) 2019-10-29 2025-08-25 エイエムエス-オスラム インターナショナル ゲーエムベーハー オプトエレクトロニクス装置
US12328983B2 (en) 2019-12-06 2025-06-10 Osram Opto Semiconductors Gmbh Optoelectronic arrangement
US12388058B2 (en) 2019-12-06 2025-08-12 Osram Opto Semiconductors Gmbh Optoelectronic device
US12330499B2 (en) 2019-12-06 2025-06-17 Osram Opto Semiconductors Gmbh Apparatus comprising a carrier with optoelectronic elements and method for manufacturing the apparatus
DE112020005976T5 (de) 2019-12-06 2022-10-13 Osram Opto Semiconductors Gmbh Optoelektronische vorrichtung
DE112020005978T5 (de) 2019-12-06 2022-09-22 Osram Opto Semiconductors GmbH Fenster oder oberfläche eines fahrzeugs mit mindestens einem optoelektronischen bauelement
FR3141508B1 (fr) * 2022-09-19 2024-10-04 Valeo Vision Module de signalisation, dispositif de signalisation, et procédés associés

Citations (10)

* Cited by examiner, † Cited by third party
Publication number Priority date Publication date Assignee Title
JPH0212941U (enExample) * 1988-07-12 1990-01-26
US6264353B1 (en) * 1998-11-23 2001-07-24 Lear Automotive Dearborn, Inc. Exterior mirror with supplement turn signal
JP2006151368A (ja) * 2004-10-28 2006-06-15 Koichiro Mitsui 車両用ドアミラー
JP2010105419A (ja) * 2008-10-28 2010-05-13 Stanley Electric Co Ltd ミラーアセンブリ
JP2012131277A (ja) * 2010-12-20 2012-07-12 Tokai Rika Co Ltd 車両用ミラー装置
JP2014019250A (ja) * 2012-07-17 2014-02-03 Kojima Press Industry Co Ltd 固定窓ユニット
JP2014234019A (ja) * 2013-05-31 2014-12-15 サカエ理研工業株式会社 ドアミラーユニット
JP2014234022A (ja) * 2013-05-31 2014-12-15 サカエ理研工業株式会社 ドアミラーユニット
JP2014534601A (ja) * 2011-11-23 2014-12-18 ケイ.ダブリュ.マス カンパニー インコーポレイテッドK.W.Muth Company,Inc. 虚外部共通焦点を有する光学式組立体
JP2014534117A (ja) * 2011-11-07 2014-12-18 サン−ゴバン グラス フランス 方向指示灯点滅装置グレージングを伴う自動車両

Family Cites Families (10)

* Cited by examiner, † Cited by third party
Publication number Priority date Publication date Assignee Title
US7229197B2 (en) 2003-10-07 2007-06-12 Toyoda Gosei Co., Ltd. Vehicle side mirror apparatus
JP4276250B2 (ja) * 2006-10-11 2009-06-10 株式会社ミツバ ターンランプ付きドアミラー
US8735306B2 (en) 2008-02-29 2014-05-27 Bha Altair, Llc Oleophobic laminated article
DE102010045070A1 (de) * 2010-09-10 2012-03-15 Volkswagen Ag Leuchtanordnung in einem Fahrzeug
EP2463153B1 (de) * 2010-12-10 2015-04-15 SMR Patents S.à.r.l. Beleuchtungseinheit
EP2463157B1 (en) * 2010-12-10 2015-04-15 SMR Patents S.à.r.l. Rear view mirror assembly with optical indicator
US10030846B2 (en) * 2012-02-14 2018-07-24 Svv Technology Innovations, Inc. Face-lit waveguide illumination systems
US20150316227A1 (en) * 2012-12-28 2015-11-05 3M Innovative Properties Company Stacked lightguide tailight article
EP3190447B1 (en) * 2016-01-06 2020-02-05 Ricoh Company, Ltd. Light guide and virtual image display device
US11125929B2 (en) * 2017-01-26 2021-09-21 3M Innovative Properties Company Display system

Patent Citations (10)

* Cited by examiner, † Cited by third party
Publication number Priority date Publication date Assignee Title
JPH0212941U (enExample) * 1988-07-12 1990-01-26
US6264353B1 (en) * 1998-11-23 2001-07-24 Lear Automotive Dearborn, Inc. Exterior mirror with supplement turn signal
JP2006151368A (ja) * 2004-10-28 2006-06-15 Koichiro Mitsui 車両用ドアミラー
JP2010105419A (ja) * 2008-10-28 2010-05-13 Stanley Electric Co Ltd ミラーアセンブリ
JP2012131277A (ja) * 2010-12-20 2012-07-12 Tokai Rika Co Ltd 車両用ミラー装置
JP2014534117A (ja) * 2011-11-07 2014-12-18 サン−ゴバン グラス フランス 方向指示灯点滅装置グレージングを伴う自動車両
JP2014534601A (ja) * 2011-11-23 2014-12-18 ケイ.ダブリュ.マス カンパニー インコーポレイテッドK.W.Muth Company,Inc. 虚外部共通焦点を有する光学式組立体
JP2014019250A (ja) * 2012-07-17 2014-02-03 Kojima Press Industry Co Ltd 固定窓ユニット
JP2014234019A (ja) * 2013-05-31 2014-12-15 サカエ理研工業株式会社 ドアミラーユニット
JP2014234022A (ja) * 2013-05-31 2014-12-15 サカエ理研工業株式会社 ドアミラーユニット

Cited By (1)

* Cited by examiner, † Cited by third party
Publication number Priority date Publication date Assignee Title
WO2019201554A1 (de) * 2018-04-20 2019-10-24 Volkswagen Aktiengesellschaft Verfahren zur kommunikation eines kraftfahrzeugs mit einem verkehrsteilnehmer sowie kraftfahrzeug zur durchführung des verfahrens

Also Published As

Publication number Publication date
DE112016004018T5 (de) 2018-06-14
TW201711876A (zh) 2017-04-01
JP2017047851A (ja) 2017-03-09
CN107848456A (zh) 2018-03-27
JP6651750B2 (ja) 2020-02-19
DE112016004018B4 (de) 2025-07-31
US10801691B2 (en) 2020-10-13
US20180141487A1 (en) 2018-05-24

Similar Documents

Publication Publication Date Title
JP6651750B2 (ja) 車両用表示装置
KR102365320B1 (ko) 특히 차량용 디스플레이 장치, 및 이 유형의 디스플레이 장치를 포함하는 차량
JP6603883B2 (ja) ヘッドアップディスプレイ、およびヘッドアップディスプレイを搭載した移動体
CN107709097B (zh) 反射镜单元和显示装置
WO2013051376A1 (ja) 表示装置
WO2015159523A1 (ja) ヘッドアップディスプレイ、およびヘッドアップディスプレイを搭載した移動体
KR20130011779A (ko) 램프 조립체
WO2015098557A1 (ja) 死角補助装置
JP6551068B2 (ja) 表示装置
US20210078495A1 (en) Image display unit
JP6493101B2 (ja) 表示装置
JP2013164512A (ja) 車両用表示装置
CN203673145U (zh) 显示装置
JP2015045808A (ja) ヘッドアップディスプレイ装置
JP2014238477A (ja) ヘッドアップディスプレイ装置
US10767830B2 (en) Lighting and/or signalling device with liquid-crystal display, in particular for a motor vehicle
JP2017203894A (ja) ヘッドアップディスプレイ
KR102253675B1 (ko) 디스플레이 장치
JP2018060155A (ja) 画像表示装置
JP6286748B2 (ja) 車両用表示装置
JP3788809B2 (ja) 車両用表示装置
JP6167960B2 (ja) 車両用表示装置
JP5351778B2 (ja) 車両用計器
WO2019244608A1 (ja) 車両窓部材及び車両窓発光装置
JP2012212565A (ja) 導光体

Legal Events

Date Code Title Description
121 Ep: the epo has been informed by wipo that ep was designated in this application

Ref document number: 16841459

Country of ref document: EP

Kind code of ref document: A1

WWE Wipo information: entry into national phase

Ref document number: 112016004018

Country of ref document: DE

122 Ep: pct application non-entry in european phase

Ref document number: 16841459

Country of ref document: EP

Kind code of ref document: A1

WWG Wipo information: grant in national office

Ref document number: 112016004018

Country of ref document: DE