WO2016150703A1 - Cable traveler - Google Patents

Cable traveler Download PDF

Info

Publication number
WO2016150703A1
WO2016150703A1 PCT/EP2016/054994 EP2016054994W WO2016150703A1 WO 2016150703 A1 WO2016150703 A1 WO 2016150703A1 EP 2016054994 W EP2016054994 W EP 2016054994W WO 2016150703 A1 WO2016150703 A1 WO 2016150703A1
Authority
WO
WIPO (PCT)
Prior art keywords
arm
cable
traveler
housing
main assembly
Prior art date
Legal status (The legal status is an assumption and is not a legal conclusion. Google has not performed a legal analysis and makes no representation as to the accuracy of the status listed.)
Ceased
Application number
PCT/EP2016/054994
Other languages
English (en)
French (fr)
Other versions
WO2016150703A9 (en
Inventor
Robert Alan MENEAR
Andrew K. Thomforde
Robert Hirst
Current Assignee (The listed assignees may be inaccurate. Google has not performed a legal analysis and makes no representation or warranty as to the accuracy of the list.)
Capital Safety Group Northen Europe Ltd
Original Assignee
Capital Safety Group Northen Europe Ltd
Priority date (The priority date is an assumption and is not a legal conclusion. Google has not performed a legal analysis and makes no representation as to the accuracy of the date listed.)
Filing date
Publication date
Application filed by Capital Safety Group Northen Europe Ltd filed Critical Capital Safety Group Northen Europe Ltd
Priority to SG11201707836UA priority Critical patent/SG11201707836UA/en
Priority to CN201680018225.7A priority patent/CN107635624B/zh
Priority to JP2017549693A priority patent/JP6754371B2/ja
Priority to AU2016236501A priority patent/AU2016236501A1/en
Priority to KR1020177026674A priority patent/KR20180034306A/ko
Priority to EP16709374.9A priority patent/EP3274056A1/en
Publication of WO2016150703A1 publication Critical patent/WO2016150703A1/en
Publication of WO2016150703A9 publication Critical patent/WO2016150703A9/en
Anticipated expiration legal-status Critical
Ceased legal-status Critical Current

Links

Images

Classifications

    • AHUMAN NECESSITIES
    • A62LIFE-SAVING; FIRE-FIGHTING
    • A62BDEVICES, APPARATUS OR METHODS FOR LIFE-SAVING
    • A62B1/00Devices for lowering persons from buildings or the like
    • A62B1/06Devices for lowering persons from buildings or the like by making use of rope-lowering devices
    • A62B1/14Devices for lowering persons from buildings or the like by making use of rope-lowering devices with brakes sliding on the rope
    • AHUMAN NECESSITIES
    • A62LIFE-SAVING; FIRE-FIGHTING
    • A62BDEVICES, APPARATUS OR METHODS FOR LIFE-SAVING
    • A62B35/00Safety belts or body harnesses; Similar equipment for limiting displacement of the human body, especially in case of sudden changes of motion
    • A62B35/0081Equipment which can travel along the length of a lifeline, e.g. travelers

Definitions

  • One type of system includes a cable and a traveler that moves along the cable in either direction.
  • a lanyard typically interconnects the traveler and the worker’s safety harness. Should a fall occur, the traveler engages the cable and limits the fall. It may be difficult to determine whether the traveler is installed correctly on the cable, and it is important that the traveler is installed correctly so that it functions as designed should a fall occur.
  • a cable traveler in one embodiment, includes a housing, a main assembly and an anti-inversion pawl.
  • the housing forms at least one cable guide passage.
  • the main assembly is pivotally coupled to the housing.
  • the main assembly configured and arranged to have an open configuration that allows a cable to be positioned within the at least one cable guide passage and a closed configuration that engages the cable in the at least one cable guide passage.
  • the anti-inversion pawl is configured and arranged to selectively restrict movement of the main assembly when the housing is in an inverted orientation.
  • the cable traveler includes a housing, a control arm, a main assembly and a plunger.
  • the housing forms at least one cable guide passage.
  • the control arm is pivotally coupled to the housing.
  • the control arm has an attachment eye that is configured and arranged to couple a fall protection system to the cable traveler.
  • the main assembly is pivotally coupled to the housing.
  • the main assembly is configured and arranged to have an open configuration that allows a cable to be positioned within the at least one cable guide passage and a closed configuration that engages the cable in the at least one cable guide passage.
  • the plunger is configured and arranged to selectively restrict movement of main assembly.
  • the plunger includes a main portion, an extending arm stop and a plunger biasing member.
  • the main portion is movably coupled to the housing.
  • the extending arm stop extends from the main portion. Moreover, the extending arm stop is received in a stop slot passage in the housing.
  • the plunger biasing member is configured and arranged to bias the extending arm stop through the stop slot passage in the housing to selectively engage the main assembly.
  • a method of forming a cable traveler in provided.
  • the method includes pivotally coupling a main assembly to a housing.
  • the main assembly is configured and arranged to move between an open configuration that allows a cable to be positioned within a cable guide passage of the housing and a closed configuration that engages the cable in the at least one cable guide passage.
  • the method further includes restricting movement of the main assembly when the housing is in an inverted orientation.
  • Figure 1 is a first side perspective view of a cable traveler of one embodiment of the present invention
  • Figure 2 is an unassembled first side perspective view of the cable traveler of Figure 1;
  • Figure 3A is a first side perspective view of the cable traveler of Figure 1 being initially positioned to mount to a cable;
  • Figure 3B is a first side perspective view of the cable traveler of Figure 1 positioned on the cable in an open configuration
  • Figure 3C is a first side perspective view of the cable traveler of Figure 1 positioned on the cable in a closed configuration
  • Figure 4A is a rear view of the cable traveler of Figure 1 coupled to a portion of a fall protection system of one embodiment of the present invention
  • Figure 4B is a first side view of the cable traveler and portion of a fall protection system of Figure 4A;
  • Figure 5 is a second side view of the cable traveler of Figure 1 in an open configuration
  • Figure 6 is a first side view of the cable traveler of Figure 1 in an open configuration
  • Figure 7 is a first side perspective view of a cable traveler of Figure 1 illustrating an anti-inversion pawl of an embodiment
  • Figure 8 is a first side perspective view of a cable traveler of Figure 1 in an inverted orientation further illustrating the anti-inversion pawl;
  • Figure 9A is a rear view of the cable traveler of Figure 1 right after the cable traveler is positioned in an inverted horizontal orientation;
  • Figure 9B is a rear view of the cable traveler of Figure 1 in the inverted horizontal orientation after the anti-inversion pawl has moved;
  • Figure 10A is a rear view of the cable traveler of Figure 1 right after the cable traveler is positioned in an inverted vertical orientation;
  • Figure 10B is a rear view of the cable traveler of Figure 1 in the inverted vertical orientation after the anti-inversion pawl has moved;
  • Figure 11 is a first side perspective view of a cable traveler of another embodiment of the present invention.
  • Figure 12 is an unassembled first side perspective view of the cable traveler of Figure 11;
  • Figure 13A is a first side perspective view of the cable traveler of Figure 11 being initially positioned to mount to a cable;
  • Figure 13B is a first side perspective view of the cable traveler of Figure 11 positioned on the cable in an open configuration
  • Figure 13C is a first side perspective view of the cable traveler of Figure 11 positioned on the cable in a closed configuration
  • Figure 14A is a rear view of the cable traveler of Figure 11;
  • Figure 14B is a first side view of the cable traveler of Figure 11 in a closed configuration
  • Figure 15 is a second side view of the cable traveler of Figure 11 in an open configuration
  • Figure 16 is a first side view of the cable traveler of Figure 11 in an open configuration
  • Figure 17A is a first side perspective view of the cable traveler of Figure 11 illustrating an anti-inversion pawl of an embodiment
  • Figure 17B is a first side perspective view of a cable traveler illustrating an anti-inversion pawl configuration of another embodiment of the present application
  • Figure 18A is a first side perspective view of the cable traveler of Figure 11 illustrating the anti-inversion pawl in an inverted orientation
  • Figure 18B is a first side perspective view of the cable traveler of Figure 17B illustrating the anti-inversion pawl in an inverted position;
  • Figure 19A is a rear view of the cable traveler of Figure 11 right after the cable traveler is positioned in an inverted horizontal orientation;
  • Figure 19B is a rear view of the cable traveler of Figure 11 in the inverted horizontal orientation after the anti-inversion pawl has moved;
  • Figure 20A is a rear view of the cable traveler of Figure 11 right after the cable traveler is positioned in an inverted vertical orientation;
  • Figure 20B is a rear view of the cable traveler of Figure 11 in the inverted vertical orientation after the anti-inversion pawl has moved;
  • Figure 21 is a partial side view of the cable traveler of Figure 11 illustrating operation of the plunger of one embodiment.
  • Embodiments of the present invention provide a cable traveler that is configured to prevent operation of the cable traveler when the traveler is incorrectly positioned in relation to a cable to which the cable traveler is to be attached.
  • Embodiments employ a main assembly having dynamic parallelogram geometry that allows an open configuration when opposing parallel components are closest to one another and a closed configuration when opposing parallel components are furthest away from one another as discussed further below.
  • the parallelogram geometry is restricted by an anti-inversion pawl as discussed in detail below to prevent the cable traveler from being mounted on a cable incorrectly.
  • an attachment eye is at least partially obstructed when the cable traveler (or the main assembly of the cable traveler) is in the opened configuration to prevent attachment of a safety protection system to the cable traveler until the cable traveler is properly mounted on the cable.
  • a safety protection system to the cable traveler until the cable traveler is properly mounted on the cable.
  • a cable traveler 100 of one embodiment is illustrated.
  • the cable traveler 100 is illustrated in Figure 1 as being in the open position.
  • An example of the cable traveler 100 in a closed position is illustrated in Figure 7.
  • Figure 2 illustrates an unassembled view of the cable traveler 100.
  • the cable traveler 100 is herein described in view of Figures 1 and 2.
  • the cable traveler 100 includes a first body plate 102 and a second body plate 104 that make up a housing 195 of the cable traveler 100.
  • the first body plate 102 and the second body plate 104 are both generally L-shaped.
  • the first body plate 102 includes a first body portion 102a and the second body portion 102b.
  • the first body plate 102 further is described as having a first plate edge 102c and an opposed second plate edge 102d.
  • the second body plate 104 also includes first body portion 104a and a second body portion 104b and a first plate edge 104c and an opposed second plate edge 104d.
  • the first body portion 102a of the first body plate 102 includes an upper connection aperture 107 and a cable aperture 109.
  • the cable aperture 109 is positioned proximate the first edge 102c of the first body plate 102.
  • the second body portion 102b of the first body plate 102 includes a C-shaped lower guide 102e that extends from the second plate edge 102d to form a lower cable guide passage 103.
  • the second body portion 102b of the first body plate 102 further includes a lower connection aperture 111.
  • the first body portion 104a of the second body plate 104 includes a C-shaped upper guide 104e that extends from the second plate edge 104d to form an upper cable guide passage 105.
  • the second body plate 104 includes an upper connection aperture 115 in the first body portion 104a of the second body plate 104 and a lower connection aperture 117 in the second body portion 104b of the second body plate 104.
  • a cable 114 is connected to the first body plate 102 in one embodiment.
  • a first end of the cable is routed through the cable aperture 109 in the first body plate 102.
  • the first end of the cable is folded back on itself and fastened to itself by a first ferrule 116.
  • a second end of the cable in an embodiment is folded back on itself and fastened to itself by a second ferrule 118 to form a cable loop 119.
  • the cable traveler 100 in this embodiment includes a first label 120 and a second label 124.
  • the first label 120 includes a first label aperture 121 and a spaced second label aperture 123.
  • the first label 120 is adhered to the first body plate 102 such that the first label aperture 121 is aligned with the upper connection aperture 107 and the second label aperture 123 is aligned with the lower connection aperture 111 of the first body plate 102.
  • the second label 124 includes a first label aperture 125 and a spaced second label aperture 126.
  • the second label 124 is adhered to the second body plate 104 such that the first label aperture 125 is aligned with the upper connection aperture 115 and the second label aperture 126 is aligned with the lower connection aperture 117 of the second body plate 104.
  • the cable traveler 100 further includes a first arm link 130 and a second arm link 140.
  • the first arm link 130 includes a first end portion 130a and an opposed second end portion 130b.
  • the first end portion 130a is spaced from the second end portion 130b via an elongated mid-portion 130c.
  • the first end portion 130a of the first arm link 130 includes a first arm aperture 131 and the second end portion 130b of the first arm link 130 includes a second arm aperture 133.
  • the mid-portion 130c of the first arm link 130 includes a first arm receiving slot 135. Positioned between the first arm receiving slot 135 and the first arm aperture 131 is a biasing end holding aperture 137.
  • both the first end portion 130a and the second end portion 130b of the first arm link 130 terminate in rounded edges.
  • the second arm link 140 includes a first end portion 140a and an opposed second end portion 140b.
  • the first end portion 140a is spaced from the second end portion 140b via an elongated mid-portion 140c.
  • the first end portion 140a of the second arm link 140 includes a first arm aperture 141 and the second end portion 140b of the second arm link 140 includes a second arm aperture 143.
  • the mid-portion 140c of the second arm link 140 near the first end portion 140a includes a second arm receiving passage 145.
  • both the first end portion 140a and the second end portion 140b of the second arm link 140 terminate in rounded edges.
  • the second end portion 140b includes an extending lobe blocking portion 146.
  • the cable traveler 100 also includes a first cam arm 150 and a second cam arm 160.
  • the first cam arm 150 includes a first end portion 150a that terminates in a rounded edge and an opposed second end portion 150b that also terminates in a rounded edge. Between the first end portion 150a and the second end portion 150b is an elongated mid-portion 150c.
  • the first cam arm 150 further includes a first edge 150d and an opposed second edge 150e. The first edge 150d and the second edge 150e extend between the first end portion 150a and the second end portion 150b.
  • the first edge 150d of the first cam arm 150 includes a cut out section 156 proximate the mid-portion 150c.
  • the first cam arm 150 further has a stop protrusion 158 extending out from the first edge 150d near the second end portion 150b.
  • the first cam arm 150 includes a first aperture 151 in the first end portion 150a, a second aperture 153 in the mid-portion 150c proximate the first end portion 150a, a third aperture 157 in the mid-portion 150c proximate the second end portion 150b and a fourth aperture 159 in the second end portion 150b.
  • the second cam arm 160 includes a first end portion 160a that terminates in a rounded edge and an opposed second end portion 160b that also terminates in a rounded edge. Between the first end portion 160a and the second end portion 160b is an elongated mid-portion 160c.
  • the second cam arm 160 includes a first aperture (not shown) in the first end portion 160a, a second aperture 161 in the mid-portion 160c proximate the first end portion 160a, a third aperture 163 in the mid-portion 160c proximate the second end portion 160b, a fourth aperture 165 in the second end portion 160b and a biasing end holding aperture 167 positioned proximate the third aperture 163.
  • the first aperture in the second cam arm 160 is aligned with the first aperture 151 of the first cam arm 150.
  • the cable traveler 100 also includes a control arm 170.
  • the control arm 170 in one embodiment, is made from an energy absorbing deformable elongated member.
  • the control arm 170 includes a first end portion 172a that has an attachment eye 171 and a second end portion 172b that has a first aperture 174.
  • the control arm 170 further includes a first arm portion 170a, a second arm portion 170b and a third arm portion 170c that are initially folded up near each other. During a fall event, the first arm portion 170a, the second arm portion 170b and the third arm portion 170c straighten out in relation to each other to absorb energy.
  • a first face portion 173 of the first end portion 172a of the first arm portion 170a engages a second face portion 175 of the second arm portion 170b.
  • a select amount of force is needed to disengage the first face portion 173 of the first arm portion 170a from the second face portion 175 of the second arm portion 170b.
  • the control arm 170 further includes a second aperture 176 proximate the second arm portion 170b and the third arm portion 170c.
  • the cable traveler 100 further includes an anti-inversion pawl 180.
  • the anti-inversion pawl 180 includes a base portion 180a that in one embodiment is generally triangularly shaped and a catch portion 180b that extends from the base portion 180a.
  • the catch portion 180b includes a first stop wall 182 and a spaced second stop wall 183 that define a catch area 181 there between.
  • a biasing member 190 having a first end 190a, a second end 190b and a coiled portion 190c.
  • a first rivet pin 202 received within the first aperture 151 of the first cam arm 150 and the first aperture (not shown) of the second cam 160 and a second rivet pin 204 received in the third aperture 157 of the first cam arm 150 and the third aperture 163 of the second cam arm 160 to couple the first cam arm 150 to the second cam arm 160.
  • a first rivet 206 having a central portion 206a with a first diameter is received within the second aperture 153 of the first cam arm 150 and the second aperture 161 of the second cam arm 160.
  • a first end portion 206b of the first rivet 206 having a second smaller diameter is received within the upper connection aperture 107 of the first body plate 102 and the first label aperture 121 of the first label 121.
  • a first washer 220 is positioned around the first end portion 206b of the first rivet 206 between the first body plate 102 and the first cam 150.
  • a second end portion 206c of the first rivet 206 having the second smaller diameter is received with the upper connection aperture 115 of the second body plate 104 and the second label aperture 125 of the second label 124.
  • a second washer 222 is positioned around the second end portion 206c of the first rivet 206 between the second body plate 104 and the second cam arm 160.
  • a second rivet 208 having a central portion 208a of a first diameter is received within the fourth aperture 159 of the first cam 150 and the fourth aperture 165 of the second cam 160.
  • a first end portion 208b of the second rivet 208 having a second smaller diameter is received within the first arm aperture 131 of the first arm link 130 and a second end portion 208c of the second rivet 208 having the second smaller diameter is received within the first arm aperture of the second arm link 140.
  • the coiled portion 190c of the biasing member 190 is received around the central portion 208a of the second rivet 208 and within the fourth aperture 159 of the first cam 150.
  • first end 190a of the biasing member 190 is received within the biasing end holding aperture 137 of the first arm link 130 while the second end 190b of the biasing member 190 is received within the biasing end holding aperture 167 of the second cam arm 160.
  • the positioning of the biasing member 190 is further illustrated in Figure 7. In one embodiment the biasing member is positioned to assert a biasing force on the first and second can arms 150 and 160 to engage the cable 300.
  • a central portion 210a having a first diameter of a third rivet 210 is received within the first aperture 174 of the control cam 170.
  • a first end portion 210b of the third rivet 210 having a second smaller diameter is received within the lower connection aperture 111 of the first body plate 102 and the second label aperture 123 of the first label 121.
  • a third washer 224 is positioned around the first end portion 210b of the third rivet 210 between the first body plate 102 and the control arm 170.
  • a second end portion 210c of the third rivet 210 having the second smaller diameter is received within the lower connection aperture 117 of the second body plate 104 and the second label aperture 126 of the second label 124.
  • a fourth washer 226 is positioned around the second end portion 210c of the third rivet 210 between the second body plate 104 and the control arm 170.
  • a fourth rivet 212 having a central portion 212a with a first diameter is received within the second aperture 176 of the control cam 170.
  • a first end portion 212b of the fourth rivet 212 having a second smaller diameter than the first diameter is received within the second arm aperture 133 of the first arm link 130.
  • a fifth washer 228 is positioned around the first end portion 212b of the fourth rivet 212 between the first arm link 130 and the control arm 170.
  • a second end portion 212c of the fourth rivet 212 having the second smaller diameter is received within the second arm aperture 143 of the second arm link 140.
  • a sixth washer 230 is positioned around the second end portion 212c of the fourth rivet 212 between the second arm link 140 and the control arm 170.
  • the anti-inversion pawl 180 is slidably held within the first arm receiving slot 135 of the first arm link 130 and the second arm receiving passage 145 of the second arm link 140.
  • a portion of the base portion 180a of the anti-inversion pawl 180 is slidably received within the first arm receiving slot 135 of the first arm link 130 and the catch portion 180b of the anti-inversion pawl 180 is slidably received within the second arm receiving passage 145 of the second arm link 140.
  • at least one of the stop walls 182 and 183 retain the catch portion 180b of the anti-inversion pawl 180 in the second arm receiving passage 145 of the second arm link 140.
  • the cable traveler 100 is designed to have a main assembly 196 having a dynamic parallelogram geometry (four components and four pivot points).
  • Four components that make up the main assembly 196 include the first and second arm links 130 and 140 and the first and second cam arms 150 and 160.
  • the four pivot points are created by rivets 206, 208, 210 and 212.
  • the cable traveler 100 is in an open configuration when the opposing parallel components (the first and second arm links 130 and 140 and the first and second cam arms 150 and 160) are closest to each other and is in a closed configuration when the opposing parallel components (the first and second arm links 130 and 140 and the first and second cam arms 150 and 160) are the farthest away from each other.
  • FIG. 3A An example of engaging the cable traveler 100 to a cable 300 in the correct orientation is illustrated in Figures 3A-3C.
  • the cable traveler 100 is in the closed open configuration.
  • the cable traveler 100 is tilted so the cable 300 can be received in a cable entry passage 101 that is positioned between the upper guide 104e of the second body plate 104 and the lower guide 102e of the first body plate 102.
  • access to the upper cable guide passage 105 formed by the upper guide 104e faces upward. In this position, the cable traveler 100 can be correctly mounted on the cable 300.
  • Figure 3B illustrates the cable traveler 100 being rotated so the cable 300 is received in the lower cable guide passage 103 of the first body plate 102 and the upper cable guide passage 105 of the second body plate 104.
  • the cable traveler 100 is still in the open configuration.
  • Figure 3C illustrates the activation of the cable travel 100 to engage the cable 300.
  • Figure 3C illustrates the cable traveler 100 in the closed configuration. In this configuration the first end portion 150a of the first cam arm 150 and the first end portion 160a of the second cam arm 160 engage the cable 300 in the upper guide 104e of the housing 195 while the second end portion 172b of the control arm 170 also engages the cable 300 in the lower guide 102e of the housing 192.
  • a fall protection system can then be attached to the attachment eye 171 of the control arm 170. If fall event occurs, the force on control arm 170 will force the first end portion 150a of the first cam arm 150 and the first end portion 160a of the second cam arm 160 as well as the second end portion 172b of the control arm 170 into the cable 300 to arrest the fall.
  • the portion of the fall prevention system includes a first carabiner 320 that is coupled to the control arm 170, a link 324 and a second carabiner 322 that is coupled to the link 324.
  • the second carabiner 322 would be in turn coupled to a safety harness (not shown) donned by a user via a D-ring, lanyard, lifeline, etc.
  • the cable 114 is coupled between the first body plate 102 and the first carabiner 320.
  • Designs of embodiments of the cable traveler 100 include features that prevent its use until it is properly attached to the cable 300.
  • the cable traveler 100 is designed to lock the geometry of the main assembly 196 in the closed configuration when the cable traveler 100 is inverted (incorrect orientation).
  • the anti-inversion pawl 180 prevents the cable traveler from re-closing (i.e. being positioned in the closed configuration). Further, the attachment eye 171 is obstructed so a fall protection system cannot be coupled to the cable traveler.
  • a first side view in Figure 6 also illustrates the lobe blocking portion 146 of the second arm link 140 at least partially blocking the attachment eye 171 of the control arm 170 when the cable traveler is in the open configuration.
  • the opening and the closing of the cable traveler 100 is selectively restricted by the anti-inversion pawl 180 selectively engaging the stop protrusion 158 on the first cam arm 150.
  • the pawl 180 is weighted to avoid the stop protrusion 158 and the cable traveler 100 can be opened and closed.
  • the cable traveler 100 illustrated in an upright position is provided.
  • the first arm link 130 is provided in phantom lines to illustrate the position of the floating anti-inversion pawl 180 when the cable link is in this orientation.
  • the anti-inversion pawl 180 in this orientation is weighted to be pointed towards the second arm link 140 therein creating clearance from the stop protrusion 158 on the first cam arm 150.
  • the cable traveler 100 in this configuration is free to be opened (i.e. free to configure the cable traveler 100 in the open configuration) which will allow the cable 300 to be inserted in the upper and lower cable guide passages 103 and 105 of the cable traveler as discussed above in regards to Figures 3A through 3C.
  • Figure 7 an illustration of the cable traveler 100 being inverted is illustrated.
  • the first arm link 130 is provided in phantom lines to illustrate the position of the anti-inversion pawl 180.
  • the shape and weight of the anti-inversion pawl 180 causes the anti-inversion pawl 180 to be positioned toward the first arm link 130. In this position, as illustrated, a portion of the anti-inversion pawl 180 engages the stop protrusion 158 of the first cam arm 150. This prevents the cable traveler 100 from being opened (changed to the open orientation). Hence, the cable 100 could not be positioned within the upper cable guide passage 105 thereby preventing the connection of the cable traveler from begin coupled to the cable 300 in the inverted orientation.
  • FIG. 9A illustrates the position of the anti-inversion pawl 180 as the cable traveler is initially positioned in the inverted horizontal position.
  • Figure 9B illustrates how the shape and weight of the anti-inversion pawl 180 causes the anti-inversion pawl 180 to slide within the first arm receiving slot 135 of the first arm 130 and the second arm receiving passage 145 of the second arm link 140 to be positioned to prevent movement of the stop protrusion 158 of the first cam arm 150.
  • the dynamic parallelogram geometry of the main assembly 196 (four components and four pivot points) made up of the first and second arm links 130 and 140 and the first and second cam arms 150 and 160 cannot pivot along the four pivot points created by rivets 206, 208, 210 and 212 to position the cable traveler 100 in the open configuration.
  • Figures 10A and 10B Rear views of the cable traveler 100 in an inverted vertical orientation are illustrated in Figures 10A and 10B.
  • Figures 10A and 10B illustrate the movement of the anti-inversion pawl 180 when the cable traveler 100 is vertically inverted.
  • Figure 10A illustrates the position of the anti-inversion pawl 180 as the cable traveler 100 is initially positioned in the inverted vertical position.
  • Figure 10B illustrates how the weight and the shape of anti-inversion pawl 180 causes the anti-inversion pawl 180 to slide within the first arm receiving slot 135 of the first arm 130 and the second arm receiving passage 145 of the second arm link 140 to be positioned to engage the stop protrusion 158 of the first cam arm 150.
  • the dynamic parallelogram geometry of the main assembly 196 (four components and four pivot points) made up of the first and second arm links 130 and 140 and the first and second cam arms 150 and 160 cannot pivot along the four pivot points created by rivets 206, 208, 210 and 212 to position the cable traveler in the open orientation.
  • the anti-inversion pawl 180 falls and rotates across a path of the stop protrusion 158 of the first cam arm 150 therein preventing the cable traveler 100 from being opened and therefore preventing the cable traveler 100 from being mounted on the cable 300.
  • the positioning of the anti-inversion pawl 180 will engage another side of the stop protrusion 158 therein preventing the cable traveler 100 from being closed to the closed configuration. This will make it apparent to the user that the cable traveler 100 is not attached properly to the cable 300.
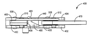
  • a cable traveler 400 of another embodiment is illustrated.
  • the cable traveler 400 in Figure 11 is illustrated as being in the closed position.
  • An example of the cable traveler 400 in an open position is illustrated in Figure 17.
  • Figure 12 illustrates an unassembled view of the cable traveler 400.
  • the cable traveler 400 is herein described in view of Figures 11 and 12.
  • the cable traveler 400 includes a first body plate 402 and a second body plate 404 that make up a housing 495 of the cable traveler 400.
  • the first body plate 402 and the second body plate 404 are both generally L-shaped in this embodiment.
  • the first body plate 402 includes a first body portion 402a and the second body portion 402b.
  • the first body plate 402 further is described as having a first plate edge 402c and an opposed second plate edge 402d.
  • the second body plate 404 also includes first body portion 404a and a second body portion 404b and a first plate edge 404c and an opposed second plate edge 404d.
  • the first body portion 402a of the first body plate 402 includes an upper connection aperture 407.
  • the second body portion 402b of the first body plate 402 includes a C-shaped lower guide 402e that extends from the second plate edge 402d to form a lower cable guide passage 403.
  • the second body portion 402b of the first body plate 402 further includes a lower connection aperture 411.
  • the first body portion 404a of the second body plate 404 includes a C-shaped upper guide 404e that extends from the second plate edge 404d to form an upper cable guide passage 405.
  • the second body plate 404 includes an upper connection aperture 415 in the first body portion 404a of the second body plate 404 and a lower connection aperture 417 in the second body portion 404b of the second body plate 404.
  • the cable traveler 400 in this embodiment includes a first label 420 and a second label 424.
  • the first label 420 includes a first label aperture 421 and a spaced second label aperture 423.
  • the first label 420 is adhered to the first body plate 402 such that the first label aperture 421 is aligned with the upper connection aperture 407 and the second label aperture 423 is aligned with the lower connection aperture 411 of the first body plate 402.
  • the second label 424 includes a first label aperture 425 and a spaced second label aperture 426.
  • the second label 424 is adhered to the second body plate 404 such that the first label aperture 425 is aligned with the upper connection aperture 415 and the second label aperture 426 is aligned with the lower connection aperture 417 of the second body plate 404.
  • the cable traveler 400 further includes a first arm link 430 and a second arm link 440.
  • the first arm link 430 includes a first end portion 430a and an opposed second end portion 430b.
  • the first end portion 430a is spaced from the second end portion 430b via an elongated mid-portion 430c.
  • the first end portion 430a of the first arm link 430 includes a first arm aperture 431 and the second end portion 430b of the first arm link 430 includes a second arm aperture 433.
  • the mid-portion 430c of the first arm link 430 includes a first arm receiving slot 435. Positioned between the first arm receiving slot 435 and the first arm aperture 431 is a biasing end holding aperture 437.
  • both the first end portion 430a and the second end portion 430b of the first arm link 430 terminate in rounded edges.
  • the second arm link 440 includes a first end portion 440a and an opposed second end portion 440b.
  • the first end portion 440a is spaced from the second end portion 440b via an elongated mid-portion 440c.
  • the first end portion 440a of the second arm link 440 includes a first arm aperture 441 and the second end portion 440b of the second arm link 440 includes a second arm aperture 443.
  • the mid-portion 440c of the second arm link 440 near the first end portion 440a includes a second arm receiving passage 445.
  • both the first end portion 440a and the second end portion 440b of the second arm link 440 terminate in rounded edges.
  • the cable traveler 400 also includes a first cam arm 450 and a second cam arm 460.
  • the first cam arm 450 includes a first end portion 450a that terminates in a rounded edge and an opposed second end portion 450b that also terminates in a rounded edge. Between the first end portion 450a and the second end portion 450b is an elongated mid-portion 450c.
  • the first cam arm 450 further includes a first edge 450d and an opposed second edge 450e.
  • the first edge 450d and the second edge 450e extend between the first end portion 450a and the second end portion 450b.
  • the first edge 450d of the first cam arm 450 includes a cut out section 456 proximate the mid-portion 450c.
  • the first cam arm 450 further has a stop protrusion 458 extending out from the first edge 450d near the second end portion 450b.
  • the first cam arm 450 includes a first aperture 451 in the first end portion 450a, a second aperture 453 in the mid-portion 450c proximate the first end portion 450a, a third aperture 457 in the mid-portion 450c proximate the second end portion 450b and a fourth aperture 459 in the second end portion 450b.
  • the second cam arm 460 includes a first end portion 460a that terminates in a rounded edge and an opposed second end portion 460b that also terminates in a rounded edge. Between the first end portion 460a and the second end portion 460b is an elongated mid-portion 460c.
  • the second cam arm 460 includes a first aperture 462 in the first end portion 460a, a second aperture 461 in the mid-portion 460c proximate the first end portion 460a, a third aperture 463 in the mid-portion 460c proximate the second end portion 460b, a fourth aperture 465 in the second end portion 460b and a biasing end holding aperture 467 positioned proximate the third aperture 463.
  • the first aperture in the second cam arm 460 is aligned with the first aperture 451 of the first cam arm 450.
  • the cable traveler 400 also includes a control arm 470.
  • the control arm 470 in this embodiment, is made from an energy absorbing deformable elongated member.
  • the control arm 470 includes a first end portion 472a that has an attachment eye 471 and a second end portion 472b that has a first aperture 474.
  • the control arm 470 further includes a first arm portion 470a, a second arm portion 470b and a third arm portion 470c that are initially folded up near each other. During a fall event, the first arm portion 470a, the second arm portion 470b and the third arm portion 470c straighten out in relation to each other to absorb energy.
  • a first face portion 473a of the first end portion 472a of the first arm portion 470a engages a second face portion 473b of the second arm portion 470b.
  • a select amount of force is needed to disengage the first face portion 473a of the first arm portion 470a from the second face portion 473b of the second arm portion 470b.
  • a first face portion 475a of the second arm portion 470b engages a second face portion 475b of the third arm portion 470c.
  • a select amount of force is needed to disengage the first face portion 475a of the second arm portion 470b from the second face portion 475b of the third arm portion 470c.
  • the control arm 470 further includes a second aperture 476 proximate the second arm portion 470b and the third arm portion 470c.
  • the cable traveler 400 further includes an anti-inversion pawl 480.
  • the anti-inversion pawl 480 includes a base portion 480a that in one embodiment is generally triangularly shaped and a catch portion 480b that extends from the base portion 480a.
  • the catch portion 480b includes a first stop wall 482 and a spaced second stop wall 483 that define a catch area 481 there between.
  • a biasing member 490 having a first end 490a, a second end 490b and a coiled portion 490c.
  • a plunger assembly 600 also included in this embodiment is a plunger assembly 600.
  • the plunger assembly 600 provides an additional safety feature for the cable traveler 400.
  • the plunger assembly 600 is designed to prevent the cable traveler 400 from being positioned in an open configuration without manipulation of the plunger assembly 600 as discussed in detail further below.
  • the plunger assembly 600 includes a plunger 606 with a tubular main portion 606a and an extending arm stop 606b.
  • the extending arm stop 606b extends from an end of the main portion 606a.
  • the extending arm stop 606b is received within a stop slot passage 611 that extends through the first body portion 402a of the first body plate 402.
  • the plunger assembly 600 further includes a mounting rod 602.
  • the mounting rod 602 includes a head end 602a, a mid-portion 602b and a second end portion 602c.
  • the second end portion 602c is received within a plunger aperture 613 in the first body portion 402a of the first body plate 402 proximate the stop slot passage 611.
  • a holding cap 602d coupled to a terminal end of the second end portion 602c of the mounting rod 602 couples the mounting rod 602 to the first body plate 402.
  • the main portion 606a of the plunger 606 further includes a bias cavity 607 that leads to a smaller rod passage (not shown). At least the mid-portion 602b of the mounting rod 602 is received in the bias cavity 607 of the plunger 606 with the mounting rod 602 passing through the smaller rod passage.
  • a biasing member 604 is received around the mid-portion 602b of the mounting rod 602 and within the bias cavity 607 of the plunger 606.
  • the biasing member 604 has a fist end that engages the head end 602a of the mounting rod 602.
  • the biasing member 604 has a second end that engages an inner surface (not shown) within the bias cavity 607 of the plunger 606.
  • the biasing member 604 positioned in this manner asserts a biasing force on the plunger 606 to force the extending arm stop 606b into and through the stop slot passage 611 of the first body plate 402.
  • the extending arm stop 606b when extending through the stop slot passage 611 of the first body plate 402 restricts movement of the first arm cam 450. This provides a safety feature as described in detail below.
  • a first rivet pin 502 received within the first aperture 451 of the first cam arm 450 and the first aperture 462 of the second cam arm 460 and a second rivet pin 504 received in the third aperture 457 of the first cam arm 450 and the third aperture 463 of the second cam arm 460 to operationally couple the first cam arm 450 to the second cam arm 460.
  • a first rivet 506 having a central portion 506a with a first diameter is received within the second aperture 453 of the first cam arm 450 and the second aperture 461 of the second cam arm 460.
  • a first end portion 506b of the first rivet 506 having a second smaller diameter is received within the upper connection aperture 407 of the first body plate 402 and the first label aperture 421 of the first label 420.
  • a first washer 521 is positioned around the first end portion 506b of the first rivet 506 between the first body plate 402 and the first cam arm 450.
  • a second end portion 506c of the first rivet 506 having the second smaller diameter is received with the upper connection aperture 415 of the second body plate 404 and the second label aperture 425 of the second label 424.
  • a second washer 522 is positioned around the second end portion 506c of the first rivet 506 between the second body plate 404 and the second cam arm 460.
  • a second rivet 510 having a central portion 510a of a first diameter is received within the fourth aperture 459 of the first cam 450 and the fourth aperture 465 of the second cam 460.
  • a first end portion 510b of the second rivet 510 having a second smaller diameter is received within the first arm aperture 431 of the first arm link 430 and a second end portion 510c of the second rivet 510 having the second smaller diameter is received within the first arm aperture 441 of the second arm link 440.
  • the coiled portion 490c of the biasing member 490 is received around the central portion 510a of the second rivet 510 and within the fourth aperture 459 of the first cam arm 450.
  • first end 490a of the biasing member 490 is received within the biasing end holding aperture 437 of the first arm link 430 while the second end 490b of the biasing member 490 is received within the biasing end holding aperture 467 of the second cam arm 460.
  • the positioning of the biasing member 490 is further illustrated in Figure 17. In one embodiment the biasing member is positioned to assert a biasing force on the first and second cam arms 450 and 460 to engage the cable 650.
  • a central portion 508a having a first diameter of a third rivet 508 is received within the first aperture 474 of the control arm 470.
  • a first end portion 508b of the third rivet 508 having a second smaller diameter is received within the lower connection aperture 411 of the first body plate 402 and the second label aperture 423 of the first label 421.
  • Third, fourth and fifth washers 524a, 524b and 524c are positioned around the first end portion 508b of the third rivet 508 between the first body plate 402 and the control arm 470.
  • a second end portion 508c of the third rivet 508 having the second smaller diameter is received within the lower connection aperture 417 of the second body plate 404 and the second label aperture 426 of the second label 424.
  • Sixth, seventh and eighth washers 526a, 526b and 526c are positioned around the second end portion 508c of the third rivet 508 between the second body plate 404 and the control arm 470.
  • a fourth rivet 512 having a central portion 512a with a first diameter is received within the second aperture 476 of the control arm 470.
  • a first end portion 512b of the fourth rivet 512 having a second smaller diameter than the first diameter is received within the second arm aperture 433 of the first arm link 430.
  • Ninth and tenth washers 528a and 528b are positioned around the first end portion 512b of the fourth rivet 512 between the first arm link 430 and the control arm 470.
  • a second end portion 512c of the fourth rivet 512 having the second smaller diameter is received within the second arm aperture 443 of the second arm link 440.
  • Eleventh and twelfth washers 530a and 530b are positioned around the second end portion 512c of the fourth rivet 512 between the second arm link 440 and the control arm 470.
  • the anti-inversion pawl 480 is slidably held within the first arm receiving slot 435 of the first arm link 430 and the second arm receiving passage 445 of the second arm link 440.
  • a portion of the base portion 480a of the anti-inversion pawl 480 is slidably received within the first arm receiving slot 435 of the first arm link 430 and the catch portion 480b of the anti-inversion pawl 480 is slidably received within the second arm receiving passage 445 of the second arm link 440.
  • at least one of the stop walls 482 and 483 retain the catch portion 480b of the anti-inversion pawl 480 in the second arm receiving passage 445 of the second arm link 440.
  • the cable traveler 400 is designed to have a main assembly 496 having a dynamic parallelogram geometry (four components and four pivot points).
  • Four components that make up the main assembly 496 include the first and second arm links 430 and 440 and the first and second cam arms 450 and 460.
  • the four pivot points are created by rivets 506, 508, 510 and 512.
  • the cable traveler 400 is in a closed configuration when the opposing parallel components (the first and second arm links 430 and 440 and the first and second cam arms 450 and 460) are closest to each other and is in an open configuration when the opposing parallel components (the first and second arm links 430 and 440 and the first and second cam arms 450 and 460) are the farthest away from each other.
  • FIGs 13A-13C An example of engaging the cable traveler 400 to a cable 650 in the correct orientation is illustrated in Figures 13A-13C.
  • the cable traveler 400 is in the open configuration. The opened configuration is used when mounting the cable traveler 400 to the cable 650.
  • the first end portions 450a and 460a of the respective first and second cam arms 450 and 460 are moved away from access areas to the lower cable guide passage 403 and upper cable guide passage 405 formed by the first body plate 402 and the second body plate 404.
  • the cable traveler 400 is tilted so the cable 650 can be received in a cable entry passage 401 that is positioned between the upper guide 404e of the second body plate 404 and the lower guide 402e of the first body plate 402.
  • access to the upper cable guide passage 405 formed by the upper guide 404e faces upward.
  • the cable traveler 400 can be correctly mounted on the cable 650.
  • the plunger 606 is pulled outward relative to the first body plate 402 to counter the bias force of the biasing member 604 to clear the extending arm stop 606b of the plunger 606 from engaging an edge of the first cam arm 450.
  • Figure 13B illustrates the cable traveler 400 being rotated so the cable 650 is received in the lower cable guide passage 403 of the first body plate 402 and the upper cable guide passage 405 of the second body plate 404.
  • the cable traveler 400 is still in the open configuration with the plunger 606 in the pulled out position in relation to the first body plate 402. This is caused by the extending arm stop 606b of the plunger 606 engaging a surface of mid-portion of the first cam arm 450.
  • Figure 13C illustrates the activation of the cable traveler 400 to engage the cable 650.
  • Figure 3C illustrates the cable traveler 400 in the closed configuration.
  • first end portion 450a of the first cam arm 450 and the first end portion 460a of the second cam arm 460 engage the cable 650 in the upper guide 404e of the housing 495.
  • the second end portion 472b of the control arm 470 engages the cable 650 in the lower guide 402e of the housing 495.
  • a fall protection system can then be attached to the carabiner 520 that is attached to the attachment eye 471 of the control arm 470. If fall event occurs, the force on control arm 470 will force the first end portion 450a of the first cam arm 450 and the first end portion 460a of the second cam arm 460 as well as the second end portion 472b of the control arm 470 into the cable 650 to arrest the fall.
  • the plunger 606 is no longer in the pulled out position. Since the first arm cam 450 has moved, the biasing member 604 is now free to force the extending arm stop 606b through the stop slot passage 611 of the first body plate 402. In this position, the extending arm stop 606b restricts movement of the first arm cam 450 so the cable traveler 400 cannot be positioned in the open configuration thereby preventing an unintentional disengaging of the cable traveler 400 from the cable 650.
  • Figures 14A and 14B further illustrate different views of the cable traveler 400 and carabiner 520.
  • Figure 14A is a rear view of the cable traveler 400
  • Figure 14B is a first side view of the cable traveler 400 in the closed configuration.
  • the carabiner 520 would be coupled to a fall arrest system that was connected to a user.
  • Figure 15 illustrates a second side view of the cable traveler 400 in the open configuration.
  • Figure 16 illustrates a first side view of the cable traveler 400 in the open configuration.
  • Designs of embodiments of the cable traveler 400 include features that prevent its use until it is properly attached to the cable 650.
  • the cable traveler 400 is designed to lock the geometry of the main assembly 496 in the closed configuration when the cable traveler 400 is inverted (incorrect orientation).
  • the anti-inversion pawl 480 prevents the cable traveler 400 from re-closing (i.e. being positioned in the closed configuration).
  • the extending arm stop 606b restricts movement of the first arm cam 450 so the cable traveler 400 cannot be changed from the closed configuration to the open configuration without the plunger 606 of the plunger assembly 600 being pulled out in relation to the first body plate 402 for an additional safety feature.
  • the opening and the closing of the cable traveler 400 is selectively restricted by the anti-inversion pawl 480 and the plunger 606 of the plunger assembly 600 in this embodiment.
  • the anti-inversion pawl 480 selectively engages the stop protrusion 458 on the first cam arm 450.
  • the anti-inversion pawl 480 is weighted to avoid the stop protrusion 458 and the cable traveler 400 can be opened and closed, provided the plunger 606 is pulled back.
  • the cable traveler 400 illustrated in an upright position is provided.
  • the first arm link 430 is provided in phantom lines to illustrate the position of the floating anti-inversion pawl 480 when the cable link is in this orientation.
  • the anti-inversion pawl 480 in this orientation is weighted to be positioned towards the second arm link 440 therein creating clearance from the stop protrusion 458 on the first cam arm 450.
  • the cable traveler 400 in this orientation is free to be opened (provided the plunger 606 has been pulled back) which will allow the cable 650 to be inserted in the upper and lower cable guide passages 405 and 403 of the cable traveler 400 as discussed above in regards to Figures 13A through 13C.
  • Figure 18A an illustration of the cable traveler 400 being inverted is illustrated.
  • the first arm link 430 is provided in phantom lines to illustrate the position of the anti-inversion pawl 480.
  • the weight of the anti-inversion pawl 480 positions the anti-inversion pawl 480 toward the first arm link 430.
  • a portion of the anti-inversion pawl 480 engages the stop protrusion 458 of the first cam arm 450. This prevents the cable traveler 400 from being opened (changed to the open orientation).
  • the cable 650 could not be positioned within the upper cable guide passage 405 thereby preventing the cable traveler 400 from being coupled to the cable 650 in the inverted orientation.
  • the stop protrusion 458 also prevents the cable traveler 400 when already in the open configuration when inverted, from being moved into the closed configuration while still inverted.
  • Figures 17B and 18B illustrate yet another embodiment of a cable traveler 700 that has a different anti-inversion pawl configuration.
  • This embodiment does not implement a stop protrusion 458 to selectively engage the anti-inversion pawl 480 as discussed above.
  • the second end portion 450b of the first cam arm 450 includes a stop ledge surface 702.
  • the stop ledge surface 702 is formed by having a first radial portion 704a of the second end portion 450b of the first cam 450 having a first diameter and a second radial portion 704a of the second end portion 450b of the first cam 450 having a second larger diameter.
  • the stop ledge surface 702 being at the junction between the first radial portion 704a and the second radial portion 704b.
  • Figure 18B illustrated the cable traveler 700 in a closed configuration while being inverted. In this orientation the pawl 440 engages the stop ledge surface 702 to prevent the cable traveler 700 already in the closed configuration from being moved into the open configuration. Hence in this orientation, the cable traveler 700 cannot be mounted on a cable.
  • the stop ledge surface design allows the cable traveler 700, if inverted in the open configuration, to be moved into the closed configuration. Accordingly, in either embodiment, a stop member (stop protrusion 458 or stop ledge surface 702) is used to prevent select configuration movements of the cable travelers 400 and 700.
  • FIG. 19A illustrates the position of the anti-inversion pawl 480 as the cable traveler is initially positioned in the inverted horizontal position.
  • Figure 19B illustrates how the weight and the shape of anti-inversion pawl 480 causes the anti-inversion pawl 480 to slide within the first arm receiving slot 435 of the first arm link 430 and the second arm receiving passage 445 of the second arm link 440 to be positioned to prevent movement by engaging the stop protrusion 458 of the first cam arm 450.
  • the dynamic parallelogram geometry of the main assembly 496 (four components and four pivot points) made up of the first and second arm links 430 and 440 and the first and second cam arms 450 and 460 cannot pivot along the four pivot points created by rivets 406, 408, 410 and 412 to position the cable traveler in the open orientation.
  • Figures 20A and 20B Rear views of the cable traveler 400 in an inverted vertical orientation are illustrated in Figures 20A and 20B.
  • Figures 20A and 20B illustrate the movement of the anti-inversion pawl 480 when the cable traveler 400 is vertically inverted.
  • Figure 20A illustrates the position of the anti-inversion pawl 480 as the cable traveler is initially positioned in the inverted vertical position.
  • Figure 20B illustrates how the weight and the shape of anti-inversion pawl 480 causes the anti-inversion pawl 480 to slide within the first arm receiving slot 435 of the first arm link 430 and the second arm receiving passage 445 of the second arm link 440 to be positioned to prevent movement by engagement of the stop protrusion 458 of the first cam arm 450.
  • the dynamic parallelogram geometry of the main assembly 496 (four components and four pivot points) made up of the first and second arm links 430 and 440 and the first and second cam arms 450 and 460 cannot pivot along the four pivot points created by rivets 406, 408, 410 and 412 to position the cable traveler in the open orientation.
  • the anti-inversion pawl 480 falls and rotates across a path of the stop protrusion 458 of the first cam arm 450 therein preventing the cable traveler 400 from being opened and therefore preventing the cable traveler 400 from being mounted on the cable 650.
  • the plunger 606 also prevents cable traveler from being moved from the closed configuration to the open configuration.
  • a partial first side view of the cable traveler 400 illustrating the plunger 606 engaging the first edge 450d of the first cam arm 450 is illustrated in Figure 21. Engagement of the plunger 606 on the first edge 450d of the first cam arm 450 prevents the cable traveler 400 from being moved from the closed configuration to the open configuration.
  • the plunger 606 must be pulled away from the first body plate 402 to counter biasing member 604 therein clearing the extending arm stop 606b of the plunger from the first cam arm 450.
  • Figure 21 further illustrates a third label 720 that is secured on the energy absorbing portion of the control arm 470.

Landscapes

  • Health & Medical Sciences (AREA)
  • General Health & Medical Sciences (AREA)
  • Business, Economics & Management (AREA)
  • Emergency Management (AREA)
  • Details Of Connecting Devices For Male And Female Coupling (AREA)
  • Ropes Or Cables (AREA)
  • Emergency Lowering Means (AREA)
  • Seats For Vehicles (AREA)
  • Lock And Its Accessories (AREA)
PCT/EP2016/054994 2015-03-23 2016-03-09 Cable traveler Ceased WO2016150703A1 (en)

Priority Applications (6)

Application Number Priority Date Filing Date Title
SG11201707836UA SG11201707836UA (en) 2015-03-23 2016-03-09 Cable traveler
CN201680018225.7A CN107635624B (zh) 2015-03-23 2016-03-09 绳索滑行器
JP2017549693A JP6754371B2 (ja) 2015-03-23 2016-03-09 ケーブル移動器
AU2016236501A AU2016236501A1 (en) 2015-03-23 2016-03-09 Cable traveler
KR1020177026674A KR20180034306A (ko) 2015-03-23 2016-03-09 케이블 트래블러
EP16709374.9A EP3274056A1 (en) 2015-03-23 2016-03-09 Cable traveler

Applications Claiming Priority (6)

Application Number Priority Date Filing Date Title
US201562136846P 2015-03-23 2015-03-23
US62/136,846 2015-03-23
US201562245784P 2015-10-23 2015-10-23
US62/245,784 2015-10-23
US201662287210P 2016-01-26 2016-01-26
US62/287,210 2016-01-26

Publications (2)

Publication Number Publication Date
WO2016150703A1 true WO2016150703A1 (en) 2016-09-29
WO2016150703A9 WO2016150703A9 (en) 2016-11-24

Family

ID=55524317

Family Applications (1)

Application Number Title Priority Date Filing Date
PCT/EP2016/054994 Ceased WO2016150703A1 (en) 2015-03-23 2016-03-09 Cable traveler

Country Status (8)

Country Link
EP (1) EP3274056A1 (cg-RX-API-DMAC7.html)
JP (1) JP6754371B2 (cg-RX-API-DMAC7.html)
KR (1) KR20180034306A (cg-RX-API-DMAC7.html)
CN (1) CN107635624B (cg-RX-API-DMAC7.html)
AU (1) AU2016236501A1 (cg-RX-API-DMAC7.html)
SG (1) SG11201707836UA (cg-RX-API-DMAC7.html)
TW (1) TWI725018B (cg-RX-API-DMAC7.html)
WO (1) WO2016150703A1 (cg-RX-API-DMAC7.html)

Cited By (2)

* Cited by examiner, † Cited by third party
Publication number Priority date Publication date Assignee Title
NL2017372B1 (en) * 2016-08-26 2018-03-01 Schuurman Beheer B V A fall arrest traveller
NL2017371B1 (en) * 2016-08-26 2018-03-01 Schuurman Beheer B V A fall arrest traveller

Families Citing this family (3)

* Cited by examiner, † Cited by third party
Publication number Priority date Publication date Assignee Title
CN109529219A (zh) * 2019-01-17 2019-03-29 上海极劢实业有限公司 一种生命线无障碍通行滑块及与其相匹配的生命线支撑座
GB2582587B (en) * 2019-03-26 2023-01-04 Latchways Plc Safety line apparatus
CN113666309A (zh) * 2020-05-13 2021-11-19 安固顺机械科技无锡有限公司 一种吊篮用钢丝绳锁绳器

Citations (3)

* Cited by examiner, † Cited by third party
Publication number Priority date Publication date Assignee Title
DE3510602A1 (de) * 1985-03-23 1986-09-25 Mittelmann & Co Armaturenwerk, 5603 Wülfrath Seilsicherungsklemme
FR2970183A1 (fr) * 2011-01-11 2012-07-13 Tractel Sas Dispositif d'arret automatique de chute pour travailleur en hauteur.
WO2014205479A1 (en) * 2013-06-28 2014-12-31 Capital Safety Group (Australia) Pty Limited Fall arrester

Family Cites Families (13)

* Cited by examiner, † Cited by third party
Publication number Priority date Publication date Assignee Title
JPS5017677Y2 (cg-RX-API-DMAC7.html) * 1971-06-14 1975-05-30
US4034828A (en) * 1975-04-14 1977-07-12 Rose Manufacturing Company Shock absorbing cable connector
US4077094A (en) * 1976-09-17 1978-03-07 Swager William E Clamping device for a rope, cable, annular bar, or the like
US4560029A (en) * 1984-08-29 1985-12-24 Wgm Safety Corp. Security device
CN2152573Y (zh) * 1993-02-27 1994-01-12 徐汉中 微型防坠器
FR2720283B1 (fr) * 1994-04-21 1996-08-23 Froment Sa Appareil anti-chute verrouillage automatiquement sur une corde de sécurité.
GB2293193A (en) * 1994-09-19 1996-03-20 Latchways Ltd Fall arrest device
FR2736273A1 (fr) * 1995-07-03 1997-01-10 Sk Sarl Antichute mobile pour support d'assurage
JP3493157B2 (ja) * 1999-07-07 2004-02-03 藤井電工株式会社 墜落防止用安全器
US20060054386A1 (en) * 2004-09-09 2006-03-16 D B Industries, Inc. Connector for a safety cable
JP2006255301A (ja) * 2005-03-18 2006-09-28 Sanko Industries Co Ltd 墜落防止用安全器
SG176750A1 (en) * 2009-06-12 2012-01-30 Capital Safety Group Australia Pty Ltd Descender with self- acting brake
CN203169853U (zh) * 2013-04-03 2013-09-04 广州市友安消防科技有限公司 便携式可调速缓降器

Patent Citations (3)

* Cited by examiner, † Cited by third party
Publication number Priority date Publication date Assignee Title
DE3510602A1 (de) * 1985-03-23 1986-09-25 Mittelmann & Co Armaturenwerk, 5603 Wülfrath Seilsicherungsklemme
FR2970183A1 (fr) * 2011-01-11 2012-07-13 Tractel Sas Dispositif d'arret automatique de chute pour travailleur en hauteur.
WO2014205479A1 (en) * 2013-06-28 2014-12-31 Capital Safety Group (Australia) Pty Limited Fall arrester

Cited By (2)

* Cited by examiner, † Cited by third party
Publication number Priority date Publication date Assignee Title
NL2017372B1 (en) * 2016-08-26 2018-03-01 Schuurman Beheer B V A fall arrest traveller
NL2017371B1 (en) * 2016-08-26 2018-03-01 Schuurman Beheer B V A fall arrest traveller

Also Published As

Publication number Publication date
CN107635624A (zh) 2018-01-26
SG11201707836UA (en) 2017-10-30
JP2018509237A (ja) 2018-04-05
CN107635624B (zh) 2021-07-09
TW201706011A (zh) 2017-02-16
TWI725018B (zh) 2021-04-21
JP6754371B2 (ja) 2020-09-09
CN107635624A9 (zh) 2018-04-17
WO2016150703A9 (en) 2016-11-24
AU2016236501A1 (en) 2017-11-09
KR20180034306A (ko) 2018-04-04
EP3274056A1 (en) 2018-01-31

Similar Documents

Publication Publication Date Title
WO2016150703A1 (en) Cable traveler
US9636528B2 (en) Rope grab
AU2013292646B2 (en) Rope grab
US20230233889A1 (en) Shock absorber for fall protection locking system
US9322428B2 (en) Locking carabiner
US8584797B2 (en) Fall arrester for a climbing protection system
JP5452506B2 (ja) 複数の安全装置と共に用いるためのシステム及びこれに用いるためのコネクタ
US8348016B2 (en) Descender with fall arrest and controlled rate of descent
US20160101302A1 (en) Snap hook
US8156617B2 (en) Carabiner with anti-cross loading feature
US20140224581A1 (en) Energy Absorber Cover
US20160361577A1 (en) Integral safety harness connector assembly
US20140262610A1 (en) Systems for Assisted Braking Belay with a Lever Disengagement Mechanism
US9993670B2 (en) Lanyard and safety belt including the lanyard
AU2016314035A1 (en) Shuttle device
US9757598B2 (en) Ventral locking device
GB2590609A (en) Remote clipping device
US20180361176A1 (en) Remote Overhead Anchor System
US9771159B1 (en) Multi-ring mechanical release with side activation
KR101589606B1 (ko) 도어 힌지 어셈블리
CN106178295B (zh) 用于特别是消防车辆用的云梯的救援舱的防坠落设备
JP6799299B1 (ja) 安全帯、この安全帯を用いた墜落防止装備及び墜落防止工法
EP4051916B1 (en) Personal fall protection device with openable captive eye and lock mechanism
AU2024259154A1 (en) Connector with a safety gate
GB2441142A (en) Carabiner with first and second hook sections

Legal Events

Date Code Title Description
121 Ep: the epo has been informed by wipo that ep was designated in this application

Ref document number: 16709374

Country of ref document: EP

Kind code of ref document: A1

ENP Entry into the national phase

Ref document number: 20177026674

Country of ref document: KR

Kind code of ref document: A

ENP Entry into the national phase

Ref document number: 2017549693

Country of ref document: JP

Kind code of ref document: A

WWE Wipo information: entry into national phase

Ref document number: 11201707836U

Country of ref document: SG

WWE Wipo information: entry into national phase

Ref document number: MX/A/2017/012193

Country of ref document: MX

NENP Non-entry into the national phase

Ref country code: DE

REEP Request for entry into the european phase

Ref document number: 2016709374

Country of ref document: EP

ENP Entry into the national phase

Ref document number: 2016236501

Country of ref document: AU

Date of ref document: 20160309

Kind code of ref document: A