WO2016104477A1 - 画像処理方法、制御プログラムおよび画像処理装置 - Google Patents

画像処理方法、制御プログラムおよび画像処理装置 Download PDF

Info

Publication number
WO2016104477A1
WO2016104477A1 PCT/JP2015/085776 JP2015085776W WO2016104477A1 WO 2016104477 A1 WO2016104477 A1 WO 2016104477A1 JP 2015085776 W JP2015085776 W JP 2015085776W WO 2016104477 A1 WO2016104477 A1 WO 2016104477A1
Authority
WO
WIPO (PCT)
Prior art keywords
image
pixel
contour
pixels
region
Prior art date
Legal status (The legal status is an assumption and is not a legal conclusion. Google has not performed a legal analysis and makes no representation as to the accuracy of the status listed.)
Ceased
Application number
PCT/JP2015/085776
Other languages
English (en)
French (fr)
Japanese (ja)
Inventor
治郎 津村
藤本 博己
Current Assignee (The listed assignees may be inaccurate. Google has not performed a legal analysis and makes no representation or warranty as to the accuracy of the list.)
Screen Holdings Co Ltd
Original Assignee
Screen Holdings Co Ltd
Priority date (The priority date is an assumption and is not a legal conclusion. Google has not performed a legal analysis and makes no representation as to the accuracy of the date listed.)
Filing date
Publication date
Application filed by Screen Holdings Co Ltd filed Critical Screen Holdings Co Ltd
Publication of WO2016104477A1 publication Critical patent/WO2016104477A1/ja
Anticipated expiration legal-status Critical
Ceased legal-status Critical Current

Links

Images

Classifications

    • HELECTRICITY
    • H04ELECTRIC COMMUNICATION TECHNIQUE
    • H04NPICTORIAL COMMUNICATION, e.g. TELEVISION
    • H04N23/00Cameras or camera modules comprising electronic image sensors; Control thereof
    • H04N23/60Control of cameras or camera modules
    • GPHYSICS
    • G02OPTICS
    • G02BOPTICAL ELEMENTS, SYSTEMS OR APPARATUS
    • G02B21/00Microscopes
    • G02B21/36Microscopes arranged for photographic purposes or projection purposes or digital imaging or video purposes including associated control and data processing arrangements
    • GPHYSICS
    • G02OPTICS
    • G02BOPTICAL ELEMENTS, SYSTEMS OR APPARATUS
    • G02B7/00Mountings, adjusting means, or light-tight connections, for optical elements
    • G02B7/28Systems for automatic generation of focusing signals
    • GPHYSICS
    • G02OPTICS
    • G02BOPTICAL ELEMENTS, SYSTEMS OR APPARATUS
    • G02B7/00Mountings, adjusting means, or light-tight connections, for optical elements
    • G02B7/28Systems for automatic generation of focusing signals
    • G02B7/36Systems for automatic generation of focusing signals using image sharpness techniques, e.g. image processing techniques for generating autofocus signals
    • GPHYSICS
    • G03PHOTOGRAPHY; CINEMATOGRAPHY; ANALOGOUS TECHNIQUES USING WAVES OTHER THAN OPTICAL WAVES; ELECTROGRAPHY; HOLOGRAPHY
    • G03BAPPARATUS OR ARRANGEMENTS FOR TAKING PHOTOGRAPHS OR FOR PROJECTING OR VIEWING THEM; APPARATUS OR ARRANGEMENTS EMPLOYING ANALOGOUS TECHNIQUES USING WAVES OTHER THAN OPTICAL WAVES; ACCESSORIES THEREFOR
    • G03B15/00Special procedures for taking photographs; Apparatus therefor
    • GPHYSICS
    • G03PHOTOGRAPHY; CINEMATOGRAPHY; ANALOGOUS TECHNIQUES USING WAVES OTHER THAN OPTICAL WAVES; ELECTROGRAPHY; HOLOGRAPHY
    • G03BAPPARATUS OR ARRANGEMENTS FOR TAKING PHOTOGRAPHS OR FOR PROJECTING OR VIEWING THEM; APPARATUS OR ARRANGEMENTS EMPLOYING ANALOGOUS TECHNIQUES USING WAVES OTHER THAN OPTICAL WAVES; ACCESSORIES THEREFOR
    • G03B7/00Control of exposure by setting shutters, diaphragms or filters, separately or conjointly
    • G03B7/08Control effected solely on the basis of the response, to the intensity of the light received by the camera, of a built-in light-sensitive device
    • G03B7/091Digital circuits
    • GPHYSICS
    • G06COMPUTING OR CALCULATING; COUNTING
    • G06TIMAGE DATA PROCESSING OR GENERATION, IN GENERAL
    • G06T5/00Image enhancement or restoration
    • G06T5/50Image enhancement or restoration using two or more images, e.g. averaging or subtraction

Definitions

  • the present invention relates to an image processing method, a control program, and an image processing apparatus, and more particularly to a technique for creating an omnifocal image by image processing.
  • Cross-reference to related applications The disclosures in the specification, drawings, and claims of the following Japanese application are incorporated herein by reference in their entirety: Japanese Patent Application No. 2014-265039 (filed on Dec. 26, 2014).
  • a technique for imaging an imaged object and performing image processing is applied to the field of medical treatment and biochemistry, more specifically, for the purpose of observation and analysis of biological samples such as cells cultured in a medium.
  • cells or cell clumps (hereinafter collectively referred to as “cells”) formed by collecting a plurality of cells in a sample that is an imaging object are three-dimensionally distributed in the medium. If it is, it may not be possible to obtain an image focused on the entirety.
  • a plurality of images are captured by varying the focal position in multiple stages along the imaging direction, and only the in-focus portion is extracted from each image and synthesized, so-called Techniques for creating omnifocal images have been proposed.
  • JP 2010-166247 A (for example, paragraph 0030)
  • a focused sample extracted from a plurality of images having different depths of focus is connected to a specimen having a relatively clear edge and texture, and an all-focus image is created.
  • a cell or the like three-dimensionally cultured in a medium does not always have a clear outline and surface texture. For this reason, there is a problem that the internal texture of cells and the like becomes unnatural when joining is performed in units of pixels as in the prior art.
  • the present invention has been made in view of the above problems, and an object of the present invention is to provide an omnifocal image creation technique suitable for a three-dimensionally cultured cell or the like.
  • cells with non-constant sizes and shapes are distributed three-dimensionally, that is, in the imaging direction and in the direction perpendicular to this. It is scattered in various positions in each.
  • Each cell itself also has a spread in the imaging direction and a direction orthogonal thereto.
  • One aspect of the present invention is an image processing method for creating an image of a sample including cells that are three-dimensionally cultured in a medium.
  • the sample is placed at different focal positions in the imaging direction.
  • Another aspect of the present invention is an image processing apparatus that creates an image of a sample including cells that are three-dimensionally cultured in a medium.
  • An image acquisition unit that acquires a plurality of original images obtained by imaging a sample; and an image processing unit that combines the plurality of original images to create a composite image, and the image processing unit includes each of the plurality of original images.
  • the edge strength of the pixels constituting the original image is calculated, the pixel having the highest edge strength is selected from among the pixels corresponding to the same position among the plurality of original images, and the contour of the object is selected from the selected pixels.
  • a contour image corresponding to is specified, and a composite image is created in which pixels extracted from positions corresponding to any one of the regions of the original image are arranged in a region where the position of the contour pixel is the position of the contour. And, moreover, an area surrounded by the outline to create the composite image by placing the pixels extracted the selected pixel from most including one said original image on the region.
  • the edge strengths of pixels corresponding to the same position are compared among a plurality of original images, and the pixel having the highest edge strength is selected. It is considered that the pixel thus selected belonged to the original image obtained by capturing the cell etc. most clearly at the position. That is, at the position, it can be considered that the original image including the selected pixel was captured in a state closest to the in-focus state.
  • a pixel considered to correspond to the contour of the object is specified as a contour pixel representing the contour of a cell or the like.
  • the contour represented by the pixels selected from a plurality of original images with different focal positions is obtained by projecting cells having a spread in a three-dimensional space onto an image plane orthogonal to the imaging direction, that is, a sufficiently large depth of field. This corresponds to the contour when the whole cell or the like is imaged in a focused state by the imaging device having the imaging device. Therefore, the outline of a cell or the like can be represented in a composite image with the same degree of accuracy as an image captured in a focused state.
  • the image content of the region surrounded by the contour thus specified is taken from the original image including the most pixels selected as having the highest edge strength in the region among the original images.
  • the inside of the contour maintains the texture appearing in the single original image, and the original image that is closest to the in-focus state is selected for the region.
  • the pixel having the highest edge strength is selected from among the pixels corresponding to the same position among a plurality of original images, Furthermore, the contour of a cell or the like in the composite image is specified by the contour pixel. Then, the contents of the original image captured in a state in which the region of the original image is closest to the in-focus state are applied inside the contour. For this reason, the texture included in the original image appears as it is in the synthesized image.
  • the composite image thus obtained is an omnifocal image obtained by capturing cells scattered at various positions with good image quality. That is, according to the above invention, an omnifocal image of a sample in which cells are three-dimensionally cultured can be created with good image quality.
  • Another aspect of the present invention is an image processing method for creating an image of a sample including cells that are three-dimensionally cultured in a medium.
  • the image processing method includes the focal points different from each other in the imaging direction.
  • a region extracting step for extracting an object region, and a pixel in the object region extracted from each of the plurality of original images as one image and a position corresponding to the position of the pixel in the original image
  • Another aspect of the present invention is an image processing apparatus that creates an image of a sample including cells that are three-dimensionally cultured in a medium.
  • An image acquisition unit that acquires a plurality of original images obtained by imaging a sample; and an image processing unit that combines the plurality of original images to create a composite image, and the image processing unit includes each of the plurality of original images.
  • the contour pixel corresponding to the contour of the object is specified from the pixels constituting the original image, the object region having the contour pixel as the contour is extracted, and the object region extracted from each of the plurality of original images
  • each of the cells distributed at various positions can be included in any original image in a state close to the focused state. Then, an area surrounded by pixels considered to correspond to the contour of the object in each original image is extracted as the object area.
  • images of the cells and the like are scattered in a relatively uniform background. Therefore, each object region surrounded by pixels having relatively high edge strength is considered to correspond to an image of a cell or the like.
  • the object area detected in the one original image is closest to the in-focus state of the cell etc. It can be said that the probability of including an image captured in a state is high. For this reason, the entire pixels in the object area are applied to the pixels constituting the composite image.
  • the pixel of the object region with the clearest contour is applied to the overlapping region. As a result, an image closest to the in-focus state can be reflected in the composite image.
  • an object region extracted from one original image based on edge strength is extracted from another original image in view of the characteristics of cells and the like that are three-dimensionally cultured in the medium.
  • the pixel in the object area is set as a pixel in the composite image. For this reason, the texture included in the original image appears as it is in the synthesized image.
  • the pixel of the object area with the clearest outline is applied. Thereby, about the cell etc. corresponding to the said object area
  • the overlapping area is selected based on the above-described sharpness, so that, for example, a plurality of cells having different positions in the imaging direction are captured. Even when they are overlapped when viewed from the direction, it is possible to handle the cells on the near side and the cells in the back separately.
  • the synthesized image obtained in this way is an omnifocal image obtained by capturing cells scattered at various positions with good image quality. That is, according to the above invention, an omnifocal image of a sample in which cells are three-dimensionally cultured can be created with good image quality.
  • Still another embodiment of the present invention is a control program for causing a computer to execute any of the image processing methods described above.
  • the above-described image processing method is configured by a combination of processes that can be executed by a computer having a general calculation processing function. Therefore, by causing a computer to execute the control program of the present invention, it is possible to cause the computer to function as an image processing apparatus that executes the above-described image processing method.
  • the “region having the contour pixel as the contour” and the “region having the contour pixel position as the contour position” mean a region substantially surrounded by the pixels to be the contour pixels in the image.
  • the concept includes the region surrounded by the contour obtained by storing the discontinuous contour pixels by an appropriate interpolation method, the region surrounded by the contour and the image edge, and the like It is.
  • FIG. 1 shows typically the problem which may arise when imaging a sample.
  • FIG. 2nd figure shows typically the problem which may arise when imaging a sample.
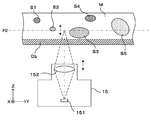
  • FIG. 1 is a diagram showing an embodiment of an imaging apparatus to which an image processing method and an image processing apparatus according to the present invention can be applied.
  • the imaging apparatus 1 includes an imaging unit 10 that images a biological sample carried on a sample container D as an imaging object, and a control unit 20 that controls the imaging unit 10 and performs appropriate image processing on the captured image. I have.
  • the sample handled by the imaging apparatus 1 as an imaging target is one in which cells and cell colonies (cells, etc.) that are a collection thereof are cultured in a medium carried in a sample container D such as a shallow dish type dish. It is.
  • a cell colony forms a spherical agglomeration
  • a cell agglomeration is also called a spheroid.
  • the medium includes, for example, soft agar and a culture solution, and is injected into the sample container D by a predetermined amount. Therefore, a medium layer having a certain thickness is carried on the inner bottom surface of the sample container D.
  • the imaging unit 10 includes a holder 11 that supports the sample container D, an illumination unit 13 that is disposed above the holder 11, and a side opposite to the illumination unit 13 with respect to the sample container D that is supported by the holder 11, that is, the sample container. And an imaging unit 15 disposed below D.
  • the holder 11 supports the sample container D in a substantially horizontal posture.
  • the illumination unit 13 is arranged above the sample container D supported by the holder 11 and irradiates illumination light toward the sample container D.
  • the imaging unit 15 includes an imaging unit 15 that receives the light irradiated from the illumination unit 13 and transmitted through the bottom surface of the sample container D, and images the sample inside the sample container D from below.
  • an XYZ orthogonal coordinate system is set as shown in the figure.
  • the XY plane represents a horizontal plane
  • the Z axis represents a vertical axis.
  • the imaging unit 15 includes a linear image sensor 151, an imaging optical system 152, and a sensor driving unit 17 having a function of horizontally moving them in the Y direction integrally and a function of moving them up and down in the Z direction.
  • the linear image sensor 151 has a large number of minute image pickup devices arranged in the X direction perpendicular to the paper surface of FIG.
  • the imaging optical system 152 has a vertical optical axis, and converges the transmitted light emitted from the bottom surface of the sample container D onto the light receiving surface of the linear image sensor 151.
  • the imaging unit 15 moves in the Y direction along the bottom surface of the sample container D while receiving the transmitted light from the sample container D collected by the imaging optical system 152 by the linear image sensor.
  • the imaging optical system 152 is representatively represented by a single lens, but may be configured by a combination of a plurality of lenses and optical elements.
  • the control unit 20 includes functional blocks such as an input receiving unit 21, a display unit 22, a lighting control unit 23, a storage unit 24, an image processing unit 25, and a movement control unit 26.
  • the illumination control unit 23 controls the operation of the illumination unit 13.
  • the movement control unit 26 controls the sensor driving unit 17 to move the imaging unit 15 in a predetermined direction.
  • the image processing unit 25 executes various image processing based on the image signal output from the imaging unit 15.
  • the storage unit 24 stores and saves image data before and after processing and other various data.
  • the input receiving unit 21 receives an operation instruction input from an operator who operates the imaging apparatus 1.
  • the display unit 22 notifies the operator of the operation status of the system, processing results, and the like as visual information.
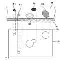
  • FIG. 2A and FIG. 2B are diagrams showing examples of biological samples to be imaged. More specifically, FIGS. 2A and 2B are a side perspective view and a top view, respectively, of a sample container D carrying a biological sample.
  • the biological sample to be imaged by the imaging device 1 is obtained by three-dimensionally culturing cells in a medium M injected into a sample container D called a dish, for example.
  • the medium M is a semi-solid substance injected into the sample container D to a predetermined depth. For example, soft agar is used.
  • a reagent is added to the medium M as necessary, and the cells are seeded and cultured under a predetermined culture condition for a certain period of time to become a biological sample.
  • spheroids S1 to S5 As shown in the figure, as an example of a biological sample, cells grown in the medium M are solidified to form spheroids (cell clumps) S1 to S5. As shown in the figure, each of the spheroids S1 to S5 has a three-dimensional spread in the culture medium M, and its size and shape vary. In particular, if the cells are unstained, the outline is not always clear because it is almost colorless and transparent.
  • the spheroids S1 to S5 are three-dimensionally distributed in various positions in the medium M in the horizontal direction (XY direction) and the vertical direction (Z direction). Since spheroids are distributed three-dimensionally in this way, spheroids may overlap each other depending on the viewing direction. Next, problems in imaging a biological sample having such characteristics will be described.
  • FIG. 3A and FIG. 3B are diagrams schematically showing problems that may occur when imaging a sample.
  • the sample is imaged via the bottom surface Db of the sample container D by the imaging unit 15 disposed below the sample container D.
  • the depth of field of the imaging optical system 152 is not sufficiently large with respect to the depth of the medium M, all spheroids distributed in the depth direction, that is, the vertical direction (Z direction) cannot be brought into the in-focus range. There is.
  • FIG. 3B is a diagram schematically showing an image IM0 when, for example, the focal position of the imaging optical system 152 is set to the depth indicated by the symbol F0 in FIG. 3A.
  • the spheroid S2 whose surface is located at a depth close to the focal position F0 of the imaging optical system 152 is imaged relatively clearly.
  • the spheroids S1 and S4 which are larger than the focal position and deviate from the back side are thin and blurred images.
  • the spheroid S3 protruding toward the front side from the focal position also has an unclear outline. Even with a configuration in which the focal position of the imaging optical system 152 can be changed in the Z direction, it is difficult to simultaneously bring all the spheroids S1 to S5 into the in-focus range.
  • the imaging apparatus 1 performs so-called focus bracket imaging, in which the focal position of the imaging optical system 152 with respect to the sample is changed and set in multiple stages in the Z direction (depth direction) and images are taken each time. Then, the imaging apparatus 1 combines the obtained plurality of original images by image processing, and creates an omnifocal image that is pseudo-focused on spheroids of various depths.
  • FIGS. 4A and 4B are diagrams for explaining examples of images obtained by focus bracket imaging.
  • imaging is performed by changing the focus position of the imaging optical system 152 to five stages F1 to F5 as shown in FIG. 4A.
  • the focal positions F1, F2, F3, F4, and F5 correspond to the focal positions F1, F2, F3, F4, and F5, as shown in FIG. 4B.
  • the symbols Xi and Yi represent the plane coordinates on each image plane as distinguished from the coordinates in the real space.
  • FIG. 5 is a flowchart showing a first method for creating an omnifocal image.
  • 6A to 6C are diagrams showing images created in the course of processing.
  • a plurality of (five in this example) original images IM1 to IM5 having different focal positions are acquired (step S101). More specifically, when the imaging unit 15 performs imaging while changing the focal position in the imaging direction (vertical direction), these original images are acquired.
  • the edge strength of each pixel constituting the original image is calculated (step S102).
  • various known methods or equivalent methods can be used.
  • an edge filter of four connected pixels, a difference filter, a Laplacian filter, or the like can be used.
  • those having a relatively large edge strength value that can be regarded as corresponding to the contour of an image object such as a cell are referred to as “contour pixels”.
  • a pixel whose edge intensity is equal to or greater than a predetermined threshold value can be regarded as a contour pixel.
  • a pixel whose edge intensity difference with respect to surrounding pixels is a predetermined value or more may be used as a contour pixel.
  • the closed area in the image surrounded by the contour pixels is extracted as the object area. That is, the contour pixel represents the contour of the object region.
  • An image with an unclear outline due to the fact that the spheroid deviates greatly from the focal position is not treated as an object area.
  • the object region is not limited to one in which all the contours are formed by continuous contour pixels, and may include a region substantially surrounded by a plurality of contour pixels.
  • a closed region whose contour is a closed curve that interpolates between discontinuous contour pixels by an appropriate interpolation method a closed region surrounded by a contour specified from the contour pixel and the edge of the image, Can be considered.
  • the object region specified by the contour pixel obtained above may be a region smaller than the original spheroid spread due to the unclearness of the contour of the spheroid itself.
  • a region obtained by expanding a region surrounded by contour pixels by one pixel may be set as an object region.
  • a mask image is created from each original image (step S103). Specifically, for each original image, a mask image is created in which the object area extracted from the original image is a transmission pattern. For example, mask images M1 to M5 shown in FIG. 6A are created from the original images IM1 to IM5 shown in FIG. 4B. Each mask image is an image showing the range and position of an object region surrounded by a relatively clear outline in each original image. By applying a corresponding mask image to one original image, an image of an object region having a clear outline can be cut out from the original image.
  • a synthesized image is created by synthesizing images cut out by applying these mask images to corresponding original images.
  • an image of one spheroid may appear over a plurality of original images.
  • an object region corresponding to one spheroid is extracted from a plurality of original images, and as shown by a broken line in FIG. 6A, the transmission patterns appearing in the mask image may overlap on the image plane.
  • a plurality of image candidates to be arranged in the composite image are generated in a portion where the object regions overlap.
  • the sharpness of the contour is introduced as an index indicating the sharpness of the contour of each extracted object region.
  • the definition Sh can be defined by using the edge strength of the contour of each object area as follows, for example. If the object area has a clear outline, the edge strength of the outline that is the boundary between the inside and the outside of the object area in the image is considered to be high. From this, it is possible to express the sharpness by a value obtained by appropriately normalizing the edge strength of the contour. For example, as described below, a pixel having a pixel value corresponding to the edge intensity in the contour can be virtually set, and the optical density value represented by the pixel value of the virtual pixel can be used as the sharpness value.
  • the edge strength is calculated for the virtual pixel thus obtained.
  • Various edge detection filter processes can be applied as the process for obtaining the edge strength.
  • various filter processes such as a Sobel filter, a difference filter, a Prewitt filter, a Roberts filter, and a Laplacian filter can be suitably applied.
  • Sobel filter calculation is applied as an example of the edge detection filter will be described.
  • a (3 ⁇ 3) Sobel filter operation is performed on the luminance value of each virtual pixel.
  • the coefficient matrix of the Sobel filter calculation in the horizontal direction (Xi direction) and the vertical direction (Yi direction) of the image can be expressed by the following equations, respectively.
  • the edge intensity Se of the virtual pixel can be expressed by the following equation.
  • the value Se thus obtained is a numerical value that relatively represents the edge intensity of the pixel with respect to other pixels, and the scale of the luminance value is emphasized four times on the principle of calculation. . Therefore, by dividing the value of the edge strength Se by 4, it is possible to obtain an edge strength normalized to a numerical range of the same scale as the luminance value of the pixel.
  • the average value of the edge strength Se of each virtual pixel corresponding to one object region is Sa
  • the value (Sa / 4) represents the average normalized edge strength of the contour of one object region, This is a value indicating the sharpness of the outline of the object area.
  • the average brightness value of the surrounding area having a predetermined width surrounding the object area or the brightness of the entire area that is not set as the object area in the original image. It can be expressed by the average value of.
  • the object area clearly shows the definition Sh of the object area, eliminating the influence of the background area and illumination variations, and can be compared between different object areas. It can be expressed as a simple numerical value.
  • the sharpness Sh of the contour of the object region is defined in this way, the sharpness Sh is close to 1 for the object region corresponding to the spheroid whose contour is clearly visually recognized in the original image.
  • the sharpness Sh approaches 0 as the unclearness of the apparent outline increases. That is, by the above definition, the sharpness of the contour of the object region can be expressed quantitatively.
  • the sharpness calculated at this stage may be a considerably low value.
  • an image with a high density but a sharp outline that is, in an out-of-focus state
  • the region that lacks the sharpness of the contour may be excluded from the treatment as the object region in the subsequent processing.
  • mask conflicts are resolved based on their sharpness. That is, when the transmission patterns overlap (partially) in a plurality of mask images, in other words, when at least some of the object regions extracted in each of the plurality of original images occupy the same coordinate position on the image plane For the overlapping portion, the object region having the highest contour definition Sh is preferentially used.
  • the sharpness of the outline of the object area represents the clarity of the outline of the spheroid corresponding to the object area. Therefore, when the object area overlaps when the same spheroid is reflected in multiple original images, the original image with the highest sharpness of the outline is cut out, so that an image with a clearer outline, that is, a more integrated image. An image close to the focus state can be arranged in the composite image.
  • FIG. 6B shows a state in which the mask images M1 to M5 are superimposed.
  • the sharpness Sh of the contours of the overlapping object areas is compared with each other, and the object area having the highest sharpness is validated.
  • the transmission pattern of the mask image to which the object region having the highest definition belongs is maintained, and the transmission patterns of the other mask images are filled. Therefore, in the overlapping portion, the content of the original image having the higher sharpness Sh of the outline of the object region is reflected in the composite image.
  • the mask conflict can be resolved only for the overlapping portions.
  • the contents of the original image cut out from the portion are arranged in the composite image.
  • FIG. 6C shows an example of the composite image Is1 created by arranging the object regions cut out from the original images as described above at corresponding positions on one image plane.
  • the original image of that part is cut out and arranged in the composite image Is1 for a part that does not overlap with other object areas.
  • an image is cut out from the original image to which the object region having the highest contour sharpness Sh belongs among the overlapping object regions. Arranged at Is1.
  • a partial region of the spheroid is focused on one original image.
  • another partial region is focused on another original image.
  • one spheroid is expressed by a combination of clear partial images cut out from a plurality of original images, an image focused on the entire spheroid can be obtained.
  • images of spheroids S3 and S5 correspond to this case.
  • step S104 the sharpness of the outline is obtained for the object region extracted from each original image.
  • step S102 to S104 is executed independently for each of the plurality of original images IM1 to IM5.
  • step S105 is calculation between pixels at the same coordinate position of a plurality of original images.
  • one pixel position on the image plane is selected (step S105), and it is determined whether or not the position corresponds to any mask (step S106).
  • the position is included in the object area of at least one original image, it is determined that the position corresponds to the mask (YES in step S106), and then the overlap is determined (step S107).
  • the position is included in the object areas of two or more original images, it can be said that the object areas overlap at the positions.
  • the sharpness Sh of the contour is evaluated between the overlapping object areas, and the pixel to be arranged at the pixel position from the original image to which the object area having the highest definition belongs. Is selected (step S108). That is, the pixel value of the pixel selected here is the pixel value that the pixel at the position in the composite image should have.
  • the pixel of the original image is selected as the pixel to be arranged at the pixel position.
  • step S106 When the pixel position does not correspond to any mask (NO in step S106), it can be said that the pixel position is included in a background area where no spheroid exists. Therefore, an appropriate pixel is selected from any of the original images as representing the background (step S110).
  • the pixel representing the background of the spheroid for example, a pixel having the highest luminance among the original images corresponding to the pixel position can be used.
  • the background area has higher brightness than the spheroid area, but the brightness of the unfocused image may be lower than that of the original background due to blurring at the periphery of the spheroid.
  • the pixel having the highest luminance at the same position the original background luminance can be reflected in the synthesized image. From the same concept, for example, the pixel of the original image having the highest luminance average value of the pixels excluding the pixels in the object area may be adopted.
  • one of the original images may be set as a reference image in advance, and the pixels of the reference image may be used as the background.
  • one original image in this example, the original image IM3 having a focus position in the depth direction can be used as the reference image. This method is simple for applications where the background state of the spheroid is not so important.
  • the pixel at the current pixel position is selected from one of the original images.
  • the pixel value at the position in the composite image Is1 is determined.
  • the pixel values of all the pixels constituting the composite image Is1 are determined.
  • the composite image Is1 thus created is an omnifocal image synthesized from a plurality of original images having different focal positions as described above.
  • the first method for creating an omnifocal image described so far an object region is extracted from each original image, and when there is an overlap of the object region between the original images, the definition is compared between the original images.
  • the contour of each spheroid in the three-dimensional space is specified from a plurality of original images picked up at different focal positions, and one of the original images is included in the specified contour. By placing the image content, an omnifocal image is created.
  • FIG. 7 is a flowchart showing a second method for creating an omnifocal image.
  • 8A and 8B are diagrams for explaining the principle of this processing.
  • a plurality of (five in this example) original images IM1 to IM5 having different focal positions are acquired (step S201). More specifically, when the imaging unit 15 performs imaging while changing the focal position in the imaging direction, these original images are acquired. Further, for each of the original images IM1 to IM5 obtained in this way, the edge intensity of each pixel constituting the original image is calculated by an appropriate calculation method (step S202). The process up to this point is the same as the first method described above.
  • one pixel position on the image plane is selected (step S203), the edge intensity of the pixel corresponding to the position is compared between the original images, and the edge intensity is the maximum among the pixels corresponding to the same position of the sample.
  • a pixel is selected (step S204).
  • the original image to which the selected pixel belongs is also stored. This process is performed for all pixel positions (step S205).
  • one spheroid When one spheroid is focused on a plurality of original images, it can be considered as follows. As shown in FIG. 8B, a case is considered in which a part of the spheroid S having a spread in the depth direction is focused on one original image IMa and the other part is focused on another original image IMb.
  • One point on the contour of the spheroid S to be focused on in the original image IMa is represented by reference numeral P1a.
  • the pixel located at the point P1a is considered to have a relatively high edge strength.
  • the pixel of the point P2b on the contour of the spheroid S that is in focus in the original image IMb has a higher edge intensity than the pixel of the point P2a on the corresponding original image IMa. Therefore, the edge strength at the point P2b is employed at the corresponding point P2r on the contour image Ir.
  • a pixel having a relatively large edge strength that can be regarded as corresponding to the contour of an object in the image is a contour pixel, and this represents the position of the contour of each spheroid. That is, a region on the composite image corresponding to the closed region substantially surrounded by the contour pixels in the contour image Ir is set as a spheroid region in the composite image.
  • a region obtained by expanding a closed region surrounded by contour pixels by one pixel is a spheroid region. You may make it.
  • one of the closed regions specified by the contour image is selected (step S207), and the evaluation score of the closed region is counted for each original image (step S208).
  • the evaluation score is obtained by counting the number of pixels whose edge intensity is maximized in step S204 among the pixels included in the closed region in each original image.
  • the pixel having the maximum edge strength that is, the pixel that can be regarded as the clearest is selected from the pixels of each original image corresponding to the same position. It can be considered that the original image including more pixels selected in this manner includes a clearer image of the closed region.
  • an image cut out from the original image having the maximum evaluation score of the closed region is assigned to the synthesized image (step S209).
  • all of them are processed in the same manner (step S210), and the assignment of the image to the closed region specified by the contour pixel is completed.
  • an appropriate background pixel is assigned to a region other than the closed region (step S211), and a composite image is created.
  • the background pixel selection method can be the same as the first method described above.
  • FIG. 9 is a diagram showing an example of a composite image created by the second method.
  • the composite image Is2 created by the second method of creating an omnifocal image first, the spheroid contour is specified including the depth direction. Then, an image cut out from any of the original images can be allocated inside the specified contour. The image to be assigned to the inside of the contour can be cut out from any original image, but among those images, the image with the highest evaluation score, that is, the pixel with the highest edge strength is selected and becomes the composite image. Assigned. As a result, the image content of the clearest original image in the region surrounded by the contour is reflected in the composite image. Therefore, the composite image Is2 is an omnifocal image corresponding to the spheroids S1 to S5 having different positions in the depth direction.
  • the contour detection of the spheroid is performed over the depth direction component in addition to the horizontal direction component, it may not be possible to separate them when a plurality of spheroids overlap in the depth direction. is there.
  • the spheroid S3 and the spheroid S4 are handled as a single body.
  • this method is effective in that the outline of the spheroid is specified more clearly.
  • the present method is suitable for an application in which the contour of a spheroid having a spread in the depth direction is specified with the same clarity as when an image pickup system having a large depth of field is picked up.
  • the omnifocal image creation method shown in FIGS. 5 and 7 corresponds to the “image processing method” of the present invention.
  • steps S101, S102 to S103 and S105 to S112 correspond to the “image acquisition process”, “region extraction process” and “image composition process” of the present invention, respectively.
  • steps S201, S202, S203 to S205, and S206 to S211 correspond to the “image acquisition process”, “edge strength calculation process”, “pixel selection process”, and “image composition process” of the present invention, respectively. To do.
  • the imaging device 1 corresponds to the “image processing device” of the present invention.
  • the imaging unit 10 functions as the “image acquisition unit” of the present invention
  • the imaging unit 15 functions as the “imaging unit” of the present invention
  • the sensor driving unit 17 functions as the “focus setting unit” of the present invention. is doing.
  • the control unit 20, particularly the image processing unit 25 functions as the “image processing means” of the present invention.
  • the imaging device 1 includes the imaging unit 10 for capturing an original image used for creating an omnifocal image.
  • the operation of imaging the imaging object is not an essential configuration. That is, an imaging device for capturing an original image and an image processing device that executes image processing to create an omnifocal image may be configured separately.
  • the image processing apparatus according to the present invention may be configured to receive an original image captured by an external imaging apparatus via, for example, a communication line and perform image processing using the original image.
  • the control unit 20 executes the above processing using image data provided from an external imaging device, data storage, or the like. You may do it.
  • the input receiving unit 21 functions as the “image acquisition unit” of the present invention.
  • the function as the “image processing apparatus” of the present invention can be realized by the control unit 20 alone.
  • the configuration of the control unit 20 is the same as that of an information processing device such as a general personal computer or workstation.
  • the above processing contents can also be realized by these devices by installing appropriate software. Therefore, the present invention may be provided as a control program for causing these information processing devices to execute the above-described image processing. By mounting such a control program on, for example, a control computer of an existing microscope apparatus, the microscope apparatus can be caused to function as the image processing apparatus of the present invention.
  • the focal position is changed and set by moving the imaging unit 15 up and down.
  • the sample container D may be moved up and down, or the focal position may be changed using the focus adjustment function of the imaging optical system.
  • the imaging unit 15 having the linear image sensor 151 is scanned and moved with respect to the imaging target to obtain a two-dimensional image of the imaging target.
  • imaging may be performed using an area image sensor having a function of capturing a two-dimensional image without accompanying scanning movement. Further, imaging combined with a microscopic optical system may be performed.
  • the sharpness of the contour is, for example, a pixel having a pixel value corresponding to the edge strength in the contour. It can be expressed by the optical density. Further, in this case, the sharpness of the contour is determined by calculating the average value of the edge strength obtained by the edge detection filter calculation based on the luminance value of the pixel for each pixel corresponding to the contour, and adjacent to the object area specified by the contour.
  • the average luminance value of the pixels in the surrounding area is Is
  • the following formula: Sh log 10 ⁇ Is / (Is-Sa / 4) ⁇ Can be represented by the left side Sh.
  • a region having a contour sharpness that is greater than or equal to a predetermined value among regions having a contour pixel as a contour may be set as the object region. If the evaluation is simply based on the edge strength, an area having a large density difference from the surrounding area may be used as the object area even if the outline is unclear. By adding the sharpness of the outline to the evaluation, only an image closer to the in-focus state can be extracted as the object region.
  • a pixel whose edge intensity is a predetermined value or more may be a contour pixel.
  • Various methods have been proposed in which a pixel having an edge strength equal to or higher than a predetermined value is regarded as the contour of an object.
  • contour extraction can be performed using such a method.
  • the background can be represented by arranging pixels extracted from one original image selected from a plurality of original images, for example, other than the region surrounded by the outline in the composite image.
  • the pixel with the highest luminance among the pixels corresponding to the same position among a plurality of original images may be arranged as the background.
  • the image acquisition means may include an imaging unit that images the sample and a focus setting unit that changes and sets the focal position of the imaging unit in multiple stages. Further, image data corresponding to a plurality of original images may be received from an external device. With any of these, it is possible to acquire a plurality of original images and create a composite image from them.
  • the present invention is applicable to, for example, processing of an image obtained by imaging a sample containing cells cultured in a medium.
  • an omnifocal image of a cell cluster (spheroid) three-dimensionally cultured in a medium is obtained. It is suitable for the purpose of making.
  • Imaging device image processing device
  • Imaging unit image acquisition means
  • Sensor driving unit focus setting unit
  • control unit image processing unit (image processing means)
  • image processing means image processing means

Landscapes

  • Physics & Mathematics (AREA)
  • General Physics & Mathematics (AREA)
  • Engineering & Computer Science (AREA)
  • Multimedia (AREA)
  • Optics & Photonics (AREA)
  • Signal Processing (AREA)
  • Computer Vision & Pattern Recognition (AREA)
  • Analytical Chemistry (AREA)
  • Chemical & Material Sciences (AREA)
  • Theoretical Computer Science (AREA)
  • Image Processing (AREA)
  • Studio Devices (AREA)
  • Image Analysis (AREA)
  • Exposure Control For Cameras (AREA)
  • Focusing (AREA)
  • Microscoopes, Condenser (AREA)
  • Automatic Focus Adjustment (AREA)
PCT/JP2015/085776 2014-12-26 2015-12-22 画像処理方法、制御プログラムおよび画像処理装置 Ceased WO2016104477A1 (ja)

Applications Claiming Priority (2)

Application Number Priority Date Filing Date Title
JP2014265039A JP6196607B2 (ja) 2014-12-26 2014-12-26 画像処理方法、制御プログラムおよび画像処理装置
JP2014-265039 2014-12-26

Publications (1)

Publication Number Publication Date
WO2016104477A1 true WO2016104477A1 (ja) 2016-06-30

Family

ID=56150495

Family Applications (1)

Application Number Title Priority Date Filing Date
PCT/JP2015/085776 Ceased WO2016104477A1 (ja) 2014-12-26 2015-12-22 画像処理方法、制御プログラムおよび画像処理装置

Country Status (2)

Country Link
JP (1) JP6196607B2 (enExample)
WO (1) WO2016104477A1 (enExample)

Cited By (2)

* Cited by examiner, † Cited by third party
Publication number Priority date Publication date Assignee Title
WO2018180813A1 (ja) * 2017-03-30 2018-10-04 富士フイルム株式会社 細胞画像評価装置および方法並びにプログラム
CN111492402A (zh) * 2017-12-28 2020-08-04 三星电子株式会社 用于处理图像的方法和装置及其计算机程序产品

Families Citing this family (6)

* Cited by examiner, † Cited by third party
Publication number Priority date Publication date Assignee Title
JP6333318B2 (ja) * 2016-07-29 2018-05-30 株式会社Screenホールディングス 画像処理方法、画像処理装置、および撮像装置
JP6621027B2 (ja) * 2016-09-16 2019-12-18 パナソニックIpマネジメント株式会社 撮像装置
US10699417B2 (en) * 2016-10-03 2020-06-30 Sigtuple Technologies Private Limited Method and system for acquisition of optimal images of object in multi-layer sample
JP6931579B2 (ja) * 2017-09-20 2021-09-08 株式会社Screenホールディングス 生細胞検出方法、プログラムおよび記録媒体
JP2019090892A (ja) * 2017-11-14 2019-06-13 オリンパス株式会社 試料観察方法および試料ホルダ
JP7420346B2 (ja) * 2019-01-09 2024-01-23 国立大学法人九州大学 三次元形状情報生成装置、細胞判定システム

Citations (3)

* Cited by examiner, † Cited by third party
Publication number Priority date Publication date Assignee Title
JP2007215091A (ja) * 2006-02-13 2007-08-23 Casio Comput Co Ltd 撮像装置及びそのプログラム
JP2010166247A (ja) * 2009-01-14 2010-07-29 Olympus Corp 画像処理装置、画像処理プログラムおよび画像処理方法
JP2014068088A (ja) * 2012-09-25 2014-04-17 Sharp Corp 撮像装置および撮像装置制御方法

Patent Citations (3)

* Cited by examiner, † Cited by third party
Publication number Priority date Publication date Assignee Title
JP2007215091A (ja) * 2006-02-13 2007-08-23 Casio Comput Co Ltd 撮像装置及びそのプログラム
JP2010166247A (ja) * 2009-01-14 2010-07-29 Olympus Corp 画像処理装置、画像処理プログラムおよび画像処理方法
JP2014068088A (ja) * 2012-09-25 2014-04-17 Sharp Corp 撮像装置および撮像装置制御方法

Cited By (6)

* Cited by examiner, † Cited by third party
Publication number Priority date Publication date Assignee Title
WO2018180813A1 (ja) * 2017-03-30 2018-10-04 富士フイルム株式会社 細胞画像評価装置および方法並びにプログラム
KR20190107096A (ko) * 2017-03-30 2019-09-18 후지필름 가부시키가이샤 세포 화상 평가 장치 및 방법과, 프로그램
US11030751B2 (en) 2017-03-30 2021-06-08 Fujifilm Corporation Cell image evaluation device, method, and program
KR102293757B1 (ko) 2017-03-30 2021-08-24 후지필름 가부시키가이샤 세포 화상 평가 장치 및 방법과, 프로그램
CN111492402A (zh) * 2017-12-28 2020-08-04 三星电子株式会社 用于处理图像的方法和装置及其计算机程序产品
CN111492402B (zh) * 2017-12-28 2023-08-18 三星电子株式会社 用于处理图像的方法和装置及其计算机程序产品

Also Published As

Publication number Publication date
JP2016127342A (ja) 2016-07-11
JP6196607B2 (ja) 2017-09-13

Similar Documents

Publication Publication Date Title
JP6196607B2 (ja) 画像処理方法、制御プログラムおよび画像処理装置
EP3788591B1 (en) Focus-weighted, machine learning classifier error prediction for microscope slide images
JP7252190B2 (ja) 生物試料の向上された被写界深度の合成2d画像を生成するシステム
JP5705096B2 (ja) 画像処理装置及び画像処理方法
US9881373B2 (en) Image generating apparatus and image generating method
JP5655557B2 (ja) 顕微鏡制御装置、画像表示装置、画像管理サーバ、合焦位置情報生成方法、画像表示方法、画像管理方法及び顕微鏡画像管理システム
US8000511B2 (en) System for and method of focusing in automated microscope systems
JP6345001B2 (ja) 画像処理方法および画像処理装置
US10182185B2 (en) Image generation device, image generation method, recording medium, and method for generating an in-focus image based on feature points
CN1795375B (zh) 用于组织感兴趣域中的多个感兴趣对象的系统
US10295525B2 (en) Image generation device, image generation method, recording medium, and processing method
CN107084923B (zh) 细胞观察装置以及细胞观察方法
TWI363189B (en) Method and system for locating and focusing on fiducial marks on specimen slides
JP2015108837A (ja) 画像処理装置及び画像処理方法
JP6362062B2 (ja) 画像生成装置および画像生成方法
CN117425919A (zh) 用于生成虚拟染色图像的显微镜系统和方法
JP5259348B2 (ja) 高さ情報取得装置、高さ情報取得方法、及びプログラム
JP2015057682A (ja) 画像生成装置および画像生成方法
KR20230136760A (ko) 세포 계수 방법, 세포 계수를 위한 기계 학습 모델의 구축 방법, 컴퓨터 프로그램 및 기록 매체
JP7382289B2 (ja) 画像処理方法、プログラムおよび記録媒体
JP7030986B2 (ja) 画像生成装置、画像生成方法および画像生成プログラム
JP6276220B2 (ja) 撮像装置および撮像方法
WO2017069035A1 (ja) 画像処理方法およびシェーディング基準データ作成方法
JP7643340B2 (ja) 画像処理方法、画像処理装置および画像処理システム
Pronichev et al. Cytology 3D structure formation based on optical microscopy images

Legal Events

Date Code Title Description
121 Ep: the epo has been informed by wipo that ep was designated in this application

Ref document number: 15873045

Country of ref document: EP

Kind code of ref document: A1

NENP Non-entry into the national phase

Ref country code: DE

122 Ep: pct application non-entry in european phase

Ref document number: 15873045

Country of ref document: EP

Kind code of ref document: A1