WO2016092792A1 - ヒータ装置 - Google Patents

ヒータ装置 Download PDF

Info

Publication number
WO2016092792A1
WO2016092792A1 PCT/JP2015/006036 JP2015006036W WO2016092792A1 WO 2016092792 A1 WO2016092792 A1 WO 2016092792A1 JP 2015006036 W JP2015006036 W JP 2015006036W WO 2016092792 A1 WO2016092792 A1 WO 2016092792A1
Authority
WO
WIPO (PCT)
Prior art keywords
heater
temperature
suppression
moisture
control unit
Prior art date
Legal status (The legal status is an assumption and is not a legal conclusion. Google has not performed a legal analysis and makes no representation as to the accuracy of the status listed.)
Ceased
Application number
PCT/JP2015/006036
Other languages
English (en)
French (fr)
Japanese (ja)
Inventor
康弘 佐合
英章 加古
公威 石川
裕康 生出
関 秀樹
Current Assignee (The listed assignees may be inaccurate. Google has not performed a legal analysis and makes no representation or warranty as to the accuracy of the list.)
Denso Corp
Original Assignee
Denso Corp
Priority date (The priority date is an assumption and is not a legal conclusion. Google has not performed a legal analysis and makes no representation as to the accuracy of the date listed.)
Filing date
Publication date
Application filed by Denso Corp filed Critical Denso Corp
Priority to DE112015005544.4T priority Critical patent/DE112015005544T5/de
Priority to US15/526,899 priority patent/US10583712B2/en
Priority to CN201580066983.1A priority patent/CN107003007B/zh
Publication of WO2016092792A1 publication Critical patent/WO2016092792A1/ja
Anticipated expiration legal-status Critical
Ceased legal-status Critical Current

Links

Images

Classifications

    • BPERFORMING OPERATIONS; TRANSPORTING
    • B60VEHICLES IN GENERAL
    • B60HARRANGEMENTS OF HEATING, COOLING, VENTILATING OR OTHER AIR-TREATING DEVICES SPECIALLY ADAPTED FOR PASSENGER OR GOODS SPACES OF VEHICLES
    • B60H1/00Heating, cooling or ventilating [HVAC] devices
    • B60H1/22Heating, cooling or ventilating [HVAC] devices the heat being derived otherwise than from the propulsion plant
    • BPERFORMING OPERATIONS; TRANSPORTING
    • B60VEHICLES IN GENERAL
    • B60HARRANGEMENTS OF HEATING, COOLING, VENTILATING OR OTHER AIR-TREATING DEVICES SPECIALLY ADAPTED FOR PASSENGER OR GOODS SPACES OF VEHICLES
    • B60H1/00Heating, cooling or ventilating [HVAC] devices
    • B60H1/00271HVAC devices specially adapted for particular vehicle parts or components and being connected to the vehicle HVAC unit
    • B60H1/00292HVAC devices specially adapted for particular vehicle parts or components and being connected to the vehicle HVAC unit for steering wheels
    • BPERFORMING OPERATIONS; TRANSPORTING
    • B60VEHICLES IN GENERAL
    • B60HARRANGEMENTS OF HEATING, COOLING, VENTILATING OR OTHER AIR-TREATING DEVICES SPECIALLY ADAPTED FOR PASSENGER OR GOODS SPACES OF VEHICLES
    • B60H1/00Heating, cooling or ventilating [HVAC] devices
    • B60H1/22Heating, cooling or ventilating [HVAC] devices the heat being derived otherwise than from the propulsion plant
    • B60H1/2215Heating, cooling or ventilating [HVAC] devices the heat being derived otherwise than from the propulsion plant the heat being derived from electric heaters
    • BPERFORMING OPERATIONS; TRANSPORTING
    • B60VEHICLES IN GENERAL
    • B60HARRANGEMENTS OF HEATING, COOLING, VENTILATING OR OTHER AIR-TREATING DEVICES SPECIALLY ADAPTED FOR PASSENGER OR GOODS SPACES OF VEHICLES
    • B60H1/00Heating, cooling or ventilating [HVAC] devices
    • B60H1/22Heating, cooling or ventilating [HVAC] devices the heat being derived otherwise than from the propulsion plant
    • B60H1/2215Heating, cooling or ventilating [HVAC] devices the heat being derived otherwise than from the propulsion plant the heat being derived from electric heaters
    • B60H1/2226Electric heaters using radiation
    • BPERFORMING OPERATIONS; TRANSPORTING
    • B60VEHICLES IN GENERAL
    • B60HARRANGEMENTS OF HEATING, COOLING, VENTILATING OR OTHER AIR-TREATING DEVICES SPECIALLY ADAPTED FOR PASSENGER OR GOODS SPACES OF VEHICLES
    • B60H3/00Other air-treating devices
    • B60H3/02Moistening ; Devices influencing humidity levels, i.e. humidity control
    • B60H3/024Moistening ; Devices influencing humidity levels, i.e. humidity control for only dehumidifying the air
    • HELECTRICITY
    • H05ELECTRIC TECHNIQUES NOT OTHERWISE PROVIDED FOR
    • H05BELECTRIC HEATING; ELECTRIC LIGHT SOURCES NOT OTHERWISE PROVIDED FOR; CIRCUIT ARRANGEMENTS FOR ELECTRIC LIGHT SOURCES, IN GENERAL
    • H05B1/00Details of electric heating devices
    • H05B1/02Automatic switching arrangements specially adapted to apparatus ; Control of heating devices
    • H05B1/0227Applications
    • H05B1/023Industrial applications
    • H05B1/0236Industrial applications for vehicles
    • HELECTRICITY
    • H05ELECTRIC TECHNIQUES NOT OTHERWISE PROVIDED FOR
    • H05BELECTRIC HEATING; ELECTRIC LIGHT SOURCES NOT OTHERWISE PROVIDED FOR; CIRCUIT ARRANGEMENTS FOR ELECTRIC LIGHT SOURCES, IN GENERAL
    • H05B3/00Ohmic-resistance heating
    • HELECTRICITY
    • H05ELECTRIC TECHNIQUES NOT OTHERWISE PROVIDED FOR
    • H05BELECTRIC HEATING; ELECTRIC LIGHT SOURCES NOT OTHERWISE PROVIDED FOR; CIRCUIT ARRANGEMENTS FOR ELECTRIC LIGHT SOURCES, IN GENERAL
    • H05B3/00Ohmic-resistance heating
    • H05B3/20Heating elements having extended surface area substantially in a two-dimensional plane, e.g. plate-heater
    • H05B3/22Heating elements having extended surface area substantially in a two-dimensional plane, e.g. plate-heater non-flexible
    • H05B3/26Heating elements having extended surface area substantially in a two-dimensional plane, e.g. plate-heater non-flexible heating conductor mounted on insulating base
    • H05B3/267Heating elements having extended surface area substantially in a two-dimensional plane, e.g. plate-heater non-flexible heating conductor mounted on insulating base the insulating base being an organic material, e.g. plastic
    • HELECTRICITY
    • H05ELECTRIC TECHNIQUES NOT OTHERWISE PROVIDED FOR
    • H05BELECTRIC HEATING; ELECTRIC LIGHT SOURCES NOT OTHERWISE PROVIDED FOR; CIRCUIT ARRANGEMENTS FOR ELECTRIC LIGHT SOURCES, IN GENERAL
    • H05B3/00Ohmic-resistance heating
    • H05B3/20Heating elements having extended surface area substantially in a two-dimensional plane, e.g. plate-heater
    • H05B3/34Heating elements having extended surface area substantially in a two-dimensional plane, e.g. plate-heater flexible, e.g. heating nets or webs
    • BPERFORMING OPERATIONS; TRANSPORTING
    • B60VEHICLES IN GENERAL
    • B60HARRANGEMENTS OF HEATING, COOLING, VENTILATING OR OTHER AIR-TREATING DEVICES SPECIALLY ADAPTED FOR PASSENGER OR GOODS SPACES OF VEHICLES
    • B60H1/00Heating, cooling or ventilating [HVAC] devices
    • B60H1/22Heating, cooling or ventilating [HVAC] devices the heat being derived otherwise than from the propulsion plant
    • B60H2001/2228Heating, cooling or ventilating [HVAC] devices the heat being derived otherwise than from the propulsion plant controlling the operation of heaters
    • BPERFORMING OPERATIONS; TRANSPORTING
    • B60VEHICLES IN GENERAL
    • B60HARRANGEMENTS OF HEATING, COOLING, VENTILATING OR OTHER AIR-TREATING DEVICES SPECIALLY ADAPTED FOR PASSENGER OR GOODS SPACES OF VEHICLES
    • B60H1/00Heating, cooling or ventilating [HVAC] devices
    • B60H1/22Heating, cooling or ventilating [HVAC] devices the heat being derived otherwise than from the propulsion plant
    • B60H2001/2246Heating, cooling or ventilating [HVAC] devices the heat being derived otherwise than from the propulsion plant obtaining information from a variable, e.g. by means of a sensor
    • HELECTRICITY
    • H05ELECTRIC TECHNIQUES NOT OTHERWISE PROVIDED FOR
    • H05BELECTRIC HEATING; ELECTRIC LIGHT SOURCES NOT OTHERWISE PROVIDED FOR; CIRCUIT ARRANGEMENTS FOR ELECTRIC LIGHT SOURCES, IN GENERAL
    • H05B2203/00Aspects relating to Ohmic resistive heating covered by group H05B3/00
    • H05B2203/002Heaters using a particular layout for the resistive material or resistive elements
    • H05B2203/003Heaters using a particular layout for the resistive material or resistive elements using serpentine layout
    • HELECTRICITY
    • H05ELECTRIC TECHNIQUES NOT OTHERWISE PROVIDED FOR
    • H05BELECTRIC HEATING; ELECTRIC LIGHT SOURCES NOT OTHERWISE PROVIDED FOR; CIRCUIT ARRANGEMENTS FOR ELECTRIC LIGHT SOURCES, IN GENERAL
    • H05B2203/00Aspects relating to Ohmic resistive heating covered by group H05B3/00
    • H05B2203/013Heaters using resistive films or coatings

Definitions

  • the disclosure in this specification relates to an indoor heater device installed indoors.
  • Patent Documents 1 to 5 describe a heater device that is provided indoors and provides a warm feeling to a person.
  • the heater device can also be called a heater device for heating.
  • the heater device can also be referred to as an electric heater device.
  • One form of the heater device is also called a radiation heater device that gives a person a warm feeling by radiation.
  • One application of the heater device is for vehicles.
  • the heater device described in Patent Document 1 to Patent Document 5 is arranged facing the room.
  • JP 2010-52710 A JP 2012-56531 A JP 2014-944 A JP 2014-3000 A JP 2014-189251 A
  • Moisture may adhere to the surface of a member placed in a room or the surface of a wall that partitions the room. For example, when rain or snow blows from a window or door, moisture may adhere to the surface. Also, condensation may occur on the surface due to humidity in the air. For example, condensation occurs depending on the humidity in the room and the temperature of the wall. Further, in a vehicle, condensation may be noticeable due to a narrow room and a structure that easily transmits the temperature of the outside air. Further, since rain and snow are likely to blow into the vehicle, the surface of the passenger compartment is easily wet.
  • the heater device When the heater device generates heat when water or water droplets exceeding a predetermined amount are present on the surface of the heater device, the water boils and evaporates. At this time, steam may rise or cause odor. Such a phenomenon may be perceived by the user, but it is desirable that the boiling and / or evaporation of moisture be suppressed so that it is not perceived by the user. In view of the above or other aspects not mentioned, there is a need for further improvements in room heater devices.
  • One object disclosed is to provide an indoor heater device capable of suppressing boiling of water on the heater device and / or rapid evaporation of moisture.
  • Another object of the disclosure is to provide an indoor heater device that can provide both rapid warmth and suppression of defects caused by boiling of water and / or rapid evaporation of moisture.
  • the heater device is installed in a room and heated to a target temperature, a normal control unit that heats the heater so that the heater reaches the target temperature, and a suppression to reduce moisture adhering to the surface of the heater
  • a suppression control unit that heats the heater to a suppression temperature lower than the target temperature by the generated electric power. After the activation of the heater is commanded, the heater is heated by the suppression control unit. After the heater is heated by the suppression control unit, the heater is heated by the normal control unit.
  • the heater When the heater is commanded to start, the heater is heated.
  • the heater is heated to a target temperature after being heated to a suppression temperature lower than the target temperature by the suppressed power. If moisture is attached to the surface of the heater, the moisture is reduced by the suppression temperature. Therefore, the moisture adhering to the surface of the heater is suddenly heated by the target temperature, and rapid boiling and / or rapid evaporation is suppressed.
  • the heater device includes a heater 1 that uses radiant heat.
  • the heater 1 is also called a heater element.
  • the heater 1 is installed in a room of a moving body such as a road traveling vehicle, a ship, and an aircraft.
  • the heater 1 may be provided in a room such as a house or a business office.
  • the heater 1 constitutes a part of an air conditioner 10 that at least heats the room.
  • the heater 1 is an electric heater that generates heat by being fed from a power source such as a battery or a generator mounted on a moving body.
  • the heater 1 is formed in a thin plate shape.
  • the heater 1 generates heat when electric power is supplied.
  • the heater 1 radiates radiant heat R mainly in a direction perpendicular to the surface in order to warm an object positioned in a direction perpendicular to the surface.
  • the heater 1 is installed indoors so as to radiate radiant heat R to the feet of the occupant 12.
  • the heater 1 can be used as a heater for immediately providing warmth to the occupant 12 immediately after activation of the air conditioner 10.
  • the heater 1 is installed on a wall surface in the room.
  • the heater 1 is installed so as to face the occupant 12 in the assumed normal posture.
  • the road traveling vehicle has a steering column 13 for supporting the handle 14.
  • the heater 1 can be installed on the lower surface of the steering column 13.
  • the heater 1 is installed such that its surface is exposed toward the room.
  • the heater 1 is substantially exposed indoors without having a cover member for preventing the passenger 12 from directly touching the surface of the heater 1.
  • the heater 1 may have a cover member made of a wire mesh or a resin, or a fabric as an interior material on the indoor side.
  • the heater 1 is controlled by a control unit (ECU) 21.
  • the control device 21 controls ON / OFF of energization to the heater 1 and the amount of electric power during energization.
  • the heater 1 is formed in a substantially rectangular thin plate shape.
  • the heater 1 is also called a planar heater or a flat heater.
  • the heater 1 includes a substrate portion 2, a plurality of electrodes 3, 4, 5 and a plurality of heating elements 6.
  • the electrodes 3 and 4 are external electrodes for supplying power.
  • the electrode 5 is an internal connection electrode for connecting a plurality of heating elements 6 in parallel and / or in series.
  • a plurality of electrodes 5 and a plurality of heating elements 6 are embedded in the substrate unit 2. In the drawing, hatching is added to show the electrode 5 and the heating element 6.
  • the heater 1 can also be called a planar heater that radiates radiant heat R mainly in a direction perpendicular to the surface.
  • the substrate part 2 is made of a resin material that provides excellent electrical insulation and withstands high temperatures.
  • the substrate unit 2 provides a surface.
  • the substrate part 2 is formed in a flat plate shape.
  • the board part 2 is given a curved surface corresponding to the wall surface of the installation place.
  • substrate part 2 has the rigidity which can maintain the shape.
  • substrate part 2 can have the flexibility for deform
  • the substrate part 2 can be made of a thermoplastic resin.
  • the substrate unit 2 is a multilayer substrate.
  • the substrate unit 2 is a member for supporting the electrodes 3, 4, 5 and the heating element 6.
  • the heating element 6 is embedded in the substrate part 2. Therefore, the heating element 6 is not exposed on the surface of the substrate unit 2.
  • the heating element 6 is protected by the substrate unit 2.
  • the heating element 6 is formed in a thin plate shape parallel to the surface of the substrate unit 2.
  • the heating element 6 can radiate radiant heat R by heat supplied by energization.
  • the heating element 6 can radiate radiant heat R that makes the occupant 12, that is, a person feel warm, by being heated to a predetermined radiation temperature.
  • the electrodes 3, 4, and 5 are made of a material that generates less heat than the heating element 6 when energized.
  • the electrodes 3, 4, and 5 are made of a material having a low specific resistance so that current can be evenly distributed to the plurality of heating elements 6.
  • the electrodes 3, 4, 5 can be made of a metal material.
  • the electrodes 3, 4, 5 can be made of a tin alloy.
  • the electrodes 3, 4, and 5 can be made of an alloy containing copper, silver, and tin.
  • the electrodes 3, 4, and 5 can also be made of a good conductor material such as a copper alloy or an aluminum alloy.
  • the heating element 6 is made of a material that generates heat when energized.
  • the heating element 6 can be made of a metal material.
  • the heating element 6 can be made of a tin alloy.
  • the heating element 6 can be made of an alloy containing copper, silver, and tin.
  • the heating element 6 can also be made of a heating wire material such as a stainless alloy, a nickel-chromium alloy, or an aluminum alloy.
  • the heater 1 is formed such that when an object comes into contact with the surface thereof, the temperature at the contact portion is significantly lowered by heat transfer to the object.
  • a human body can be assumed as the object.
  • the heater 1 is configured such that the temperature of the contact portion is lowered to a temperature at which a human does not feel uncomfortable due to excessive heat during short-term contact.
  • the heater 1 can be provided by various structures. Prior art documents listed as prior art describe devices that can be used as the heater 1. The contents of these prior art documents are introduced or incorporated by reference as an explanation of the technical elements described in this specification.
  • the surface of the heater 1 has water repellency for suppressing adhesion of moisture.
  • a material having high water repellency is used for the surface of the heater 1. Specifically, a silicon-based or fluorine-based water repellent material that can make the contact angle of water droplets 100 ° or more is used. Even if water droplets adhere to the surface of the heater 1, the water droplets are likely to flow down. Thereby, the water retention amount on the surface of the heater 1 is suppressed. For this reason, rapid boiling and / or evaporation of water immediately after the heater 1 is activated is suppressed.
  • FIG. 3 shows the control system 20.
  • a control device (ECU) 21 is an electronic control unit.
  • the electronic control device has at least one arithmetic processing unit (CPU) and at least one memory device (MMR) as a storage medium for storing programs and data.
  • the electronic control device is provided by a microcomputer including a computer-readable storage medium.
  • the storage medium stores a computer-readable program non-temporarily.
  • the storage medium can be provided by a semiconductor memory or a magnetic disk.
  • the electronic control unit can be provided by a computer or a set of computer resources linked by a data communication device.
  • the program is executed by the electronic control device to cause the electronic control device to function as the device described in this specification, and to function the electronic control device to perform the method described in this specification.
  • the electronic control device provides various elements. At least some of those elements can be referred to as means for performing the function, and in another aspect, at least some of those elements are blocks that are interpreted as a configuration, or modules that are
  • the means and / or functions provided by the electronic control device can be provided by software recorded in a substantial memory device and a computer that executes the software, software only, hardware only, or a combination thereof.
  • the electronic controller is provided by an electronic circuit that is hardware, it can be provided by a digital circuit including a number of logic circuits, or an analog circuit.
  • the control system has a plurality of signal sources.
  • the signal source is provided by a sensor or control device.
  • the signal source outputs a signal indicating information.
  • the signal is input to the control device via an independent signal line or a data line such as a LAN.
  • the control device acquires information by storing the information indicated by the signal in the memory device.
  • the control system executes control processing by the control device.
  • the control system controls one or a plurality of control objects by a control process.
  • the control system 20 controls the heater (HTR) 1 and the air conditioner (A / C) 10.
  • the air conditioner 10 heats at least the room.
  • the air conditioner 10 may be further configured to provide cooling and / or ventilation.
  • the control system 20 includes an activation signal source (SW) 22 that supplies an activation command signal for instructing activation of the heater 1 and the air conditioner 10 to the control device 21.
  • the activation signal source 22 can be provided by an activation switch.
  • the start signal source 22 outputs a start command signal when a predetermined time arrives, or automatically outputs a start command signal to preheat the heater 1 before the user enters the room. It can also be provided by a pre-running device.
  • the control system 20 includes a plurality of signal sources that supply information related to indoor and outdoor air conditioning to the control device 21.
  • the control system 20 includes an internal air temperature signal source (TR-SC) 23 for supplying an internal air temperature signal indicating the temperature of indoor air to the control device 21.
  • the control system 20 includes an outside air temperature signal source (TA-SC) 24 for supplying an outside air temperature signal indicating the temperature of outdoor air to the control device 21.
  • the control system 20 includes a humidity signal source (RH-SC) 25 for supplying a humidity signal indicating the humidity of indoor air to the control device 21.
  • the humidity signal source 25 is also a signal source that supplies a signal for evaluating the amount of water on the surface of the indoor member to the control device 21.
  • the control system 20 includes a communication device (COMM) 26 for supplying information that can be used to evaluate the amount of moisture on the surface of a member in the room from an external system to the control device 21.
  • the control system 20 includes a target temperature signal source (VR) 27 for supplying a target temperature signal of the heater 1 to the control device 21.
  • VR target temperature signal source
  • the control device 21 includes a heater control unit (HTR-CNTM) 31 for controlling the heater 1.
  • the heater control unit 31 controls the power supplied to the heater 1.
  • the control device 21 includes an air conditioning control unit (A / C-CNTM) 32.
  • the air conditioning control unit 32 controls the air conditioner 10.
  • the control device 21 may be a device whose main duty is to control the air conditioner 10.
  • the heater control unit 31 can be provided by a control unit added to the control device 21.
  • the heater control unit 31 includes a normal output setting unit (NML-SETM) 41 for setting the output from the heater 1.
  • the normal output setting unit 41 sets the temperature of the heater 1 when the heater 1 is normally operated based on the target temperature of the heater 1 set by the user by manual operation.
  • the target temperature is also called a target output.
  • the control system 20 can include a target temperature signal source 27 that sets the output of the heater 1 in three stages of high, medium, and low.
  • the normal output setting unit 41 sets the target temperature in response to the target temperature signal source 27.
  • the heater 1 emits radiant heat by being heated to a radiant temperature. Therefore, the normal output setting unit 41 sets the target temperature within the range of the radiation temperature.
  • the heater control unit 31 includes a normal control unit (NML-CNTM) 42.
  • the normal control unit 42 sets a normal energization schedule so that the output of the heater 1 quickly increases and is maintained toward the target temperature set by the normal output setting unit 41.
  • the normal control unit 42 controls energization so that the temperature of the heater 1 reaches the target temperature from the initial temperature during the first startup time.
  • the first start-up time is the fastest start-up time allowed for the heater 1.
  • the first start-up time is set in order to quickly provide a warm feeling to the user.
  • the heater control unit 31 includes a power control unit (EPW-CNTM) 43.
  • the power control unit 43 includes a power control circuit capable of adjusting the energization amount to the heater 1.
  • the power control unit 43 adjusts the energization amount to the heater 1, that is, the supplied power, according to the normal energization schedule set by the normal control unit 42.
  • the heater control unit 31 includes a moisture determination unit (WTR-DTMM) 44.
  • the moisture determination unit 44 determines whether moisture exceeding a predetermined threshold is attached on the surface of the heater 1.
  • a state in which moisture exceeding a predetermined threshold is attached on the surface of the heater 1 is referred to as a “wet state”.
  • moisture adhering to the surface of the heater 1 is referred to as “surface moisture”.
  • the moisture determination unit 44 determines whether or not the inner surface of the indoor wall is wet.
  • the moisture determination unit 44 determines whether or not the heater 1 is wet when the heater 1 is activated.
  • the moisture determination unit 44 outputs a moisture detection signal when in a wet state.
  • the moisture determination unit 44 may be provided by a sensor and / or calculation process that detects whether or not moisture exceeding a predetermined threshold is actually attached to the surface of the heater 1.
  • the moisture determination unit 44 may be provided by a sensor and / or calculation process that estimates or predicts whether moisture exceeding a predetermined threshold is attached to the surface of the heater 1.
  • the moisture determination unit 44 is configured to evaluate surface moisture caused by rain or snow and / or surface moisture caused by condensation.
  • the moisture determination unit 44 determines whether or not the wet state is caused by condensation. In other words, when the heater 1 is started, the moisture determination unit 44 determines whether or not an amount of moisture exceeding a predetermined threshold is attached to the inner surface of the wall, or an amount of moisture exceeding the predetermined threshold on the inner surface of the wall. It is determined whether or not there is a possibility of adhesion.
  • the moisture determination unit 44 can also be referred to as a dew condensation determination unit.
  • the moisture determination unit 44 may be configured to output a condensation signal as a moisture detection signal when it is wet due to condensation.
  • the presence or absence of condensation and the amount of condensation can be estimated when the atmosphere around the heater 1 satisfies the conditions for causing condensation on the surface of the heater 1.
  • the amount of condensation is also called the amount of moisture.
  • the moisture determination unit 44 estimates the amount of condensation based on at least one of the inside air temperature, the outside air temperature, and the humidity of the room air. These temperature and / or humidity can be acquired using a sensor provided in the air conditioner 10. In one example, the moisture determination unit 44 estimates the amount of condensation based on the temperature and / or humidity when the heater 1 is activated.
  • the moisture determination unit 44 may be configured to estimate the amount of dew condensation based on history information including temperature and / or humidity before the heater 1 is activated. In one example, the moisture determination unit 44 estimates the amount of dew condensation based on the absolute humidity inside the room when the user first leaves the room and the amount of change in the inside air temperature or outside air temperature after leaving the room. For example, the amount of dew condensation on the surface of the heater 1 can be estimated based on the absolute humidity in the room at the time of previous use and the amount of decrease in the room temperature at the time of previous use and at the time of starting this time.
  • the moisture determination unit 44 estimates the amount of condensation based on the temperature and / or humidity around the heater 1 immediately before the heater 1 is started. For example, the moisture determination unit 44 estimates the amount of dew condensation based on changes in temperature and / or humidity from a predetermined time or more before the heater 1 is activated. For example, the moisture determination unit 44 condenses based on the temperature and / or humidity around the heater 1 immediately before the heater 1 is activated, and the change in temperature and / or humidity from a predetermined time before the heater 1 is activated. Estimate the amount. Specifically, when the inside air temperature and / or the outside air temperature just before the heater 1 is started is 0 ° C. or less, the dew condensation exceeding a predetermined threshold can be positively estimated.
  • the moisture determination unit 44 determines the amount of moisture remaining in the vehicle using information that can predict temperature and / or humidity, such as a temperature sensor, a humidity sensor, information on the number of passengers, and weather information when the vehicle is last used. Predictive processing can be included. In this case, the moisture determination unit 44 estimates the amount of condensation based on the amount of moisture remaining in the room and the temperature information at startup.
  • the moisture determination unit 44 is configured to determine whether or not the wet state is based on weather information acquired by the control device 21 from an external system via the communication device 26, geographical information indicating the current location, and the like. There is a case.
  • the moisture determination unit 44 may be configured to determine that it is in a wet state during a rainy or snowing period, a predetermined period immediately after the raining or snowing, a fogging period, or the like.
  • weather information can be acquired from a weather information server or the like.
  • the moisture detection signal may be output when moving from a warm area to a cold area, parked near a lake, and parked in a cold area.
  • the moisture determination unit 44 determines whether or not it is a season when condensation can occur based on a calendar, and outputs a moisture detection signal when it is a season when condensation can occur.
  • the moisture determination unit 44 may be configured to output a dew condensation signal by using one of a plurality of methods described in this specification or a combination of a plurality of methods.
  • the moisture determination unit 44 may be configured to detect an actual amount of moisture on the surface of the heater 1 and output a moisture detection signal in response to the detection result. In one example, the moisture determination unit 44 outputs a moisture detection signal when the relative humidity on the surface of the heater 1 exceeds a predetermined threshold. In one example, the moisture determination unit 44 outputs a dew condensation signal when there are water droplets on the surface of the heater 1. Water droplets can be detected based on an electric resistance value or a capacitance value on the surface of the heater 1. When electrically detecting water droplets, a plurality of detection electrodes can be arranged on the surface of the heater 1. Water droplets can be detected optically.
  • the light emitting element and the light receiving element can be arranged so as to detect a change in light reflection or refraction corresponding to the presence or absence of water droplets on the surface of the heater 1.
  • a water droplet signal source including a water droplet detector is provided instead of the humidity signal source 25 .
  • the moisture determination unit 44 estimates condensation based on the humidity indicated by the humidity signal source 25 and the temperature indicated by the inside air temperature signal source 23 and / or the outside air temperature signal source 24, and outputs a moisture detection signal. Output.
  • the inside air temperature is regarded as the temperature of the surface of the heater 1, and the condensation is positively estimated when it is determined that the relative humidity of the surface of the heater 1 exceeds 100% based on the humidity of the room air. To do.
  • the heater control unit 31 includes a suppression time setting unit (TIME-SETM) 45.
  • the suppression time setting unit 45 sets a suppression time for delaying the startup time of the heater 1 to be longer than the first startup time.
  • the suppression time can be a fixed time or a variable time.
  • the suppression time is a time during which the amount of surface moisture can be reduced by heating the heater 1 to a suppression temperature below the target temperature. It is sufficiently longer than the time related to the electrical transient phenomenon, such as the time for suppressing the inrush current to the heater 1.
  • the suppression time can be set from several seconds to several tens of seconds. An example of a typical suppression time is 40 seconds.
  • the suppression time is a variable time
  • the suppression time can be given as a function of the amount of surface moisture.
  • the suppression time varies depending on the amount of moisture.
  • the suppression time is set longer as the amount of water increases.
  • the amount of water can be an actually detected amount or an estimated amount. Further, the water content can be replaced by another index indicating the water content. For example, the amount of moisture often depends on the internal temperature. Therefore, the water content can be replaced by the internal temperature. In this case, the suppression time is set longer as the internal temperature becomes lower.
  • the heater control unit 31 includes a suppression temperature setting unit (TEMP-SETM) 46.
  • the suppression temperature setting unit 46 sets the suppression temperature in the process of delaying the startup time of the heater 1.
  • the suppression temperature is a temperature for slowly evaporating the dew adhering on the surface of the heater 1.
  • the suppression temperature is lower than the temperature set by the normal output setting unit 41.
  • the suppression temperature can be a constant temperature or a variable temperature.
  • the suppression temperature is lower than the radiation temperature at which the heater 1 can function as a radiation heater.
  • the suppression temperature is lower than the target temperature at which the heater 1 exhibits its original heating function.
  • the suppression temperature is a temperature at which surface moisture is gradually evaporated.
  • the suppression temperature is a temperature at which the surface moisture is not rapidly boiled.
  • the suppression temperature is higher than the room temperature of the heater 1.
  • the suppression temperature is higher than the inside air temperature and the outside air temperature.
  • the suppression temperature is a temperature at which surface moisture can be reduced.
  • the suppression temperature When the suppression temperature is a variable temperature, the suppression temperature can be given as a function of moisture content. In this case, the suppression temperature changes according to the amount of moisture. For example, the suppression temperature is set lower as the moisture content increases. Thereby, a water
  • the heater control unit 31 includes a suppression control unit (SPR-CNTM) 47.
  • the suppression control unit 47 heats the heater 1 to a suppression temperature lower than the target temperature with the power suppressed by the power set by the normal control unit so as to reduce the moisture adhering to the surface of the heater 1.
  • the suppression control unit 47 sets a suppression energization schedule to substitute for the normal energization schedule set by the normal control unit 42.
  • the suppression energization schedule suppresses the power supplied to the heater 1 to be lower than the normal power commanded by the normal control unit 42.
  • the suppression energization schedule is set based on the suppression time and the suppression temperature.
  • the suppression controller 47 sets the suppression energization schedule so that the temperature of the heater 1 rises more slowly than the normal energization schedule set by the normal control unit 42.
  • the suppression control unit 47 controls energization so that the temperature of the heater 1 reaches the target temperature from the initial temperature during a second startup time longer than the first startup time.
  • the second rise time is characterized by the suppression time and the suppression temperature.
  • the power control unit 43 adjusts the energization amount to the heater 1, that is, the supplied power, according to the suppression energization schedule set by the suppression control unit 47. That is, after the activation of the heater 1 is commanded, the heater 1 is heated by the normal control unit 42 after the heater 1 is heated by the suppression control unit 47.
  • the temperature of the heater 1 under the suppressed energization schedule is lower over a longer period than the temperature of the heater 1 under the normal energization schedule. Put in temperature.
  • surface moisture gradually evaporates and decreases.
  • boiling and evaporation of surface moisture are suppressed.
  • the malfunction resulting from intense boiling of surface moisture and / or rapid evaporation of dew is suppressed.
  • FIG. 4 is a flowchart showing the control process 160 executed by the control device 21.
  • the control device 21 executes air conditioning control for the air conditioning device 10.
  • the control device 21 executes heater control for the heater 1.
  • step 163 the control device 21 executes a moisture determination calculation for determining whether or not the amount of surface moisture exceeds a predetermined threshold value.
  • a calculation for determining whether or not the relative humidity on the surface of the heater 1 exceeds 100% is executed.
  • the relative humidity at the surface temperature is obtained based on the humidity of the air and the surface temperature of the heater 1 before energization.
  • the surface moisture accumulation time is estimated based on the stop time before the heater 1 is started.
  • it is determined that the relative humidity on the surface of the heater 1 is 100%, and the duration of the state is regarded as the surface moisture accumulation time, and the surface moisture accumulated on the surface of the heater 1 is determined. Find the amount.
  • step 164 the control device 21 determines whether or not there is moisture on the surface of the heater 1 that exceeds a predetermined threshold value.
  • the process of step 164 is a process of determining whether or not a wet state.
  • the processing in step 163 and step 164 provides the moisture determination unit 44.
  • These steps 163 and 164 can be configured to perform one of the various processes described above.
  • the control process 160 proceeds to step 165. If the wet state is affirmed in step 164 (YES), the control process 160 proceeds to step 171.
  • step 165 the control device 21 performs normal control.
  • step 166 the control device 21 sets a normal output.
  • the normal output is set based on the target temperature signal supplied from the target temperature signal source 27.
  • Step 165 provides the normal output setting unit 41.
  • step 167 the control device 21 sets a normal energization schedule.
  • Step 167 provides the normal control unit 42.
  • step 168 the control device 21 controls the power supplied to the heater 1 according to the normal energization schedule. As a result, the temperature of the heater 1 quickly rises to the target temperature, that is, the radiation temperature.
  • the normal energization schedule is set so as to supply the rated power allowed for heating the heater 1 so as to reach the target temperature from the initial temperature.
  • the heater 1 is heated so as to reach the target temperature from the initial temperature over a relatively short first time.
  • the normal energization schedule is set so as to provide a quick warm feeling to the user while considering the durability of the heater 1.
  • Control device 21 executes suppression control in step 171.
  • the control device 21 increases the temperature of the heater 1 over time more slowly than the normal control.
  • the control device 21 sets a suppression time.
  • Step 172 provides the suppression time setting unit 45.
  • the control device 21 sets a suppression temperature.
  • Step 173 provides the suppression temperature setting part 46.
  • the control device 21 sets a suppression energization schedule.
  • Step 174 provides the suppression control unit 47.
  • step 168 the control device 21 controls the power supplied to the heater 1 in accordance with the suppression energization schedule. Thereby, the temperature of the heater 1 reaches the target temperature after passing through the suppression temperature for the suppression time. In the suppression control, the heater 1 is heated more slowly than in the normal control.
  • the suppression energization schedule suppresses the power supplied to the heater 1 more than the power in normal control.
  • the heater 1 is heated so as to reach the target temperature from the initial temperature over a second time longer than the first time.
  • the suppression energization schedule is set so that the temperature of the heater 1 reaches the target temperature after the amount of surface moisture is sufficiently reduced.
  • step 165 After passing through step 171. Thereby, after the start of the heater 1 is commanded, the normal control is executed after the suppression control is executed.
  • FIG. 5 shows the setting characteristics of the suppression time TM in the suppression time setting unit 45 and step 172.
  • the horizontal axis indicates the water content DW.
  • the vertical axis represents the suppression time TM.
  • the suppression time TM is set longer as the moisture amount DW increases.
  • the suppression time TM is set to the lower limit value TML.
  • the lower limit value TML is zero (0). Therefore, even if there is surface moisture, the suppression control is not executed when the amount is small.
  • the lower limit value DW0 is set to a value that does not cause noticeable steam or odor even when the amount of water suddenly boils and evaporates.
  • the suppression time TM is limited to the upper limit value TMU. This is because the reason for using the heater 1 is diminished if the suppression time TM is too long.
  • the upper limit value TMU is desirably set so as to provide the user with a sense of warmth faster than the heating by the air conditioner 10.
  • FIG. 6 shows setting characteristics of the suppression temperature TP in the suppression temperature setting unit 46 and step 173.
  • the horizontal axis indicates the water content DW.
  • the vertical axis represents the suppression temperature TP.
  • the suppression temperature TP is set lower as the moisture amount DW increases.
  • the suppression temperature TP is set to the upper limit value TPU.
  • the upper limit value TPU is a target temperature set in normal control. Therefore, even if there is surface moisture, the suppression control is not executed when the amount is small.
  • the lower limit value DW0 is set to a value that does not cause noticeable steam or odor even when the amount of water suddenly boils and evaporates.
  • the suppression temperature TP is limited to the lower limit value TPL. This is because the reason for using the heater 1 is diminished if the suppression temperature TP is too low.
  • the lower limit value TPL is desirably set so that the target temperature can be reached quickly after the suppression time TM has elapsed while suppressing the intense boiling and evaporation of surface moisture.
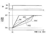
  • FIG. 7 shows an example of the operation of the heater 1 according to this embodiment.
  • the horizontal axis indicates time.
  • the upper row shows the activation signal supplied from the activation signal source 22.
  • the lower row shows the temperature of the heater 1.
  • activation of heater 1 is commanded.
  • the temperature of the heater 1 rises from the initial temperature TP0 toward the target temperature TPT.
  • Waveform CV0 corresponds to a normal energization schedule.
  • the temperature of the heater 1 rises so as to draw a waveform delayed from the waveform CV0.
  • waveforms CV1 and CV2 are illustrated.
  • the suppression time TM1 and the suppression temperature TP1 are set, and the suppression energization schedule is set based on these.
  • the temperature of the heater 1 changes so as to draw a waveform CV1.
  • the temperature of the heater 1 is suppressed to the suppression temperature TP1 that is lower than the target temperature TPT during the period of the suppression time TM1.
  • the surface moisture gradually evaporates. This suppresses phenomena such as steam and odor caused by sudden boiling of surface moisture.
  • the suppression time TM2 and the suppression temperature TP2 are set, and the suppression energization schedule is set based on these.
  • the temperature of the heater 1 changes so as to draw a waveform CV2.
  • the surface moisture gradually evaporates. Even when there is a relatively large amount of surface moisture, the amount of moisture can be reduced. This suppresses phenomena such as steam and odor caused by sudden boiling of surface moisture.
  • the heater 1 when the wet state is not determined, the heater 1 is heated by the normal control unit 42 so as to reach the target temperature TPT over the first time.
  • the heater 1 when the wet state is determined, after the heater 1 is heated by the suppression control unit 47, the heater 1 is heated by the normal control unit 42.
  • the heater 1 is heated by the suppression control unit 47 and the normal control unit 42 so as to reach the target temperature TPT over a second time longer than the first time.
  • the heater 1 when activation of the heater 1 is commanded, the heater 1 is heated. When surface moisture is not detected, the heater 1 is rapidly heated toward the target temperature. Therefore, a warm feeling is quickly provided to the user. On the other hand, when surface moisture is detected, the heater 1 is heated to a target temperature after being heated to a suppression temperature lower than the target temperature by the suppressed power. Surface moisture is reduced by the suppression temperature. For this reason, the amount of surface moisture at the time when the heater 1 reaches the target temperature is less than the time when the activation is commanded. Therefore, a large amount of surface moisture is rapidly heated by the target temperature, and rapid and large-scale boiling and / or rapid and large-scale evaporation is suppressed.
  • the heater 1 is employed in which the temperature of the contact portion is greatly reduced when an object comes into contact. Such a heater 1 can employ a high target temperature. According to this embodiment, even when a high target temperature is adopted, problems caused by boiling and / or evaporation of surface moisture can be suppressed.
  • This embodiment is a modification based on the preceding embodiment.
  • the temperature of the heater 1 rises in steps. Instead of this, the temperature of the heater 1 may rise continuously.
  • the temperature of the heater 1 in the suppression control may rise along a straight line inclined from the initial temperature TP0 toward the target temperature TPT as shown in the waveform CV21. Even in this case, boiling and evaporation of the surface moisture are suppressed as compared with the waveform CV0 in the normal control. Further, the temperature of the heater 1 may rise along a plurality of inclined straight lines as shown in the waveform CV22. Further, the temperature of the heater 1 may rise along a curve as shown in the waveform CV23. Even if these waveforms are employed, the same effect as the above embodiment can be obtained.
  • the temperature of the heater 1 is from the initial temperature TP0 toward the target temperature TPT, as shown in the waveform CV31, regardless of whether or not it is wet. Ascend slowly.
  • the waveform CV31 is set so as to suppress the rapid boiling and / or evaporation of surface moisture while realizing the provision of warmth faster than the air conditioner 10 for the user. According to this embodiment, it is not necessary to provide the moisture determination unit 44.
  • the heater 1 is heated by the normal control unit 42 after the heater 1 is heated by the suppression control unit 47. According to this embodiment, the speed of provision of warmth is somewhat impaired, but problems due to rapid boiling and / or evaporation of surface moisture are suppressed.
  • the vehicle heater 1 is exemplified. Instead of this, the heater 1 may be installed in a household room or a business office room.
  • the surface of the heater 1 may be exposed toward the room.
  • a heat resistant interior material may be disposed on the surface of the heater 1.
  • a fiber material or a fabric material as an interior material may be provided on the surface of the heater 1.
  • the suppression control maintains the temperature of the heater 1 at the suppression temperature over the suppression time.
  • the power supplied to the heater 1 over the suppression time may be maintained at the suppression power.
  • the suppression power can be a standard power for realizing the suppression temperature.

Landscapes

  • Engineering & Computer Science (AREA)
  • Mechanical Engineering (AREA)
  • Physics & Mathematics (AREA)
  • Thermal Sciences (AREA)
  • Power Engineering (AREA)
  • Air-Conditioning For Vehicles (AREA)
  • Air Conditioning Control Device (AREA)
  • Electric Stoves And Ranges (AREA)
  • Central Heating Systems (AREA)
PCT/JP2015/006036 2014-12-10 2015-12-04 ヒータ装置 Ceased WO2016092792A1 (ja)

Priority Applications (3)

Application Number Priority Date Filing Date Title
DE112015005544.4T DE112015005544T5 (de) 2014-12-10 2015-12-04 Heizungseinrichtung
US15/526,899 US10583712B2 (en) 2014-12-10 2015-12-04 Perceivable steam suppressing heater system
CN201580066983.1A CN107003007B (zh) 2014-12-10 2015-12-04 加热器装置

Applications Claiming Priority (2)

Application Number Priority Date Filing Date Title
JP2014250181A JP6435828B2 (ja) 2014-12-10 2014-12-10 ヒータ装置
JP2014-250181 2014-12-10

Publications (1)

Publication Number Publication Date
WO2016092792A1 true WO2016092792A1 (ja) 2016-06-16

Family

ID=56107017

Family Applications (1)

Application Number Title Priority Date Filing Date
PCT/JP2015/006036 Ceased WO2016092792A1 (ja) 2014-12-10 2015-12-04 ヒータ装置

Country Status (5)

Country Link
US (1) US10583712B2 (enExample)
JP (1) JP6435828B2 (enExample)
CN (1) CN107003007B (enExample)
DE (1) DE112015005544T5 (enExample)
WO (1) WO2016092792A1 (enExample)

Cited By (1)

* Cited by examiner, † Cited by third party
Publication number Priority date Publication date Assignee Title
US11964540B2 (en) * 2019-06-13 2024-04-23 Toyota Jidosha Kabushiki Kaisha Heating apparatus for vehicle, method of controlling heating apparatus for vehicle, and storage medium

Families Citing this family (4)

* Cited by examiner, † Cited by third party
Publication number Priority date Publication date Assignee Title
JP7110764B2 (ja) * 2017-10-17 2022-08-02 株式会社デンソー ヒータ装置
CN109901634A (zh) * 2017-12-08 2019-06-18 光宝电子(广州)有限公司 温度调节装置与方法
JP7031508B2 (ja) * 2018-06-19 2022-03-08 トヨタ自動車株式会社 車両空調システム
JP7207272B2 (ja) * 2019-11-18 2023-01-18 株式会社デンソー ヒータ装置

Citations (4)

* Cited by examiner, † Cited by third party
Publication number Priority date Publication date Assignee Title
JPS5474820A (en) * 1977-11-28 1979-06-15 Stanley Electric Co Ltd Anticlouding apparatus
JPH01168990U (enExample) * 1988-05-17 1989-11-29
JP2008041343A (ja) * 2006-08-03 2008-02-21 Geomatec Co Ltd 発熱性樹脂基板
JP2010052710A (ja) * 2008-07-29 2010-03-11 Panasonic Corp 加熱装置およびそれを用いた車両用暖房装置

Family Cites Families (25)

* Cited by examiner, † Cited by third party
Publication number Priority date Publication date Assignee Title
JP3985365B2 (ja) * 1997-12-25 2007-10-03 株式会社デンソー 車両用空調装置
US20030039298A1 (en) * 2001-08-22 2003-02-27 Lear Corporation System and method of vehicle climate control
JP3815302B2 (ja) * 2001-11-12 2006-08-30 株式会社デンソー 車両用空調装置
CN101678737B (zh) * 2007-06-15 2014-11-12 松下电器产业株式会社 车辆加热系统
CN201081322Y (zh) * 2007-09-12 2008-07-02 林忠 载客交通工具用碳纤维加热式采暖器
JP5379804B2 (ja) * 2007-10-19 2013-12-25 シエル・インターナシヨネイル・リサーチ・マーチヤツピイ・ベー・ウイ 炭化水素含有層の処理用熱源の不規則な間隔
US8453474B2 (en) * 2009-07-27 2013-06-04 Nissan North America, Inc. Vehicle air handling system
JP2011075255A (ja) * 2009-10-02 2011-04-14 Toyota Industries Corp 空調装置および空調装置の制御方法
DE102009052535C5 (de) * 2009-11-11 2023-06-01 Nbhx Trim Gmbh Innenraumverkleidung
JP2012056531A (ja) 2010-09-13 2012-03-22 Denso Corp 車両用輻射熱暖房装置
JP5644480B2 (ja) * 2010-12-24 2014-12-24 日産自動車株式会社 車両の制御装置
JP2012192829A (ja) * 2011-03-16 2012-10-11 Denso Corp 車両用暖房装置
JP5640839B2 (ja) 2011-03-16 2014-12-17 株式会社デンソー 車両用暖房装置
US20120234932A1 (en) * 2011-03-16 2012-09-20 Denso Corporation Vehicular heating system
KR101693886B1 (ko) * 2011-07-05 2017-01-06 현대자동차주식회사 차량용 ptc히터 제어 방법
US9434235B2 (en) * 2011-08-29 2016-09-06 Nissan North America, Inc. Vehicle air handling system
EP2607121B2 (de) * 2011-12-22 2020-07-08 Eberspächer catem GmbH & Co. KG Elektrische Heizvorrichtung, insbesondere für ein Kraftfahrzeug
JP5895805B2 (ja) 2012-05-23 2016-03-30 株式会社デンソー 輻射ヒータ装置
JP5983495B2 (ja) 2013-03-28 2016-08-31 株式会社デンソー 輻射ヒータ装置
US9452661B2 (en) * 2013-04-30 2016-09-27 Nissan North America, Inc. Vehicle air conditioning system
LU92228B1 (de) * 2013-06-20 2014-12-22 Iee Sarl Heizfähiges Innenraumverkleidungselement
JP6384129B2 (ja) * 2013-08-27 2018-09-05 株式会社デンソー 車載用輻射ヒータ制御装置
JP6196843B2 (ja) * 2013-08-28 2017-09-13 株式会社マーレ フィルターシステムズ 車両用暖房装置
JP6319047B2 (ja) * 2013-11-19 2018-05-09 株式会社デンソー 車両用空調システム及びその起動方法
JP6245101B2 (ja) 2014-07-22 2017-12-13 株式会社デンソー 輻射ヒータ装置

Patent Citations (4)

* Cited by examiner, † Cited by third party
Publication number Priority date Publication date Assignee Title
JPS5474820A (en) * 1977-11-28 1979-06-15 Stanley Electric Co Ltd Anticlouding apparatus
JPH01168990U (enExample) * 1988-05-17 1989-11-29
JP2008041343A (ja) * 2006-08-03 2008-02-21 Geomatec Co Ltd 発熱性樹脂基板
JP2010052710A (ja) * 2008-07-29 2010-03-11 Panasonic Corp 加熱装置およびそれを用いた車両用暖房装置

Cited By (1)

* Cited by examiner, † Cited by third party
Publication number Priority date Publication date Assignee Title
US11964540B2 (en) * 2019-06-13 2024-04-23 Toyota Jidosha Kabushiki Kaisha Heating apparatus for vehicle, method of controlling heating apparatus for vehicle, and storage medium

Also Published As

Publication number Publication date
JP2016109406A (ja) 2016-06-20
US10583712B2 (en) 2020-03-10
CN107003007A (zh) 2017-08-01
CN107003007B (zh) 2019-07-05
DE112015005544T5 (de) 2017-08-24
US20170320376A1 (en) 2017-11-09
JP6435828B2 (ja) 2018-12-12

Similar Documents

Publication Publication Date Title
JP6435828B2 (ja) ヒータ装置
JP6476595B2 (ja) 車両用暖房装置
US9873309B2 (en) Radiant heater air-conditioning system
CN107531127B (zh) 加热器装置
JP6591181B2 (ja) 風防装置、航空機、および風防ヒータの電力制御方法
JP5640839B2 (ja) 車両用暖房装置
JP2016141378A (ja) 車両用防曇解氷装置
US20150028116A1 (en) Method of Heating the Interior of a Vehicle
KR20180046854A (ko) 차량의 자동 수증기 제거 시스템
JP7380447B2 (ja) 車両用のヒータシステム
KR20160130696A (ko) 열 웨이브-기반 시트 히팅
JP6361499B2 (ja) 冷暖房装置システム
JP6337503B2 (ja) 車両用空調装置
JP6573034B2 (ja) ヒータ制御装置
JP6221985B2 (ja) 輻射ヒータ装置
US20160236599A1 (en) Air Supply Device for a Motor Vehicle Seat and Method for Operating the Air Supply Device
CN102759181B (zh) 冷辐射系统不结露室内温控方法
KR20180100826A (ko) 그래파이트 기반 발열체를 이용한 발열 시스템
WO2022085559A1 (ja) 窓ガラスシステム及び窓ガラス
CN207403699U (zh) 一种具有除雾除霜功能的汽车
JP2005082428A (ja) 通電発熱ガラス装置
CN107390740A (zh) 加热设备控制方法和装置
EP4580313A1 (en) Systems, methods, and devices for providing low energy defrosting and heating to multiple surfaces
JP2020038809A (ja) ヒータ装置
CN110410921B (zh) 一种防止异响的控制方法及空调器

Legal Events

Date Code Title Description
121 Ep: the epo has been informed by wipo that ep was designated in this application

Ref document number: 15868276

Country of ref document: EP

Kind code of ref document: A1

WWE Wipo information: entry into national phase

Ref document number: 15526899

Country of ref document: US

WWE Wipo information: entry into national phase

Ref document number: 112015005544

Country of ref document: DE

122 Ep: pct application non-entry in european phase

Ref document number: 15868276

Country of ref document: EP

Kind code of ref document: A1