WO2016075868A1 - Image processing apparatus, image processing method, and program - Google Patents

Image processing apparatus, image processing method, and program Download PDF

Info

Publication number
WO2016075868A1
WO2016075868A1 PCT/JP2015/005191 JP2015005191W WO2016075868A1 WO 2016075868 A1 WO2016075868 A1 WO 2016075868A1 JP 2015005191 W JP2015005191 W JP 2015005191W WO 2016075868 A1 WO2016075868 A1 WO 2016075868A1
Authority
WO
WIPO (PCT)
Prior art keywords
region
display
image
image processing
depolarized
Prior art date
Legal status (The legal status is an assumption and is not a legal conclusion. Google has not performed a legal analysis and makes no representation as to the accuracy of the status listed.)
Ceased
Application number
PCT/JP2015/005191
Other languages
English (en)
French (fr)
Inventor
Yoshihiko Iwase
Makoto Sato
Current Assignee (The listed assignees may be inaccurate. Google has not performed a legal analysis and makes no representation or warranty as to the accuracy of the list.)
Canon Inc
Original Assignee
Canon Inc
Priority date (The priority date is an assumption and is not a legal conclusion. Google has not performed a legal analysis and makes no representation as to the accuracy of the date listed.)
Filing date
Publication date
Application filed by Canon Inc filed Critical Canon Inc
Priority to US15/525,924 priority Critical patent/US10360683B2/en
Publication of WO2016075868A1 publication Critical patent/WO2016075868A1/en
Anticipated expiration legal-status Critical
Ceased legal-status Critical Current

Links

Images

Classifications

    • GPHYSICS
    • G06COMPUTING OR CALCULATING; COUNTING
    • G06TIMAGE DATA PROCESSING OR GENERATION, IN GENERAL
    • G06T7/00Image analysis
    • G06T7/10Segmentation; Edge detection
    • G06T7/11Region-based segmentation
    • AHUMAN NECESSITIES
    • A61MEDICAL OR VETERINARY SCIENCE; HYGIENE
    • A61BDIAGNOSIS; SURGERY; IDENTIFICATION
    • A61B3/00Apparatus for testing the eyes; Instruments for examining the eyes
    • A61B3/10Objective types, i.e. instruments for examining the eyes independent of the patients' perceptions or reactions
    • A61B3/102Objective types, i.e. instruments for examining the eyes independent of the patients' perceptions or reactions for optical coherence tomography [OCT]
    • GPHYSICS
    • G03PHOTOGRAPHY; CINEMATOGRAPHY; ANALOGOUS TECHNIQUES USING WAVES OTHER THAN OPTICAL WAVES; ELECTROGRAPHY; HOLOGRAPHY
    • G03BAPPARATUS OR ARRANGEMENTS FOR TAKING PHOTOGRAPHS OR FOR PROJECTING OR VIEWING THEM; APPARATUS OR ARRANGEMENTS EMPLOYING ANALOGOUS TECHNIQUES USING WAVES OTHER THAN OPTICAL WAVES; ACCESSORIES THEREFOR
    • G03B42/00Obtaining records using waves other than optical waves; Visualisation of such records by using optical means
    • G03B42/08Visualisation of records by optical means
    • GPHYSICS
    • G06COMPUTING OR CALCULATING; COUNTING
    • G06FELECTRIC DIGITAL DATA PROCESSING
    • G06F9/00Arrangements for program control, e.g. control units
    • G06F9/06Arrangements for program control, e.g. control units using stored programs, i.e. using an internal store of processing equipment to receive or retain programs
    • G06F9/30Arrangements for executing machine instructions, e.g. instruction decode
    • GPHYSICS
    • G06COMPUTING OR CALCULATING; COUNTING
    • G06TIMAGE DATA PROCESSING OR GENERATION, IN GENERAL
    • G06T2207/00Indexing scheme for image analysis or image enhancement
    • G06T2207/20Special algorithmic details
    • G06T2207/20212Image combination

Definitions

  • the present invention relates to an image processing apparatus and an image processing method for processing a tomographic image of a subject's eye, and a program.
  • OCT optical coherence tomography
  • Optical coherence tomography may obtain a tomographic image of a sample (particularly, a fundus) with high resolution.
  • OCT apparatuses for ophthalmology obtainment of a functional OCT image obtained by imaging optical characteristics, movements, and the like of fundus tissues is attempted in addition to a normal OCT image obtained by imaging shapes of fundus tissues.
  • Polarization sensitive OCT which is one of such functional OCTs performs imaging using a polarization parameter (retardation and orientation) which is one of the optical characteristics of fundus tissues.
  • the polarization sensitive OCT may form a polarization sensitive OCT image using the polarization parameter and perform detection and segmentation of fundus tissues.
  • the polarization sensitive OCT divides interfering light into two linearly-polarized light beams which are orthogonal to each other and detects the linearly-polarized light beams using light modulated into circularly-polarized light as measurement light used to observe a sample so as to generate a polarization sensitive OCT image (refer to PTL 1).
  • depolarized regions extracted from a polarization sensitive OCT image are classified into an RPE region and a choroid region.
  • depolarization is an index representing a degree of cancellation of polarization in a subject.
  • the depolarization is seen to be caused by random changing of a direction and a phase of polarization due to reflection of measurement light in fine structures (melanin, for example) in tissues, for example.
  • a depolarized region is extracted from a polarization sensitive OCT image, and a curve of an RPE region is estimated in the extracted depolarized region. Then a portion which is positioned far from the estimated curve to a deep side or a shallow side in a depth direction is discriminated (classified) as a choroid region.
  • different colors are used for displaying the RPE region and the choroid region in the polarization sensitive OCT image.
  • an image processing apparatus including a detection unit configured to detect a depolarized region in a polarization tomographic image of a subject's eye, an estimation unit configured to estimate a curve using the extracted depolarized region, a discrimination unit configured to discriminate the extracted depolarized region as a region including the estimated curve and a region which is discontinuous with the region including the estimated curve, and a correcting unit configured to correct at least a portion of a result of the discrimination representing the discontinuous region to a result of discrimination representing another region.
  • an image processing method including detecting a depolarized region in a polarization tomographic image of a subject's eye, estimating a curve using the extracted depolarized region, discriminating the extracted depolarized regions as a region including the estimated curve and a region which is discontinuous with the region including the estimated curve, and correcting at least a portion of a result of the discrimination representing the discontinuous region to a result of discrimination representing another region.
  • Fig. 1 is a diagram schematically illustrating an entire configuration of an image processing apparatus according to an embodiment.
  • Fig. 2A is a diagram illustrating a luminance image of an optic disk portion generated by a signal processor.
  • Fig. 2B is a diagram illustrating a retardation image of the optic disk portion generated by the signal processor.
  • Fig. 2C is a diagram illustrating a retardation map of the optic disk portion generated by the signal processor.
  • Fig. 2D is a diagram illustrating a birefringence map of the optic disk portion generated by the signal processor.
  • Fig. 2E is a diagram illustrating a DOPU image of the optic disk portion generated by the signal processor.
  • Fig. 3A is a processing flow according to the embodiment.
  • Fig. 3A is a processing flow according to the embodiment.
  • Fig. 3A is a processing flow according to the embodiment.
  • Fig. 3A is a processing flow according to the embodiment.
  • Fig. 3A is a processing flow
  • Fig. 4A is a diagram illustrating image analysis according to the embodiment.
  • Fig. 4B is a diagram illustrating the image analysis according to the embodiment.
  • Fig. 4C is a diagram illustrating the image analysis according to the embodiment.
  • Fig. 4D is a diagram illustrating the image analysis according to the embodiment.
  • Fig. 4E is a diagram illustrating the image analysis according to the embodiment.
  • Fig. 4F is a diagram illustrating the image analysis according to the embodiment.
  • Fig. 5A is a diagram illustrating image analysis according to the embodiment.
  • Fig. 5B is a diagram illustrating the image analysis according to the embodiment.
  • Fig. 5C is a diagram illustrating the image analysis according to the embodiment.
  • FIG. 5D is a diagram illustrating the image analysis according to the embodiment.
  • Fig. 5E is a diagram illustrating the image analysis according to the embodiment.
  • Fig. 5F is a diagram illustrating the image analysis according to the embodiment.
  • Fig. 6 is a diagram illustrating display in a display screen of a display unit included in the image processing apparatus according to the embodiment.
  • Fig. 7A is a diagram illustrating manual correction according to the embodiment.
  • Fig. 7B is a diagram illustrating the manual correction according to the embodiment.
  • Fig. 8 is a diagram illustrating manual correction according to the embodiment.
  • Fig. 9 is a diagram illustrating display in the display screen of the display unit included in the image processing apparatus according to the embodiment.
  • depolarized regions extracted from a polarization sensitive OCT image are classified into an RPE region and a choroid region. Furthermore, the RPE region and the choroid region in the polarization sensitive OCT image are displayed in different colors.
  • discrimination (classification) of the RPE region and the choroid region may fail when signal intensity is degraded due to cataract or the like or when a lesion is generated in a fundus in a case of a subject's eye having illness.
  • the present invention provides an image processing apparatus and an image processing method which allow an operator to correct a result obtained by automatically classifying depolarized regions into a plurality of types of region (a plurality of regions) with ease.
  • the image processing apparatus of this embodiment includes a detection unit which detects depolarized regions in a polarization tomographic image of a subject's eye. Furthermore, the image processing apparatus of this embodiment includes a classifying unit which classifies the detected depolarized regions into a plurality of types of region. Furthermore, the classifying unit may classify the detected depolarized regions into a plurality of regions. For example, the classifying unit classifies (discriminates) a region corresponding to an RPE estimation curve which is an example of a first region into an RPE region.
  • the classifying unit classifies (discriminates) a region which is separated from the RPE region, which is an example of discontinuous region (a region which is not continuous with the RPE region), and which is located on a shallow side relative to the RPE estimation curve into a particle region which is an example of a second region. Moreover, the classifying unit classifies (discriminates) a region which is separated from the RPE region (a region which is not continuous with the RPE region) and which is located on a deep side relative to the RPE estimation curve into a choroid region which is an example of a third region. Note that the particle region and the choroid region will be described in detail hereinafter.
  • the image processing apparatus of this embodiment further includes a display control unit which displays a plurality of display forms corresponding to the plurality of classified types in the display unit in a state in which the display forms are superposed on the polarization tomographic image. Furthermore, the display control unit may display the plurality of classified regions in a distinguishable manner in a state in which the classified regions are superposed on the polarization tomographic image. For example, the display control unit displays the polarization tomographic image such that the RPE region is displayed in red, the particle region is displayed in blue, and the choroid region is displayed in lime green.
  • the image processing apparatus further includes a correcting unit which corrects a type of region corresponding to a display form specified by the operator to another type of region (a correct type of region specified by the operator). Furthermore, the correcting unit may correct a display state corresponding to a region specified by the operator (the correct region specified by the operator) to a display state corresponding to another region. Specifically, at least a portion of a discontinuous region (or at least one of the second and third regions) may be displayed in accordance with a result of the correction performed by the correcting unit. Accordingly, a result of the automatic classification of depolarized regions into a plurality of types of region may be corrected by the operator with ease.
  • a case where an algorithm in which DOPU is not calculated in a region having pixel values of a tomographic luminance image which are lower than a threshold value is employed is taken as an example.
  • a region which is dark due to shadows of blood vessels in an RPE region and the like are determined as a region having a luminance value lower than the threshold value. Therefore, the RPE region is not continuous (that is, the RPE region is divided) in the region having a luminance value lower than the threshold value in the RPE region. Accordingly, the RPE region is not detected with high accuracy even using a DOPU image in some cases.
  • it is likely that a region separated from the RPE region is automatically classified into a type of region different from the RPE region.
  • Fig. 1 is a diagram schematically illustrating an entire configuration of an image processing apparatus according to this embodiment.
  • This apparatus includes a polarization sensitive OCT (PS-OCT) 100 which is an example of a light interference tomographic apparatus, a polarization sensitive scanning laser ophthalmoscope (PS-SLO) 140 utilizing polarization, an anterior ocular segment imaging unit 160, an internal fixation lamp 170, and a controller 200.
  • PS-OCT polarization sensitive OCT
  • PS-SLO polarization sensitive scanning laser ophthalmoscope
  • an image of a fundus is captured using the PS-OCT 100 and the PS-SLO 140.
  • the image processing apparatus may be connected to the light interference tomographic apparatus in a communication available manner or may be incorporated in the light interference tomographic apparatus in an integrated manner.
  • a light source 101 is a super luminescent diode (SLD) light source which is a low coherent light source and emits light having a center wavelength of 850 nm and a bandwidth of 50 nm, for example.
  • SLD super luminescent diode
  • any light source such as an amplified spontaneous emission (ASE) light source, may be employed as long as the light source is capable of emitting low coherent light.
  • ASE amplified spontaneous emission
  • Light emitted from the light source 101 is guided to a fiber coupler 104 having a polarization maintaining function through a polarization maintaining (PM) fiber 102 and a polarization controller 103 and is divided into measurement light (or OCT measurement light) and reference light (or reference light corresponding to the OCT measurement light).
  • the polarization controller 103 controls a state of polarization of the light emitted from the light source 101 so as to obtain linearly-polarized light.
  • a division ratio of the fiber coupler 104 is 90:10 ((reference light):(measurement light)).
  • the measurement light obtained through the division is emitted from a collimator 106 as parallel light through a PM fiber 105.
  • the emitted measurement light reaches a dichroic mirror 111 through an X scanner 107 including a galvanometer mirror which scans a fundus Er using the measurement light in a horizontal direction, lenses 108 and 109, and a Y scanner 110 which scans the fundus Er using the measurement light in a vertical direction.
  • the X scanner 107 and the Y scanner 110 are controlled by a driving controller 180 so that a desired region of the fundus Er (or a range for obtaining a tomographic image, a position for obtaining a tomographic image, or a position for irradiating the measurement light) is scanned using the measurement light.
  • the dichroic mirror 111 is characterized by reflecting light having a wavelength of 800 nm to 900 nm and allowing other light to pass.
  • the measurement light reflected by the dichroic mirror 111 is transmitted through a lens 112 to a ⁇ /4 polarization plate 113 (an example of a polarization control member) which is inclined by 45° so that a phase of the measurement light is shifted by 90° and is subjected to polarization control so that circularly-polarized light is obtained.
  • the inclination of the ⁇ /4 polarization plate 113 is preferably an angle corresponding to an inclination of a polarization division surface of a fiber coupler 123 incorporating a polarized beam splitter relative to an optical axis, for example (an example of an arrangement state).
  • the ⁇ /4 polarization plate 113 is preferably attachable in a light path.
  • the ⁇ /4 polarization plate 113 may be mechanically configured such that the ⁇ /4 polarization plate 113 is rotated around a rotation axis which is parallel to the optical axis.
  • a small apparatus capable of performing switching between an SLO optical system and a PS-SLO optical system with ease may be realized.
  • a small apparatus capable of performing switching between an OCT optical system and a PS-OCT optical system with ease may be realized.
  • the inclination of the ⁇ /4 polarization plate 113 may be finely controlled by the driving controller 180.
  • the measurement light which has been subjected to the polarization control so that circularly-polarized light is obtained is focused on a retina layer of the fundus Er through an anterior eye segment Ea of an eye which is the subject by a focus lens 114 disposed on a stage 116.
  • the measurement light which irradiates the fundus Er is reflected and scattered by retina layers and returns to the fiber coupler 104 through the light path described above.
  • the reference light divided by the fiber coupler 104 is emitted as parallel light from a collimator 118 through a PM fiber 117.
  • the emitted reference light is, similarly to the measurement light, subjected to polarization control in a ⁇ /4 polarization plate 119 disposed in an inclination manner by 22.5° relative to P polarized light toward S polarized light.
  • the reference light is reflected by a mirror 122 disposed on a coherence gate stage 121 through a dispersion compensation glass 120 and returns to the fiber coupler 104. That is, the reference light passes the ⁇ /4 polarization plate 119 twice so that linearly-polarized light returns to the fiber coupler 104.
  • the coherence gate stage 121 is controlled by the driving controller 180 so as to cope with differences among lengths of eyeballs of examiners.
  • the measurement light and the reference light which return to the fiber coupler 104 are combined with each other so as to obtain interfering light (combined light) to be incident on the fiber coupler 123 incorporating a polarization beam splitter, and the interfering light is divided into light beams having different polarization directions (P polarized light and S polarized light in this embodiment) by a division ratio of 50:50.
  • the P polarized light is transmitted through a PM fiber 124 and a collimator 130, divided by a grating 131, and received by a lens 132 and a line camera 133.
  • the S polarized light is transmitted through a PM fiber 125 and a collimator 126, divided by a grating 127, and received by a lens 128 and a line camera 129.
  • the gratings 127 and 131 and the line cameras 129 and 133 are disposed so as to correspond to directions of the S polarized light and the P polarized light, respectively.
  • the light received by the line cameras 129 and 133 is output as electric signals corresponding to light intensities and received by a signal processor 190 (an example of a tomographic image generation unit).
  • the ⁇ /4 polarization 113 controls the inclination using a polarization beam splitter as a reference
  • the ⁇ /4 polarization plate 113 may control the inclination relative to a straight line which connects a center of an optic disk of the fundus and a center of a macula. Furthermore, the same effect is obtained even when the polarization beam splitter and the ⁇ /4 polarization plates 113 and 119 are controlled using a vertical direction as a polarization reference.
  • a configuration of the PS-SLO 140 will be described.
  • a light source 141 is a semiconductor laser, and in this embodiment, emits light having a center wavelength of 780 nm.
  • Measurement light (or SLO measurement light) emitted from the light source 141 is transmitted through a PM fiber 142 to a polarization controller 145 which performs polarization control on the measurement light so as to obtain linearly-polarized light and emitted from a collimator 143 as parallel light.
  • the emitted measurement light passes a hole portion of a hole mirror 144 and reaches a dichroic mirror 154 through a lens 155, an X scanner 146 including a galvanometer mirror which scans the fundus Er using the measurement light in a horizontal direction, lenses 147 and 148, and a Y scanner 149 which scans the fundus Er using the measurement light in a vertical direction.
  • the X scanner 146 and the Y scanner 149 are controlled by the driving controller 180 so that a desired range of the fundus Er is scanned using the measurement light.
  • the dichroic mirror 154 is characterized by reflecting light having a wavelength of 760 nm to 800 nm and allowing other light to pass.
  • the linearly-polarized measurement light which is reflected by the dichroic mirror 154 reaches the fundus Er through the light path which is the same as the PS-OCT 100.
  • the measurement light which irradiates the fundus Er is reflected and scattered by the fundus Er and reaches the hole mirror 144 through the light path described above.
  • the light reflected by the hole mirror 144 is transmitted through a lens 150 to a polarization beam splitter 151 which divides the light into light beams having different polarization directions (P polarized light and S polarized light in this embodiment), and the light beams are received by avalanche photodiodes (APDs) 152 and 153, converted into electric signals, and received by the signal processor 190 (an example of a fundus image generation unit).
  • APDs avalanche photodiodes
  • a position of the hole mirror 144 is conjugated with a position of a pupil of the subject's eye, and light which passes a pupil peripheral portion in the measurement light reflected and scattered after being irradiated to the fundus Er is reflected by the hole mirror 144.
  • the PM fibers are used together with the PS-OCT and the PS-SLO in this embodiment, the same configuration and the same effect may be obtained when polarized light is controlled by a polarized light controller in a single mode fiber (SMF).
  • SMF single mode fiber
  • the anterior eye segment imaging unit 160 irradiates the anterior eye segment Ea using an illumination light source 115 including LEDs 115-a and 115-b which emit illumination light having a wavelength of 1000 nm.
  • the light reflected by the anterior eye segment Ea is transmitted through the lens 114, the ⁇ /4 polarization plate 113, the lens 112, and the dichroic mirrors 111 and 154 to a dichroic mirror 161.
  • the dichroic mirror 161 is characterized by reflecting light having a wavelength of 980 nm to 1100 nm and allowing light having other wavelengths to pass.
  • the light reflected by the dichroic mirror 161 is transmitted through lenses 162, 163, and 164 to an anterior eye segment camera 165.
  • the light received by the anterior eye segment camera 165 is converted into an electric signal to be supplied to the signal processor 190.
  • the internal fixation lamp 170 includes an internal fixation lamp display unit 171 and a lens 172.
  • the internal fixation lamp display unit 171 is formed by a plurality of light emitting diodes (LDs) arranged in a matrix. Lighting positions of the light emitting diodes are changed depending on a portion to be imaged under control of the driving controller 180.
  • Light emitted from the internal fixation lamp display unit 171 is guided to the subject's eye through the lens 172.
  • the light emitted from the internal fixation lamp display unit 171 has a wavelength of 520 nm and a desired pattern is displayed under control of the driving controller 180.
  • the controller 200 which controls the entire apparatus will be described.
  • the controller 200 includes the driving controller 180, the signal processor 190, a display control unit 191, and a display unit 192.
  • the driving controller 180 controls the various units as described above.
  • the signal processor 190 includes an image generation unit 193, a region detection unit 194, and a classifying unit 195.
  • the signal processor 190 performs generation of an image, analysis of the generated image, and generation of visualization information on a result of the analysis in accordance with signals output from the line cameras 129 and 133, the APDs 152 and 153, and the anterior eye segment camera 165.
  • a correcting unit 196 corrects a type of region corresponding to a display form specified by the operator to another type of region (a correct type specified by the operator). The generation and the analysis of an image and the like will be described in detail later.
  • the display control unit 191 causes the display unit 192 to display images generated by the tomographic image generation unit and the fundus image generation unit which are obtained by a tomographic image obtaining unit (not illustrated) and a fundus image obtaining unit (not illustrated) in a display screen of the display unit 192 (a liquid crystal display or the like).
  • image data generated by the signal processor 190 may be transmitted to the display control unit 191 in a wired manner or a wireless manner.
  • the fundus image obtaining unit may include an SLO optical system and the tomographic image obtaining unit may include an OCT optical system as an ophthalmic apparatus or an ophthalmic system according to another embodiment of the preset invention.
  • the display unit 192 displays a display form representing various information under control of the display control unit 191 as described below. Note that image data supplied from the display control unit 191 may be transmitted to the display unit 192 in a wired manner or a wireless manner. Furthermore, although the display unit 192 or the like is included in the controller 200, the present invention is not limited to this and the display unit 192 or the like may be provided separately from the controller 200. Moreover, the display control unit 191 and the display unit 192 may be integrally configured as a device (tablet) which may be carried by a user.
  • a display unit has a touch panel function so that an operation of moving a display position of an image, an operation of enlarging or reducing a size of the image, an operation of changing an image to be displayed, and the like may be performed on the touch panel.
  • the image generation unit 193 generates two tomographic images based on polarization components (a tomographic image corresponding to first polarized light and a tomographic image corresponding to second polarized light) by performing a reconstruction processing used in general spectral domain OCT (SD-OCT) on interfering signals output from the line cameras 129 and 133.
  • SD-OCT general spectral domain OCT
  • the image generation unit 193 removes fixed pattern noise from the interfering signals.
  • the removal of the fixed pattern noise is performed by extracting fixed pattern noise by averaging a plurality of detected A-scan signals and subtracting the extracted fixed pattern noise from the input interfering signals.
  • the image generation unit 193 converts wavelengths of the interfering signals into wavenumbers and generates tomographic signals (or tomographic signals representing polarization states) by performing Fourier transform. By performing the process described above on the two interfering signals having different polarization components, two tomographic images are generated.
  • the image generation unit 193 generates two fundus images based on the polarization components (or a tomographic image corresponding to the first polarized light and a tomographic image corresponding to the second polarized light) by arranging the signals output from the APDs 152 and 153 in synchronization with driving of the X scanner 146 and the Y scanner 149.
  • the image generation unit 193 generates luminance images from the two tomographic signals described above.
  • the luminance images are basically the same as tomographic images generated by general OCTs, and pixel values r of the luminance images are calculated from tomographic signals A H and A V obtained by the line cameras 129 and 133 in accordance with Expression 1.
  • fundus luminance images are generated from the two fundus images.
  • Fig. 2A is a diagram illustrating a luminance image of an optic disk portion.
  • the image generation unit 193 generates a retardation image using the tomographic images having the polarization components which are orthogonal to each other.
  • Values ⁇ of pixels of the retardation image are obtained by digitizing phase differences between vertical polarization components and horizontal polarization components in positions of the pixels included in the tomographic image and are calculated using the tomographic signals A H and A V in accordance with Expression 2.
  • Fig. 2B is a diagram illustrating a retardation image (or a tomographic image representing a phase difference of polarized light) of the optic disk portion generated as described above, and the image is obtained by calculating Expression 2 on B-scan images.
  • a portion in which a phase difference is generated in the tomographic image is displayed in color, and of a deep color portion corresponds to a small phase difference whereas a light color portion corresponds to a large phase difference. Therefore, by generating the retardation image, a layer having birefringence may be recognized.
  • the image generation unit 193 generates a retardation map from a retardation image obtained from a plurality of B-scan images.
  • the image generation unit 193 detects a retinal pigment epithelium (RPE) in the B-scan images. Since the RPE is characterized by cancelling polarization, the image generation unit 193 checks distribution of retardation in a range from an inner limiting membrane (ILM) to a point which does not include the RPE along a depth direction of A-scans and sets a maximum value as representative values of the retardation in the A-scans.
  • the image generation unit 193 performs the process described above on all retardation images so as to generate a retardation map.
  • Fig. 2C is a diagram illustrating a retardation map of the optic disk portion.
  • a deep color portion corresponds to a small phase difference whereas a light color portion corresponds to a large phase difference.
  • a layer having birefringence is a retina nerve fiber layer (RNFL)
  • the retardation map represents a phase difference caused by the birefringence of the RNFL and a thickness of the RNFL. Therefore, a portion having a large thickness of the RNFL has a large phase difference whereas a portion having a small thickness of the RNFL has a small phase difference. Accordingly, using the retardation map, a thickness of the RNFL of the entire fundus may be recognized and is used for diagnosis of glaucoma.
  • the image generation unit 193 linearly approximates a value of a retardation ⁇ in a range from the ILM and the RNFL in each of the A-scan images of the retardation image generated as described above and determines an inclination of the value as birefringence in a position of the retina in the A-scan image.
  • the image generation unit 193 performs this process on all the obtained retardation images so as to generate a map representing birefringence.
  • Fig. 2D is a diagram illustrating a birefringence map of the optic disk portion.
  • the birefringence map may be obtained as change of birefringence when a fiber construction is changed even in a case where a thickness of the RNFL is not changed.
  • the image generation unit 193 calculates a Stokes vector S for each pixel using the obtained tomographic signals A H and A V and a phase difference ⁇ between the tomographic signals A H and A V in accordance with Expression 3.
  • the image generation unit 193 sets windows having a length of approximately 70 ⁇ m in a substantially main scanning direction of the measurement light and a length of approximately 18 ⁇ m in a substantially depth direction of the measurement light in the B-scan images. Thereafter, the image generation unit 193 averages elements of the Stokes vectors calculated for individual pixels in accordance with Expression 3 in the individual windows. Then the image generation unit 193 calculates degrees of polarization uniformity (DOPU) of polarized light in the windows in accordance with Expression 4.
  • DOE degrees of polarization uniformity
  • Q m ", "U m “, and “V m” represent values obtained by averaging elements Q, U, and V of the Stokes vectors in the windows. This process is performed on all the windows included in the B-scan image so as to generate a DOPU image (or a tomographic image representing a degree of polarization uniformity) of the optic disk portion illustrated in Fig. 2E.
  • the DOPU is a numeric value representing a degree of polarization uniformity.
  • the DOPU is a numeric value near 1 in portions in which polarization is maintained and is a numeric value smaller than 1 in portions in which polarization is cancelled.
  • the RPE is characterized by cancelling a polarization state, and therefore, a value of the DOPU is smaller in a portion corresponding to the RPE in the DOPU image when compared with other regions.
  • a light color portion 210 represents the RPE and a deep color portion 220 represents the retina layer region in which the change is maintained. Since the DOPU image is obtained by imaging a layer which cancels polarization, such as the RPE, even when the RPE is deformed due to disease, an image of the RPE is reliably obtained when compared with a case where luminance change is used.
  • the tomographic images corresponding to the first polarized light and the second polarized light described above, the retardation image, the DOPU image, and the like are referred to as “tomographic images representing polarization states” where appropriate.
  • the retardation map and the birefringence map described above and the like are referred to as "fundus images representing polarization states”.
  • FIGs. 3A and 3B are flowcharts illustrating the processing operation of the image processing apparatus.
  • Step S301 Obtainment of Subject's Eye Information
  • a subject's eye information obtaining unit externally obtains an examinee identification number as information for identifying the subject's eye. Then, the subject's eye information obtaining unit obtains information on the subject's eye stored in a storage unit, not illustrated, in accordance with the examinee identification number.
  • the information on the subject's eye includes personal information including a name, a gender, an age, and a history of illness, image data including a fundus image and a tomographic image, and analysis data of image analysis and the like.
  • Step S302 Imaging and Image Generation
  • an operator specifies an imaging instruction button by a cursor displayed on a screen using an instruction device (not illustrated), such as a mouse, and issues an instruction by a clicking operation or the like so as to capture a tomographic image.
  • an instruction device such as a mouse
  • the mouse of this embodiment includes a sensor which detects a movement signal generated when a body of the mouse is moved in a plane by a hand of the operator, two mouse buttons including a left mouse button and a right mouse button which detect pressing of the buttons by the hand of the operator, and a wheel mechanism which is rotatable back and forth and right and left disposed between the two left and right mouse buttons.
  • the instruction device may have a display unit having a touch panel function so as to issue an imaging instruction on a touch panel or may have a joystick disposed on a body of the device so as to issue an imaging instruction by the joystick.
  • the light source 101 and the light source 141 emit measurement light
  • light returning from the fundus Er is received by the line cameras 129 and 133 and the APDs 152 and 153
  • the image generation unit 193 generates images as described above.
  • the region detection unit 194 performs various analysis on the images generated by the image generation unit 193.
  • the region detection unit 194 detects a depolarized region which is a region including depolarizing material (DM) in the DOPU image.
  • the depolarized region corresponds to an RPE region, a drusen region, a geographic atrophy (GA) region. This detection will be described with reference to Fig. 3B and Figs. 4A to 4F.
  • Step S331 Detection of Depolarized Region
  • Figs. 4A to 4F are diagrams illustrating the detection of a depolarized region in the DOPU image.
  • a reference numeral 401 of Fig. 4A denotes a luminance image
  • a reference numeral 402 of Fig. 4B denotes a DOPU image which corresponds to the luminance image of Fig. 4A and which is obtained by the DOPU calculation described above.
  • a depolarized region in the DOPU image 402 is obtained.
  • a depolarized region has a value smaller than 1. Therefore, by performing a threshold value process on the DOPU image (using a threshold value of 0.75, for example), a region in which polarization is maintained and a region in which polarization is cancelled may be distinguished from one another.
  • a depolarized region 403 obtained in this way is illustrated in Fig. 4C.
  • Step S332 RPE Estimation
  • Fig. 4D is a graph including an RPE estimation curve 404 (represented by a dotted line in Fig. 4D) used for discriminating the RPE in the depolarized region 403.
  • the estimation curve 404 is obtained as a quadric curve is described as an example.
  • An initial curve is set so as to pass a largest region of the depolarized region 403, and coefficient parameters (a, b, and c) of the curve are estimated using the robust estimation method (M estimation or the like). In this way, a curve may be obtained.
  • the method for estimating a curve is not limited to this and estimation of an N-order curve may be employed or a spline curve may be employed.
  • step S333 it is determined whether first analysis is performed or analysis after correction (re-analysis) is performed. In a case of the first analysis, the process proceeds to step S334 since discrimination of a depolarized region has not been performed. After second analysis onwards, the process proceeds to step S338.
  • the second analysis onwards will be described in detail when an operation in step S306 is described, and an operation in step S334 will be described here.
  • Step S334 Discrimination (Classification)
  • the classifying unit 195 discriminates (classifies) an RPE region from other depolarized regions (a choroidal tissue and a particle region) in accordance with the RPE estimation curve 404 obtained in step S332. Specifically, the classifying unit 195 classifies depolarized regions into a plurality of types of region. A depolarized region existing in a region where the RPE estimation curve 404 passes is determined as an RPE region. In this way, a continuous depolarized region in which the RPE estimation curve 404 passes is determined as an RPE region 405 (a hatched portion in Figs. 4E and 4F). Specifically, if the RPE estimation curve 404 passes a portion in a continuous depolarized region, a portion around the region is determined as the RPE region 405.
  • a depolarized region which is not continuous with the RPE region 405 and which exists in a deeper portion relative to the RPE region 405 is determined as a choroid (choroid tissue) region and a depolarized region existing in a shallower portion relative to the RPE region 405 is determined as a particle region.
  • the RPE region 405 obtained in this way is illustrated in Fig. 4E.
  • Fig. 4F a case where the RPE region 405 is superposed on the luminance image 401 is illustrated.
  • Step S335 Generation of Mask Image
  • a mask is generated in a region other than the RPE in accordance with results of the discrimination obtained in step S334 and step S338. Specifically, an image only including the RPE region is generated. Note that it is not necessarily the case that a mask image is generated since labeling is performed in the discrimination performed before the generation of a mask image, and a drusen calculation may be performed without generating a mask image.
  • Step S336 Drusen Calculation
  • a drusen calculation is performed using the RPE image generated in step S335. Positions of deepest portions of the RPE image in individual A-scan images or discrete A-scan images are detected as drusen positions. A drusen curve is obtained by smoothly connecting the detected positions by a spline function or the like. Drusen generally has a convex shape. Therefore, a reference RPE base curve is obtained in order to obtain an area and a volume of the drusen. A minimum RPE base curve including the convex shape of the drusen may be obtained by calculating a convex hull of the obtained drusen curve. Note that the RPE estimation curve described above and the RPE base curve obtained here are different from each other.
  • Step S337 Generation of Map (Enface) Image
  • map (enface) images are generated for individual regions discriminated in step S334.
  • a DM thickness map, an RPE thickness map, a drusen thickness map, and a GA map are generated.
  • a method for generating a map will be described taking the RPE thickness map as an example.
  • the number of pixels including the RPE is counted for each A-scan in the RPE tomographic image generated in step S335.
  • a thickness of the RPE may be obtained by multiplying the number of pixels counted as the RPE by a pixel resolution ( ⁇ m/pixel) in a depth direction.
  • the total number of pixels included in the depolarized region obtained in step S331 is multiplied by the pixel resolution.
  • the total number of pixels included in a portion between the drusen curve obtained in step S336 and the RPE base curve is multiplied by the pixel resolution.
  • the RPE thickness map is binarized by a certain threshold value (a threshold value of 10 ⁇ m, for example) instead of a thickness.
  • the RPE becomes defective, and accordingly, when the RPE thickness map is binarized, the RPE exists in normal portions and the RPE does not exist in portions in which the RPE is defective due to the GA. Therefore, an area of the GA may be obtained using the defective regions.
  • Figs. 4A to 4F the general discrimination of depolarized regions is described.
  • Figs. 5A to 5F a case where discrimination of a depolarized region fails will be described with reference to Figs. 5A to 5F in order to describe an example of manual correction.
  • Figs. 5A to 5F a case where a depolarized region in a PRE region is separated and an RPE estimation curve does not pass the separated depolarized region is illustrated as an example.
  • Figs. 5A to 5C and Fig. 5F are the same as Figs. 4A to 4C and Fig. 4F, respectively, and therefore, descriptions thereof are omitted.
  • FIG. 5D denotes a portion where a depolarized region is separated
  • a reference numeral 503 denotes the depolarized region
  • a reference numeral 504 denotes an RPE estimation curve obtained by the same method in step S332.
  • a reference numeral 505 of Fig. 5E which is a hatched portion is a region determined as an RPE region
  • a reference numeral 515 which is a shaded portion is a region determined as a particle region
  • a reference numeral 525 is a region determined as a choroid region.
  • Step S304 Display
  • the display control unit 191 when the generation and the analysis of the images are terminated, the display control unit 191 generates output information in accordance with results of the generation and the analysis and outputs the output information to the display unit 192 which displays the output information.
  • Fig. 6 is a diagram illustrating display performed by the display unit 192 of this embodiment.
  • a reference numeral 600 denotes a window displayed in the display unit 192, and the window 600 includes display regions 610, 620, 630, and 640.
  • a region 611 displaying a fundus plane image and an analysis map (enface) image
  • a color bar 613 for displaying a thickness of a map in color
  • a section 614 for selecting the fundus plane image and the analysis map
  • an index 615 displaying a position of a tomographic image in the map
  • a tomographic image 501 results 505, 515, and 525 of discrimination of depolarized regions
  • a tomographic image selection section 616 a manual correction selection section 617, a WW/WL selection section 618, and a thickness graph 619 are displayed.
  • a pseudo SLO, the DM thickness map, the RPE thickness map, the drusen thickness map, the GA map, the retardation map, the birefringence map, and the like may be displayed in a switching manner.
  • the luminance image, the DOPU image, the DM image, the RPE image, the drusen image, the retardation image, and an axis orientation image may be displayed in a switching manner.
  • the DM image, the RPE image, and the drusen image an image obtained by superposing an image obtained from a depolarized region (described above in step S303) on the luminance image is displayed.
  • depolarized regions are discriminated by different colors and all the depolarized regions are displayed in an overlapping manner.
  • the case where the plurality of types of depolarized region represented by different colors are displayed in the state in which the depolarized regions are superposed on a polarization tomographic image is merely an example, and any state may be employed as long as different types of region are displayed by different display forms so as to be discriminated from one to another.
  • the case of the RPE image only the RPE region discriminated from depolarized regions is displayed in an overlapping manner.
  • the drusen curve and the RPE base curve are displayed in an overlapping manner.
  • a reference numeral 621 denotes a date of imaging
  • a reference numeral 622 denotes imaging information (a left eye or a right eye, a scanning pattern, and a time of imaging)
  • a reference numeral 623 denotes a time of analysis and an analysis mode.
  • patient information identification information, a name, an age, and a gender
  • the patient information is not limited to these and other information may be displayed as the patient information.
  • information for identifying a screen being operated is displayed.
  • a patient data management screen, an analysis screen, and a setting screen are displayed.
  • the display region 640 has not only the display function but also a selection function, and when one of sections in the display region 640 is selected, switching of a function is realized.
  • the analysis map 611 corresponds to the RPE thickness map
  • the thickness graph 619 corresponds to an RPE thickness
  • the DM image is displayed as a tomographic image, for example.
  • the thickness graph 619 is associated with the analysis map 611.
  • types of image to be displayed as the analysis map 611 and the tomographic image may be independently selected, the types may be associated with each other.
  • the DM thickness map may be displayed as an analysis map image.
  • a thickness of the RPE thickness map generated by the result 505 of the discrimination of a polarized region is displayed by color as represented by the color bar 613.
  • a deep color represents a thin map and a light color represents a thick map.
  • a deep color region 612 near a center represents a portion which does not include a region recognized as the RPE.
  • a rectangular portion in a lower right portion in the region 612 is a portion corresponding to the result 515 of the discrimination of a depolarized region in Fig. 5E, and since the RPE region is misjudged as the particle region, the region 612 has a distorted shape.
  • step S305 a process of determining whether a result of the discrimination of a depolarized region is to be changed is performed.
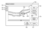
  • a manual correction screen 700 illustrated in Figs. 7A and 7B is displayed.
  • the manual correction screen 700 will now be described with reference to Figs. 7A and 7B.
  • Fig. 7A is a diagram illustrating a state in which manual correction has not been performed
  • Fig. 7B is a diagram illustrating a state in which the manual correction has been performed.
  • the manual correction screen 700 includes a tomographic image on which the result of the discrimination of a depolarized region is superposed, icons 701 for selecting an operation on the tomographic image, a region 702 for performing the manual correction, a discrimination result instruction section 703 for instructing correction of the discrimination result, a discrimination result display specifying section 704, a region deletion specifying section 705, a re-analysis execution instruction section 706, and a cancel instruction section 707.
  • an icon 701-1 is used to specify enlargement and reduction of a size of the tomographic image
  • an icon 701-2 is used to specify a rectangular region
  • an icon 701-3 is used to specify a polygonal region.
  • the discrimination result instruction section 703 specifies a result of the discrimination as the RPE region, the choroid region, or the particle region.
  • a user selects a region in which a result of the discrimination of a depolarized region is to be changed, the user specifies the region in the tomographic image after selecting the icon 701-2 or the icon 701-3. It is assumed that the icon 701-2 is selected and the rectangular region 702 (denoted by a dotted line in Figs. 7A and 7B) is set in this embodiment. The user may arbitrarily set a position, a size, and rotation of the rectangular region 702. Note that, in a case where a tomographic image representing a luminance value is to be checked before the manual correction is performed, only the luminance image is displayed by unchecking the discrimination result display specifying section 704. Fig.
  • FIG. 7A is a diagram illustrating a case where the rectangular region 702 is set as the depolarized region 515.
  • Fig. 7B is a diagram illustrating a case where the RPE is selected in the discrimination result instruction section 703 after the region 702 is set. As illustrated in Fig. 7B, the entire depolarized region 515 is corrected (changed) by the manual correction to the RPE region 505. In a case where the set region 702 is to be changed, the region 702 may be deleted and another region may be newly set by selecting the region deletion specifying section 705.
  • the present invention is not limited to this.
  • the discrimination result instruction section 703 may be selected before a region is specified. In this case, since a result of discrimination is set in the discrimination result instruction section 703, a region is automatically corrected to a region specified by the discrimination result instruction section 703 every time a region is set unless the setting is cancelled.
  • a result of discrimination may be corrected, for example, at a timing after a size of a region is specified by performing left clicking and dragging of the mouse and the mouse operation is terminated in a case of a rectangular region or a timing when a starting point and an ending point of a polygonal region is connected to each other in a case of a polygonal region.
  • a save button not illustrated, may be pressed for saving.
  • a certain portion in the result of the discrimination of a depolarized region may be specified so that a discrimination result of an entire continuous region is corrected. For example, when a certain point of the depolarized region 515 of Fig. 7A is clicked with the left mouse button, an entire region connected to a depolarized region in a clicked coordinate may be corrected to a result specified by the discrimination result instruction section 703.
  • a plurality of slices are generated.
  • the region 702 set to a certain B-scan image may be maintained while another region 702 which has been set to another B-scan image may be employed.
  • a shape of a region subjected to the manual correction and the type of the discrimination result instruction section 703 of a depolarized region described above are not limited to these described above.
  • a circular shape or an N-sided polygonal shape may be employed, and a hard exudate or the like may be specified as the type.
  • Fig. 8 is a diagram illustrating another form of the manual correction screen.
  • the luminance tomographic image 501 and the tomographic image 501 on which the results 505, 515, and 525 of the discrimination of a depolarized region are superposed are displayed in parallel. Note that, in a case where a luminance tomographic image and a tomographic image on which results of discrimination of a depolarized region are superposed are displayed in parallel, it is preferable that slice positions are associated with each other and represent the same position.
  • step S306 re-analysis is performed in accordance with a result of the manual correction.
  • the flow of Fig. 3B is performed only on corrected B-scan images.
  • the re-analysis is performed, only an operation in step S338 of Fig. 3B is different and the other operations are similarly performed.
  • the re-analysis is performed, the discrimination of a depolarized region has been performed by the manual correction, and therefore, a calculation is performed using a corrected result of the discrimination.
  • the present invention is not limited to this.
  • the discrimination is performed using information on an adjacent B-scan image at a time of image analysis
  • it is preferable that the re-analysis is performed using all information required for the discrimination, and therefore, the process may be executed again on B-scan images other than the corrected B-scan images.
  • Step S307 Display
  • step S307 a result of the correction and the re-analysis is displayed.
  • An example of the display is illustrated in Fig. 9.
  • Fig. 9 a state in which analysis maps 911 and 912 and a result of discrimination of a depolarized region are corrected as a result of the manual correction is displayed.
  • an index 923 represents whether correction of a result of analysis has been performed is displayed before the analysis time in the inspection data tree. Note that not only a result of a determination as to whether correction has been performed on single image volume data but also a result of a determination as to whether correction has been performed in a unit of a B-scan image may be displayed.
  • an index representing whether correction has been performed may be displayed in a unit of a B-scan image at an edge of a tomographic image of Fig. 9 or a result of a determination as to whether correction has been performed may be displayed by color in a frame of the tomographic image.
  • step S308 checking of the analysis result and execution of termination of the manual correction are selected. After the manual correction is terminated or before a process of selecting an imaging mode is performed, the result of the manual correction obtained in the foregoing process and the result of the analysis performed by the region detection unit 194 are stored in a storage unit.
  • the present invention has a system in which a result of discrimination of a depolarized region in a polarization sensitive OCT image is checked, and in addition, correction is performed in a case where an error occurs in the discrimination result. Therefore, according to the present invention, the discrimination of a depolarized region may be performed, and in addition, a result of the discrimination may be appropriately stored. Note that, although the case where a depolarized region is analyzed is described in this embodiment, the present invention is not limited to this. As an image analysis mode, a drusen analysis mode, a GA analysis mode, a glaucoma analysis mode, analysis modes corresponding to diseases, a full analysis mode for executing all processes, or the like may be selected. In the glaucoma analysis mode, a mode for analyzing polarization components associated with a nerve fiber layer, such as retardation and axis orientation, may be provided, and the user may select and execute an arbitrary analysis mode.
  • the present invention is also realized by executing the following process. Specifically, software (or a program) which realizes the functions of the foregoing embodiment is supplied to a system or an apparatus through a network or various storage media, and a computer (or a CPU or an MPU) of the system or the apparatus reads and executes the program.
  • Embodiments of the present invention can also be realized by a computer of a system or apparatus that reads out and executes computer executable instructions recorded on a storage medium (e.g., non-transitory computer-readable storage medium) to perform the functions of one or more of the above-described embodiment of the present invention, and by a method performed by the computer of the system or apparatus by, for example, reading out and executing the computer executable instructions from the storage medium to perform the functions of one or more of the above-described embodiment.
  • the computer may comprise one or more of a central processing unit (CPU), micro processing unit (MPU), or other circuitry, and may include a network of separate computers or separate computer processors.
  • the computer executable instructions may be provided to the computer, for example, from a network or the storage medium.
  • the storage medium may include, for example, one or more of a hard disk, a random-access memory (RAM), a read only memory (ROM), a storage of distributed computing systems, an optical disk (such as a compact disc (CD), digital versatile disc (DVD), or Blu-ray Disc (BD) TM ), a flash memory device, a memory card, and the like.

Landscapes

  • Engineering & Computer Science (AREA)
  • Health & Medical Sciences (AREA)
  • Life Sciences & Earth Sciences (AREA)
  • Physics & Mathematics (AREA)
  • General Physics & Mathematics (AREA)
  • Theoretical Computer Science (AREA)
  • Software Systems (AREA)
  • Medical Informatics (AREA)
  • Molecular Biology (AREA)
  • Radiology & Medical Imaging (AREA)
  • Veterinary Medicine (AREA)
  • Biophysics (AREA)
  • Ophthalmology & Optometry (AREA)
  • Nuclear Medicine, Radiotherapy & Molecular Imaging (AREA)
  • Biomedical Technology (AREA)
  • Public Health (AREA)
  • Heart & Thoracic Surgery (AREA)
  • Surgery (AREA)
  • Animal Behavior & Ethology (AREA)
  • General Health & Medical Sciences (AREA)
  • General Engineering & Computer Science (AREA)
  • Computer Vision & Pattern Recognition (AREA)
  • Eye Examination Apparatus (AREA)
PCT/JP2015/005191 2014-11-12 2015-10-14 Image processing apparatus, image processing method, and program Ceased WO2016075868A1 (en)

Priority Applications (1)

Application Number Priority Date Filing Date Title
US15/525,924 US10360683B2 (en) 2014-11-12 2015-10-14 Image processing apparatus, image processing method, and program

Applications Claiming Priority (2)

Application Number Priority Date Filing Date Title
JP2014-229912 2014-11-12
JP2014229912A JP2016093240A (ja) 2014-11-12 2014-11-12 画像処理装置及び画像処理方法

Publications (1)

Publication Number Publication Date
WO2016075868A1 true WO2016075868A1 (en) 2016-05-19

Family

ID=54540141

Family Applications (1)

Application Number Title Priority Date Filing Date
PCT/JP2015/005191 Ceased WO2016075868A1 (en) 2014-11-12 2015-10-14 Image processing apparatus, image processing method, and program

Country Status (3)

Country Link
US (1) US10360683B2 (enExample)
JP (1) JP2016093240A (enExample)
WO (1) WO2016075868A1 (enExample)

Cited By (3)

* Cited by examiner, † Cited by third party
Publication number Priority date Publication date Assignee Title
US10194798B1 (en) 2017-11-20 2019-02-05 Ojai Retinal Technology, Llc Measuring RPE and choroid melanin levels with reflectometer
US10434330B2 (en) 2017-11-20 2019-10-08 Ojai Retinal Technology, Llc Process for safely providing retinal phototherapy based on determination of RPE melanin levels
US10952899B2 (en) 2017-11-20 2021-03-23 Ojai Retinal Technology, Llc Process for adjusting treatment parameters for retina phototherapy based on RPE melanin levels

Families Citing this family (18)

* Cited by examiner, † Cited by third party
Publication number Priority date Publication date Assignee Title
JP6542178B2 (ja) * 2016-08-05 2019-07-10 株式会社トーメーコーポレーション 偏光情報を利用した光断層画像撮影装置
JP7091018B2 (ja) * 2016-10-28 2022-06-27 キヤノン株式会社 断層画像取得装置及び方法
JP6971559B2 (ja) * 2016-10-31 2021-11-24 キヤノン株式会社 情報処理装置、情報処理方法およびプログラム
WO2018148805A1 (en) * 2017-02-17 2018-08-23 The University Of Western Australia System and a method for detecting a material in region of interest
JP6987522B2 (ja) * 2017-04-10 2022-01-05 キヤノン株式会社 画像生成装置、画像生成方法、及びプログラム
WO2019142896A1 (ja) * 2018-01-18 2019-07-25 株式会社アサヒビジョン 生体組織分析装置および生体組織分析方法
US10719932B2 (en) * 2018-03-01 2020-07-21 Carl Zeiss Meditec, Inc. Identifying suspicious areas in ophthalmic data
US11986424B2 (en) 2018-07-16 2024-05-21 Vialase, Inc. Method, system, and apparatus for imaging and surgical scanning of the irido-corneal angle for laser surgery of glaucoma
US10821024B2 (en) 2018-07-16 2020-11-03 Vialase, Inc. System and method for angled optical access to the irido-corneal angle of the eye
US10821023B2 (en) 2018-07-16 2020-11-03 Vialase, Inc. Integrated surgical system and method for treatment in the irido-corneal angle of the eye
US11173067B2 (en) 2018-09-07 2021-11-16 Vialase, Inc. Surgical system and procedure for precise intraocular pressure reduction
US12245974B2 (en) 2018-07-16 2025-03-11 Vialase, Inc. System and method for clearing an obstruction from the path of a surgical laser
US11246754B2 (en) 2018-07-16 2022-02-15 Vialase, Inc. Surgical system and procedure for treatment of the trabecular meshwork and Schlemm's canal using a femtosecond laser
US11110006B2 (en) 2018-09-07 2021-09-07 Vialase, Inc. Non-invasive and minimally invasive laser surgery for the reduction of intraocular pressure in the eye
WO2021119626A1 (en) 2019-12-14 2021-06-17 Weinstock Robert Near eye reflective devices for diagnostic and therapeutic ophthalmic procedures
US11564567B2 (en) 2020-02-04 2023-01-31 Vialase, Inc. System and method for locating a surface of ocular tissue for glaucoma surgery based on dual aiming beams
US11612315B2 (en) 2020-04-09 2023-03-28 Vialase, Inc. Alignment and diagnostic device and methods for imaging and surgery at the irido-corneal angle of the eye
US12002567B2 (en) 2021-11-29 2024-06-04 Vialase, Inc. System and method for laser treatment of ocular tissue based on patient biometric data and apparatus and method for determining laser energy based on an anatomical model

Citations (2)

* Cited by examiner, † Cited by third party
Publication number Priority date Publication date Assignee Title
EP2243420A1 (en) * 2009-04-24 2010-10-27 Schmidt-Erfurth, Ursula Method for determining exudates in the retina
US20140121506A1 (en) * 2012-10-30 2014-05-01 Canon Kabushiki Kaisha Image processing apparatus and image processing method

Family Cites Families (3)

* Cited by examiner, † Cited by third party
Publication number Priority date Publication date Assignee Title
US8868155B2 (en) * 2008-12-19 2014-10-21 University Of Miami System and method for early detection of diabetic retinopathy using optical coherence tomography
US9545196B2 (en) * 2012-05-04 2017-01-17 University Of Iowa Research Foundation Automated assessment of glaucoma loss from optical coherence tomography
JP6099903B2 (ja) * 2012-08-30 2017-03-22 キヤノン株式会社 画像処理装置および画像処理方法

Patent Citations (3)

* Cited by examiner, † Cited by third party
Publication number Priority date Publication date Assignee Title
EP2243420A1 (en) * 2009-04-24 2010-10-27 Schmidt-Erfurth, Ursula Method for determining exudates in the retina
WO2010122118A1 (en) 2009-04-24 2010-10-28 Ursula Schmidt-Erfurth Method for determining exudates in the retina
US20140121506A1 (en) * 2012-10-30 2014-05-01 Canon Kabushiki Kaisha Image processing apparatus and image processing method

Non-Patent Citations (1)

* Cited by examiner, † Cited by third party
Title
BERNHARD BAUMANN ET AL: "Segmentation and quantification of retinal lesions in age-related macular degeneration using polarization-sensitive optical coherence tomography", JOURNAL OF BIOMEDICAL OPTICS, vol. 15, no. 6, 1 January 2010 (2010-01-01), pages 061704, XP055061566, ISSN: 1083-3668, DOI: 10.1117/1.3499420 *

Cited By (5)

* Cited by examiner, † Cited by third party
Publication number Priority date Publication date Assignee Title
US10194798B1 (en) 2017-11-20 2019-02-05 Ojai Retinal Technology, Llc Measuring RPE and choroid melanin levels with reflectometer
WO2019099052A1 (en) * 2017-11-20 2019-05-23 Ojai Retinal Technology, Llc Measuring rpe and choroid melanin levels with reflectometer
US10434330B2 (en) 2017-11-20 2019-10-08 Ojai Retinal Technology, Llc Process for safely providing retinal phototherapy based on determination of RPE melanin levels
US10952899B2 (en) 2017-11-20 2021-03-23 Ojai Retinal Technology, Llc Process for adjusting treatment parameters for retina phototherapy based on RPE melanin levels
US11679272B2 (en) 2017-11-20 2023-06-20 Ojai Retinal Technology, Llc Process for safely providing retinal phototherapy based on determination of RPE melanin levels

Also Published As

Publication number Publication date
JP2016093240A (ja) 2016-05-26
US20170323446A1 (en) 2017-11-09
US10360683B2 (en) 2019-07-23

Similar Documents

Publication Publication Date Title
US10360683B2 (en) Image processing apparatus, image processing method, and program
KR101570666B1 (ko) 화상처리장치 및 화상처리방법
US9913581B2 (en) Photography apparatus and photography method
EP2728549B1 (en) Image processing apparatus and image processing method
JP6061554B2 (ja) 画像処理装置及び画像処理方法
US10769789B2 (en) Image processing apparatus and image processing method
US10244937B2 (en) Image processing apparatus and image processing method
US10198814B2 (en) Image processing device and image processing method
EP2756796B1 (en) Ophthalmic apparatus and ophthalmic method
US9700199B2 (en) Image processing apparatus and image processing method
US9289116B2 (en) Image processing apparatus and image processing method
US9295383B2 (en) Image processing apparatus and image processing method for displaying indexes for different forms in a region of a retinal pigment epithelium
US9456743B2 (en) Image processing apparatus and image processing method
JP2019111396A (ja) 画像処理装置及び画像処理方法
JP2017051670A (ja) 画像処理装置及び画像処理方法

Legal Events

Date Code Title Description
121 Ep: the epo has been informed by wipo that ep was designated in this application

Ref document number: 15793917

Country of ref document: EP

Kind code of ref document: A1

WWE Wipo information: entry into national phase

Ref document number: 15525924

Country of ref document: US

NENP Non-entry into the national phase

Ref country code: DE

122 Ep: pct application non-entry in european phase

Ref document number: 15793917

Country of ref document: EP

Kind code of ref document: A1